|
(21), (22) Заявка: 2002110137/12, 17.04.2002
(24) Дата начала отсчета срока действия патента:
17.04.2002
(43) Дата публикации заявки: 10.11.2003
(45) Опубликовано: 20.11.2004
(56) Список документов, цитированных в отчете о поиске:
RU 2171560 С2, 10.08.2001. SU 103086 А, 02.07.1956.
Адрес для переписки:
105203, Москва, ул. Средняя Первомайская, 48/56-5-6, Л.С. Криушкову
|
(72) Автор(ы):
Криушков Л.С. (RU)
(73) Патентообладатель(и):
Криушков Лев Сергеевич (RU)
|
(54) ПРИСПОСОБЛЕНИЕ ДЛЯ НАКЛЕИВАНИЯ СЕМЯН РАСТЕНИЙ НА ЛЕНТУ
(57) Реферат:
Изобретение относится к области сельского хозяйства и может быть использовано в агротехнике ручного посева семян растений. Приспособление содержит основание, на котором расположены узел нанесения клея, резервуар для клея и узел дозирования семян на рабочую поверхность ленты сверху. Лента имеет приспособление для поворота ее рабочей поверхности из нижнего положения в верхнее и направления ленты перпендикулярно вертикальной продольной плоскости основания. Узел нанесения клея выполнен в виде рычага второго рода. Он установлен на основании с возможностью нанесения одним из его концов, погруженным в резервуар, клеевого пятна снизу, на рабочую поверхность ленты. Узел дозирования семян выполнен в виде желоба треугольного сечения и треугольной лопатки. Приспособление является малогабаритным, легким, простое и надежное в работе и может быть использовано с высокой эффективностью в садоводческих товариществах. 2 ил.

Изобретение относится к области сельского хозяйства, а именно к агротехнике ручного посева семян растений.
Наиболее близким аналогом из известных приспособлений для наклеивания семян растений на ленту является устройство, описанное в патенте RU 21171560 C1, 10.08.2001. Известное устройство имеет основание, на котором расположены узел нанесения клея, резервуар для клея и узел дозирования семян на рабочую поверхность ленты сверху.
Недостатком известного устройства является то, что рекомендуется в качестве семенной полосы использовать синтетическую прочную нить, которая должна при протягивании вращать детали устройства. Однако прочная нить будет засорять почву. Кроме того, сложная кинематика приводимых в движение деталей устройства затрудняет его использование, а количество семян в дозах не контролируется.
Задачей изобретения является создание малогабаритного, легкого, дешевого, простого и надежного устройства, удобного для ручного наклеивания визуально контролируемых малых доз семян дешевым клеем на дешевую ленту, быстроразрушающуюся в почве с производительностью, достаточной для эффективного использования устройства в садоводческих товариществах.
Технический результат достигается тем, что приспособление для наклеивания семян растений на ленту, включающее основание, на котором расположены узел нанесения клея, резервуар для клея и узел дозирования семян, рабочую поверхность ленты сверху, согласно изобретению снабжено приспособлением для поворота рабочей поверхности ленты из нижнего положения в верхнее и направления ленты перпендикулярно вертикальной продольной плоскости основания, а узел нанесения клея выполнен в виде рычага второго рода, который установлен на основании с возможностью нанесения одним из его концов, погруженным в резервуар, клеевого пятна снизу, на рабочую поверхность ленты. Узел дозирования семян выполнен в виде желоба треугольного сечения и треугольной лопатки.
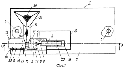
На фиг.1 изображена схема приспособления, вид сверху.
На фиг.2 – сечение по А-А фиг.1.
Приспособление имеет прямоугольное основание 1, габариты которого приближены к габаритам кисти человеческой руки среднего размера. Основание выполнено из двух частей, верхняя из которых является прямоугольной утолщенной крышкой 2, соединенной с нижней частью 3 основания посредством штифтов 4. В основании расположен резервуар 5 для клея, имеющий треугольное сечение. В нижнюю точку резервуара опущен один из концов рычага 6 второго рода, являющегося узлом для нанесения клея. На указанном плече рычага может быть закреплен посредством винта 7 гибкий наконечник 8 с насадкой 9. Второе плечо рычага расположено ниже поверхности крышки 2 в выемке 10. Треугольное сечение резервуара 5 обеспечивает экономное расходование клея, поскольку обеспечивается полное погружение насадки 9 в клей даже при значительном уменьшении его объема. Резервуар такой формы, кроме того, облегчает его промывание от остатков клея. Можно использовать также резервуар конической или пирамидальной формы.
Также на основании установлены узел дозирования семян в виде желоба треугольного сечения 11 и треугольной лопатки 12, имеющей ручку в виде круглого стержня, и приспособление для поворота рабочей поверхности ленты из нижнего положения в верхнее и направления ленты перпендикулярно вертикальной продольной плоскости основания, включающее направляющую прорезь 13, к которой лента прижимается пружиной 14, и цилиндр 15, который огибает лента. Рычаг 6 вставлен в прорезь 16. Масса опущенного в резервуар плеча рычага значительно превышает массу другого свободного плеча для обеспечения надежного возврата рычага в исходное положение. Конфигурация, размеры и расположение рычага выбраны с расчетом минимальных габаритов приспособления и исключения попадания клея в прорезь 16.
При этом на свободном конце пружины 14 имеется изгиб в виде крючка, за который последняя приподнимается при заправке ленты. Стержень 20 защищает пружину 14 от излишнего изгиба, вызывающего остаточную деформацию.
Смена растений насыпаются в накопитель 21 узла дозирования, имеющий форму трехгранной пирамиды. Прорезь 16 ускоряет установку рычага 6 на ось 22 и снятие его с оси для смывания остатков клеевой массы с деталей 8 и 9. Угол поворота рычага 6 по часовой стрелке и обратно ограничен правой наклонной стенкой прорези 16.
Приспособление работает следующим образом.
Лента 18 поступает в приспособление по нижней плоскости направляющей прорези 13, к которой прижимается пружиной 14, обеспечивающей натяжение ленты при нанесении клеевого пятна и сбросе на пятно дозы семян. Клеевое пятно наносится одним из концов рычага 6 на рабочую сторону остановленной ленты, обращенную вниз, с помощью насадки 9 снизу вверх под цилиндром 15. Далее лента огибает цилиндр 15, меняя направление движения и оборачивая рабочую сторону снизу вверх. Клеевое пятно перемещается под выход желоба 11, где на клеевое пятно сбрасывается доза семян посредством треугольной лопатки 12. Далее, лента перемещается в направлении выхода приспособления по направляющим стержням 17 и останавливается при удалении клеевого пятна с нанесенной дозой семян от точки нанесения следующего клеевого пятна на расстояние, допустимое для данного растения.
Лента 18 вытягивается из приспособления пальцами левой руки, а рычаг 6 поворачивается по часовой стрелке мизинцем или безымянным пальцем правой руки за второе плечо.
Для наклеивания крупных семян растений следует увеличить размеры некоторых деталей приспособления и ширину ленты.
В качестве ленты рекомендуется использовать ленту из газетной или туалетной бумаги, а в качестве клея – клейстер из обыкновенной пищевой муки.
Приспособление является простым и надежным в эксплуатации, и обеспечивает эффективную работу по наклеиванию семян на ленту.
Формула изобретения
Приспособление для наклеивания семян на ленту, содержащее основание, на котором расположены узел нанесения клея, резервуар для клея и узел дозирования семян на рабочую поверхность ленты сверху, отличающееся тем, что оно снабжено приспособлением для поворота рабочей поверхности ленты из нижнего положения в верхнее и направления ленты перпендикулярно вертикальной продольной плоскости основания, а узел нанесения клея выполнен в виде рычага второго рода, который установлен на основании с возможностью нанесения одним из его концов, погруженным в резервуар, клеевого пятна снизу, на рабочую поверхность ленты, причем узел дозирования семян выполнен в виде желоба треугольного сечения и треугольной лопатки.
РИСУНКИ
TH4A – Переиздание описаний изобретений к патентам Российской Федерации
Причина переиздания: Коррекция текста описания изобретения
Извещение опубликовано: 27.04.2005 БИ: 12/2005
MM4A – Досрочное прекращение действия патента СССР или патента Российской Федерации на изобретение из-за неуплаты в установленный срок пошлины за поддержание патента в силе
Дата прекращения действия патента: 18.04.2007
Извещение опубликовано: 27.05.2008 БИ: 15/2008
NF4A Восстановление действия патента СССР или патента Российской Федерации на изобретение
Дата, с которой действие патента восстановлено: 27.05.2008
Извещение опубликовано: 27.05.2008 БИ: 15/2008
|