|
|
(21), (22) Заявка: 2001108587/09, 27.08.1999
(24) Дата начала отсчета срока действия патента:
27.08.1999
(30) Конвенционный приоритет:
01.09.1998 US 09/145,333
(43) Дата публикации заявки: 27.06.2003
(45) Опубликовано: 10.11.2004
(56) Список документов, цитированных в отчете о поиске:
WO 9800984 A, 08.01.1998. ВИТЕРБИ А.Д. Принципы цифровой связи и кодирования, выпуск 18. – М.: Радио и связь, 1998, с.59-61. US 4751736, 04.06.1998. US 5513211 A, 30.04.1998. ЕР 0415502 А2, 06.03.1991.
(85) Дата перевода заявки PCT на национальную фазу:
02.04.2001
(86) Заявка PCT:
SE 99/01478 (27.08.1999)
(87) Публикация PCT:
WO 00/13363 (09.03.2000)
Адрес для переписки:
129010, Москва, ул. Б. Спасская, 25, стр.3, ООО “Юридическая фирма Городисский и Партнеры”, пат.пов. Ю.Д.Кузнецову, рег.№ 595
|
(72) Автор(ы):
БРУН Штефан (DE)
(73) Патентообладатель(и):
ТЕЛЕФОНАКТИЕБОЛАГЕТ ЛМ ЭРИКССОН (пабл) (SE)
(74) Патентный поверенный:
Кузнецов Юрий Дмитриевич
|
(54) СПОСОБ ДЕКОДИРОВАНИЯ РЕЖИМОВ РАБОТЫ КОДЕКА С ИСПОЛЬЗОВАНИЕМ АПРИОРНОГО ЗНАНИЯ
(57) Реферат:
Изобретение относится к системам связи. Технический результат заключается в повышении правдоподобия успешного декодирования индикатора режима. Система связи поддерживает многочисленные схемы кодирования источника/кодирования канала. Индикатор режима может передаваться с полезными данными для того, чтобы информировать приемник о конкретной схеме, используемой в текущий момент времени. 3 н. и 48 з.п. ф-лы, 6 ил.

Изобретение в общем относится к манипулированию режимами работы устройств, которые используются в области систем связи, а более конкретно к определению режимов кодирования в системах цифровой связи, которые поддерживают многочисленные схемы кодирования с прямым исправлением ошибок речи.
Рост коммерческих систем связи и, в частности, стремительный рост сотовых радиотелефонных систем вынудил разработчиков систем искать новые пути увеличения пропускной способности системы без уменьшения качества связи сверх потребительских допустимых пределов. Один метод, позволяющий решить эти проблемы, предусматривает замену систем, в которых аналоговая модуляция используется для наложения данных на несущую, на системы, в которых цифровая модуляция используется для наложения данных на несущие.
В беспроводных цифровых системах связи стандартизованные радиоинтерфейсы определяют большинство параметров системы, такие как тип(ы) кодирования речи, формат пакета, протокол связи и другие. Например, Европейский институт телекоммуникационных стандартов (ЕИТС (ETSI)) установил стандарт “Глобальные системы для мобильной связи” (ГСПС (GSM)), в котором для управления связью используется множественный доступ с разделением во времени (МДРВ), информация о речи и данных, передаваемая по радиочастотным (РЧ) физическим каналам или по линиям связи, использующим схему модуляции Гауссова Минимальная Манипуляция (ГММ) при скорости передачи символов 271 ксимвол/с. В США Ассоциацией по телекоммуникационной промышленности (АТП) был опубликован ряд промежуточных стандартов, таких как IS-54 и IS-136, которые определяют различные версии услуги усовершенствованной цифровой системы мобильной радиотелефонной связи (D-АMPS), системы МДРВ, в которой используется схема модуляции дифференциальной квадратурной фазовой манипуляции (ДКФМ) для передачи данных по РЧ линиям связи.
В системах МДРВ доступные частоты дополнительно подразделяются на один или более РЧ-каналов. РЧ-каналы, в свою очередь, делятся на ряд физических каналов, соответствующих временным интервалам в кадрах МДРВ. Логические каналы формируются из одного или нескольких физических каналов, где определена модуляция и кодирование. В этих системах мобильные станции поддерживают связь с множеством рассредоточенных базовых станций посредством передачи и приема пакетов цифровой информации по РЧ-каналам восходящей линии связи и нисходящей линии связи.
Рост числа мобильных станций, используемых в настоящее время, требует увеличения речевых каналов и каналов данных внутри сотовых телекоммуникационных систем. В результате базовые станции стали размещаться все ближе и ближе друг к другу, увеличивая при этом интерференцию между базовыми станциями, которые работают на одной и той же частоте в соседних или близко расположенных сотах. В настоящее время в некоторых системах фактически применяется метод множественного доступа с разделением по кодам (МДРК), использующий вид модуляции шумоподобным сигналом, в которой у сигналов преднамеренно совместно используются одно и то же время и частота. Хотя цифровые методы обеспечивают большее число полезных каналов в заданном спектре частот, все же остается потребность в том, чтобы поддерживать шум (“интерференцию”) на приемлемых уровнях, или более конкретно контролировать и управлять отношением интенсивности несущего сигнала к уровню шумов (то есть отношение сигнал/шум (С/Ш)).
Другим фактором, который является чрезвычайно важным при предоставлении различных услуг связи, является заданная/требуемая пользовательская скорость передачи битов для данных, которые будут передавать при конкретном соединении. Например, для речевых услуг и/или услуг данных пользовательская скорость передачи битов соответствует качеству речи и/или пропускной способности данных, причем более высокая пользовательская скорость передачи битов обеспечивает более высокое качество речи и/или более высокую пропускную способность данных. Полная пользовательская скорость передачи битов определяется с помощью выбранной комбинации методов кодирования речи, канального кодирования, модуляции и выделения ресурсов, например для системы МДРВ этот последний метод может относиться к числу назначаемых временных слотов за соединение, для системы МДРК этот последний параметр может относиться к числу назначаемых кодов за соединение.
Методы кодирования речи (или более обобщенно “кодирование источника”) используются для сжатия входной информации в формате, который использует приемлемый размер ширины полосы, но из которого можно воспроизвести понятный выходной сигнал. Существуют многочисленные различные типы алгоритмов кодирования речи, например линейное прогнозирование с остаточным возбуждением (ЛПОВ), возбуждение регулярными импульсами (ВРИ) и так далее, подробности которых практически не относятся к настоящему изобретению. Более важным в этом контексте является тот факт, что различные речевые кодеры имеют различные выходные скорости передачи битов и что предположительно речевые кодеры, имеющие более высокую выходную скорость передачи битов, имеют тенденцию к обеспечению более высокой степени восприятия потребителем качества их воспроизводимой речи по сравнению с теми, которые имеют более низкую выходную скорость передачи битов. Например, считается, что наиболее традиционные проводные телефонные системы используют кодирование речи РСМ со скоростью 64 кбит/с, тогда как в системах ГСПС применяются схемы кодирования речи RPE, которые работают со скоростью 13 кбит/с.
Кроме кодирования речи в системах цифровой связи применяются также различные методы обработки информации, принятой с ошибками. В общем, эти методы включают в себя методы, которые помогают приемнику скорректировать информацию, принятую с ошибками, например методы прямой коррекции ошибок (ПКО), и которые позволяют ретранслировать информацию, принятую с ошибками, в приемник, например методы запроса на автоматическую повторную передачу (ЗАПП). Методы ПКО включают в себя, например, сверточное или блочное кодирование (которое называется здесь как “канальное кодирование”) данных перед модуляцией. Канальное кодирование включает в себя представление определенного числа битов данных с использованием определенного числа битов кода. Таким образом, например, ссылка на сверточные коды связана в общем с их скоростями кодирования, например 1/2 или 1/3, где более низкие скорости кодирования обеспечивают более высокую защиту от ошибок, но более низкие пользовательские скорости передачи битов для заданной скорости передачи битов канала.
Обычно, каждый из методов, в которых важную роль играет пользовательская скорость передачи битов, был закреплен за какой-либо заданной системой радиосвязи или, по крайней мере, за периодом связи, который устанавливается системой радиосвязи, то есть каждая система устанавливает связь, в которой используется один тип кодирования речи, один тип канального кодирования, один тип модуляции и одно выделение ресурсов. Однако в последнее время динамическая адаптация этих методов привела к тому, популярный метод оптимизации рабочих характеристик системы должен отвечать современным требованиям по ряду многочисленных параметров, которые могут быстро изменяться во времени, например характеристики распространения радиосигналов в каналах радиосвязи, загрузка системы, пользовательские требования к скорости передачи битов и так далее.
Например, различные типы модуляции стали назначаться динамическим способом для того, чтобы выборочно получать преимущество из положительных свойств отдельных схем модуляции и обеспечивать более высокие пользовательские скорости передачи битов и/или повышенную устойчивость к шумам и интерференции. Пример системы связи, в которой применяются многочисленные схемы модуляции, можно найти в патенте США №5577087. В этом патенте описан метод переключения между 16 КАМ и ДКФМ. Решение для переключения между типами модуляции принимается на основании измерения качества сигнала, однако в этой системе используется постоянная пользовательская скорость передачи битов, которая означает, что изменение схемы модуляции также требует изменения скорости передачи битов канала, например числа временных интервалов, которые используются для поддержания канала передачи.
Считается, что многочисленные различные комбинации этих методов обработки позволяют выборочно использовать их при различных соединениях, которые поддерживаются с помощью системы радиосвязи и во время эксплуатации одного соединения. Однако приемник должен распознавать типы обработки, которые используются в передатчике для того, чтобы правильно декодировать информацию после приема. Существует в общем две категории методов, которые информируют приемник о методах обработки, связанных с радиосигналом: (1) точная информация, то есть область сообщения внутри переданной информации, имеющей значение режима, которое показывает тип(ы) обработки и (2) точная информация, которая иногда называется декодированием “вслепую”, после которой приемник определяет тип обработки, выполненной с помощью передатчика, путем анализа принятого сигнала. Этот последний метод используется в системах МДРК, работающих в соответствии со стандартом IS-95 TIA/EIA. Точная информация иногда рассматривается предпочтительной, потому что она уменьшает задержку при обработке в приемнике, но это приводит к дополнительным затратам, которые связаны с тем, что передатчик должен включать в себя дополнительные служебные биты наряду с пользовательскими данными.
Особым интересом для настоящего изобретения являются индикаторы режима, которые отражают комбинацию кодирование речи/канальное кодирование, которая используется в передатчике в текущий момент времени. Например, когда условия канала являются хорошими, передатчик может использовать режим кодирование речи/канальное кодирование, который предусматривает высокую скорость передачи битов при кодировании источника, относительно низкую степень защиты от ошибок. С другой стороны, когда условия канала являются плохими, то можно использовать режим кодирования, который предусматривает метод кодирования речи при низкой скорости передачи битов, связанный с относительно высокой степенью защиты от ошибок. Системы позволяют быстро изменять эти различные режимы кодирования, основанные на различных изменениях условий канала.
Как упомянуто выше, индикатор режима можно передавать в приемник (это может быть приемник базовой станции или мобильной станции) так, чтобы он мог использовать соответствующие методы канального декодирования/декодирования речи. Обычно этот индикатор режима может включать в себя только несколько, например два, бита, которые передаются наряду с полями данных. Таким образом, в дальнейшем будет оценено, что особенно важной особенностью для приемника является возможность точно декодировать индикатор режима кодирования, так как в противном случае нельзя будет восстановить весь кадр данных. Это желание точного приема индикатора режима может привести разработчиков к высокой защите индикатора режима при тяжелом канальном кодировании.
Однако использование тяжелого канального кодирования подразумевает повышенную избыточность, которая означает, что необходимо передавать большое число битов для поля индикатора режима. То есть, как объяснено ранее, число нежелательных служебных битов необходимо минимизировать, то есть не увеличивать. Таким образом, необходимо выполнить методы и системы, обеспечивающие повышенное правдоподобие, которые позволят правильно декодировать индикаторы режима, такие как индикатор режима кодирования, одновременно сводя к минимуму число служебных битов, которые передаются с полезными данными.
Эти и другие недостатки и ограничения известных способов и систем передачи информации устраняются в соответствии с настоящим изобретением, в котором относительно слабое канальное кодирование (например, сверточное кодирование или блочное кодирование) используется для защиты информации о режиме, которая передается по радиоинтерфейсу. Таким способом сводят к минимуму передачу служебных битов, получая тем самым максимальную пропускную способность пользовательских данных для данного выделения ресурсов. Информация о режиме может содержать, например, индикатор режима, который информирует приемник о комбинации “кодирование речи/кодирование канала”, которая используется в текущий момент времени для кодирования полезных данных, запрос режима, который информирует передатчик о конкретном режиме работы кодека, который требуется приемнику для переданных впоследствии информационных блоков или кадров и/или информации об измерении канала, которая действует как точный запрос на конкретный режим кодека, который будет поддерживаться передатчиком.
Для того чтобы скомпенсировать относительно слабое канальное кодирование, используемое для защиты информации о режиме, образцовые варианты осуществления настоящего изобретения позволяют повысить точность декодирования информации о режиме путем обеспечения множества оценочных и вычисленных параметров правдоподобия, которые комбинируют для того, чтобы максимизировать вероятность правильного определения значения информации о режиме. Например, первый параметр правдоподобия можно получить из предварительной информации, которая доступна как часть декодирования поля информации о режиме, например, в процессе декодирования Витерби. Второй параметр правдоподобия можно получить из модели, созданной в особенности для использования априорного знания непосредственно в самой информации о режиме. Эти два параметра правдоподобия можно комбинировать для того, чтобы идентифицировать информацию о (наиболее вероятном) текущем режиме.
Сущность изобретения иллюстрируется ссылкой на сопроводительные чертежи, на которых:
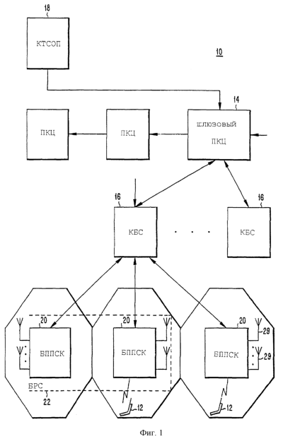
фиг.1 отображает блок-схему для образцовой системы связи ГСПС, которая преимущественно используется в настоящем изобретении;
фиг.2(а) изображает режим кодека, который используется в известной системе ГСПС;
фиг.2(b) изображает известное отображение битов в речевом кадре для кодирования с неадекватной защитой от ошибок;
фиг.3(а) изображает блок-схему, иллюстрирующую многочисленные режимы работы кодека, некоторые из которых можно выбрать для обработки данных, предназначенных для передачи, и индикатор соответствующего режима согласно образцовому варианту осуществления настоящего изобретения;
фиг.3(b) изображает другую блок-схему, иллюстрирующую другой образцовый метод выработки многочисленных режимов кодека;
фиг.4 изображает блок-схему приемника, который включает в себя процессор правдоподобия режима и модель информации о режиме, согласно образцовому варианту осуществления настоящего изобретения.
Ниже описываются образцовые варианты осуществления в контексте систем радиосвязи МДРВ. Однако специалистам будет ясно, что эта методология доступа используется только в целях иллюстрации и что настоящее изобретение легко применимо ко всем методологиям доступа, включая множественный доступ с разделением по частоте (МДРЧ), МДРВ, множественный доступ с разделением по кодам (МДРК) и их комбинации.
Более того, работа в соответствии с системами связи ГСПС описана в документах Европейского института стандартов по телекоммуникациям (ETSI) ETS 300 573, ETS 300 574 и ETS 300 578, которые представлены здесь в качестве ссылки. Поэтому работа системы ГСПС описывается здесь только до той степени, которая необходима для понимания настоящего изобретения. Хотя настоящее изобретение описано в терминах образцовых вариантов осуществления в системе ГСПС, специалистам будет ясно, что настоящее изобретение может быть использовано в широком многообразии других систем цифровой связи, таких как система на основе стандартов PDC и D-AMPS и их усовершенствований.
Как показано на фиг.1, система 10 связи изображена согласно образцовому варианту осуществления настоящего изобретения. Система 10 обозначена в виде иерархической сети с многочисленными уровнями для управляющих вызовов. Используя набор частот для восходящей линии связи и нисходящей линии связи, мобильные станции 12, действующие в пределах системы 10, участвуют в вызовах с использованием временных интервалов, выделенных для них на этих частотах. На верхнем иерархическом уровне группа мобильных коммутационных центров (ПКЦ) 14 отвечает за маршрутизацию вызовов из отправителя к получателю. В частности, эти комплексы отвечают за установку, управление и завершение вызовов. Один из ПКЦ 14, который называется шлюзовым ПКЦ, поддерживает связь с коммутированной сетью общественного пользования (КТСОП) 18 или с другими общественными или частными сетями.
На нижнем иерархическом уровне каждая из ПКЦ 14 подсоединена к группе контроллеров базовых станций (КБС) 16. В стандарте ГСПС КБС 16 поддерживает связь с ПКЦ 14 при помощи стандартного интерфейса, известного как Р-интерфейс (“радиоинтерфейс”), который основан на части применения мобильных систем сигнальной системы CCITT №7.
На нижнем иерархическом уровне каждая КБС 16 управляет группой базовых приемопередающих станций (БППС) 20. Каждая БППС 20 включает в себя ряд ППРД (не показано), которые используют РЧ каналы восходящей линии связи и нисходящей линии связи для обслуживания конкретной общей географической зоны, такой как одна или несколько сот 21 связи. КБС 20 в основном поддерживает РЧ линии связи для передачи и приема пакетов данных в и из мобильных станций 12, которые расположены в пределах своей определенной соты. В образцовом варианте осуществления настоящего изобретения ряд БППС 20 входит в состав базовой радиостанции (БРС) 22. БРС 22 может быть, например, сконфигурирована в соответствии с семейством изделий БРС-2000, которые предлагает фирма Телефонактиеболагет Л М Эриксон (Telefonaktiebolaget L М Ericsson), которая является заявителем настоящего изобретения. За дополнительными подробностями, относящимися к образцовым реализациям базовой станции 12 и БРС 22, можно обратиться к заявке на патент США №08/921319 Магнуса Фродиха и других “Способ адаптации линии связи для каналов связи, использующих схемы модуляции, которые имеют различные скорости передачи символов” от 29 августа 1997 года (U.S. Patent Application Serial No. 08/921319, entitled “A Link Adaptation Method For Links using Modulation Schemes That Have Different Symbol Rates”, to Magnus Frodigh et al., and filed on August 29, 1997), который представлен здесь в качестве ссылки.
Согласно образцовым вариантам осуществления настоящего изобретения информацию, переданную между БППС 20 и мобильной станцией 12, можно обработать, используя различные режимы работы кодека. Термин “режим работы кодека” используется здесь для ссылки на комбинацию кодирования источника (например, кодирование речи) и канального кодирования, хотя настоящее изобретение также применимо для передач и приема других типов индикаторов режима и даже в более общем случае для передачи и приема другой информации по радиоинтерфейсу. Для более полного понимания образцовых режимов, для которых можно защитить, передать и кодировать индикаторы, запросы и информацию, связанную с ними, рассмотрен образцовый режим работы кодека ГСПС, изображенный на фиг.2(а) и 2 (b).
На фиг.2(а) изображена часть тракта канала обработки переданного сигнала А/Ц преобразователя (не показан), который оцифровывает образцовый входной аудиосигнал. Блок из 160 выборок подается в речевой кодер 30 ВРИ, который работает в соответствии с хорошо известными техническими условиями ГСПС (например, GSM 06.53) для того, чтобы получить две категории выходных битов, 182 бита класса 1 и 78 битов класса 2 с полной выходной скоростью передачи битов 13 кбит/с. Как показано на фиг.2(b), биты класса 1 дополнительно подразделяются на биты класса 1а и биты класса 1b, каждые из которых вводятся в канальный кодер 32, который выполняет сверточное кодирование со скоростью 1/2. Полученные в результате 378 бита выводятся из канального кодера 32, который включает в себя 3 бита четности, связанные с битами класса 1а, и четыре конечных бита, связанные с битами класса 1b. Этот сложный процесс можно рассматривать как один пример одного режима работы кодека.
Однако заявители считают, что в будущих системах будет предусмотрено множество различных режимов работы кодека. Например, как концептуально изображено на фиг.3(а), может быть два различных речевых кодера и два различных канальных кодера, которые можно использовать в различных комбинациях для кодирования битов перед передачей. Первый речевой кодер 40 может служить для обработки цифровых выборок и обеспечения выходной скорости передачи битов Х кбитов/с, тогда как второй речевой кодер 42 позволяет обрабатывать входные цифровые выборки, обеспечивая выходную скорость битов Y кбит/с, где X>Y. Аналогичным образом, два различных канальных кодера 44 и 46 (в этом примере сверточные кодеры, хотя один или два кодера могут поочередно быть блочными кодерами) обеспечивают различные степени защиты от ошибок благодаря своим различным скоростям 1/А и 1/В соответственно, где А>В. Таким образом, можно заметить, что при использовании процессора 48 для управления режимами совместно с мультиплексорами 50 и 52 для выбора тракта, то есть в этом примере комбинация речевого кодера и канального кодера для обработки конкретного блока или кадра полезных данных используются четыре различных режима работы кодека.
Для создания многочисленных режимов работы кодека в передатчике можно применять и другие многочисленные методы. На фиг.3(b) рассмотрен пример, в котором множество кодеров 60, 62, 64 и 66 источника (например, речи) предусмотрены в выбранных трактах обработки сигнала передачи. Каждый кодер имеет различную выходную скорость (X>Y>Z>A кбит/с) и связан с различным одним из канальных кодеров 68, 70, 72 и 74. Для того чтобы обеспечить одинаковую выходную скорость передачи данных F кбит/с, так как между различными, выбираемыми трактами (которые могут быть необходимы для подобного выделения/соединения ресурсов) канальные кодеры можно определить так, чтобы величина избыточности, которая добавляется в кодированный поток данных источника, была выше для кодера источника с более низкой скоростью передачи битов и меньше для кодеров источника с более высокой скоростью передачи битов. Как и в описанном ранее примере, конкретный режим работы кодека, выбранный для любого заданного блока данных или кадра, управляется посредством, например, процессора 76 управления режимами и мультиплексора 78.
Несмотря на метод, используемый на стороне передачи, который позволяет обеспечить различные режимы работы кодека для того, чтобы можно было корректно декодировать принятые данные, приемнику необходимо знать режим работы кодека, используемый передатчиком для обработки любого заданного блока или кадра принятых данных. Согласно образцовым вариантам осуществления настоящего изобретения это можно выполнить путем передачи индикатора режима из передатчика в приемник совместно с, или заранее, блоком или кадром данных, к которому он относится. В примере, изображенном на фиг.3(а) и 3(b), будет достаточно двухбитового поля индикатора режима для того, чтобы информировать приемник о комбинации речевого кодера и канального кодера, используемого для обработки данных перед передачей. С другой стороны, приемник может передавать запрос на конкретный режим работы кодека в передатчик, или приемник может передавать измерения качества сигнала, связанные с каналом нисходящей линии связи (то есть БППС в линию связи мобильной станции) в передатчик, который, передатчик, затем используют для идентификации соответствующего режима кодека. В любом из этих трех случаев происходит обмен по радиоинтерфейсу некоторым типом информации о режиме работы между передатчиком и приемником, при этом используется термин, который включает в себя каждый из этих трех специфических примеров, а также другие типы информации о режиме.
В любом случае, так как информация о режиме также передается по радиоинтерфейсу между БППС 20 и мобильной станцией 12, следует также защищать данные от ошибок в канале. Однако, так как информация о режиме может передаваться по радиоинтерфейсу с использованием только нескольких битов в кадре, то неосуществимо эффективное кодирование источника (то есть уменьшение избыточности) с низкой задержкой. Более того, не требуется добавление тяжелого канального кодирования, то есть с большой величиной избыточности, поскольку оно добавляется дополнительно к служебным передачам и уменьшает эффективную пользовательскую скорость передачи битов. Кроме того, необходимо поддерживать низкую задержку при кодировании для того, чтобы режим работы кодека можно было изменять быстро с учетом быстрых изменений условий передачи в канале. Поэтому согласно образцовым вариантам осуществления настоящего изобретения информация о режиме является канально-кодированной с использованием относительно слабого (то есть с маленькой величиной избыточности) канального кода. На фиг.3(а) в качестве примера показан канальный кодер 54, в котором используется сверточный код со скоростью 1/С. На фиг.3(b) в качестве примера показан блочный кодер 67, использующий блочное кодирование (8, 2). Более конкретно, но только в иллюстративной форме примерами относительно слабого канального кодирования для индикатора режимов являются сверточное кодирование со скоростью 1/3-1/2 (или более) и блочное кодирование (4, 2)-(8, 2) (где в каждом примере первое число в круглых скобках означает число грубых битов и второе число – число точных битов).
Чтобы правильно выполнить на стороне приемника декодирование информации о режиме, которая передается по радиоинтерфейсу с использованием относительно слабой формы канального кодирования, в образцовых вариантах осуществления настоящего изобретения также используются вычисления комплексного правдоподобия или вероятности, которые помогают правильно декодировать информацию о режиме (фиг.4). Затем антенна 100 приемного устройства, например, принимает радиосигналы по определенному радиоканалу. Сигналы (например, данные/речевые сообщения), переданные по этому каналу, могут сильно искажаться, например, вследствие замирания, так что МДРВ-пакеты имеют сильно искаженный речевой кадр.
В радиоприемнике 102 имеет место демодуляция на заданной радиочастоте (в системе ГСПС на частоте 865-935 МГц) известным способом для того, чтобы получить модулированный сигнал в основной полосе частот. Уровень (уровни) интенсивности сигнала радиосигналов, поступающих в радиоприемник 102, можно измерить и обозначить sm (фиг.4). Модулированный сигнал основной полосы частот демодулируется в демодуляторе 104 в пределах ПЧ-диапазона, причем этот демодулятор включает в себя эквалайзер для компенсации или коррекции известным способом многолучевого распространения, которому подвергается входящий сигнал во время передачи. Например, хорошо известный эквалайзер Витерби можно использовать для этой цели.
Так называемую предварительную (“мягкую”) информацию, связанную с правдоподобием любой заданной оценки символа, получают из эквалайзера Витерби в демодуляторе 104, причем эта предварительная информация обозначается sj (фиг.4). Деперемежитель 106 подсоединяется вниз по потоку к демодулятору/эквалайзеру 104 и восстанавливает известным способом пакеты, разделенные во времени и предназначенные для приемника.
Приемник также включает в себя процессор 107 для обработки правдоподобия информации о режиме, который вычисляет комплексное правдоподобие, связанное со значением информации о режиме, и обеспечивает подачу выходного сигнала в канальный декодер 109 и речевой декодер 112, указывая методы, идентифицированные приемником, которые являются наиболее вероятными для использования в передатчике для первоначальной обработки принятого блока данных или кадра. Комплексное правдоподобие включает в себя, например, первый параметр правдоподобия, связанный с предварительной информацией sj, которая вырабатывается в процессе демодуляции информации о режиме, и второй параметр правдоподобия, который вырабатывается с помощью модели (моделей) 108 вероятности или правдоподобия.
Первый параметр правдоподобия может быть метрикой, которая вычисляется совместно, например, с декодированием по алгоритму Витерби информации о режиме. Для каждого возможного значения информации о режиме (например, 00, 01, 10, 11 в предыдущем примере четырех режимов работы кодека) процесс демодуляции может обеспечить первый параметр правдоподобия. Аналогичным образом модель 108 позволяет также обеспечить второе значение параметра правдоподобия для каждого возможного значения информации о режиме. Первое и второе значения параметра правдоподобия, который связан с каждым возможным значением информации о режиме, можно комбинировать, например умножать друг на друга, для того, чтобы выработать комплексное правдоподобие для каждого возможного значения информации о режиме, и самую высокую вероятность или правдоподобие можно выбрать для применения в канальном декодере 109 и речевом декодере 112.
Модель, используемую в блоке 108, можно менять в зависимости от различных условий работы системы. Например, модели Маркова можно использовать в качестве вероятностных моделей для информации о режиме. Модели Маркова достаточно хорошо известны в технике и поэтому дополнительно не будут описываться здесь. Однако дополнительную информацию, относящуюся к моделям Маркова, можно получить в общем, и их применение при получении оценок значений символов, в статьях Фингшейда и других “Устойчивое декодирование речи: универсальный подход к маскированию битовых ошибок” (“Robust Speech Decoding: A Universal approach to Bit Error Concealment”, authored by Fingscheidt et al. and found in the Proceedings of ICASSP’97, Munich, Germany), в трудах ICASSP’97, Мюнхен, Германия, а также в работе Фингшейда и других “Устойчивое декодирование речи при ГСПС с использованием канального декодера с предварительным выводом” (“Robust GSM Speech Dedcoding Using the Channel Decoder’s Soft Output”, authored by Fingscheidt et al.) и в трудах Евроспич’97, Ходес, Греция (Proceedings of Eurospeech’97, Rhodes, Greece), которые представлены здесь в качестве ссылки.
Например, марковская модель 0-го порядка подходит для применения в качестве модели 108 информации о режиме, если кодовые слова режима работы кодека не распределены одинаковым образом, то есть, если все возможные режимы работы кодека невероятны в равной степени, и которые можно использовать для данного блока данных или кадра, представляющих интерес. Более конкретно, марковская модель 0-го порядка применяется для модели 108 информации о режиме, когда априорное временное значение не влияет на правдоподобие конкретного режима работы кодека. Например, если конкретный блок данных или кадр поступает в момент времени n-1, который был обработан в режиме 1, и если знание не изменяет относительное правдоподобие того, какой режим работы кодека будет использоваться передатчиком для обработки следующего блока данных или кадра, то марковская модель 0-го порядка будет подходящим выбором для модели 108.
Если, с другой стороны, режим работы кодека, который используется в момент времени n-1, не влияет на вероятность одного или более режимов работы кодека, используемых в последующий момент времени, то марковская модель 1-го порядка является подходящей для модели 108 информации о режиме для моделирования неравноценных вероятностей переходов из предыдущего кодового слова режима работы кодека в текущий. Вероятности переходов модели первого порядка можно, например, задать в соответствии со следующими правилами:
– Так как изменения режимов являются редкими, то вероятность переключения из одного режима работы кодека в другой является маленькой по сравнению с вероятностью поддержания текущего режима.
– Изменения режима могут происходить только для соседних режимов, например, если было три различных режима канального кодирования, то допустимым является только сдвиг из тяжелейшего режима канального кодирования во второй тяжелейший режим канального кодирования, но не из тяжелейшего режима канального кодирования в легчайший режим канального кодирования. Таким образом, вероятности переходов для режимов, которые расположены непосредственно рядом друг с другом, можно установить в 0.
– Можно запретить более чем n изменений режимов в интервал времени m кадров. Вероятности переходов для других режимов, отличных от текущего режима, можно затем установить в 0 при превышении отсчета n внутри интервала времени.
– Объект, посылающий запрос на режим работы кодека, обладает знанием о запрошенном режиме. Хотя будет присутствовать некоторая задержка до тех пор, пока запрос не подтвердится приемным объектом, речевые данные соответственно кодируют с использованием новой комбинации кодирования источника/канала и передают наряду с соответствующим показанием режима, декодер может смещать вероятности переходов марковской модели для выдачи информации о режиме в направлении значения, представляющего собой запрошенный режим.
– Условия канала в восходящей линии связи и нисходящей линии связи являются коррелированными. Следовательно, вполне вероятно, что запрос на режим работы кодека, принимаемый из удаленного объекта, соответствует режиму кодека, принимаемому в удаленном объекте. Вероятности переходов марковской модели для принятого запроса на режим работы кодека для одной линии радиосвязи (например, нисходящей линии связи) может таким образом отклонять вперед запрошенный режим кодека для другой линии связи (например, для восходящей линии связи).
Специалистам будет ясно, что эти простые примеры вероятностных моделей можно использовать для определения правдоподобия информации о режиме, представляющий собой конкретное значение для любого заданного кадра на основании правил и предыстории.
Кроме того, независимо от того, какая модель выбрана, ее можно непосредственно адаптировать благодаря изменениям конфигурации системы, которые связаны с другими параметрами, например изменениями:
– числа режимов работы кодека;
– разрешения измерений качества линии связи;
– скорости передачи информации о режиме работы кодека (например, для прерывистой передачи (ПП));
– степени защиты канала (то есть величины избыточности) информации о режиме работы кодека (например, для ПП);
– схемы канального кодирования (например, сверточное или блочное кодирование) для информации о режиме работы кодека (например, для ПП);
– концепции архитектуры (симметричное или централизованное управление) двухсторонней системы связи.
Этот последний параметр отладки относится к симметричным или централизованным архитектурам управления. Симметричные архитектуры управления относятся к системам, в которых не существует отличия между восходящей линии вязи и нисходящей линии вязи, то есть нельзя отличить друг от друга мобильную станцию и базовую станцию. Таким образом, передатчик для линии связи позволяет управлять выбором режима. С другой стороны, сторона, запрашивающая режим, например приемник, может управлять режимом в линии связи, то есть запрос режима и/или измерения связаны друг с другом после передатчика.
Централизованные архитектуры управления относятся к сценариям, где система является главным устройством, и удаленное устройство, например мобильная станция, является подчиненным устройством. В этом контексте система может управлять режимом кодека для обеих линий связи, то есть запросы режимов с помощью мобильной станции связаны друг с другом. Таким образом, тип архитектуры может отображать правдоподобие конкретного режима, используемого для будущей передачи данных, например определенность, с которой мобильная станция узнает о том, что ее запрос режима будет замечен системой.
Что же касается других параметров отладки для вышеописанных образцовых моделей, то специалисты могут распознать, что во время ПП одна линии связи является неактивной, и информация о режиме работы кодека передается с пониженной скоростью. Например, когда информация о режиме работы кодека передается в каждом кадре активной линии связи, информация о режиме работы неактивной линии связи передается менее часто, например каждый шестой кадр. Таким образом, существует вероятность того, что информация о режиме работы кодека изменяется более часто (за передачу) для неактивной линии связи. Следовательно, вероятности переходов марковской модели первого порядка необходимо отлаживать с учетом ПП так, чтобы сохранить наименее вероятный текущий режим работы кодека, когда изменение режимов является наиболее вероятным. Другое возможное изменение модели, связанное с ПП, позволяет распознать, что существует более высокая пропускная способность при передаче, имеющаяся в кадре при использовании ПП, которая, в свою очередь, пропускает кодирование с более сильной коррекцией ошибок, которая будет использоваться для защиты информации о режиме. В этом последнем случае при комбинировании первого параметра правдоподобия (из предварительного декодирования выходного канала) со вторым параметром правдоподобия (из вероятностной модели) первое может дать более высокий вес.
В любом случае, если комплексное правдоподобие вычисляют для каждого возможного значения информации о режиме и идентифицируют режим работы кодека с наибольшей вероятностью, это обеспечивает информацию, которая необходима для канального декодера 109 и речевого декодера 112 и для работы с использованием соответствующих алгоритмов обработки. Например, главная функция канального декодера 109 заключается в выполнении операции, которая противоположна канальному кодеру на стороне передатчика, то есть восстанавливать переданную информацию из известных избыточных битов и известного канального кодирования (например, сверточного кода). Декодированные речевые кадры поступают из канального декодера 109 в речевой декодер 112 речь-кадр за речь-кадром через средство 110 программного маскирования ошибок. Средство 110 программного маскирования ошибок является предпочтительно машиной состояний, которая реализуется программными средствами, и отвечает за обработку ситуации, где, например, речевой кадр декодируется ошибочным образом. Полный синтез принятых речевых кадров осуществляется в речевом декодере 112 для того, чтобы доставить речевые сигналы в блок 114 воспроизведения звука, расположенный в мобильной станции.
Хотя настоящее изобретение было описано подробно со ссылками только на несколько образцовых вариантах осуществления, специалистам будет ясно, что различные модификации могут быть сделаны без отклонения от изобретения. Соответственно, изобретение определено только следующими пунктами формулы изобретения, которая предназначена для охвата всех его эквивалентов.
Формула изобретения
1. Способ передачи информации о режиме между передатчиком и приемником в системе связи, содержащий этапы, в соответствии с которыми получают на приемнике первый параметр правдоподобия, связанный с каждым из различных возможных значений, связанных с информацией о режиме с использованием процесса канального декодирования с предварительным выводом, получают второй параметр правдоподобия для каждого из различных возможных значений, связанных с априорным знанием информации о режиме, рассчитывают комбинированный параметр правдоподобия для каждого из различных возможных значений, связанных с информацией о режиме, основанный на первом и втором параметрах правдоподобия, и выбирают окончательное значение для информации о режиме, имеющее наивысший комбинированный параметр правдоподобия, обеспечивают по меньшей мере два различных режима работы кодека для обработки информации о режиме в передатчике, при этом информация о режиме связана с по меньшей мере двумя различными режимами работы кодека, при этом каждый из упомянутых по меньшей мере двух режимов работы кодека взаимосвязан с одним или с множеством методов кодирования, и кодируют информацию о режиме, путем кодирования с защитой от ошибок, которое имеет предопределенный уровень избыточности, связанный с ним.
2. Способ по п.1, по которому этап кодирования также содержит этап сверточного кодирования информации о режиме.
3. Способ по п.2, по которому на этапе сверточного кодирования информации о режиме сверточное кодирование информации о режиме выполняют со скоростью, которая больше или равна 1/3.
4. Способ по п.1, по которому этап кодирования информации о режиме также содержит этап, в соответствии с которым выполняют блочное кодирование информации о режиме.
5. Способ по п.4, по которому этап блочного кодирования информации о режиме также содержит этап, в соответствии с которым выполняют блочное кодирование информации о режиме с использованием (4, 2)-(8, 2) блочного кода.
6. Способ по п.1, по которому информация о режиме является индикатором, который идентифицирует один по меньшей мере из двух различных режимов работы кодека, которые используются для обработки данных, переданных передатчиком.
7. Способ по п.1, по которому каждый по меньшей мере из двух режимов кодека идентифицирует оба и метод кодирования источника, и метод кодирования канала.
8. Способ по п.1, по которому информация о режиме представляет собой запрос на один по меньшей мере из двух различных режимов работы кодека.
9. Способ по п.1, по которому информация о режиме представляет собой информацию об измерении канала, которую может использовать приемник для определения соответствующего одного по меньшей мере из двух различных режимов работы кодека.
10. Способ по п.1, по которому второй параметр правдоподобия зависит от изменения числа по меньшей мере двух различных режимов работы кодека.
11. Способ по п.1, по которому второй параметр правдоподобия зависит от изменения разрешающей способности измерений качества канала, связанных с передачей информации по радиоинтерфейсу между передатчиком и приемником.
12. Способ по п.1, по которому второй параметр правдоподобия зависит от изменения скорости передачи информации о режиме.
13. Способ по п.1, по которому второй параметр правдоподобия зависит от изменения предопределенного уровня избыточности кодирования с защитой от ошибок.
14. Способ по п.1, по которому второй параметр правдоподобия зависит от изменения схемы кодирования, которая используется для информации о режиме.
15. Способ по п.1, по которому второй параметр правдоподобия изменяется при изменениях, связанных с прерывистой передачей.
16. Способ по п.1, по которому система связи является двухсторонней системой связи.
17. Способ по п.16, по которому второй параметр правдоподобия зависит от изменения в архитектуре двухсторонней системы связи.
18. Способ по п.1, по которому система связи является односторонней системой связи.
19. Способ по п.1, по которому получают второй параметр правдоподобия, используя марковскую модель нулевого порядка, которая имеет вероятности, отражающие распределение информации о режиме.
20. Способ по п.1, по которому получают второй параметр правдоподобия, используя марковскую модель первого порядка, имеющую вероятности, отражающие переход информации о режиме.
21. Способ по п.16, по которому второй параметр правдоподобия зависит от знания запрошенного одного по меньшей мере из двух различных режимов кодека.
22. Способ по п.16, который также содержит этап, в соответствии с которым информацию о режиме передают по линии связи между передатчиком и приемником, при этом второй параметр правдоподобия зависит от знания одного по меньшей мере из двух различных режимов кодека, который в текущий момент времени используется в другой линии связи для передачи информации из приемника в передатчик.
23. Система связи, включающая в себя передатчик и приемник, которые поддерживают связь для передачи информации о режиме между ними, содержащая средство для обеспечения по меньшей мере двух различных режимов работы кодека для обработки информации в передатчике, в котором информация о режиме связана по меньшей мере с двумя различными режимами кодека, при этом каждый из упомянутых по меньшей мере двух режимов работы кодека взаимосвязан с одним или с множеством методов кодирования, средство для кодирования в передатчике информации о режиме кодирования с защитой от ошибок, которая имеет предопределенный уровень избыточности, связанный с ней, средство (100) для передачи кодированной информации о режиме по радиоинтерфейсу, средство (104) для получения на приемнике первого параметра правдоподобия, связанного с каждым из различных возможных значений, связанных с информацией о режиме, используя средства для канального декодирования с предварительным выводом, средство (108) для получения второго параметра правдоподобия для каждого из различных возможных значений, с использованием априорного знания информации о режиме, средство (107) для расчета комбинированного параметра правдоподобия для каждого из различных возможных значений, связанных с информацией о режиме, основанных на первом и втором параметрах правдоподобия, и средство, обеспечивающее выбор окончательного значения для информации о режиме, имеющего наивысший комбинированный параметр правдоподобия.
24. Система по п.23, в которой средство, обеспечивающее выбор окончательного значения для информации о режиме, также содержит средство для комбинирования в приемнике первого и второго параметров правдоподобия и средство для сверточного кодирования информации о режиме.
25. Система по п.24, в которой средство для сверточного кодирования информации о режиме выполняет сверточное кодирование информации о режиме со скоростью, которая больше или равна 1/3.
26. Система по п.23, в которой средство для сверточного кодирования информации о режиме также содержит средство для блочного кодирования информации о режиме.
27. Система по п.26, в которой средство для блочного кодирования информации о режиме обеспечивает блочное кодирование информации о режиме с использованием (4, 2)-(8, 2) блочного кода.
28. Система по п.23, в которой информация о режиме является индикатором, который идентифицирует один по меньшей мере из двух различных режимов работы кодека, которые используются для обработки данных, переданных передатчиком.
29. Система по п.23, в которой каждый по меньшей мере из двух режимов кодека идентифицирует оба и метод кодирования источника, и метод кодирования канала.
30. Система по п.23, в которой информация о режиме представляет собой запрос на один по меньшей мере из двух различных режимов работы кодека.
31. Система по п.23, в которой информация о режиме представляет собой информацию об измерении канала, которую может использовать приемник для определения соответствующего одного по меньшей мере из двух различных режимов работы кодека.
32. Система по п.23, в которой средство для получения второго параметра правдоподобия сконфигурировано на основании изменения числа по меньшей мере двух различных режимов кодека.
33. Система по п.23, в которой средство для получения второго параметра правдоподобия сконфигурировано на основании изменения разрешения измерений качества канала, связанных с передачей информации по радиоинтерфейсу, между передатчиком и приемником.
34. Система по п.23, в которой средство для получения второго параметра правдоподобия сконфигурировано на основании изменения скорости передачи информации о режиме.
35. Система по п.23, в которой средство для получения второго параметра правдоподобия сконфигурировано на основании изменения предопределенного уровня избыточности кодирования с защитой от ошибок.
36. Система по п.23, в которой средство для получения второго параметра правдоподобия сконфигурировано на основании изменения схемы кодирования, которая используется для информации о режиме.
37. Система по п.23, в которой средство для получения второго параметра правдоподобия выполнено с возможностью его корректировки, основанной на изменениях, связанных с прерывистой передачей.
38. Система по п.23, которая является двухсторонней системой связи.
39. Система по п.38, в которой средство для получения второго параметра правдоподобия сконфигурировано на основании изменения в архитектуре двухсторонней системы связи.
40. Система по п.23, которая является односторонней системой связи.
41. Система по п.23, в которой средство для получения второго параметра правдоподобия работает на основании марковской модели нулевого порядка, которая имеет вероятности, отражающие распределение информации о режиме.
42. Система по п.34, в которой средство для получения второго параметра правдоподобия работает на основании марковской модели первого порядка, которая имеет вероятности, отражающие распределение информации о режиме.
43. Система по п.38, в которой средство для получения второго параметра правдоподобия сконфигурировано на основании знания запрашиваемого одного по меньшей мере из двух различных режимов кодека.
44. Система по п.38, в которой информация о режиме передается по линии связи между передатчиком и приемником, при этом средство для получения второго параметра правдоподобия сконфигурировано на основании знания одного по меньшей мере из двух различных режимов кодека, которые в текущий момент времени используются в другой линии связи для передачи информации из приемника в передатчик.
45. Приемник для декодирования информации о режиме, полученной от передатчика, содержащий средство (104) для обеспечения первого параметра правдоподобия, связанного с каждым из различных возможных значений, связанных с информацией о режиме, используя средства для канального декодирования с предварительным выводом, средство (108) для обеспечения второго параметра правдоподобия для каждого из различных возможных значений, с использованием априорного знания информации о режиме, средство (107) для расчета комбинированного параметра правдоподобия для каждого из различных возможных значений, связанные с информацией о режиме, основанных на первом и втором параметрах правдоподобия, и средство для выбора окончательного значения для информации о режиме, имеющего наивысший комбинированный параметр правдоподобия.
46. Приемник по п.45, который установлен в мобильной станции.
47. Приемник по п.46, который содержит средство для получения второго параметра правдоподобия, использующее марковскую модель нулевого порядка, которая имеет вероятности, отражающие распределение информации о режиме.
48. Приемник по п.46, который содержит средство для получения второго параметра правдоподобия, использующее марковскую модель первого порядка, которая имеет вероятности, отражающие переход информации о режиме.
49. Приемник по п.45, который установлен в базовой станции.
50. Приемник по п.49, который содержит средство для получения второго параметра правдоподобия, использующее марковскую модель нулевого порядка, которая имеет вероятности, отражающие распределение информации о режиме.
51. Приемник по п.46, который содержит средство для получения второго параметра правдоподобия, использующее марковскую модель первого порядка, которая имеет вероятности, отражающие распределение информации о режиме.
РИСУНКИ
|
|