|
|
(21), (22) Заявка: 2003104269/28, 13.02.2003
(24) Дата начала отсчета срока действия патента:
13.02.2003
(45) Опубликовано: 10.11.2004
(56) Список документов, цитированных в отчете о поиске:
DE 10008185 A1, 06.09.2001. GB 1500765 A1, 08.02.1978. JP 2002159133 A1, 31.05.2002. US 3931502, 06.01.1976. SU 792406 A, 30.12.1980.
Адрес для переписки:
127994, Москва, ул. Образцова, 15, МИИТ
|
(72) Автор(ы):
Пупынин В.Н. (RU), Такарлыкова А.С. (RU)
(73) Патентообладатель(и):
Московский государственный университет путей сообщения (RU)
|
(54) СПОСОБ ЗАЩИТЫ УЧАСТКОВ КОНТАКТНОЙ СЕТИ ОТ ТОКОВ КОРОТКОГО ЗАМЫКАНИЯ
(57) Реферат:
Изобретение относится к области защиты тяговых сетей от токов короткого замыкания. На смежных фидерах контактной сети, разделенных изолирующим воздушным промежутком, определяют величины, пропорциональные скоростям изменения тока в них. Складывают эти величины с учетом их знаков. Полученную сумму сравнивают с уставкой по скорости изменения тока, значительно меньшей, чем величины, пропорциональные скоростям изменения тока на каждом из смежных фидеров. Если полученная сумма больше уставки, то подают сигнал на отключение выключателя того фидера, скорость нарастания тока на котором положительна. Технический результат – повышение селективности и чувствительности устройства защиты питающих фидеров тяговой сети постоянного тока. 3 ил.

Изобретение относится к электротехнике, а именно к способам релейной защиты тяговых сетей постоянного тока от токов короткого замыкания, и может быть использовано для защиты тяговой сети магистральных железных дорог и промышленных предприятий.
Известны способы защиты контактной сети постоянного тока по величине тока, по приращению тока, по скорости его нарастания, по интегралу тока за время его нарастания и т.п., индивидуально или в комбинациях, реализованные во многих устройствах, в том числе в комплекте защиты 3МКС-3,3, выключателях с индуктивным шунтом и выключателях с реле-дифференциальным шунтом типа РДШ.
Недостатком большинства этих способов является невозможность обеспечения необходимой селективности действия устройств, реализующих их [Л-1, Л-2].
Наиболее близким по технической сущности к заявляемому объекту является способ защиты по величине и приращению тока, реализуемый выключателями с индуктивным шунтом, в которых функции отключения и защиты объединены в электромагнитном механизме, и выключателями с защитным реле РДШ, у которых функции отключения и защиты разделены [Л-1]. Он и взят за прототип.
Существенный недостаток указанного способа защиты связан с большим числом ложных срабатываний защиты, которые происходят при проходе подвижного состава (электровоза под током) через воздушный промежуток. Эта ситуация показана на фиг.1, где в качестве примера защита фидеров осуществляется выключателями с реле РДШ (Р1-Р4). Электровоз, потребляющий ток Iэ, двигаясь слева направо со скоростью V, своим токоприемником перекрывает воздушный промежуток контактной сети ВП. Из-за броска (приращения) тока срабатывает РДШ Р2 фидера 2 п/ст. А, на который въезжает электровоз, и отключает свой выключатель, а затем и РДШ Р4 п/ст. или поста секционирования Б также отключает свой выключатель, в результате чего участок, на который заезжает электровоз, обесточивается. Вследствие этого между ветвью, с которой съезжает электровоз, и токоприемником появляется электрическая дуга, которая пережигает провода воздушного промежутка.
В то же время известный способ защиты имеет важное преимущество при отключении малых токов короткого замыкания, вследствие чего он и используется в выключателях с индуктивным шунтом или реле РДШ.
Применяемые в данной защите выключатели обладают характеристикой срабатывания, изображенной на фиг.2. На оси абсцисс отмечена статическая уставка выключателя (реле РДШ) Iу, определяющая его срабатывание при медленном изменении тока, на оси ординат – динамическая уставка Iу, определяющая минимальный скачок тока, при котором срабатывает выключатель (фиг.2). Из фиг.2 видно, что скачок тока I1 приводит к отключению выключателя, хотя арифметическая сумма скачка тока I1 и предшествующего тока I1 меньше его уставки Iу.
Сущность заявляемого изобретения состоит в том, что кроме измерения величины и приращения тока на смежных фидерах контактной сети, разделенных изолирующим воздушным промежутком, дополнительно определяют величины, пропорциональные скоростям изменения тока в них, складывают эти величины с учетом их знаков, а полученную сумму сравнивают с уставкой по скорости изменения тока, значительно меньшей, чем величины, пропорциональные скоростям изменения тока на каждом из смежных фидеров, и если полученная сумма больше уставки, то подают сигнал на отключение выключателя того фидера, скорость нарастания тока на котором положительна.
Изобретение обеспечивает возможность избежать ложных срабатываний выключателей при проходе подвижного состава (электровоза под током) через воздушный промежуток, и при этом сохраняет преимущество данного способа защиты – отключение малых токов короткого замыкания.
Техническим результатом является повышение селективности и чувствительности устройств защиты, питающих фидеров тяговой сети постоянного тока.
Технический результат достигается следующим образом. На смежных фидерах дополнительно определяют величины, пропорциональные скоростям изменения тока в них, складывают эти величины с учетом их знаков, а полученную сумму сравнивают с уставкой по скорости изменения тока, значительно меньшей, чем величины, пропорциональные скоростям изменения тока на каждом из смежных фидеров. Если полученная сумма меньше уставки по скорости нарастания тока, то осуществляют запрет на отключение выключателя фидера, на который наезжает электровоз. Это соответствует рассмотренному выше случаю прохода электровоза под током через воздушный промежуток, где, таким образом, исключается ложное срабатывание выключателя фидера, на который наезжает электровоз (фидера Ф2 на фиг.1). Если же полученная сумма больше уставки, то разрешают отключение выключателя, скорость изменения тока на котором положительна. Это соответствует случаю короткого замыкания на участке контактной сети в точке К (фиг.1), поскольку в этом случае, величина, пропорциональная скорости изменения тока, будет положительна и зафиксирована только на фидере, питающем этот участок контактной сети (фидере Ф2 на фиг.1).
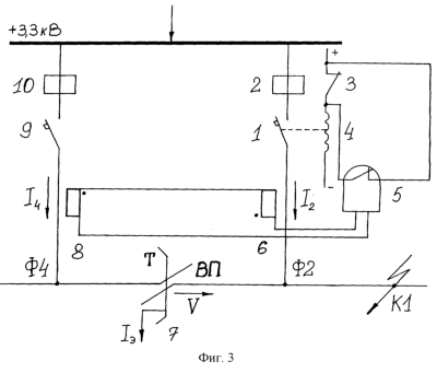
Предлагаемый способ может быть реализован на смежных фидерах тяговой сети постоянного тока, оборудованных как выключателями с индуктивными шунтами (типа АБ-2/4 или ВАБ-43), так и выключателями с РДШ (типа ВАБ-49). Ниже в качестве примера приведена схема устройства защиты по предлагаемому способу, выполненная применительно к смежным фидерам, оборудованным быстродействующими выключателями с защитным реле РДШ (фиг.3), где:
1, 9 – быстродействующий выключатель;
2, 10 – реле РДШ;
3 – контакты реле РДШ;
4 – держащая катушка;
5 – реле контроля (реле напряжения);
6, 8 – дополнительные катушки, имеющие одинаковое число витков и размещенные относительно шин фидеров Ф2 и Ф4 на одинаковых расстояниях (точкой обозначено начало обмоток катушек);
7 – электровоз под током;
ВП – воздушный промежуток;
Т – токоприемник электровоза.
Принцип работы схемы защиты следующий. Электровоз под током, проходя через воздушный промежуток, своим токоприемником (Т) перекрывает ветви воздушного промежутка (ВП), в результате чего на фидере Ф2, на который наезжает электровоз, появляется положительный скачок тока. Одновременно на фидере Ф4 происходит такой же скачок тока, но обратный по знаку. Изменяющиеся токи фидеров (I2 и I4) наводят вокруг шин фидеров изменяющиеся во времени магнитные потоки, часть которых замыкается внутри катушек 6 и 8, и наводят в них соответствующие напряжения. Катушки включены таким образом, что наводимые в них напряжения направлены встречно друг другу, а полученная на выходе сумма этих напряжений будет равна нулю. В результате, подключенное к выходу последовательно соединенных катушек реле напряжения 5, имеющее уставку по напряжению срабатывания, большую нуля, не срабатывает, и его нормально замкнутые контакты, шунтирующие контакты реле РДШ 3, не размыкаются. Поэтому несмотря на то, что положительный скачок тока на фидере Ф2 приводит к срабатыванию реле РДШ 2 и размыканию его контактов 3, разрыва цепи держащей катушки 4 не происходит и выключатель 1 не отключается.
Однако в случае короткого замыкания, например в удаленной точке К1, на фидере Ф2 появляется положительный скачок тока, который наводит напряжение только на катушке 6. Т.к. реле напряжения 5 имеет уставку по напряжению срабатывания, большую нуля, но меньшую чем напряжение, наводимое в катушке 6, оно разомкнет свои контакты. Одновременно на скачок тока отреагирует и реле РДШ 2 и также разомкнет свои контакты 3. В результате цепь держащей катушки 4 оказывается разомкнутой и выключатель 1 отключает короткое замыкание в сети.
Экономический эффект достигается за счет того, что при установке на смежных фидерах защит, выполненных по предлагаемому способу, не потребуется затрат на восстановление пережженных проводов контактной сети и связанных с этим затрат, компенсирующих нарушение графика движения и задержку поездов на линии.
Источники информации
1. Пупынин В.Н. Полная теория работы и характеристика параллельных индуктированных шунтов быстродействующих выключателей типов ВАБ-2, АБ-2/4, АБ-2/3 и реле-дифференциальных шунтов выключателей ВАБ-28. Труды МИИТ № 213, М.: Транспорт, 1965, с.61-86.
2. Фигурнов Е.П. Релейная защита устройств электроснабжения железных дорог. М.: Транспорт, 1981, с.167-187.
Формула изобретения
Способ защиты участков контактной сети от токов короткого замыкания по величине и приращению тока, отличающийся тем, что на смежных фидерах контактной сети, разделенных изолирующим воздушным промежутком, дополнительно определяют величины, пропорциональные скоростям изменения тока в них, складывают эти величины с учетом их знаков, а полученную сумму сравнивают с уставкой по скорости изменения тока, значительно меньшей, чем величины, пропорциональные скоростям изменения тока на каждом из смежных фидеров, и если полученная сумма больше уставки, то подают сигнал на отключение выключателя того фидера, скорость нарастания тока на котором положительна.
РИСУНКИ
|
|