|
|
(21), (22) Заявка: 2002118215/09, 26.08.2000
(24) Дата начала отсчета срока действия патента:
26.08.2000
(30) Конвенционный приоритет:
09.12.1999 DE 19959339.6
(43) Дата публикации заявки: 27.01.2004
(45) Опубликовано: 10.11.2004
(56) Список документов, цитированных в отчете о поиске:
DE 4040481 С, 06.02.1992. SU 1783599 А1, 23.12.1992. US 3500282 А, 10.03.1970.
(85) Дата перевода заявки PCT на национальную фазу:
09.07.2002
(86) Заявка PCT:
EP 00/08336 (26.08.2000)
(87) Публикация PCT:
WO 01/43247 (14.06.2001)
Адрес для переписки:
103735, Москва, ул. Ильинка, 5/2, ООО “Союзпатент”, пат.пов. И.М.Захаровой
|
(72) Автор(ы):
МЕКЛЕР Петер (DE), ЭЛЛЕНБЕРГЕР Хорст (DE), ШНАЙДЕР Эвальд (DE), ХОФМАЙСТЕР Лотар (DE)
(73) Патентообладатель(и):
ЭЛЛЕНБЕРГЕР УНД ПОЕНСГЕН ГМБХ (DE)
(74) Патентный поверенный:
Захарова Ирина Матвеевна
|
(54) ЭЛЕКТРИЧЕСКИЙ ФУНКЦИОНАЛЬНЫЙ ПРИБОР, В ЧАСТНОСТИ ЗАЩИТНЫЙ ВЫКЛЮЧАТЕЛЬ, ДЛЯ ИСПОЛЬЗОВАНИЯ В ВОЗДУХОПЛАВАНИИ
(57) Реферат:
Прибор снабжен корпусом, из которого выступает, в основном, цилиндрическая фиксирующая шейка (1). Фиксирующая шейка (1) имеет на своей внешней периферии мелкую резьбу (13) для навинчивания гайки и несет на расстоянии от своего конца со стороны корпуса радиально выступающий упорный фланец (6). Последний служит для удержания прибора в фиксированном положении, в котором фиксирующая шейка (1) проходит сквозь крепежное отверстие (14) или крепежную расточку (14) стенового элемента или панели (15) и натяжена в нем навинченной на мелкую резьбу (13) гайкой к упорному фланцу (6). Фиксирующая шейка (1) представляет собой отдельную, изготовленную за одно целое из пластика деталь. Она имеет между своим резьбовым концом и упорным фланцем (6) соосный фиксирующей шейке (1), безрезьбовой, в основном, цилиндрический участок (17) хвостовика, наружный диаметр (18) которого равен внутреннему диаметру мелкой резьбы (13), а обращенный к упорному фланцу конец которого переходит описывающим дугу квадранта скруглением (19) в упорный фланец (6). При этом радиус этого скругления (19) совпадает с разностью между номинальным радиусом мелкой резьбы (13) и половиной наружного диаметра (18) безрезьбового участка (17) хвостовика. Изобретение позволяет увеличить прочность при фиксации прибора. 5 з.п.ф-лы, 6 ил.

Изобретение относится к электрическому функциональному прибору более подробно описанному в ограничительной части п.1 формулы рода. Подобные функциональные приборы, в частности защитные выключатели, известны, например, из DE 2123765, DE 4040481 C1, DE-U-8904063, US 4400677 или FR 2067954.
Подобные электрические функциональные приборы, в частности защитные выключатели, часто фиксированы посредством закрепления резьбовой шейки внутри стенового элемента или стеновой панели. Внутри этой резьбовой шейки находится, как правило, выступающая наружу из корпуса и приводимая в действие снаружи или воспринимаемая снаружи функциональная деталь, например исполнительная рукоятка или индикаторное устройство. Для повышения прочности фиксирующая шейка, образующая особую деталь и не интегрированная в корпус, состоит из металлического материала, например стали, латуни или алюминия. Все эти материалы являются электрическими проводниками и вызывают поэтому проблему изоляции, которая для своего устранения требует дополнительных конструктивных затрат. Кроме того, высокий удельный вес металлических деталей вызывает серьезную, в частности у летательного аппарата, проблему веса. Одна только фиксирующая шейка составляет до 10% всего веса функционального прибора. В тяжелом самолете сегодня используются до 800 подобных защитных выключателей.
Кроме того, к надежности фиксации резьбовой шейки на стеновом элементе или стеновой панели предъявляются высокие требования в отношении прочности, которые до сих, как предполагалось, удавалось удовлетворять только за счет металлического выполнения фиксирующих шеек.
В основе изобретения лежит задача выполнения подобных, предназначенных для использования в воздухоплавании функциональных приборов, в частности защитных выключателей, более легкими по весу, не снижая этим прочности фиксации резьбовой шейки. Эта задача решается посредством п.1 формулы. Предусмотренная у этого пути решения замена обычной, изготовленной из металлического материала фиксирующей шейки фиксирующей шейкой, изготовленной из пластика, лишь кажется очевидной. При этом переходы от резьбового участка фиксирующей шейки в безрезьбовой, в основном, цилиндрический участок хвостовика и от этого участка хвостовика в упорный фланец фиксирующей шейки представляют собой значительную проблему прочности. Эти переходы оказывают решающее влияние на прочность и надежность фиксации прибора на стеновой панели или стеновом элементе. Это показали опыты. Здесь существенное значение имеют расчет наружного диаметра, в основном, цилиндрического участка хвостовика между резьбовой частью фиксирующей шейки и упорным фланцем, а также выполнение и расчет перехода безрезьбового, в основном, цилиндрического участка хвостовика в упорный фланец. Эти расчеты согласно п.1 оказались существенными для увеличения прочности и, тем самым, для пути изготовления фиксирующей шейки из пластика вместо обычного до сих пор металлического материала. Дополнительный в этом отношении целесообразный расчет фиксирующей шейки является объектом п.2. То же относится к мероприятию по п.3.
Изготовление фиксирующей шейки из пластика обеспечивает выполнение фиксирующей шейки в виде цельного неотъемлемого многофункционального конструктивного элемента, который может дополнительно содержать за счет этого защиту от проворачивания относительно стеновой панели, образованную у обычной металлической фиксирующей шейки особой дискретной деталью. То же относится к выполнению по п.5. Дополнительно предусмотренная здесь изолирующая крышка служит для экранирования токоведущих внутренних деталей электрического функционального прибора наружу.
Объект изобретения описан в качестве примера с помощью чертежей, на которых изображают:
фиг.1 – вид сверху на внутреннюю сторону конца чашки корпуса с расположенной внутри фиксирующей шейкой в разрезе;
фиг.2 – фиксирующая шейка согласно изобретению в перспективном косом виде сверху;
фиг.3 – вид сбоку по стрелке III на фиг.1;
фиг.4 – вид сбоку фиксирующей шейки с обозначением существенных для изобретения размерных величин;
фиг.5 – вид сбоку аналогично фиг.3 в разрезе, схематично показывающий состояние фиксирующей шейки в ее положении монтажа в стеновой панели;
фиг.6 – четыре вида сбоку, каждый в повернутом на 90° положении, схематично показывающие зону упора упорного фланца фиксирующей шейки в положении монтажа на упорном фланце.
Это наглядно поясняет выполнение перехода участка с мелкой резьбой в безрезьбовой, цилиндрический участок хвостовика.
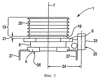
В частично показанном корпусе электрического защитного выключателя изображен только несущий фиксирующую шейку 1 согласно изобретению конец 3 чашки 2 корпуса с видом сверху на ее открытую вверх внутреннюю сторону 28. Фиксирующая шейка 1 представляет собой отдельную от чашки 2 корпуса, т.е. от корпуса, выполненную за одно целое из пластика деталь. Фиксирующая шейка 1 несет на своем конце 4 со стороны корпуса радиально выступающий кольцевой фланец 5, а в своей средней части на осевом расстоянии от этого кольцевого фланца 5 – упорный фланец 6, который выступает за продольную ось 7 посадочного отверстия корпуса радиально дальше, чем кольцевой фланец 5. Кольцевой 5 и упорный 6 фланцы образуют за счет имеющегося между ними осевого расстояния кольцевую канавку 8 в фиксирующей шейке 1. В эту кольцевую канавку 8 с геометрическим замыканием и фиксацией положения чашка 2 корпуса входит полукруглым ребром 9, выступающим радиально внутрь из стенки полукруглой выемки корпуса. После вставки фиксирующей шейки 1 в выемку корпуса (фиг.1) на чашку 2 корпуса надевают соответствующую чашку корпуса (не показана). За счет этого закрытый сам по себе корпус укомплектован, и кольцевая канавка 8 фиксирующей шейки 1 заполнена по окружности, с одной стороны, полукруглым ребром 9 нижней чашки 2 корпуса, а с другой стороны, – соответствующим полукруглым ребром надетой чашки корпуса (не показана).
На своем обращенном от кольцевого фланца 5 со стороны корпуса свободном конце 11 фиксирующая шейка 1 несет вдоль своей осевой протяженности 12 со стороны периферии мелкую резьбу 13 для навинчивания гайки (не показана). Гайка служит для фиксации фиксирующей шейки 1 и, тем самым, косвенно корпуса, символично изображенного чашкой 2 или концом 3, т.е. электрического функционального прибора, в частности защитного выключателя, в крепежном отверстии 14 стенового элемента или стеновой панели 15, которая здесь изображена лишь символически и имеет толщину 16.
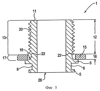
В состоянии монтажа фиксирующей шейки 1 или соединенного с ней корпуса 2, 3 на стеновом элементе или стеновой панели 15, т.е. при навинченной на мелкую резьбу 13 фиксирующей гайке, стеновой элемент или стеновая панель 15 прилегает в осевом направлении с натягом к упорному фланцу 6. Это положение прилегания изображено на фиг.1 и 4-6. В этом фиксированном положении фиксирующая шейка безрезьбовым участком 17 хвостовика находится внутри крепежного отверстия 14 стенового элемента или стеновой панели 15. Наружный диаметр 18 этого безрезьбового участка 17 хвостовика равен внутреннему диаметру мелкой резьбы 13. Обращенный к упорному фланцу 6 конец безрезьбового участка 17 хвостовика переходит посредством скругления 19 в упорный фланец 6. Скругление 19 описывает при этом в поперечном сечении дугу квадранта. Радиус скругления 19 соответствует разности между номинальным радиусом мелкой резьбы 13 и половиной наружного диаметра 18 безрезьбового участка 17 хвостовика.
Мелкая резьба 13 переходит с радиусом скругления 20 своей впадины без сбега в безрезьбовой, в основном, цилиндрический участок 17 хвостовика фиксирующей шейки 1.
Безрезьбовой участок 17 хвостовика имеет осевую длину 21, по меньшей мере, равную сумме радиусов скруглений переходов от мелкой резьбы 13 в безрезьбовой участок 17 хвостовика и от безрезьбового участка 17 хвостовика в упорный фланец 6 (= скругление 19).
С фиксирующей шейкой 1 за одно целое выполнен осевой выступ 25, который своим радиально внешним концом 23 на радиальном расстоянии 24 охватывает мелкую резьбу 13 и служит защитой от проворачивания, действующей в положении монтажа относительно стенового элемента или стеновой панели 15.
На двух диаметрально противоположных друг другу периферийных участках конца 26 фиксирующей шейки 1 со стороны закрепления расположены две диаметрально противоположные друг другу, выполненные за одно целое с фиксирующей шейкой 1 изолирующие крышки 27, которые на крепежном конце 26 радиально выступают за фиксирующую шейку 1. Они позиционированы в действующем на корпусе положении монтажа фиксирующей шейки 1 во внутреннем пространстве 28 корпуса. В положении монтажа изолирующие крышки 27 своей плоской протяженностью ориентированы перпендикулярно продольной оси 7 фиксирующей шейки 1. Они имеют такую малую толщину стенок, что прижимаются к внутренним стенкам внутреннего пространства 28 корпуса 2, 3.
В качестве материала фиксирующей шейки 1 применяют механически высокопрочный пластик, такой как полиэфиримид, жидкокристаллический полимер, сополимер тетрафторэтилена и этилена, полифениленсульфид, полиамидимид или полиимид.
Фиксирующая шейка 1 может быть в изображенном на фигурах положении также прилита за одно целое к части корпуса.
Перечень ссылочных позиций:
1 – фиксирующая шейка
2 – чашка корпуса
3 – конец корпуса
4 – конец со стороны корпуса
5 – кольцевой фланец
6 – упорный фланец
7 – продольная ось
8 – кольцевая канавка
9 – полукруглое ребро
11 – свободный конец
12 – осевая протяженность
13 – мелкая резьба
14 – крепежное отверстие.
15 – стеновой элемент
16 – толщина стенки
17 – безрезьбовой участок хвостовика
18 – наружный диаметр
19 – скругление
20 – скругление
21 – осевая длина
22 – скругление между мелкой резьбой 13 и участком 17 хвостовика
23 – радиально внешний конец
24 – радиальное расстояние
25 – осевой выступ
26 – крепежный конец
27 – изолирующая крышка
28 – внутреннее пространство корпуса.
Формула изобретения
1. Электрический функциональный прибор, в частности защитный выключатель, для использования в воздухоплавании, содержащий корпус, из которого выступает в основном цилиндрическая фиксирующая шейка (1), которая на своем обращенном от корпуса свободном конце имеет по своей окружности мелкую резьбу (13) для навинчивания гайки, на своем обращенном к корпусу (3) конце несет радиально выступающий упорный фланец (6) с перпендикулярной продольной оси (7) фиксирующей шейки (1) кольцевой боковой стороной в качестве поверхности прилегания и служит для удержания прибора в фиксированном положении, в котором она проходит сквозь крепежное отверстие (14) или крепежную расточку (14) стенового элемента или панели (15) с возможностью натяжения в нем навинченной гайкой к упорному фланцу (6), отличающийся тем, что фиксирующая шейка (1) соединена с корпусом (3) в виде отдельной изготовленной за одно целое из пластика детали в зоне между ее упорным фланцем (6) и ее концом (4) со стороны корпуса, фиксирующая шейка (1) образована расположенным между ее резьбовым концом и упорным фланцем, (6) коаксиальным продольной оси (7) фиксирующей шейки (1), безрезьбовым участком (17) хвостовика цилиндрической окружной формы, наружный диаметр (18) которого равен внутреннему диаметру примыкающей мелкой резьбы (13), а обращенный к упорному фланцу (6) конец которого скруглением (19), описывающим в сечении приблизительно дугу квадранта, переходит в упорный фланец (6), причем радиус этого скругления (19) совпадает с половиной разности между номинальным диаметром участка мелкой резьбы (13) и наружным диаметром (18) безрезьбового участка (17) хвостовика, причем участок мелкой резьбы (13) без сбега с радиусом скругления (20) своей впадины переходит в безрезьбовой цилиндрический участок (17) хвостовика фиксирующей шейки (1).
2. Прибор по п.1, отличающийся тем, что безрезьбовой участок (17) хвостовика имеет осевую длину (21), по меньшей мере равную сумме радиусов скруглений (22, 19) переходов от участка с мелкой резьбой (13) в безрезьбовой участок (17) хвостовика и от безрезьбового участка (17) хвостовика в упорный фланец (6).
3. Прибор по п.1 или 2, отличающийся тем, что осевой выступ (25), охватывающий своим радиально-внешним концом (23) на радиальном расстоянии (24) мелкую резьбу (13) на ее наружной стороне, выполнен за одно целое с фиксирующей шейкой (1) в виде защиты от проворачивания, действующей в положении монтажа относительно стенового элемента или стеновой панели (15).
4. Прибор по любому из пп.1-3, отличающийся тем, что на двух диаметрально противоположных периферийных участках крепежного конца (26) фиксирующей шейки (1) расположены радиально выступающие за нее и позиционированные в действующем на корпусе положении монтажа фиксирующей шейки (1) во внутреннем пространстве корпуса изолирующие крышки (27), которые выполнены за одно целое с фиксирующей шейкой (1) и своей плоской протяженностью ориентированы перпендикулярно осевому направлению (7) фиксирующей шейки (1).
5. Прибор по любому из пп.1-4, отличающийся тем, что фиксирующая шейка (1) выполнена из механически высокопрочного в широком температурном диапазоне пластика, такого, как полиэфиримид, жидкокристаллический полимер, сополимер тетрафторэтилена и этилена, полифениленсульфид, полиамидимид, полиимид.
6. Прибор по любому из пп.1-5, отличающийся тем, что фиксирующая шейка (1) прилита к части корпуса.
РИСУНКИ
|
|