|
|
(21), (22) Заявка: 2002103558/28, 08.02.2002
(24) Дата начала отсчета срока действия патента:
08.02.2002
(43) Дата публикации заявки: 20.10.2003
(45) Опубликовано: 10.11.2004
(56) Список документов, цитированных в отчете о поиске:
ЕР 1073125 А2, 31.01.2001. US 5419783 A, 30.05.1995. US 6352777 B1, 05.03.2002. RU 2150159 C1, 27.05.2000.
Адрес для переписки:
660036, г.Красноярск, Академгородок, Институт физики им. Л.В. Киренского СО РАН, патентный отдел
|
(72) Автор(ы):
Шестаков Н.П. (RU), Иваненко А.А. (RU), Сысоев А.М. (RU)
(73) Патентообладатель(и):
Институт физики им. Л.В. Киренского СО РАН (RU)
|
(54) ФОТОПРИЕМНИК
(57) Реферат:
Фотоприемник для измерения пространственно-временного распределения амплитуд и фаз интерференционного поля, проходящих через фотоприемник встречных световых потоков, содержит интерференционно-чувствительный фотоэлектрический слой, подложку и подводящие электроды. Фотоэлектрический слой выполнен в виде элемента, который вписывается в сферу диаметром меньше min/2n, где min – минимальная длина волны рабочего диапазона фотоприемника; n – показатель преломления фотоэлектрического элемента. Технический результат -получение сигнала, зависящего от пространственного положения фотоприемника относительно интерференционного поля, образованного световыми потоками с произвольной формой волнового фронта в широком диапазоне угловых отклонений фотоприемника. 2 ил.

Изобретение относится к оптоэлектронике, голографии, интерферометрии, спектроскопии Фурье и предназначено для электронного измерения пространственно-временного распределения амплитуд и фаз световых волн.
Известны фотоприемники на основе внешнего и внутреннего фотоэффекта. Вакуумные фотоэлементы, фотоумножители, фотодиоды, фотосопротивления, пироэлектрические фотоприемники. Аксененко М.Д., Бараночников М.Л. Приемники оптического излучения. Справочник. – М.: Радио и связь, 1987. – 296 с.
Однако известные фотоприемники обладают следующими недостатками: не пропускают совсем либо пропускают световые потоки со значительным ослаблением интенсивности. Поэтому они не позволяют производить измерение суммарной интенсивности световых потоков, распространяющихся в противоположных направлениях, с учетом их пространственно-временных фаз.
Это устройство является прототипом изобретения.
Однако этот фотоприемник имеет малый рабочий диапазон угловых отклонений плоских волновых фронтов регистрируемых световых потоков от плоскости фотоэлектрического слоя. Кроме того, он предназначен для регистрации интерференционного поля, образованного световыми потоками, имеющими только плоский волновой фронт.
Техническим результатом изобретения является получение сигнала, зависящего от пространственного положения фотоприемника относительно интерференционного поля, образованного световыми потоками с произвольной формой волнового фронта в широком диапазоне угловых отклонений фотоприемника.
Технический результат достигается тем, что фотоприемник для измерения пространственно-временного распределения амплитуд и фаз интерференционного поля, проходящих через фотоприемник встречных световых потоков, содержащий интерференционно-чувствительный фотоэлектрический слой, подложку и подводящие электроды, отличающийся тем, что фотоэлектрический слой выполнен в виде элемента, который вписывается в сферу диаметром меньше min/2n, где min – минимальная длина волны рабочего диапазона фотоприемника;
n – показатель преломления фотоэлектрического элемента.
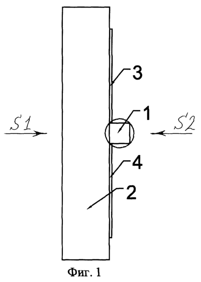
Изобретение поясняется чертежами, где на фиг.1 представлена схема фотоприемника. На фиг.2 изображена схема формирования сигнала в фоточувствительном элементе фотоприемника в результате взаимодействия встречных монохроматических световых потоков.
Фотоприемник (фиг.1) содержит фотоэлектрический элемент 1, подложку 2 и подводящие электроды 3, 4. Фотоэлектрический элемент вписывается в сферу диаметром меньше min/2n.
Фотоприемник работает следующим обазом. Фотоэлектрический элемент 1 (фиг.2) находится в интерференционном поле 5, образованном встречными световыми потоками S1 и S2 монохроматического излучения. Линии равной интенсивности имеют равную яркость на чертеже. Интерференционная картина определяется формой волновых фронтов S1, S2 и имеет период /2. Отклик фотоэлектрического элемента пропорционален среднему значению интенсивности интерференционного поля в пределах этого элемента. Поскольку все размеры фотоэлектрического элемента меньше min/2n, его отклик будет зависеть от положения фотоприемника относительно интерфереционного поля и не зависеть от его угловых ориентаций. Кроме того, при размерах, меньших min/2n, фотоэлектрический элемент не искажает интерференционное поле. Искажения волнового фронта, вызванные подложкой, не приводят к пропаданию или ослаблению интерференционного сигнала фотоприемника.
Современные технологии позволяют создать фоточувствительный электрический элемент необходимых размеров, например, в виде р-n перехода на подложке, прозрачной в рабочем диапазоне длин волн.
Применение фотоприемника в качестве элемента двухмерной или трехмерной матрицы позволяет производить электронную запись голографического изображения в реальном масштабе времени, производить селективное по длине волны выделение оптического сигнала. При сложении сигналов элементов матрицы с нужными коэффициентами реализуется фильтр с заданной спектральной характеристикой.
Формула изобретения
Фотоприемник для измерения пространственно-временного распределения амплитуд и фаз интерференционного поля, проходящих через фотоприемник встречных световых потоков, содержащий интерференционно-чувствительный фотоэлектрический слой, подложку и подводящие электроды, отличающийся тем, что фотоэлектрический слой выполнен в виде элемента, который вписывается в сферу диаметром меньше min/2n, где min – минимальная длина волны рабочего диапазона фотоприемника; n – показатель преломления фотоэлектрического элемента.
РИСУНКИ
|
|