|
(21), (22) Заявка: 2003119851/06, 30.06.2003
(24) Дата начала отсчета срока действия патента:
30.06.2003
(45) Опубликовано: 10.11.2004
(56) Список документов, цитированных в отчете о поиске:
RU 2095667 С1, 10.11.1997. RU 2189648 С1, 20.09.2002. GB 2203980 A, 02.11.1988. US 2003/0010938 А, 16.01.2003. FR 2435642 A3, 04.04.1980.
Адрес для переписки:
454091, г.Челябинск, ул. Труда, 157, каб.28-4, Патентный отдел Челябинского ЦНТИ, пат.пов. Н.К.Скрипкиной
|
(72) Автор(ы):
Орешкин В.В. (RU), Волошин С.В. (RU)
(73) Патентообладатель(и):
Орешкин Владимир Васильевич (RU), Волошин Сергей Владимирович (RU)
|
(54) КОНТЕЙНЕР ДЛЯ ТРАНСПОРТИРОВАНИЯ ОТРАБОТАВШЕГО ЯДЕРНОГО ТОПЛИВА
(57) Реферат:
Изобретение относится к области хранения и транспортировки отработавшего ядерного топлива. Сущность изобретения: контейнер для транспортировки отработавшего ядерного топлива содержит корпус, пенал для тепловыделяющих сборок, уплотнительную прокладку, внешнюю крышку, внутреннюю крышку, средства крепления крышки, упругий элемент. При этом внутренняя крышка подвижно установлена в центральном отверстии внешней крышки и поджимается поясом к уплотнительной прокладке с помощью тарельчатой пружины, опирающейся на внутреннюю поверхность внешней крышки. В пространстве между крышками и пружиной установлена диафрагма. Пенал для тепловыделяющих сборок касается торца штока, подвижно установленного в отверстии внутренней крышки и опирающегося на внутреннюю поверхность внешней крышки через вторую тарельчатую пружину. Преимущество изобретения заключается в повышении надежности герметизации. 2 ил.

Изобретение относится к ядерной энергетике и может быть использовано для доставки отработавшего ядерного топлива с электростанций в место его хранения.
Известен контейнер по а.с. СССР №1362337, G 21 F 5/00, опубл. 04.06.85 г., “Контейнер”, предназначенный для транспортирования радиоактивных, токсичных, легковоспламеняющихся продуктов в различных отраслях промышленности. Контейнер содержит корпус, в котором с возможностью вертикального перемещения расположены основание, колпак, соединенный с корпусом через байонетный механизм, уплотнение между колпаком и основанием, подпружиненную мембрану между корпусом и основанием, и перепускной и распределительные клапаны.
По известному изобретению герметизация контейнера осуществляется за счет воздействия тарельчатой пружины, которая прижимает основание, нагруженное перевозимыми предметами, к колпаку через уплотнение.
Недостатком известного контейнера является возможность его разгерметизации при сильной тряске, падении или резком опускании на какую-либо твердую поверхность. При этом динамические нагрузки, создаваемые перевозимыми предметами, воздействуют на основание контейнера и соответственно на тарельчатую пружину, сжимая ее. Это приводит к ослаблению силы прижима основания к колпаку, что может вызвать разгерметизацию контейнера.
Известен контейнер для транспортирования отработавшего ядерного топлива по а.с. СССР №1116888, G 21 F 5/00, опубл. 07.01.83 г., “Уплотнение транспортного контейнера”. Контейнер содержит корпус, крышку. Уплотнение между ними достигается установкой гибкой кольцевой металлической пластины, один край которой герметично соединен с крышкой контейнера при помощи кольцевой прокладки, нагрузочного кольца и крепящих элементов, а другой – герметично соединен с корпусом контейнера посредством кольцевой прокладки, нагрузочного кольца и комплекта тарельчатых пружин, причем кольцевые прокладки, нагрузочные кольца и крепящие элементы выполнены металлическими.
Недостатками известного контейнера являются:
– возможность разгерметизации контейнера при случайном или несанкционированном применении кольцевых прокладок с толщиной менее регламентированной, или выполнении глубин пазов под прокладки более регламентированных, а в случае выполнения кольцевых прокладок из мягкого металла при установке прокладок, бывших в употреблении;
– низкая точность расчета суммарной реакции комплекта тарельчатых пружин, необходимой для уплотнения площади контакта корпуса и гибкой кольцевой металлической пластины, из-за разброса линейных параметров отдельных пружин в пределах допускаемых отклонений;
– отсутствие в конструкции контейнера элементов, демпфирующих нагрузку на крышку контейнера, возникающую при ударе о нее пенала с отработавшим ядерным топливом в случае падения контейнера или резкого торможения транспорта.
Известен контейнер по патенту RU 2095667, F 16 J 15/02, опубл. 10.11.97 г, “Уплотнительный узел преимущественно контейнера для транспортировки и/или хранения отработавшего ядерного топлива”, выбранный заявителем в качестве прототипа.
Контейнер содержит корпус, внутренняя полость которого перекрыта двумя крышками: внешней и внутренней, расположенными одна над другой на едином основании корпуса. Крышки образуют с корпусом контейнера два концентричных герметизирующих пояса. Во внешней крышке имеется цилиндрическая расточка с ограничительным буртом. На внутренней стороне крышки закреплен упругодеформируемый диск. На той же стороне крышки выполнен кольцевой упор, ограничивающий прогиб края упругодеформируемого диска. На торцевой поверхности диска выполнена проточка, поверхности которой контактируют с кольцевой прокладкой. Прокладка установлена в проточке корпуса. К корпусу крышка крепится с помощью шпилек с гайками. При установленной прокладке и незатянутых гайках между крышкой и корпусом имеется расчетный зазор, которому равен и зазор между упругодеформируемым диском и кольцевым упором крышки.
Герметизация внешней крышки и корпуса достигается путем закручивания гаек на шпильках. При этом происходит упругий прогиб края диска. При величине его прогиба, близкой к предельному значению, ограниченному кольцевым упором крышки, величина усилия прижима крышки к прокладке достигает величины усилия пластического деформирования материала прокладки, что обеспечивает уплотнение соединения внешней крышки и корпуса контейнера.
После пластического сжатия прокладки ограничительный бурт крышки замыкается на корпус контейнера.
В случае падения контейнера при транспортировке и нарушения плотности прилегания внешней крышки к корпусу контейнера под воздействием упругой силы диска происходит дополнительное пластическое деформирование материала прокладки.
Недостатками известного контейнера являются:
– отсутствие в конструкции элементов, демпфирующих нагрузку на внутреннюю крышку, возникающую при ударе о нее пенала с отработавшим ядерным топливом в случае падения контейнера или резкого торможения транспорта, что может привести к разуплотнению соединения крышки и корпуса и попаданию радиоактивных элементов в пространство между крышками;
– невозможность создания тарированного упругого усилия диска, так как это усилие достигается за счет ликвидации расчетного зазора между внешней крышкой и корпусом, практическая величина которого в любой партии контейнеров будет колебаться в зависимости от точности исполнения линейных размеров крышки, диска, прокладки, проточки в корпусе под прокладку, что может привести к разгерметизации части контейнеров и к загрязнению радиоактивными элементами окружающей среды.
Техническим результатом предлагаемого изобретения является устранение указанных недостатков, а именно повышение надежности герметизации контейнера для транспортирования отработавшего ядерного топлива, в том числе и в экстремальных ситуациях.
Технический результат достигается тем, что в контейнере для транспортирования отработавшего ядерного топлива, содержащем корпус, пенал для тепловыделяющих сборок, уплотнительную прокладку, внешнюю крышку, внутреннюю крышку, средства крепления крышки, упругий элемент, согласно изобретению, внутренняя крышка подвижно установлена в центральном отверстии внешней крышки и поджимается поясом к уплотнительной прокладке с помощью тарельчатой пружины, опирающейся на внутреннюю поверхность внешней крышки, в пространстве между крышками и пружиной установлена диафрагма, пенал для тепловыделяющих сборок касается торца штока, подвижно установленного в отверстии внутренней крышки и опирающегося на внутреннюю поверхность внешней крышки через вторую тарельчатую пружину.
Подвижная установка внутренней крышки в центральном отверстии внешней крышки создает возможность гарантированного воздействия ее пояса на уплотнительную прокладку независимо от толщины последней и степени затяжки средств крепления внешней крышки.
Поджатие внутренней крышки к уплотнительной прокладке с помощью тарельчатой пружины, опирающейся на внутреннюю поверхность внешней крышки, позволяет воздействовать на внутреннюю крышку тарированным усилием, а при возникновении зазора между внешней крышкой и корпусом контейнера – продолжать осуществлять герметизацию контейнера за счет предварительного сжатия пружины.
Установка в пространстве между крышками и тарельчатой пружиной диафрагмы обеспечивает герметизацию внутренней полости контейнера относительно внешнего пространства.
Касание пенала для тепловыделяющих сборок торца штока, подвижно установленного в отверстии внутренней крышки и опирающегося на внутреннюю поверхность внешней крышки через вторую тарельчатую пружину обеспечивает смягчение резких усилий, действующих на наружную крышку и возникающих при ударе пенала об шток в случае падения контейнера или резком торможении транспорта.
Это позволяет предотвратить растяжение резьб средств крепления внешней крышки, что увеличивает надежность герметизации контейнера.
Сущность заявленного технического решения поясняется чертежами.
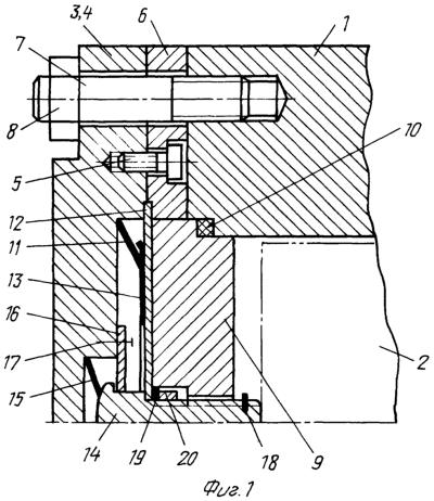
На фиг.1 изображен контейнер для транспортирования отработавшего ядерного топлива с диафрагмой, выполненной из резины, и применяемый при транспортировании тепловыделяющих сборок, температура которых не превышает 70°С.
На фиг.2 изображен вариант выполнения диафрагмы из металла. Контейнер с металлической диафрагмой применяется при транспортировании тепловыделяющих сборок, температура которых выше 70°С.
Контейнер содержит корпус 1, внутри которого размещен пенал 2 для тепловыделяющих сборок, внешнюю крышку 3, состоящую из корпуса 4 и прикрепленного к нему винтами 5 фланца 6. Крышка 3 прикреплена к корпусу 1 шпильками 7 и гайками 8. В центральном отверстии внешней крышки 3 подвижно установлена внутренняя крышка 9, перекрывающая полость корпуса 1 контейнера. Зазоры между поверхностями корпуса 1 и внутренней крышкой 9 уплотнены прокладкой 10. Крышка 9 поджимается к прокладке 10 тарельчатой пружиной 11 через диафрагму 12 и дисковое кольцо 13 в случае выполнения диафрагмы 12 из резины. Наружный край резиновой диафрагмы 12 зажат в проточках корпуса 4 и фланца 6 внешней крышки 3. В отверстии внутренней крышки 9 подвижно установлен шток 14, контактирующий одним торцом с пеналом 2, а другим торцом – с тарельчатой пружиной 15. Максимальный ход штока 14 в сторону пенала 2 ограничен фланцем 16, прикрепленным к крышке винтами 17. На хвостовике штока 14 установлено стопорное кольцо 18 для внутренней крышки 9. Внутренний край резиновой диафрагмы 12 уплотнен прокладкой 19 и гайкой 20.
Металлическая диафрагма 21 имеет кольцевые зиги 22. Наружный край диафрагмы 21 уплотнен прикладками 23 из мягкого металла, зажатыми в проточках корпуса 4 и фланца 6 внешней крышки 3. Внутренний край диафрагмы 21 уплотнен прокладками 24 из мягкого металла и гайкой 20.
Герметизация контейнера осуществляется следующим образом.
Корпус 1 контейнера устанавливается в вертикальное положение. Затем в него загружается пенал 2 с тепловыделяющими сборками и устанавливается уплотнительная прокладка 10. Далее комплект, состоящий из собранных в единый узел внешней крышки 3, внутренней крышки 9, штока 14, тарельчатых пружин 11 и 15, диафрагм 12 или 19 и остальных деталей, опускают на торец корпуса 1, в который заранее ввернуты шпильки 7. Затем производят затяжку гаек до полного смыкания торцов корпуса 1 и наружной крышки 3. При этом тарельчатая пружина 11 сжимается на заданную величину. Реактивная сила сжатой пружины обеспечивает плотное прижатие пояса внутренней крышки 9 к уплотнительной прокладке 10.
В случае образования зазора между торцами корпуса 1 и наружной крышкой 3 тарельчатая пружина 11 продолжает надежно прижимать внутреннюю крышку 9 к уплотнительной прокладке 10. При ударе пенала 2 о торец штока 14, например при резком торможении транспорта, шток 14 сжимает тарельчатую пружину 15, смягчая тем самым ударную нагрузку на внешнюю крышку и резьбы соединительных элементов, что так же повышает надежность герметизации контейнера.
Конструкция заявленного контейнера для транспортирования отработавшего ядерного топлива обеспечивает поджатие пояса внутренней крышки к уплотнительной прокладке тарированным усилием, воздействующим на прокладку даже при образовании зазора между торцами внешней крышки и корпуса. Заявленный контейнер обеспечивает экологическую безопасность перевозок отработавшего ядерного топлива с атомных электростанций в место хранения.
Формула изобретения
Контейнер для транспортировки отработавшего ядерного топлива, содержащий корпус, пенал для тепловыделяющих сборок, уплотнительную прокладку, внешнюю крышку, внутреннюю крышку, средства крепления крышки, упругий элемент, отличающийся тем, что внутренняя крышка подвижно установлена в центральном отверстии внешней крышки и поджимается поясом к уплотнительной прокладке с помощью тарельчатой пружины, опирающейся на внутреннюю поверхность внешней крышки, в пространстве между крышками и пружиной установлена диафрагма, пенал для тепловыделяющих сборок касается торца штока, подвижно установленного в отверстии внутренней крышки и опирающегося на внутреннюю поверхность внешней крышки через вторую тарельчатую пружину.
РИСУНКИ
MM4A – Досрочное прекращение действия патента СССР или патента Российской Федерации на изобретение из-за неуплаты в установленный срок пошлины за поддержание патента в силе
Дата прекращения действия патента: 01.07.2008
Извещение опубликовано: 20.08.2009 БИ: 23/2009
RH4A – Выдача дубликата патента Российской Федерации на изобретение
Дата выдачи дубликата: 20.07.2009
Наименование лица, которому выдан дубликат:
Орешкин Владимир Васильевич (RU)
Наименование лица, которому выдан дубликат:
Волошин Сергей Владимирович (RU)
Извещение опубликовано: 10.09.2009 БИ: 25/2009
NF4A Восстановление действия патента СССР или патента Российской Федерации на изобретение
Дата, с которой действие патента восстановлено: 10.12.2009
Извещение опубликовано: 10.12.2009 БИ: 34/2009
|