|
|
(21), (22) Заявка: 2000111036/12, 03.05.2000
(24) Дата начала отсчета срока действия патента:
03.05.2000
(43) Дата публикации заявки: 20.09.2002
(45) Опубликовано: 10.11.2004
(56) Список документов, цитированных в отчете о поиске:
RU 2023126 C1, 15.11.1994. RU 13230 U1, 27.03.2000. ЕР 391929 A3, 19.09.1989. ЕР 351183 A3, 17.01.1990.
Адрес для переписки:
456770, Челябинская обл., г. Снежинск, ул. Васильева, 13, а/я 245, отдел интеллектуальной собственности, Г.В.Бакалову
|
(72) Автор(ы):
Подгорнов В.А. (RU)
(73) Патентообладатель(и):
Российский федеральный ядерный центр – Всероссийский научно-исследовательский институт технической физики им. акад. Е.И. Забабахина (RU)
|
(54) СПОСОБ ОПРЕДЕЛЕНИЯ ПОДЛИННОСТИ КЛЮЧА ЗАМКОВОГО УСТРОЙСТВА
(57) Реферат:
Изобретение относится к области оптических средств идентификации объектов и касается способа определения подлинности ключа замкового устройства, заключающегося в обеспечении заданного месторасположения ключа, в его освещении для получения изображения идентификационного элемента ключа и обработке полученной информации, при этом ключ в процессе применения перемещают заданным образом, а в качестве идентификационного элемента используют участок его тела, характеризуемый случайно распределенными неоднородностями, при этом изображение идентификационного элемента ключа получают при последовательной регистрации зондирующего оптического излучения, сфокусированного на идентификационный элемент и испытавшего воздействие оптических неоднородностей, присутствующих в освещаемой в данный момент времени точке идентификационного элемента. Данный способ позволяет удешевить и упростить процесс изготовления ключей. 2 з.п. ф-лы, 2 ил.

Изобретение относится к кодовым устройствам запирающих механизмов, а более конкретно к оптическим средствам аутентификации ключей замковых устройств, используемых для обеспечения санкционированного доступа к охраняемым объектам.
Известен способ определения подлинности ключа, реализованный в оптической замковой системе, препятствующей кражам (патент ЕПВ №0351183, МПК Е 05 В 49/00, G 02 B 27/14, опубл. 17.01.90), согласно которому на ключ от источника света подают луч света, с помощью встроенного в ключ устройства расщепляют его на множество световых лучей и направляют их прецизионным образом на определенные фотодатчики, совокупность которых формирует сигнал, определяющий подлинность ключа. Указанный сигнал может быть использован для механического и электрического открывания замкового устройства.
Недостатком такого способа является сложность выполнения ключа.
Известен способ определения подлинности ключа, реализованный в охранной системе (патент ЕПВ №0391929, МПК Е 05 В 49/00, опубл. 17.10.90), в соответствии с которым анализируется форма ключа и вырезы, выполненные в нем, обеспечивающие кодирование яркости светового потока, направленного на ключ.
Однако такой способ также требует особого выполнения ключа, вероятность воспроизведения которого достаточно велика.
В качестве прототипа выбран способ определения подлинности ключа, реализованный в запорном предохранительном устройстве (патент РФ №2023126, МПК Е 05 В 49/00, опубл. 15.11.94), в соответствии с которым обеспечивают заданное месторасположение ключа, например, путем ввода его в замочную скважину, освещают для получения изображения идентификационного элемента ключа, выполненного в виде нанесенной на него объемной кодовой голограммы, и обрабатывают полученную информацию.
Недостаток в сложности выполнения самого идентификационного элемента, что ведет к увеличению стоимости изготовления ключа. К тому же воспроизведение объемной кодовой голограммы хотя и требует специального дорогостоящего оборудования, также не относится к невыполнимым задачам.
Настоящее изобретение направлено на упрощение и удешевление изготовления ключа и на обеспечение невозможности воспроизведения его идентификационного элемента.
Поставленная задача решается тем, что в способе определения подлинности ключа замкового устройства, заключающемся в обеспечении заданного месторасположения ключа, в его освещении для получения изображения идентификационного элемента ключа и обработке полученной информации, согласно изобретению, ключ в процессе применения перемещают заданным образом, а в качестве идентификационного элемента используют участок его тела, характеризуемый случайно распределенными неоднородностями, при этом изображение идентификационного элемента получают при последовательной регистрации зондирующего оптического излучения, сфокусированного на идентификационный элемент и испытавшего воздействие оптических неоднородностей, присутствующих в освещенной в данный момент времени точке идентификационного элемента.
Технический результат данного технического решения заключается в следующем.
Для создания идентификационного элемента ключа не требуется никаких дополнительных действий, поскольку уникальность его изображения обеспечивается случайными неоднородностями структуры материала, из которого изготовлен ключ, и которая является неповторимой для каждой заготовки. Воспроизвести полностью подобную структуру практически невозможно. В то же время регистрацию идентификационного элемента для целей идентификации (а точнее аутентификации ключа) осуществляют последовательно точка за точкой, что позволяет отказаться от многоэлементного фотодетектора и ограничиться существенно меньшим количеством элементов фотодетектора (несколько единиц). По сути дела, осуществляется прецизионное сканирование тела движущегося объекта относительно неподвижных источника и приемника излучения и регистрация яркостных характеристик нескольких световых лучей, принимаемых под определенными углами.
В качестве идентификационного элемента ключа может быть использован участок его поверхности, при этом изображение идентификационного элемента ключа получают в зондирующем оптическом излучении, отраженном от оптических неоднородностей идентификационного элемента.
В другом варианте в качестве идентификационного элемента может быть использован участок внутренней структуры светопрозрачного тела ключа, при этом изображение идентификационного элемента ключа получают в зондирующем оптическом излучении, рассеянном оптическими неоднородностями идентификационного элемента.
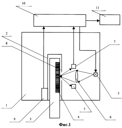
На фиг.1 схематически показан вариант устройства, реализующего способ определения подлинности ключа замкового устройства в отраженном оптическом зондирующем излучении; на фиг.2 – аналогичный вариант в проходящем оптическом зондирующем излучении.
Устройство содержит корпус 1, в котором выполнен канал 2 для ввода ключа 3. В варианте, приведенном на фиг.1, участок поверхности ключа, характеризуемый случайно распределенными неоднородностями естественного или искусственного происхождения, выполняет функцию идентификационного элемента 4. В варианте, приведенном на фиг.2, функцию идентификационного элемента 4 выполняет участок внутренней структуры ключа, имеющий случайные включения, дефекты и прочее, при этом тело ключа выполнено из материала, прозрачного для оптического зондирующего излучения, внутренняя структура которого характеризуется случайно распределенными неоднородностями. Канал 2 для ввода ключа может быть выполнен в форме замочной скважины. В корпусе 1 находится оптическая система, состоящая из источника света – светодиода 5, линзы 6 и фотодиодов 7. В зависимости от требований, предъявляемых к параметрам устройства, количество фотодиодов может составлять от 2 до 4. В варианте, приведенном на фиг.1, все элементы оптической системы расположены с одной стороны ключа для приема лучей, отраженных от неоднородностей идентификационного элемента 4. В варианте, приведенном на фиг.2, светодиод 5 с линзой 6 расположены с одной из сторон ключа, а фотодиоды 7 – с другой, что обеспечивает прием проходящего оптического излучения, рассеянного на неоднородностях внутреннего идентификационного элемента 4. В скважине выполнено необходимое количество отверстий 8 для обеспечения доступа зондирующего оптического излучения к телу ключа 3 и выхода отраженного или рассеянного излучения к фотодиодам 7. В корпусе 1 установлен также датчик 9 перемещения ключа 3. Такой датчик может быть выполнен в виде простейшего преобразователя перемещения ключа в последовательность импульсов, и содержать, например, разомкнутую оптоэлектронную пару, установленную по ходу перфорированной стенки ключа. Устройство содержит также схему 10 управления, которая обеспечивает синхронизацию работы элементов и узлов устройства, регистрацию и обработку выходных сигналов фотодиодов, преобразуя их в сигнал управления исполнительным устройством 11.
Способ реализуется следующим образом.
Выполняют ключ 3 из подходящего материала в зависимости от способа получения изображения идентификационного элемента, реализованного в устройстве. Если получение изображения осуществляют в отраженном излучении, используют заготовку подходящей формы из металла, на одну из сторон которого наносят простейшую перфорацию для управления датчиком положения ключа. Участок поверхности заготовки, который будет использоваться в качестве информационного элемента, уже сам по себе отличается неповторимым рельефом в виде микронеровностей, шероховатостей, выразительность которых может быть усилена нанесением дополнительных микроцарапин, распределение которых носит случайный характер. Ключ может быть защищен от случайных воздействий, нарушающих наружный рельеф, светопрозрачным футляром или обычным, сдвигаемым при вводе ключа в скважину.
При получении изображения идентификационного элемента ключа в проходящем оптическом излучении ключ простой формы изготавливают из материала, прозрачного для оптического зондирующего излучения, структура которого отличается внутренними включениями, неоднородностями, имеющими случайный характер, не поддающийся воспроизведению. Единственная доработка – выполнение перфорации для управления работой датчика положения ключа.
Вначале получают изображение идентификационного элемента ключа, служащее эталонным.
Ключ 3 вставляют в скважину 2 корпуса 1. Форма и геометрия скважины 2 обеспечивают единообразное положение ключа 3 в процессе его перемещения внутри скважины относительно датчика 9 перемещения ключа. Ключ 3 последовательно проходит ряд дискретных положений, задаваемых перфорацией, выполненной на его стенке, фиксируемых поочередно датчиком 9. В каждом из таких положений по сигналу с выхода схемы 10 управления включается питание светодиода 5 и фотодиодов 7. Линза 6 через отверстие 8 обеспечивает сведение лучей от светодиода 5 в точку идентификационного элемента 4 ключа, которая в данный момент находится в фокусе освещающего светового потока, а фотодиоды 7 регистрируют яркость сигналов, отраженных или рассеянных данным точечным участком элемента 4. В зависимости от шероховатости, микронеровностей или дефектов освещаемого в данный момент участка поверхности или участка внутренней структуры тела ключа 2 яркость принимаемых фотодиодами 7 сигналов будет меняться от одного дискретного положения к другому. Наличие нескольких фотодиодов 7 позволяет более точно произвести считывание яркостной информации, характеризующей конкретную точку идентификационного участка 4. Сигналы с выходов фотодиодов 7 поступают в соответствующие узлы схемы 10, где преобразуются в цифровой код, который заносится в ячейки памяти этой же схемы. В результате, когда ключ 3 достигнет своего конечного положения, в узле схемы 10 управления, отвечающем за регистрацию изображения идентификационного элемента ключа, будет записан набор цифровых кодов, соответствующих отдельным точкам поверхности ключа, который и будет представлять собой указанное изображение, соответствующее уникальному оптическому образу такого ключа. В дальнейшем этот набор будет использоваться для сравнения с аналогичным набором, полученным аналогичным образом, в процессе использования ключа его владельцем. При наличии совпадения кодов схема 10 выработает сигнал, подаваемый на исполнительное устройство 11.
Таким образом, предлагаемый способ позволит реализовать замковое устройство с ключом, который практически не поддается воспроизведению, поскольку его идентификационный элемент основан на случайном характере распределения микронеоднородностей в структуре материала и обеспечивает формирование уникального оптического изображения. Одновременно ключ прост в изготовлении. Достаточно простым является и устройство, обеспечивающее получение и обработку такого изображения.
Формула изобретения
1. Способ определения подлинности ключа замкового устройства, заключающийся в обеспечении заданного месторасположения ключа, в его освещении для получения изображения идентификационного элемента ключа и обработке полученной информации, отличающийся тем, что ключ в процессе применения перемещают заданным образом, а в качестве идентификационного элемента используют участок его тела, характеризуемый случайно распределенными неоднородностями, при этом изображение идентификационного элемента ключа получают при последовательной регистрации зондирующего оптического излучения, сфокусированного на идентификационный элемент и испытавшего воздействие оптических неоднородностей, присутствующих в освещаемой в данный момент времени точке идентификационного элемента.
2. Способ определения подлинности ключа замкового устройства по п.1, отличающийся тем, что в качестве идентификационного элемента используют участок его поверхности, при этом изображение идентификационного элемента ключа получают в зондирующем оптическом излучении, отраженном от оптических неоднородностей идентификационного элемента.
3. Способ определения подлинности ключа замкового устройства по п.1, отличающийся тем, что в качестве идентификационного элемента используют участок внутренней структуры тела ключа, прозрачного для оптического зондирующего излучения, при этом изображение идентификационного элемента получают в зондирующем оптическом излучении, рассеянном оптическими неоднородностями идентификационного элемента.
РИСУНКИ
|
|