|
|
(21), (22) Заявка: 2000107970/12, 30.03.2000
(24) Дата начала отсчета срока действия патента:
30.03.2000
(45) Опубликовано: 10.11.2004
(56) Список документов, цитированных в отчете о поиске:
RU 8147 U1, 16.10.1998. RU 2124234 C1, 27.12.1998. ЕР 0147328 А2, 03.07.1985. RU 2071114 C1, 27.12.1996. RU 2117989 C1, 20.08.1998. EP 0115462 А2, 08.08.1984.
Адрес для переписки:
456770, Челябинская обл., г. Снежинск, ул. Васильева, 13, а/я 245, отдел интеллектуальной собственности, Г.В.Бакалову
|
(72) Автор(ы):
Подгорнов В.А. (RU), Крыванов А.В. (RU)
(73) Патентообладатель(и):
Российский федеральный ядерный центр – Всероссийский научно-исследовательский институт технической физики им. акад. Е.И. Забабахина (RU)
|
(54) ОПТИЧЕСКАЯ ТРОСОВАЯ ПЛОМБА
(57) Реферат:
Изобретение относится к области скобяных изделий и касается оптической пломбы, содержащей чашку с утопленным в нее вкладышем из светопрозрачного материала, образующие корпус, внутри которого зафиксированы концы связующего тела, связанного с охраняемым объектом, и, по меньшей мере, один информационный элемент, причем в корпусе выполнены элементы для единообразной установки автоматизированного устройства считывания оптического образа информационного элемента. Внутреннее дно чашки выполнено со сквозными каналами для пропускания через них концов связующего тела и снабжено элементами жесткого фиксирования связующего тела в этих каналах, при этом чашка и вкладыш зафиксированы относительно друг друга с невозможностью их разъединения без необратимой деформации или разрушения, по меньшей мере, одной из указанных деталей, а информационными элементами, оптические образы которых считывается раздельно, служат участок внутренней поверхности вкладыша и один из участков поверхности чашки, защищенный от внешнего воздействия и доступный для оптического зондирующего излучения. Данная пломба имеет повышенные потребительские качества. 8 з.п. ф-лы, 8 ил.

Изобретение относится к средствам для контроля целостности охраняемых объектов и может быть использовано в качестве тросовой пломбы, у которой навесной элемент, обладая повышенной прочностью, сам по себе служит препятствием для доступа к охраняемому объекту.
Традиционная конструкция пломбы содержит навесной элемент, как правило, гибкий шнур или трос, протянутый через специальные проушины в охраняемом объекте, корпус из пластичного металла, в котором при установке пломбы образуется закрытая камера для размещения узла навесного элемента, и информационный элемент для идентификации установщика пломбы в виде клейма, выдавленного пломбиром при обжатии концов корпуса (см., например, авторское свидетельство СССР №1418805 “Пломба”, МПК G 09 F 3/03, публ. 1988).
Однако такие конструкции не исключают возможности восстановления идентификационного клейма при подделке пломбы злоумышленником, если последний завладевает соответствующим пломбиром.
Известны различные конструкции оптических пломб, основным отличием которых от других устройств аналогичного назначения является формирование в процессе установки пломбы уникального оптического образа информационного элемента, считываемого и анализируемого автоматическим устройством и необратимо разрушаемого при попытке скрытого снятия или повреждения пломбы.
В частности, известна оптическая пломба, содержащая связующее тело (или, другими словами, навесной элемент), корпус со светопрозрачными участками и информационный элемент, в качестве которого служит участок связующего тела, деформированный случайным образом при установке пломбы и жестко зафиксированный между двумя светопрозрачными участками корпуса. Таким информационным элементом может служить произвольная скрутка концов связующего тела, которое, в свою очередь, представляет собой шнур из нитей или лентообразных материалов или жгут из одножильных или многожильных проводов (патент РФ №2124234 “Оптическая пломба и способ контроля ее целостности”, МПК G 09 F 3/03, публ. 1998).
Жесткая фиксация скрутки между двумя светопрозрачными деталями обеспечивает неизменность ее состояния в процессе эксплуатации, что позволяет выявить факт попытки вскрытия пломбы (нарушение целостности скрутки или ее замену на другую) при анализе оптического изображения информационного элемента пломбы автоматическим устройством. Если вмешательство не имело места, то оптический образ информационного элемента пломбы, регистрируемый в процессе контроля, должен быть полностью идентичен эталонному оптическому образу, зарегистрированному в процессе установки пломбы.
Регистрация оптического образа информационного элемента пломбы в такой конструкции осуществляется в проходящем зондирующем излучении оптического диапазона.
За прототип выбрана оптическая пломба, содержащая чашку с утопленным в нее вкладышем из светопрозрачного материала, образующие корпус, внутри которого зафиксированы концы связующего тела, связанного с охраняемым объектом, и, по меньшей мере, один информационный элемент, причем в корпусе выполнены элементы для единообразной установки автоматизированного устройства считывания оптического образа информационного элемента.
Указанные участки концов связующего тела, скрученные между собой и деформированные случайным образом при установке пломбы, жестко зафиксированы между деталями корпуса и обладают светоотражающими свойствами. Они и служат информационным элементом пломбы, уникальный оптический образ которого считывается через светопрозрачный участок корпуса в отраженном зондирующем излучении (свидетельство РФ на полезную модель №8147 “Оптическая пломба”, МПК G 09 F 3/03, публ. 1998).
Однако когда в качестве связующего тела по условиям эксплуатации приходится использовать жесткое связующее тело, например трос или пластиковый кабель, возникает ряд проблем. С одной стороны, это проблема фиксации деформированных и скрученных участков жесткого связующего тела между относительно хрупкими деталями корпуса пломбы. С другой стороны, это определенные требования, предъявляемые к материалу связующего тела, направленные на усиление оптического контраста при регистрации отраженного от связующего тела оптического излучения, которые не всегда выполнимы.
Задача заключается в создании такой конструкции оптической пломбы, в которой наряду со снижением требований; предъявляемых как к надежной фиксации участков связующего тела, так и к самому связующему телу, сохраняется высокая достоверность идентификации подлинности пломбы.
Настоящая задача решается тем, что в оптической пломбе, содержащей чашку с утопленным в нее вкладышем из светопрозрачного материала, образующие корпус, внутри которого зафиксированы концы связующего тела, связанного с охраняемым объектом, и, по меньшей мере, один информационный элемент, причем в корпусе выполнены элементы для единообразной установки автоматического устройства считывания оптического образа информационного элемента, согласно изобретению внутреннее дно чашки выполнено со сквозными каналами для пропускания через них концов связующего тела и снабжено элементами жесткого фиксирования связующего тела в этих каналах, при этом чашка и вкладыш зафиксированы относительно друг друга с невозможностью извлечения вкладыша без необратимой деформации или разрушения, по меньшей мере, одного из указанных элементов, а информационными элементами, считываемыми раздельно, служат участок внутренней поверхности вкладыша и один из участков поверхности чашки, защищенный от внешнего воздействия и доступный для оптического зондирующего излучения.
Благодаря такому выполнению уникальный оптический образ информационного элемента задается только структурой материала деталей, формирующих корпус. Связующее тело не участвует в формировании оптического образа. При этом используются оба элемента конструкции корпуса с тем, чтобы выявить попытку извлечения концов связующего тела как со стороны одной детали, так и со стороны другой. Любая попытка освободить концы связующего тела, зафиксированные внутри корпуса, неминуемо приведет к той или иной степени деформации составляющих его деталей, что неизбежно отразится на их структуре и изменит уникальный оптический образ, по крайней мере, одного из информационных элементов. Такая конструкция достаточно удобна в эксплуатации, т.к. максимально облегчает манипуляции с жестким тросом при обеспечении надежного фиксирования его внутри корпуса, не требуя скруток, узлов и тому подобного.
В одном из конкретных вариантов исполнения светопрозрачный вкладыш установлен с зазором по отношению к внутреннему дну чашки, а информационным элементом чашки служит участок поверхности ее внутреннего дна, считываемый со стороны светопрозрачного вкладыша.
В другом варианте исполнения информационным элементом чашки служит, по меньшей мере, один из участков внешней поверхности чашки. Например, это может быть участок наружного дна чашки, выполненного с центральным углублением и закрытого защитным стеклом, в зоне углубления.
В первом случае считывание оптических образов информационных элементов, сдвинутых относительно друг друга под определенным углом, будет осуществляться поочередно со стороны светопрозрачного вкладыша при соответствующей ориентировке (на такой же угол) автоматического устройства.
Во втором случае поочередное считывание будет осуществляться с разных сторон пломбы.
Дно чашки корпуса может быть выполнено с отверстиями для крепежных винтов, посадочные места для головок которых выполнены в области внутреннего дна чашки (в этом случае информационный элемент находится на внутреннем дне чашки).
Элементы фиксирования связующего тела выполнены в виде поджимающих винтов с гладким цилиндрическим наконечником меньшего диаметра, установленных в резьбовые отверстия со стороны внутреннего дна чашки, пересекающие сквозные каналы во внутреннем дне чашки под прямым углом.
Наружное дно чашки корпуса может быть выполнено с выступом в форме головки болта, продолжением которого является его резьбовая часть.
В тех вариантах конструкции пломбы, где в качестве информационного элемента чашки используется участок поверхности ее внутреннего дна, периферийная часть внутренней полости чашки выполнена с выступом в форме штифта, утопленного во встречный паз светопрозрачного вкладыша. Это обеспечивает однозначную установку вкладыша относительно чашки и однозначную ориентировку автоматического устройства считывания относительно первого и второго информационных элементов.
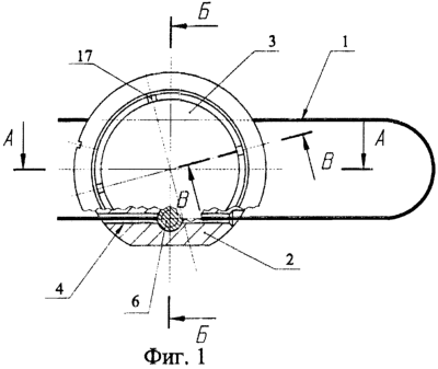
На чертежах приведены различные варианты исполнения заявляемой пломбы. На фиг.1 показан общий вид пломбы. На фиг.2, 3 и 4 показаны разрезы А-А, Б-Б и В-В фиг.1 соответственно для варианта пломбы с крепежными элементами для закрепления чашки корпуса пломбы на базисной поверхности. На фиг.5 показан общий вид пломбы для навесного варианта. На фиг.6 показан разрез А-А фиг.5. На фиг.7 показана обратная сторона навесной пломбы. На фиг.8 показан вариант пломбы-болта.
Пломба содержит связующее тело 1, например металлический трос или канат, концы которого после пропускания через специальные отверстия в охраняемом объекте (не показан) фиксируют внутри корпуса пломбы. Корпус образован чашкой 2, выполненной из достаточно прочного материала, например металла, и светопрозрачным вкладышем 3, выполненным из оргстекла. В чашке 2 выполнены два сквозных канала 4, через которые пропущены концы связующего тела 1. Со стороны внутреннего дна чашки 2 перпендикулярно каналам 4 выполнены два глухих резьбовых отверстия 5, в которые ввинчены винты 6 с гладкими цилиндрическими наконечниками 7, поджимающими участки концов связующего тела к стенкам и дну отверстий 5 и надежно удерживающими их в этом состоянии. В теле 2 чашки выполнено отверстие, в котором устанавливается по глухой посадке штифт 8 (фиг.4), который в собранном состоянии пломбы находится внутри паза 9, выполненного во вкладыше 3. Штифт 8 обеспечивает однозначную установку вкладыша 3 относительно корпуса 2. Между внутренней поверхностью вкладыша 3 и внутренним дном чашки 2 имеется зазор. В теле чашки выполнены также отверстия 10 для винтов 11, с помощью которых чашка 2 пломбы крепится к базовой поверхности 12. Информационными элементами варианта пломбы, приведенной на фиг.1, 2, 3, 4, служат участок внутренней поверхности 13 светопрозрачного вкладыша 3 и участок поверхности 14 внутреннего дна чашки 2. Информационными элементами варианта пломбы, приведенного на фиг, 5, 6, служат участок внутренней поверхности 13 светопрозрачного вкладыша 3 и участок поверхности 15 наружного дна чашки 2, закрытый защитным окном 16. Элементы для единообразной установки автоматического устройства считывания, выполненные в светопрозрачном вкладыше 3 в виде пазов 17 (фиг.1, 5) или в чашке 2 в виде протяженных пазов 18 (фиг.7), служат для установки автоматического устройства считывания оптических образов информационных элементов пломбы.
В варианте пломбы, приведенном на фиг.8, дно чашки 2 выполнено в форме головки 19 болта, переходящей в резьбовую часть 20, обеспечивающую, например, соединение деталей охраняемого объекта. Информационными элементами этой пломбы служат участок 13 внутренней поверхности светопрозрачного вкладыша 3 и участок поверхности 14 внутреннего дна чашки.
Установка пломбы осуществляется следующим образом. Сначала чашка 2 корпуса пломбы фиксируется, если это необходимо, с помощью винтов 11 (фиг.2) или резьбовой части 19 (фиг.8) на участке поверхности охраняемого объекта. Затем концы связующего тела, пропущенные вначале через специальные проушины в охраняемом объекте (например, дверях, закрывающих доступ к его содержимому), протаскивают через каналы 4, выполненные в дне чашки 2. В отверстия 5 ввинчивают винты 6, фиксируя участки связующего тела поджатием с изгибом. Затем устанавливают светопрозрачный вкладыш 3 в чашку 2 и задавливают его до характерного щелчка, который показывает, что вкладыш своим наибольшим диаметром вошел в проточку чашки 2, имеющую форму, препятствующую извлечению вкладыша из чашки, не разрушив его. При наличии в конструкции чашки штифта 8 предварительно светопрозрачный вкладыш 3 ориентируют таким образом, чтобы его паз 9 вошел в зацепление с указанным штифтом. Внутренняя поверхность вкладыша слегка доработана путем случайного нанесения светоотражающего покрытия вдоль линии считывания оптического образа информационного элемента 13.
Линия считывания информационного элемента 14 смещена на определенный угол относительно линии считывания информационного элемента 13. На этой линии участок поверхности внутреннего дна чашка 2 имеет наиболее выразительную светоотражающую структуру и может содержать дополнительную служебную информацию, например инвентарный номер и логотип. Поверхность с информационным элементом 15 (фиг.6) также может быть снабжена подобной дополнительной информацией.
Уникальные оптические образы информационных элементов считываются в отраженном зондирующем излучении оптического диапазона.
С помощью автоматического устройства (не показано), устанавливаемого заданным образом с помощью пазов 17, выполненных во вкладыше 3, или пазов 18, выполненных в чашке 2 и обеспечивающих его единообразную установку, поочередно считывают уникальные оптические образы соответствующих участков в отраженном зондирующем излучении оптического диапазона и заносят эти образы в память устройства. При поочередном считывании оптических образов участков 13 и 14 со стороны светопрозрачного вкладыша 3 (фиг.2) автоматическое устройство ориентируют под разными углами, задаваемыми месторасположением пазов 17, обеспечивающими считывание участка, обладающего более выразительной светоотражающей структурой при соответствующем направлении считывания. При первом положении устройства считывается участок 13 внутренней поверхности вкладыша 3 на фоне неинформативного участка внутреннего дна чашки 2. Во втором положении устройства через светопрозрачный материал вкладыша считывается участок 14, обладающий наиболее выразительной светоотражающей структурой. Считывание уникальных оптических образов информационных элементов 13 и 15 (фиг.5, 6, 7) производят поочередно с обеих сторон. При этом при считывании оптического образа информационного элемента 15 автоматическое устройство ориентируют заданным образом с помощью пазов 18. Считанные в процессе установки пломб оптические образы информационных элементов запоминают как эталонные. В процессе контроля также поочередно считывают оптические образы информационных элементов этим же устройством и сравнивают их с ранее запомненными. Любая попытка нарушить целостность пломбы и извлечь концы связующего тела приведет к деформации той или иной детали корпуса, что неминуемо приведет к изменению, по меньшей мере, одного из уникальных оптических образов.
Таким образом, заявляемая конструкция пломбы найдет применение там, где предъявляются особые требования к прочности связующего тела при высокой достоверности контроля за несанкционированными действиями по нарушению целостности пломбы, осуществляемого автоматическим устройством.
Формула изобретения
1. Оптическая пломба, содержащая чашку с утопленным в нее вкладышем из светопрозрачного материала, образующие корпус, внутри которого зафиксированы концы связующего тела, связанного с охраняемым объектом, и, по меньшей мере, один информационный элемент, причем в корпусе выполнены элементы для единообразной установки автоматизированного устройства считывания оптического образа информационного элемента, отличающаяся тем, что внутреннее дно чашки выполнено со сквозными каналами для пропускания через них концов связующего тела и снабжено элементами жесткого фиксирования связующего тела в этих каналах, при этом чашка и вкладыш зафиксированы относительно друг друга с невозможностью их разъединения без необратимой деформации или разрушения, по меньшей мере, одной из указанных деталей, а информационными элементами, оптические образы которых считывается раздельно, служат участок внутренней поверхности вкладыша и один из участков поверхности чашки, защищенный от внешнего воздействия и доступный для оптического зондирующего излучения.
2. Оптическая пломба по п.1, отличающаяся тем, что светопрозрачный вкладыш установлен с зазором по отношению к внутреннему дну чашки, а информационным элементом чашки служит участок поверхности ее внутреннего дна, считываемый со стороны светопрозрачного вкладыша.
3. Оптическая пломба по п.1, отличающаяся тем, что информационным элементом чашки служит, по меньшей мере, один из участков внешней поверхности чашки.
4. Оптическая пломба по п.3, отличающаяся тем, что информационным элементом чашки служит участок наружного дна чашки, выполненного с центральным углублением и закрытого защитным стеклом в зоне углубления.
5. Оптическая пломба по п.2 или 3, отличающаяся тем, что дно чашки корпуса выполнено с отверстиями для крепежных винтов, посадочные места для головок которых выполнены в области внутреннего дна чашки.
6. Оптическая пломба по пп.1- 4 или 5, отличающаяся тем, что элементы фиксирования связующего тела выполнены в виде поджимающих винтов, с гладким цилиндрическим наконечником меньшего диаметра, установленных в резьбовые отверстия со стороны внутреннего дна чашки, пересекающие сквозные каналы во внутреннем дне чашки под прямым углом.
7. Оптическая пломба по п.2 или 6, отличающаяся тем, что наружное дно чашки корпуса выполнено с выступом в форме головки болта, продолжением которого является его резьбовая часть.
8. Оптическая пломба по пп.2, 5, 6 или 7, отличающаяся тем, что периферийная часть внутренней полости чашки выполнена с выступом в форме штифта, утопленного во встречный паз светопрозрачного вкладыша.
РИСУНКИ
|
|