|
(21), (22) Заявка: 2001132571/09, 31.05.2000
(24) Дата начала отсчета срока действия патента:
31.05.2000
(30) Конвенционный приоритет:
01.06.1999 DE 29909556.8
(43) Дата публикации заявки: 27.07.2003
(45) Опубликовано: 10.11.2004
(56) Список документов, цитированных в отчете о поиске:
US 5694294 А, 02.12.1997. RU 2043704 С1, 10.09.1995. SU 1711351 А1, 07.02.1992. SU 1704304 А1, 07.01.1992. JP 10098139 А, 14.04.1998.
(85) Дата перевода заявки PCT на национальную фазу:
03.01.2002
(86) Заявка PCT:
EP 00/05022 (31.05.2000)
(87) Публикация PCT:
WO 00/74458 (07.12.2000)
Адрес для переписки:
191186, Санкт-Петербург, а/я 230, “АРС-ПАТЕНТ”, пат.пов. В.М.Рыбакову
|
(72) Автор(ы):
ДАЛЬХАЙМЕР Фолькер (DE)
(73) Патентообладатель(и):
ДАЛЬХАЙМЕР Фолькер (DE)
(74) Патентный поверенный:
Рыбаков Владимир Моисеевич
|
(54) КОРПУСНАЯ КОНСТРУКЦИЯ ДЛЯ РАЗМЕЩЕНИЯ ЭЛЕКТРОННЫХ КОМПОНЕНТОВ, В ОСОБЕННОСТИ ПЛОСКОГО НАСТОЛЬНОГО ПЕРСОНАЛЬНОГО КОМПЬЮТЕРА, ИЛИ КОРПУС ДЛЯ МУЛЬТИМЕДИЙНЫХ СРЕДСТВ
(57) Реферат:
Изобретение относится к корпусной конструкции для размещения электронных компонентов, в особенности плоского настольного персонального компьютера или мультимедийных средств. Технический результат – создание усовершенствованной корпусной конструкции, обеспечивающей оптимизированное охлаждение находящихся внутри компонентов со снижением до минимума шумового излучения. Достигается тем, что внутри корпуса образован впускной воздуховод, проходящий по существу параллельно плоскому основанию корпуса и отстоящий от него на определенное расстояние. За исключением боковых впускных отверстий для воздуха воздуховод уплотнен относительно корпуса и впускной стороны отделений или секций, расположенных внутри корпуса. На удаленном от впускных отверстий для воздуха конце впускного воздуховода выполнен вырез для установки вентилятора. Этот вентилятор нагнетает воздух вертикально в отделение под впускным воздуховодом, а это нижнее отделение сообщается с боковым отводным воздуховодом. Нагретый отработанный воздух нагнетается через отводной воздуховод и выходит из корпуса в боковую сторону. По направлению воздушного потока под вентилятором расположен по меньшей мере один электронный блок и один источник тепла, обдуваемые этим потоком. Второй вырез во впускном воздуховоде расположен выше по потоку от выреза с установленным в нем вентилятором. В этом втором вырезе размещен подлежащий охлаждению компонент, выступающий в нижнее отделение. 14 з.п. ф-лы, 5 ил.

Область техники, к которой относится изобретение
Настоящее изобретение относится к корпусной конструкции для размещения электронных компонентов, в особенности к корпусу плоского настольного персонального компьютера (ПК), или к корпусу для мультимедийных средств, который содержит лист основания, переднюю и заднюю стороны, а также съемную крышку по типу кожуха, вентилятор с приводом от электрического двигателя и образованные в корпусе отделения или секции, в соответствии с ограничительной частью пункта 1 формулы изобретения.
Уровень техники
Из полезной модели ФРГ № G 9108160.2 известен наружный корпус для магнитооптического запоминающего устройства (ЗУ) сверхбольшой емкости, которое оснащено вентилятором для подачи в корпус направленного воздушного потока через соответствующий фильтр таким образом, что этот воздушный поток может быть направлен через привод ЗУ. В таком корпусе источник питания электрическим током расположен со смещением в сторону от привода и также охлаждается частичным воздушным потоком. Использование фильтра необходимо, так как загрязнение устройства записи/считывания магнитооптического ЗУ может привести к его выходу из строя.
Так называемый компактный промышленный компьютер описан в полезной модели ФРГ № G 9005147.5. В нем также предусмотрена возможность охлаждения компонентов, которые находятся внутри компьютера. В частности, должны использоваться более короткие сменные платы и встроенный спереди вентилятор, так что глубина внутренней емкости меньше по сравнению с известными устройствами.
При установке в коммутационном шкафу воздух должен всасываться в передней области и выходить через заднюю часть корпуса. При свободной установке в загрязненном окружении корпус по полезной модели № G 9005147.5 уплотняется и устанавливается фильтр. Предусмотренные для этого случая вентиляторы создают воздушные потоки в противоположных направлениях, так что при использовании направляющих щитков может быть создана циркуляция воздуха внутри компьютера. В приведенном исполнении фильтрующие полотна заменены теплообменником для создания барьера между системой внутренней циркуляции воздуха и отводом тепла наружу.
Кроме того, из публикации “IBM Technical Disclosure Bulletin”, т. 25, №7В, декабрь 1982, известно охлаждающее устройство с оптимизированным направлением охлаждающего воздуха внутри системы обработки данных. Предусмотренный в нем вентилятор расположен вблизи радиатора центрального процессора таким образом, что воздушный поток, поступающий через впускные отверстия в корпусе, направляется вначале для охлаждения блока переключателей, а уже затем для охлаждения центрального процессора. Выпускное отверстие для воздуха находится на верхней стороне аппарата.
Описанные выше компоновочные решения корпусов со встроенной системой вентиляции не создают оптимальных потоков воздушного охлаждения, в особенности в аспекте образования нежелательного шума. Одним из основных требований к корпусным конструкциям для размещения электронной аппаратуры, например мультимедийных средств, включая аппаратуру домашнего пользования, является удерживание на низком уровне шума от аппаратуры, который воспринимается пользователем как мешающий шум.
Сущность изобретения
Задача, на решение которой направлено настоящее изобретение, заключается в создании усовершенствованной корпусной конструкции для размещения электронных компонентов, в особенности корпуса плоского настольного ПК, или корпуса для мультимедийных средств, который обеспечивает оптимизированное охлаждение находящихся внутри компонентов с одновременным снижением до минимума шумового излучения таким образом, что, с одной стороны, удовлетворяются нормативные требования по применению такой аппаратуры на рабочем месте и, с другой стороны, при частном использовании таких аппаратов они не создают утомляющего шума.
В соответствии с изобретением решение поставленной задачи достигается за счет создания устройства, обладающего признаками согласно отличительной части пункта 1 формулы изобретения. Зависимые пункты охватывают оптимальные примеры выполнения и модификации устройства.
Согласно изобретению во внутренней полости корпуса предусмотрен впускной воздуховод, проходящий по существу параллельно листу основания и отстоящий от него на некотором расстоянии по высоте, причем указанный впускной воздуховод за исключением боковых впускных отверстий для воздуха уплотнен относительно корпуса и расположенных внутри корпуса отделений или секций с всасывающей стороны.
На удаленном от впускных отверстий для воздуха конце впускного воздуховода выполнен вырез для установки вентилятора, при этом вентилятор выполнен таким образом, что он нагнетает воздух вертикально в отделение под впускным воздуховодом.
Нижнее отделение находится в сообщении с боковым отводным воздуховодом, по которому осуществляется принудительное удаление нагретого воздуха из корпуса в боковом направлении.
В направлении воздушного потока под вентилятором расположены обдуваемые этим воздушным потоком по меньшей мере один электронный блок и источник тепла, в частности центральный процессор с радиатором. Перед вырезом для установки вентилятора по направлению воздушного потока во впускном воздуховоде выполнен дополнительный вырез для монтажа подлежащего охлаждению блока. Этот блок выступает в нижнее отделение. Последний упомянутый блок может представлять собой, в частности, дисковод жесткого диска, причем подлежащий охлаждению участок поверхности охватывается дополнительным вырезом. Одновременно создается возможность закрепления этого жесткого диска в дополнительном вырезе с демпфированием шума за счет использования эластичной опоры.
Впускной воздуховод может быть изготовлен формованием из листа или способом литья под давлением, при этом крышка по типу кожуха снабжена боковыми впускными отверстиями и закрывает впускной воздуховод с уплотнением сверху.
В боковом отводном воздуховоде размещен блок электропитания, в частности бескорпусный сетевой блок питания. Отводной воздуховод образован внутренней перегородкой корпуса и крышкой по типу кожуха, при этом крышка по типу кожуха снабжена боковыми выпускными отверстиями для воздуха.
Крышка имеет по существу U-образную форму, при этом в одной ее полке выполнены впускные отверстия, а в противолежащей второй полке выполнены выпускные отверстия для воздуха. Эти отверстия могут быть выполнены посредством перфорирования или сверления.
Дополнительные подлежащие охлаждению блоки расположены на внутренней перегородке корпуса в тепловом контакте с ней.
За счет размещения под вентилятором электронного блока, в частности центрального процессора с пассивным радиатором, осуществляется непосредственный обдув этого радиатора и дополнительно желательное турбулентное завихрение воздушного потока.
Кроме демпфирующей шум установки и крепления жесткого диска в дополнительном вырезе вентилятор может быть также закреплен в первом указанном вырезе со звуковой изоляцией от корпуса.
Вентилятор создает избыточное давление внутри нижнего отделения, при этом внутренняя перегородка корпуса в своей задней области снабжена выпускными отверстиями для воздуха. Внутренняя перегородка выполнена с двойным перегибом с образованием за счет этого дополнительного отделения для размещения, в частности, упомянутого бескорпусного сетевого блока питания.
Более длинная сторона перегородки проходит параллельно второй полке на расстоянии от второй полки крышки по меньшей мере до предусмотренных в последней выпускных отверстий для воздуха.
По меньшей мере один из размещенных в нижнем отделении электронных блоков выполнен с возможностью доступа с передней стороны корпуса посредством клапана, скользящей части или подобного средства.
За счет описанной корпусной конструкции обеспечивается специальное прохождение охлаждающего воздушного потока. Воздушный поток проходит от бокового впуска с первоначальным горизонтальным проходом внутри впускного воздуховода, а затем происходит поворот его направления на вертикальное направленное вниз в нижнее отделение с созданием избыточного давления и турбулентным завихрением. Дальнейший поворот направления происходит горизонтально в боковом отводном воздуховоде, при этом осуществляется снижение давления за счет бокового выпуска воздуха через отверстия корпуса, расположенные напротив впускных отверстий для воздуха.
Далее, базовая концепция корпусной конструкции осуществлена в виде плоской разделенной на уровне корпусной конструкции, при этом на нижнем уровне размещены источники повышенного выделения тепла, на среднем уровне размещены источники умеренного выделения тепла, а на верхнем уровне находится впускной воздуховод со средствами принудительного побуждения воздушного потока, причем воздушный поток проходит сверху вниз и выходит в боковую сторону.
В области рядом с выпуском воздуха на нижнем уровне на расстоянии по высоте над всеми уровнями расположен отводной воздуховод, в котором может быть расположен дополнительный источник тепла, не являющийся критическим.
В соответствии с изобретением осуществляется целенаправленное всасывание предназначенного для охлаждения воздуха по специальному впускному воздуховоду, который со стороны всасывания уплотнен относительно корпуса. Этот впускной воздуховод одновременно служит в качестве верхнего крепления, в частности, для дисковода жесткого диска и имеет в области жесткого диска соответствующее корпусу жесткого диска уплотненное отверстие или вырез, над которым жесткий диск непрерывно охлаждается воздухом, который всасывается воздушным потоком.
Единственный используемый в корпусе вентилятор расположен в конце впускного воздуховода в вертикальном положении, при этом вентилятор установлен и укреплен в опоре, например, из резинового или подобного материала и нагнетает поток вертикально вниз прямо на расположенный под ним пассивный радиатор центрального процессора. За счет этого, как уже упоминалось выше, происходит дополнительное турбулентное завихрение воздушного потока, способствующее охлаждению остальных электронных компонентов.
За счет уплотнения воздуховода относительно корпуса внутри корпуса одновременно создается избыточное давление, которое при содействии соответствующих достаточно больших отверстий во внутренней перегородке корпуса, уплотненной относительно корпуса и образующей отводной воздуховод, создает направленный воздушный поток через пассивный радиатор и обеспечивает его охлаждение. Вырез для приема ЗУ на жестком диске немного превышает размер самого жесткого диска и предпочтительно облицован губчатой резиной. Жесткий диск установлен в этом материале и плотно запрессован в губчатую резину сверху через всасывающий канал. В таком примере выполнения достигается устойчивая неподвижная установка со значительным снижением передачи звука в корпусе.
В таком примере выполнения при использовании ЗУ на жестком диске с очень высоким числом оборотов создается возможность, с одной стороны, отводить большие тепловые потери и, с другой стороны, понизить создаваемые шумы.
Перечень чертежей
Примеры осуществления настоящего изобретения будут подробнее описаны ниже со ссылками на прилагаемые чертежи, на которых:
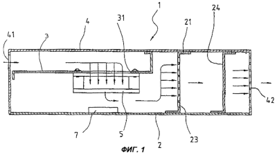
фиг.1 изображает в продольном разрезе корпусную конструкцию в соответствии с примером выполнения изобретения,
фиг.2 изображает в перспективе в разобранном виде корпусную конструкцию с воздуховодом, вентилятором и крышкой по типу кожуха,
фиг.3 изображает полностью собранную конструкцию с воздуховодом перед установкой крышки по типу кожуха,
фиг.4 изображает схему движения воздушного потока в корпусной конструкции,
фиг.5 изображает принципиальную схему разделенной на уровни корпусной конструкции.
Сведения, подтверждающие возможность осуществления изобретения
На фиг.1 представлен корпус 1, содержащий лист 2 основания и крышку 4 U-образной формы. В крышке 4 выполнены впускные отверстия 41 и выпускные отверстия 42 для воздуха. Фигурная деталь 3 образует впускной воздуховод или воздушный канал, который со стороны всасывания сообщается с впускными отверстиями 41. В вырезе 31 в фигурной детали 3 установлен вентилятор 5. Этот вентилятор нагнетает воздух вертикально вниз, направляя воздушный поток на электронную аппаратуру 7, в частности центральный процессор с пассивным радиатором.
В этой нижней области или нижнем отделении корпуса происходит турбулентное завихрение воздуха и поворот воздушного потока к внутренней перегородке 21 корпуса, которая снабжена отогнутой стенкой или бортом 23 со сквозными отверстиями для прохода воздуха в отводной воздуховод (фиг.4). В образующем камеру отделении 24 отводного воздуховода согласно фиг.3 может размещаться сетевой блок питания.
Фиг.2 изображает в перспективе отдельные основные компоненты корпуса. На листе 2 основания имеется крепежное устройство 7 для установки центрального процессора и еще одно монтажное устройство 22 с поперечными направляющими, например, для жесткого диска, дисководов для гибких магнитных или цифровых видеодисков. Внутренняя перегородка 21 вместе с соответствующей полкой крышки 4 образует отводной воздуховод с отделением большего размера в рамках отогнутого борта 23 (см. фиг.1) для размещения сетевого блока питания.
В фигурной детали 3 для образования воздуховода выполнены вырез 31 для вентилятора 5 и вырез 32 для установки другого подлежащего охлаждению блока, в частности для упомянутого жесткого диска. Крепление этих компонентов осуществляется винтами 11 и 12.
При смонтированной фигурной детали 3 со вставленным в нее вентилятором 5 на фиг.3 становится виден впускной воздуховод. После установки крышки 4 воздух поступает в этот воздуховод слева через боковые впускные отверстия 41 и отклоняется вентилятором 5 вертикально вниз с направлением на расположенный там электронный блок. Далее за счет создаваемого разрежения воздушный поток направляется через отогнутый борт 23 со сквозными отверстиями для прохода воздуха в отводной воздуховод. Этот отводной воздуховод образован внутренней перегородкой 21 корпуса и полкой крышки 4. В нижнем отделении предусмотрена также коммутационная панель 6 с штепсельными соединениями для установки проводных монтажных плат (не показаны).
На фиг.4 стрелками показано движение потоков подводимого и отводимого воздуха.
Согласно схеме воздух поступает с боковой стороны и движется горизонтально во впускном воздуховоде, затем меняет направление на вертикальное направленное вниз и поступает в нижнее отделение, где происходит завихрение и создание избыточного давления. Далее воздушный поток вновь изменяет направление на горизонтальное и входит в боковой отводной воздуховод, где происходит снижение давления за счет выхода воздуха через выпускные отверстия корпуса, расположенные напротив впускных отверстий (фиг.3).
Разделенная на уровни плоская корпусная конструкция поясняется фиг.5.
На нижнем уровне размещены источники повышенного выделения тепла, например схема процессора. На среднем уровне, где генерируется меньше тепла, находится, например, ЗУ на жестком диске, верхняя предпочтительно электропроводная крышка которого обращена к верхней стороне воздуховода и соответственно сообщается с ним той стороной, где выделяется тепло. За этими блоками охлаждающий воздух направляется сверху вниз и затем по смещенному в боковую сторону отводному воздуховоду, при этом в отводном воздуховоде расположен сетевой источник питания, а другие блоки находятся в тепловом контакте с ним за счет расположенной в этом месте перегородки.
В целом в описанной корпусной конструкции достигается оптимальное охлаждение размещенных в ней электронных блоков и компонентов и одновременно снижающая шум установка этих компонентов, в особенности механического ЗУ на жестком диске. Отдельные части корпуса могут быть изготовлены простым путем посредством технологии гибки и штамповки, но могут быть изготовлены также и формованием, что обеспечивает невысокие затраты на изготовление. За счет впуска и вывода воздуха с боковых сторон устраняется нежелательный обдув человека, который манипулирует элементами управления на передней стороне или находится вблизи этой стороны. Благодаря расположению вентилятора во внутренней части корпуса на удалении от отверстий впуска или выпуска воздуха эффективно устраняется риск контакта с ротором вентилятора, то есть обеспечивается безопасность детей при обращении с аппаратурой.
Формула изобретения
1. Корпусная конструкция для размещения электронных компонентов, в особенности конструкция корпуса для плоского настольного персонального компьютера или мультимедийных средств, содержащая лист основания, переднюю и заднюю стороны, а также съемную крышку по типу кожуха, вентилятор с электрическим двигателем и образованные в корпусе отделения или секции, отличающаяся тем, что во внутренней полости корпуса предусмотрен впускной воздуховод, проходящий, по существу, параллельно листу основания и отстоящий от него на некотором расстоянии по высоте, причем указанный впускной воздуховод, за исключением боковых впускных отверстий для воздуха, уплотнен относительно корпуса и расположенных внутри корпуса отделений или секций с всасывающей стороны, на удаленном от впускных отверстий для воздуха конце впускного воздуховода выполнен вырез для установки вентилятора, который нагнетает воздух вертикально в отделение под впускным воздуховодом, нижнее отделение находится в сообщении с боковым отводным воздуховодом, по которому осуществляется принудительное удаление нагретого воздуха из корпуса в боковом направлении, в направлении воздушного потока под вентилятором расположены обдуваемые этим воздушным потоком по меньшей мере один электронный блок и источник тепла и перед вырезом для установки вентилятора по направлению воздушного потока во впускном воздуховоде выполнен дополнительный вырез для установки подлежащего охлаждению блока, причем указанный блок выступает в нижнее отделение.
2. Корпусная конструкция по п.1, отличающаяся тем, что впускной воздуховод состоит из фигурной детали, изготовленной из формованного листа или литьем под давлением, при этом крышка по типу кожуха снабжена боковыми впускными отверстиями и закрывает впускной воздуховод с уплотнением сверху.
3. Корпусная конструкция по п.1 или 2, отличающаяся тем, что в боковом отводном воздуховоде расположен блок питания, в частности сетевой блок питания, а отводной воздуховод образован внутренней перегородкой корпуса и крышкой по типу кожуха, при этом крышка по типу кожуха снабжена боковыми выпускными отверстиями для воздуха.
4. Корпусная конструкция по п.2 или 3, отличающаяся тем, что крышка имеет, по существу, U-образную форму, при этом в одной ее полке выполнены впускные отверстия, а в противолежащей, второй, полке выполнены выпускные отверстия для воздуха.
5. Корпусная конструкция по п.3, отличающаяся тем, что дополнительные подлежащие охлаждению блоки расположены на внутренней перегородке корпуса в тепловом контакте с ней.
6. Корпусная конструкция по любому из предыдущих пунктов, отличающаяся тем, что под вентилятором в нижнем отделении расположен центральный процессор с пассивным радиатором с обдувом радиатора воздушным потоком и турбулентным завихрением воздушного потока.
7. Корпусная конструкция по любому из предыдущих пунктов, отличающаяся тем, что в дополнительном вырезе расположена выделяющая тепло сторона ЗУ на жестком диске.
8. Корпусная конструкция по п.7, отличающаяся тем, что вентилятор и/или жесткий диск установлены внутри соответствующих вырезов с помощью демпфирующих шум опорных и крепежных средств.
9. Корпусная конструкция по любому из пп.3-8, отличающаяся тем, что вентилятор создает избыточное давление внутри нижнего отделения, при этом внутренняя перегородка корпуса в своей задней области снабжена выпускными отверстиями для воздуха.
10. Корпусная конструкция по п.9, отличающаяся тем, что внутренняя перегородка выполнена с двойным перегибом с образованием за счет этого дополнительного отделения для размещения, в частности, бескорпусного сетевого блока питания.
11. Корпусная конструкция по п.10, отличающаяся тем, что более длинная сторона перегородки проходит параллельно второй полке на расстоянии от второй полки крышки по меньшей мере до предусмотренных в последней выпускных отверстий для воздуха.
12. Корпусная конструкция по любому из предыдущих пунктов, отличающаяся тем, что по меньшей мере один из размещенных в нижнем отделении электронных блоков выполнен с возможностью доступа с передней стороны корпуса посредством клапана, скользящей части или подобного средства.
13. Корпусная конструкция по любому из предыдущих пунктов, отличающаяся тем, что она обеспечивает следующее прохождение потока охлаждающего воздушного потока: боковой впуск воздуха с его горизонтальным проходом внутри впускного воздуховода, поворот направления на вертикальное направленное вниз в нижнее отделение с созданием избыточного давления и турбулентным завихрением, поворот направления на горизонтальное в боковом отводном воздуховоде и снижение давления за счет бокового выпуска воздуха через отверстия корпуса, расположенные напротив впускных отверстий для воздуха.
14. Корпусная конструкция по любому из предыдущих пунктов, отличающаяся тем, что она выполнена в виде плоской разделенной на уровни корпусной конструкции, при этом на нижнем уровне размещены источники повышенного выделения тепла, на среднем уровне размещены источники умеренного выделения тепла, а на верхнем уровне находится впускной воздуховод со средствами принудительного побуждения воздушного потока, причем воздушный поток проходит сверху вниз и выходит в боковую сторону.
15. Корпусная конструкция по п.14, отличающаяся тем, что в области рядом с выпуском воздуха на нижнем уровне на некотором расстоянии по высоте над всеми уровнями расположен отводной воздуховод, в котором может быть расположен дополнительный источник тепла, не являющийся критическим.
РИСУНКИ
MM4A Досрочное прекращение действия патента Российской Федерации на изобретение из-за неуплаты в установленный срок пошлины за поддержание патента в силе
Дата прекращения действия патента: 01.06.2005
Извещение опубликовано: 27.12.2006 БИ: 36/2006
|