|
|
(21), (22) Заявка: 2003128465/28, 22.09.2003
(24) Дата начала отсчета срока действия патента:
22.09.2003
(45) Опубликовано: 10.11.2004
(56) Список документов, цитированных в отчете о поиске:
SU 224231, 24.10.1972. НИКОЛАЕВ В.В. и др. Опыт эксплуатации регулируемой вихревой трубы на газораспределительной станции. Газовая промышленность. – 1995, №10, с.13. RU 2150139 С1, 27.05.2000. RU 2162178 С1, 20.01.2001. RU 2184897 С2, 10.07.2002. RU 2202744 С2, 20.04.2003.
Адрес для переписки:
420036, г.Казань, ул. Дементьева, 1, ООО “Авиагаз-Союз+”
|
(72) Автор(ы):
Добрянский В.Л. (RU), Хазиев Ш.Х. (RU)
(73) Патентообладатель(и):
Общество с ограниченной ответственностью “Авиагаз-Союз+” (RU)
|
(54) РЕГУЛЯТОР ДАВЛЕНИЯ ГАЗА ПРЯМОГО ДЕЙСТВИЯ С САМООБОГРЕВОМ
(57) Реферат:
Изобретение относится к области гидропневмоавтоматики и может быть использовано преимущественно для линий малой производительности на газоредуцирующих установках с входным давлением до 25 МПа. Регулятор давления газа с самообогревом содержит наружный корпус, соосную с ним вихревую камеру энергетического разделения с кольцевым каналом отвода горячего потока и расположенный между диафрагмой и камерой узел регулирования сечения тангенциального соплового ввода сжатого газа в камеру, а также утилизирующий эжектор. Новым в предложенном регуляторе является то, что узел регулирования, конкретно – клапан, выполнен в виде продольно перемещаемого штоком сервопривода полого цилиндра, со стороны диафрагмы взаимодействующего с седлом и выходным сечением соплового ввода посредством продольных тангенциальных каналов на стенке входного коллектора, охватывающего наружную стенку клапана, при этом канал отвода горячего потока в сторону холодного конца камеры и корпуса соплового ввода своим выходом подключен к коллектору подачи горячего потока в эжектор, выполненный в виде тангенциальных каналов в боковой стенке канала отвода холодного потока, а за каналом смещения эжектора и боковым отводом смешанного потока расположен упомянутый сервопривод регулятора с чувствительным элементом, например поршнем, нагруженным с одной стороны выходным давлением редуцируемого газа, с другой – силой давления основной пружины или управляющего газа. Технический результат – повышение эксплуатационной надежности и точности регулирования за счет эффективного самообогрева и динамической уравновешенности запорной пары. 3 з.п. ф-лы, 1 ил.

Предлагаемый регулятор давления газа относится к области гидропневмоавто-матики и может быть использован практически в любой отрасли промышленности, преимущественно, для линий малой производительности на газоредуцирующих установках с входным давлением до 25 МПа.
Известная вихревая труба, которая не только генерирует тепло (холод), но одновременно при плавно изменяемой геометрии соплового ввода может быть использована как регулятор давления газа (см. статью В.В.Николаева и др. “Опыт эксплуатации регулируемой вихревой трубы на газораспределительной станции” в журнале “Газовая промышленность” №10, 1995 г., с.13). Известная вихревая труба содержит камеру энергетического разделения и диафрагму, между которыми размещен сопловой ввод с регулируемым сопловым сечением. В этой вихревой трубе сопловой ввод выполнен в виде прямоугольной улитки, построенной по спирали Архимеда, при этом сечение соплового ввода регулируется изменением высоты улитки за счет перемещения подвижного клина.
Недостатком трубы является сложность изготовления узла регулирования из-за наличия пар трения прямоугольного профиля, сопрягаемых с высокой точностью. Кроме того, возникает эрозия именно боковых деталей сопла по линиям вершин прямых углов, что приводит в процессе эксплуатации к негерметичности посадочных мест и, как следствие – к перетечкам газа, искажению расчетной картины течения газа и, в итоге, к снижению эксплуатационной надежности и эффективности процесса энергоразделения.
Наиболее близким техническим решением, выбранным в качестве прототипа, является известное изобретение (см. а.с. СССР №224231 на “Регулятор давления газа непрямого действия с самообогревом” от 24.10.72, М.Кл G 05 D 16/10). Известный регулятор давления газа содержит наружный цилиндрический корпус, являющийся частью газопровода, со встроенным внутри него и аксиально расположенным подвижным цилиндрическим стаканом, связанным с пилотным устройством, соосную с ним вихревую камеру энергетического разделения с кольцевым каналом отвода горячего потока и расположенный между диафрагмой и камерой узел регулирования сечения тангенциального соплового ввода сжатого газа в камеру, а также – утилизирующий вихревой эжектор, расположенный непосредственно за диафрагмой на холодном конце камеры.
К недостаткам прототипа необходимо отнести следующее. Во-первых, значительная динамическая неуравновешенность запорной пары, пропорциональная скоростному напору газа, действующему на торец подвижного стакана-клапана, что снижает надежность работы и точность регулирования. Во-вторых, регулирование расхода газа осуществляется за счет изменения сечения соплового ввода в докритической области, то есть происходит процесс “преждевременного” дросселирования, что сужает эффективный диапазон по самообогреву, особенно при дефиците величины входного давления сжатого газа. И в-третьих – что тоже существенно – встроенная в газопровод конструкция регулятора не позволяет проводить эксплуатационно-профилактические работы без демонтажа его с линии редуцирования.
Задачей предлагаемого изобретения является повышение эксплуатационной надежности и точности регулирования за счет эффективного самообогрева и динамической уравновешенности запорной пары.
Эта цель достигается тем, что регулятор давления, который содержит наружный корпус, соосную с ним вихревую камеру энергетического разделения с кольцевым каналом отвода горячего потока и расположенный между диафрагмой и камерой узел регулирования сечения тангенциального соплового ввода сжатого газа в камеру, а также – утилизирующий вихревой эжектор, расположенный непосредственно за диафрагмой на холодном конце камеры, отличается тем, что узел регулирования, конкретно – клапан, выполнен в виде продольно перемещаемого штоком сервопривода полого цилиндра (далее – “клапан”), который со стороны диафрагмы взаимодействует с седлом и выходным сечением соплового ввода посредством продольных тангенциальных каналов на стенке входного коллектора, охватывающего наружную стенку клапана. При этом канал отвода горячего потока в сторону холодного конца камеры и корпуса соплового ввода своим выходом подключен к коллектору подачи горячего потока в эжектор, выполненный в виде тангенциальных каналов в боковой стенке канала отвода холодного потока, причем за каналом смешения эжектора и боковым отводом смешанного потока расположен упомянутый выше сервопривод регулятора. При таком взаимном расположении клапана соплового ввода и диафрагмы обеспечивается практически полная динамическая уравновешенность запорной пары, существенное снижение перестановочного усилия на штоке, что позволяет использовать сервопривод относительно небольшой мощности, повысить надежность работы регулятора и точность регулирования. Кроме того, чувствительный элемент сервопривода, например поршень, нагружен с одной стороны выходным давлением редуцируемого газа, а с другой стороны – силой давления основной пружины или управляющего газа. Основная пружина со стороны штока сервопривода установлена с возможностью взаимодействия ее с регулировочным винтом, перемещающим в осевом направлении наружный корпус, контактирующий с нижним концом основной пружины и охватывающий корпус сервопривода, жестко закрепленный с корпусом регулятора. При этом поршень со стороны выходного давления и возвратной пружины оперт толкателем, с противоположного торца нагруженным давлением сжатого газа. Шток сервопривода состоит из двух частей. С одной стороны – шток поршня, соответственно закрепленный с поршнем, с другой стороны – шток клапана с противоположной стороны, за пределами корпуса регулятора, опертый своим сферическим торцом в плоский торец штока поршня. Причем шток клапана снабжен возвратной пружиной, опертой относительно корпуса регулятора.
Кроме того, тангенциальные каналы соплового ввода и эжектора выполнены, например, прорезной фрезой соответствующих размеров таким образом, чтобы осевая протяженность их со стороны входа сжатого газа была, по меньшей мере, в полтора раза больше их протяженности со стороны выхода газа.
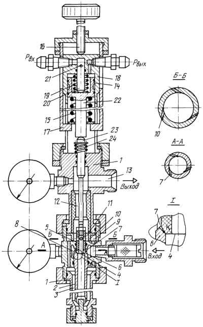
На чертеже показан общий вид регулятора давления прямого действия с самообогревом в виде продольного разреза с поперечными сечениями А-А, Б-Б и выносным элементом I в закрытом положении клапана.
Регулятор давления содержит наружный корпус 1, соосную с ним вихревую камеру 2 энергетического разделения с кольцевым каналом 3 отвода горячего потока и расположенный между диафрагмой 4 и камерой 2 узел регулирования сечения тангенциального соплового ввода, конкретно – клапан 5, выполненный в виде продольно перемещаемого штоком сервопривода полого цилиндра (далее – “клапан”), который со стороны диафрагмы 4 взаимодействует с седлом 6 и выходным сечением соплового ввода посредством продольных тангенциальных каналов 7 на стенке входного коллектора 8, охватывающего наружную стенку клапана. При этом канал 3 отвода горячего потока в сторону холодного конца камеры и соплового ввода своим выходом подключен к коллектору 9 подачи горячего потока в эжектор, выполненный в виде тангенциальных каналов 10 в боковой стенке канала 11 отвода холодного потока. Причем за каналом 12 смешения эжектора и боковым отводом 13 смешанного потока расположен упомянутый сервопривод. Чувствительный элемент сервопривода – поршень 14 нагружен с одной стороны выходным давлением редуцируемого газа, а с другой – силой давления основной пружины 15. Основная пружина со стороны штока установлена с возможностью взаимодействия ее с регулировочным винтом 16, который перемещает в осевом направлении наружный корпус 17, контактирующий с нижним концом основной пружины и охватывающий корпус 18 сервопривода, жестко закрепленный с корпусом 1 регулятора. При этом поршень 14 со стороны выходного давления и возвратной пружины 19 оперт толкателем 20, с противоположного торца 21 нагруженным давлением сжатого газа. Шток сервопривода во избежание заклинивания подвижных частей регулятора и удобства монтажа-демонтажа состоит из двух частей. С одной стороны – шток 22 поршня (соответственно, закрепленный с поршнем), с другой стороны – шток 23 клапана, с противоположной стороны за пределами корпуса регулятора опертый своим сферическим торцом в плоский торец штока 22. Причем шток 23 может быть снабжен возвратной пружиной 24, опертой относительно корпуса регулятора. Кроме того, тангенциальные каналы соплового ввода и эжектора могут быть выполнены, например, прорезной фрезой соответствующих размеров таким образом, чтобы осевая протяженность их со стороны входа сжатого газа была, по меньшей мере, в полтора раза больше их протяженности со стороны выхода газа.
Плотное закрытие регулятора при нулевом расходе обеспечивается при выполнении клапана из неметаллического материала при соответствующем усилии возвратных пружин 19, 24 на линии контакта (на чертеже условно обозначено буквой “К” на выносном элементе I).
Регулятор работает следующим образом.
Перед включением регулятора в работу производится одновременная подача сжатого газа во входной коллектор 8 и в полость над торцом 21 толкателя 20. При этом усилие от давления газа на шток 23 гарантирует плотность закрытия клапана регулятора, так как это усилие, направленное вниз, больше усилия на свободную поверхность торца клапана 5 вне линии контакта “К”, направленного вверх.
После этого, воздействуя на основную пружину 15 посредством регулировочного винта 16 и преодолевая силы трения на уплотнениях клапана, штока и поршня, а также усилие возвратной пружины 19 и толкателя 20, производят плавное перемещение клапана, открывая доступ сжатого газа в камеру 2 энергетического разделения, где образуется интенсивный круговой поток, приосевые слои которого охлаждаются и отводятся через диафрагму 4 в виде холодного потока низкого давления, а периферийные слои нагреваются и вытекают через кольцевой канал 3 и корпус соплового ввода к коллектору 9 подачи горячего потока в утилизирующий вихревой эжектор. При этом горячий поток, подогревая корпус соплового ввода за счет теплопроводности, предотвращает возможное обмерзание рабочих поверхностей запорно-регулирующей пары в процессе дросселирования. Кроме того, за счет эжектирующего действия горячего потока, истекающего из тангенциальных каналов 10, происходит не только компенсация потерь давления при движении холодного потока через диафрагму, но и понижение давления в приосевой зоне соплового ввода сжатого газа, что расширяет диапазон эффективной работы вихревой камеры в условиях дефицита входного давления сжатого газа. Кроме того, можно предположить, что при изменении величины давления сжатого газа (во всяком случае не более чем на 50%) не будет необходимости в поднастройке поджатия основной пружины для сохранения величины выходного давления с достаточной для потребителя точностью. В случае превышения давления Рвых сверх заданного и установленного путем соответствующей затяжки основной пружины 15 сила на клапан 5, действующая вниз, возрастет, при этом клапан опустится и сечение дросселирующих тангенциальных каналов 7 уменьшится, что вызовет понижение давления Рвых до заданной величины и наоборот.
Таким образом, учитывая вышеизложенное, можно утверждать о возможности выполнения поставленной задачи: повышение эксплуатационной надежности и точности регулирования за счет эффективного самообогрева и динамической уравновешенности запорной пары.
Формула изобретения
1. Регулятор давления газа прямого действия с самообогревом, содержащий наружный корпус, соосную с ним вихревую камеру энергетического разделения с кольцевым каналом отвода горячего потока и расположенный между диафрагмой и камерой узел регулирования сечения тангенциального соплового ввода сжатого газа в камеру, а также утилизирующий вихревой эжектор, расположенный непосредственно за диафрагмой на холодном конце камеры, отличающийся тем, что узел регулирования – клапан – выполнен в виде продольно перемещаемого штоком сервопривода полого цилиндра, со стороны диафрагмы взаимодействующего с седлом и выходным сечением соплового ввода сжатого газа посредством продольных тангенциальных каналов на стенке входного коллектора, охватывающего наружную стенку клапана, при этом канал отвода горячего потока в сторону холодного конца камеры и корпуса соплового ввода своим выходом подключен к коллектору подачи горячего потока в эжектор, выполненный в виде тангенциальных каналов в боковой стенке канала отвода холодного потока, а за каналом смещения эжектора и боковым отводом смешанного потока расположен упомянутый сервопривод регулятора с чувствительным элементом, например поршнем, нагруженным с одной стороны выходным давлением редуцируемого газа, а с другой – силой давления основной пружины или управляющего газа.
2. Регулятор по п.1, отличающийся тем, что основная пружина со стороны штока сервопривода установлена с возможностью взаимодействия ее с регулировочным винтом, перемещающим в осевом направлении наружный корпус, контактирующий с нижним концом основной пружины и охватывающий корпус сервопривода, закрепленный с корпусом регулятора, при этом поршень со стороны выходного давления и возвратной пружины оперт толкателем, с противоположного торца нагруженным давлением сжатого газа.
3. Регулятор по пп.1 и 2, отличающийся тем, что шток сервопривода состоит из двух частей: с одной стороны – шток поршня, соответственно закрепленный с поршнем, с другой стороны – шток клапана, с противоположной стороны за пределами корпуса регулятора упертый своим сферическим торцом в плоский торец штока поршня, причем шток клапана снабжен возвратной пружиной, опертой относительно внешнего торца корпуса регулятора.
4. Регулятор по п.1, отличающийся тем, что тангенциальные каналы соплового ввода и эжектора выполнены, например, прорезной фрезой соответствующих размеров таким образом, чтобы осевая протяженность каналов со стороны входа сжатого газа была по меньшей мере в полтора раза больше их протяженности со стороны выхода газа.
РИСУНКИ
MM4A – Досрочное прекращение действия патента СССР или патента Российской Федерации на изобретение из-за неуплаты в установленный срок пошлины за поддержание патента в силе
Дата прекращения действия патента: 23.09.2008
Извещение опубликовано: 20.08.2010 БИ: 23/2010
|
|