|
|
(21), (22) Заявка: 2003112385/28, 25.04.2003
(24) Дата начала отсчета срока действия патента:
25.04.2003
(45) Опубликовано: 10.11.2004
(56) Список документов, цитированных в отчете о поиске:
SU 1705789 A1, 15.01.1992. SU 1816322 A3, 15.05.1993. SU 151113 A1, 15.10.1989. SU 1813215 A3, 30.04.1993. RU 2020485 С1, 30.09.1994. RU 2033621 С1, 20.04.1995.
Адрес для переписки:
650043, г.Кемерово, ул. Красная, 6, к.204, КемГУ, патентный отдел
|
(72) Автор(ы):
Капишников А.В. (RU)
(73) Патентообладатель(и):
Закрытое акционерное общество “Горэлектросеть” (RU)
|
(54) ПРИБОР ДЛЯ ОПРЕДЕЛЕНИЯ ПРАВИЛЬНОСТИ ПОДКЛЮЧЕНИЯ ЭЛЕКТРИЧЕСКИХ СЧЕТЧИКОВ В ТРЕХФАЗНУЮ СЕТЬ
(57) Реферат:
Изобретение относится к электроизмерительной технике и предназначено для контроля подсоединения к трехфазной четырехпроводной сети электрических счетчиков. Прибор содержит корпус, светодиодный индикатор, щупы для подключения к клеммам фазы А счетчика и к клеммам фаз В и С, датчик тока, электронную схему и зажим для подключения к нулевой клемме счетчика. Электронная схема содержит канал измеряемого сигнала с щупом для подключения к фазам В и С, а также датчиком тока, канал опорного сигнала с щупом для подключения к фазе А и датчиком тока, канал индикации и блок питания. При этом канал измеряемого сигнала и канал опорного сигнала параллельно подсоединены к каналу индикации. Изобретение обеспечивает возможность проверки без снятия напряжения и разрыва токовых цепей в широком диапазоне протекающих через счетчик токов. 6 з.п. ф-лы, 4 ил.

Изобретение относится к электроизмерительной технике и предназначено для контроля подсоединения к трехфазной четырехпроводной сети электрических счетчиков как прямого включения, так и включаемых с помощью трансформаторов тока. Для работы прибора использован принцип измерения фазовых углов векторов напряжений фаз В и С и векторов тока фаз А, В и С относительно опорного вектора напряжения фазы А.
Среди методов определения правильности включения трехфазных электросчетчиков наиболее перспективным является метод измерения фазовых углов между векторами подводимых к счетчику напряжений и токов. Реализовать этот метод можно, например, путем снятия векторных диаграмм с помощью ваттметра (Г.П. Минин. Измерение электрической энергии. – Энергия, 1974, с.48 и 75).
Можно измерить фазовые углы с помощью достаточно широко распространенного прибора ВАФ-85 или другого выпускаемого промышленностью прибора – фазометра.
Применение ваттметров требует квалифицированного персонала, значительных трудозатрат при выполнении измерений и построении векторных диаграмм. Кроме того, подключение прибора требует разрыва токовых цепей, следовательно, должно проводиться при снятом напряжении. Применение прибора ВАФ-85 менее трудоемко, но также требует высокой квалификации персонала. Кроме того, прибор имеет значительные габариты и вес. А также следует отметить, что точность определения фазовых углов этими приборами для целей индикации правильности подключения электрических счетчиков к сети избыточна.
Известен электронный прибор для автоматической корректировки неправильного подключения многофазной системы к сети (патент США №5652505, G 01 R 19/00, G 01 R 21/06, опубл. 19.07.97), основанный на измерении тока и напряжения и определении совпадения или несовпадения их по фазе. Условие совпадения по фазе принимается за правильное подключение и, в соответствии с этим условием производится автоматическая корректировка при неправильном подключении. Прибор включает в себя ряд электроизмерительных приборов, имеет сложную схему и предназначен для промышленных электросистем при подсоединении их к сети.
Более рационально иметь прибор-индикатор, показывающий положение вектора тока или напряжения в определенной зоне либо вне ее.
Наиболее близким решением, реализующим данный принцип, является прибор для определения правильности включения электрических счетчиков в трехфазную сеть через измерительные трансформаторы (а.с. СССР №123252, G 01 R 11/24, опубл. в 1959 г.).
Прибор представляет собой трехфазный фазометр с круговой шкалой, на которой штриховкой указаны зоны, соответствующие правильному включению счетчика. Средством индикации служит стрелка, вращающаяся по кругу.
Применение такого прибора не требует высокой квалификации персонала, информация отображается достаточно наглядно. Но к недостаткам прибора следует отнести необходимость разрыва токовых цепей при подключении прибора и пересоединении токовых концов с фазы на фазу, что вынуждает снимать напряжение всякий раз при выполнении измерений. Кроме того, прибор не приспособлен для проверки счетчиков прямого включения, а также габариты прибора значительны.
Основной задачей, на решение которой направлено заявляемое изобретение, является возможность проверки правильности подключения трехфазных электросчетчиков без снятия напряжения и разрыва токовых цепей в широком диапазоне протекающих через счетчик токов при минимальных затратах труда и времени. Задачами также являются расширение функциональных возможностей прибора и большее удобство его использования.
Поставленные задачи решаются следующим образом.
В приборе для определения правильности подключения электрических счетчиков в трехфазную сеть, содержащем фазометр с индикаторной круговой шкалой, разбитой на участки, соответствующие правильному и неправильному включению счетчика, и индикатор, предлагается индикаторную круговую шкалу выполнить в виде панели, на которой в качестве индикатора размещены по кругу индикаторные светоэлементы, отображающие участки шкалы; в прибор ввести потенциальный щуп для подключения к клемме напряжения фазы А счетчика, потенциальный щуп для подключения к клеммам В и С счетчика, зажим для подключения к нулевой клемме напряжения счетчика, датчик тока для съема сигнала токовых цепей; а также для определения правильности подключения счетчика ввести электронную схему, содержащую: канал измеряемого сигнала, включающий в себя упомянутые щуп для подключения к клеммам напряжения фаз В и С счетчика и датчик тока, подсоединенные к усилителю-ограничителю, соединенному с последовательно соединенными компаратором, дифференцирующей цепью и диодом; канал опорного сигнала, включающий в себя упомянутые щуп для подсоединения к клемме напряжения фазы А счетчика и регулятор фазы, подсоединенные к компаратору, соединенному с последовательно соединенными дифференцирующей цепью и диодом; при этом выходы от диодов обоих каналов параллельно подсоединены к входу триггера канала индикации, включающего последовательно соединенные триггер, интегрирующую цепь, аналого-цифровой преобразователь и индикатор в виде светоэлементов, а также электронная схема выполнена с питанием от блока питания, подсоединяемого с помощью щупа к клемме напряжения фазы А счетчика и с помощью зажима к нулевой клемме напряжения счетчика.
При этом индикаторные светоэлементы в количестве шести размещены на панели со смещением каждого относительно друг друга на 60° и в качестве индикаторного светоэлемента использован светодиод.
И панель индикатора содержит дополнительный индикаторный светоэлемент, помещенный в центре круговой шкалы и соединенный с датчиком тока, подсоединенным к усилителю-ограничителю канала измеряемого сигнала электронной схемы.
А также в качестве регулятора фазы канала опорного сигнала электронной схемы использован потенциометр с проградуированным лимбом.
Дополнительно в прибор введены элементы схемы подсветки: соединенные между собой лампочка, элементы питания и выключатель, а также линза.
При этом зажим для подключения к нулевой клемме напряжения счетчика выполнен в виде зажима “крокодил”.
Прибор предполагается выполнить в корпусе в форме “пистолета”, в котором в верхней части впереди размещен щуп для подключения к клеммам напряжения фаз В и С счетчика, конструктивно объединенный с датчиком тока, и под ними выполнена линза подсветки, а на обратной стороне верхней части размещена индикаторная панель с круговой шкалой, на которой размещены по кругу шесть светодиодов и один светодиод в центре, а в нижней части на “рукоятке пистолета” впереди под крышкой внутри корпуса размещены элементы питания, панель с электронными элементами и элементы подсветки, из которых выключатель конструктивно объединен с регулятором фазы – потенциометром с лимбом, частично выступающим из корпуса с задней стороны; при этом щуп для подключения к клемме напряжения фазы А счетчика и зажим для подключения к нулевой клемме выполнены выносными на гибких проводниках, выходящих из основания корпуса.
Основная сущность изобретения заключается в следующем. Для проверки цепей напряжения измеряются фазовые углы между вектором напряжения фазы А и векторами напряжений фаз В и С; для проверки токовых цепей измеряются фазовые углы между вектором напряжения фазы А и векторами токов фаз А, В и С. Диапазон измерений от 0 до 360° разбит на шесть зон по 60°. При измерении положение вектора контролируемого тока или напряжения относительно опорного вектора напряжения фазы А в той или иной зоне индицируется зажиганием соответствующего светодиода на индикаторе. Эти светодиоды в количестве шести расположены на индикаторе по кругу. Седьмой светодиод расположен на индикаторе в центре. Он служит для оценки достаточной величины сигнала от токового датчика для нормальной работы прибора.
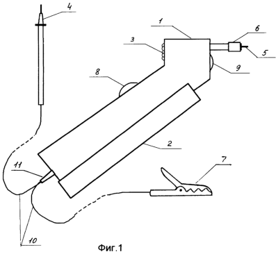
Конструкция прибора показана на чертежах:
фиг.1 – вид прибора сбоку;
фиг.2 – вид сзади;
фиг.3 – разрез вида сбоку;
фиг.4 – электронная блок-схема прибора.
Прибор содержит корпус 1 в виде “пистолета” с крышкой 2 отсека питания. На задней части корпуса 1 вверху расположены индикаторные светодиоды 3. Для подключения к клемме напряжения фазы А счетчика в приборе имеется потенциальный щуп 4, а к клеммам фаз В и С – потенциальный щуп 5. Со щупом 5 конструктивно объединен датчик 6 тока. Для подключения прибора к нулевой клемме счетчика служит зажим 7 типа “крокодил”. Из прорези в корпусе 1 выступает проградуированный в градусах лимб 8 регулятора фазы, конструктивно объединенного с выключателем подсветки. В передней части корпуса 1 под щупом 5 и токовым датчиком 6 расположена линза 9 подсветки. Щуп 4 и зажим 7 соединяются с электронной схемой прибора с помощью гибких проводников 10, пропущенных у основания корпуса 1 сквозь резиновый чулок 11. Внутри корпуса 1 расположены элементы 12 питания подсветки, лампочка 13 подсветки и печатная плата 14 с электронными компонентами схемы.
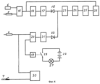
Электронная блок-схема (фиг.4) содержит канал измеряемого сигнала, включающий в себя щуп 5 и токовый датчик 6, подсоединенные к усилителю-ограничителю 15, а также компаратор 16, дифференцирующую цепь 17 и диод 18. Канал опорного сигнала включает в себя щуп 4 и регулятор фазы 19, подсоединенные к компаратору 20, а также дифференцирующую цепь 21 и диод 22. Оба канала параллельно подсоединены к каналу индикации, включающему: триггер 23, интегрирующую цепь 24, аналого-цифровой преобразователь 25 и светодиодный индикатор 26.
Схема подсветки содержит лампочку 27, батарею 28 питания и выключатель 29 питания, конструктивно связанный с регулятором 19 фазы. Электронная схема прибора питается от блока 30 питания, напряжение на который подается через щуп 4 и зажим 7.
Прибор работает следующим образом. Зажим 7 присоединяется к “нулю” электросчетчика. Через щуп 4 напряжение фазы А поступает в блок 30 питания и на вход компаратора 20. На другой вход компаратора 20 подается опорный уровень с регулятора 19 фазы, в качестве которого служит потенциометр. Импульсы с выхода компаратора 20 через дифференцирующую цепь 21 и диод 22 подаются на вход триггера 23, устанавливая его в состояние “1”. Исследуемый сигнал через щуп 5 или с помощью токового датчика 6 подается на усилитель-ограничитель 15 и далее на компаратор 16. Импульсы с компаратора 16 через дифференцирующую цепь 17 и диод 18 подаются на триггер 23, возвращая его в состояние “0”. Таким образом, триггер 23 постоянно переключается из одного состояния в другое. На его выходе присутствует импульсная последовательность, скважность которой зависит от угла между векторами сравниваемых сигналов. Эта последовательность с помощью дифференцирующей цепи 24 преобразуется в пропорциональной скважности постоянный уровень напряжения, которое поступает на вход аналого-цифрового преобразователя 25 (АЦП). АЦП 25 преобразует входное напряжение в позиционный код, управляющий работой светодиодного индикатора 26. На индикаторе 26 загорается один из шести светодиодов, расположенных по окружности, сигнализируя о том, что вектор исследуемой величины находится в данной 60-градусной зоне.
При правильном подключении счетчика при тестировании фаз в порядке А, В, С светодиоды будут загораться в зонах 0°, 120° и 240° соответственно. Эти зоны отмечены на индикаторе штриховкой. При неправильном подключении счетчика светодиоды будут загораться либо в другом порядке, либо в других зонах (60°, 180°, 300°).
Седьмой светодиод, расположенный в центре индикатора 26, подключен к выходу усилителя-ограничителя 15. При определенном уровне сигнала яркость свечения увеличивается, достигая максимума, когда форма сигнала на выходе усилителя-ограничителя 15 приближается к меандру. Таким образом, по яркости свечения светодиода можно судить о достаточности уровня входного сигнала для нормальной работы схемы, что важно при исследовании токовых цепей.
Если нагрузка исследуемых цепей чисто активная, векторы исследуемых сигналов располагаются примерно в середине своих зон. При активно-индуктивном характере нагрузки вектор может “отстать” больше чем на 30° и перейти в следующую зону, что может быть истолковано как неправильное подключение. Для таких случаев предусмотрен регулятор 19 фазы – потенциометр с проградуированным лимбом 8. С его помощью можно искусственно сдвинуть вектор на известное число градусов в сторону опережения, что облегчает анализ в подобных случаях. Кроме того, поворотом лимба 8 регулятора 19 включается выключатель 29 питания подсветки, что удобно при работе в затемненных местах.
Особенностью прибора является применение в качестве токового датчика 6 катушки индуктивности с разомкнутым магнитопроводом. Это позволило создать малогабаритную конструкцию и повысить удобство в работе: для снятия токового сигнала нужно просто ввести датчик 6 между токовыми проводами данной фазы на вводе их в счетчик. Следует отметить, что сигнал на выходе датчика отстает от исследуемого тока на 90°. Поэтому приняты специальные меры для того, чтобы векторы тока и напряжения одноименных фаз попадали в одноименные зоны. С этой целью сигналы с токового датчика 6 и со щупа 5 попадают на разные входы (инверсный и прямой) усилителя-ограничителя 15. Кроме того, сигнал со щупа 5 дополнительно сдвигается вперед примерно на 90° с помощью последовательно включенного конденсатора (на схеме не показан).
Таким образом, разработан ручной электронный прибор – фазотестер для проверки правильности подключения к сети электрических счетчиков, в том числе бытовых. Прибор не требует разрыва токовых цепей при замерах, следовательно, не нужно отключать электроустановку, за счет чего экономится время измерений. Быстрота и наглядность представления информации позволяют использовать прибор персоналу любой квалификации. Прибор обеспечивает безопасность и простоту подключения: зажим “крокодил” подсоединяется к нулевой клемме, прибор удерживается правой рукой, а щуп 4 присоединяется к клемме напряжения фазы А левой рукой. Малые габариты и вес, а также форма прибора создают дополнительные удобства в работе с ним.
Кроме того, наличие проградуированного регулятора фазы расширяет функциональные возможности прибора (оценка угла сдвига фаз и cos , повышение достоверности тестирования фаз в цепях с активно-реактивной нагрузкой).
Формула изобретения
1. Прибор для определения правильности подключения электрических счетчиков в трехфазную сеть, содержащий фазометр с индикаторной круговой шкалой, разбитой на участки, соответствующие правильному и неправильному включению счетчика, и индикатором, отличающийся тем, что индикаторная круговая шкала выполнена в виде панели, на которой в качестве индикатора размещены по кругу индикаторные светоэлементы, отображающие участки шкалы, в него введены потенциальный щуп для подключения к клемме напряжения фазы А счетчика, потенциальный щуп для подключения к клеммам напряжения фаз В и С счетчика, зажим для подключения к нулевой клемме напряжения счетчика, датчик тока для съема сигнала токовых цепей, а также для определения правильности подключения счетчика введена электронная схема, содержащая канал измеряемого сигнала, включающий в себя упомянутые щуп для подключения к клеммам напряжения фаз В и С счетчика и датчик тока, подсоединенные к усилителю-ограничителю, соединенному с последовательно соединенными компаратором, дифференцирующей цепью и диодом, канал опорного сигнала, включающий в себя упомянутые щуп для подсоединения к клемме напряжения фазы А счетчика и регулятор фазы, подсоединенные к компаратору, соединенному с последовательно соединенными дифференцирующей цепью и диодом, при этом выходы от диодов обоих каналов параллельно подсоединены к входу триггера канала индикации, включающего последовательно соединенные триггер, интегрирующую цепь, аналого-цифровой преобразователь и упомянутый индикатор в виде светоэлементов, а также электронная схема выполнена с питанием от блока питания, подсоединяемого с помощью упомянутого щупа к клемме напряжения фазы А счетчика и с помощью упомянутого зажима к нулевой клемме напряжения счетчика.
2. Прибор по п.1, отличающийся тем, что индикаторные светоэлементы в количестве шести размещены на панели со смещением каждого относительно друг друга на 60°, при этом в качестве индикаторного светоэлемента использован светодиод.
3. Прибор по п.1 или 2, отличающийся тем, что панель индикатора содержит дополнительный индикаторный светоэлемент, помещенный в центре круговой шкалы и соединенный с датчиком тока, подсоединенным к усилителю-ограничителю канала измеряемого сигнала электронной схемы.
4. Прибор по любому из пп.1-3, отличающийся тем, что в качестве регулятора фазы канала опорного сигнала электронной схемы использован потенциометр с проградуированным лимбом.
5. Прибор по любому из пп.1-4, отличающийся тем, что в него введены элементы подсветки: соединенные между собой лампочка, элементы питания и выключатель, а также линза.
6. Прибор по любому из пп.1-5, отличающийся тем, что зажим для подключения к нулевой клемме напряжения счетчика выполнен в виде зажима “крокодил”.
7. Прибор по любому из пп.1-6, отличающийся тем, что он выполнен в корпусе в форме “пистолета”, в котором в верхней части впереди размещен щуп для подключения к клеммам напряжения фаз В и С счетчика, конструктивно объединенный с датчиком тока, и под ними выполнена линза подсветки, а на обратной стороне верхней части размещена индикаторная панель с круговой шкалой, на которой размещены по кругу шесть светодиодов и один светодиод в центре, а в нижней части на “рукоятке пистолета” впереди под крышкой внутри корпуса размещены элементы питания, панель с электронными элементами и элементы подсветки, из которых выключатель конструктивно объединен с регулятором фазы – потенциометром с лимбом, частично выступающим из корпуса с задней стороны, при этом щуп для подключения к клемме напряжения фазы А счетчика и зажим для подключения к нулевой клемме выполнены выносными на гибких проводниках, выходящих из основания корпуса.
РИСУНКИ
MM4A – Досрочное прекращение действия патента СССР или патента Российской Федерации на изобретение из-за неуплаты в установленный срок пошлины за поддержание патента в силе
Дата прекращения действия патента: 26.04.2005
Извещение опубликовано: 20.02.2007 БИ: 05/2007
|
|