|
|
(21), (22) Заявка: 2001117710/28, 25.06.2001
(24) Дата начала отсчета срока действия патента:
25.06.2001
(43) Дата публикации заявки: 10.06.2003
(45) Опубликовано: 10.11.2004
(56) Список документов, цитированных в отчете о поиске:
RU 2126533 C1, 20.02.1999. RU 2039345 С1, 09.07.1995. SU 1500887 С1, 15.08.1989. RU 2098783 С1, 10.12.1997. SU 1744534 А1, 30.06.1992. US 3880008, 29.04.1975. RU 2179710 С2, 20.02.2002.
Адрес для переписки:
375009, г.Ереван, ул. Теряна, 105, ГИУА
|
(72) Автор(ы):
Варданян Владимир Рубенович (AM), Варданян Вардан Владимирович (AM), Варданян Норайр Владимирович (AM)
(73) Патентообладатель(и):
Государственный инженерный университет Армении (AM)
|
(54) СПОСОБ РЕГУЛИРОВАНИЯ ЕМКОСТНОГО ДАТЧИКА ДАВЛЕНИЯ
(57) Реферат:
Изобретение относится к измерительной технике, а именно к емкостным датчикам абсолютного давления, и может быть использовано в производстве датчиков и при их эксплуатации для определения высоты летательных аппаратов. Согласно предлагаемому способу в приемной камере создают давление, соответствующее начальному режиму при градуировке, устанавливают значения емкостей соответствующими значениям частот автогенераторов индивидуальным регулированием последних, затем в приемной камере создают давление, отличающееся от атмосферного, получаемую разностную частоту автогенераторов сравнивают с соответствующим для данного давления значением на градуированной характеристике и, только при расхождении последних, производят корректировку характеристики. Все действия осуществляются в считанные секунды и не отражаются на других операциях. При каждой проверке имеются возможные уточнения величины как атмосферного, так и заданного давлений при помощи соответствующей специальной корректировки (например, небольшая корректировка объемов). Технический результат – повышение точности измерений. 4 ил.

Изобретение относится к измерительной технике, а именно к емкостным датчикам абсолютного давления, и может быть использовано в производстве датчиков и при их эксплуатации для определения высоты летательных аппаратов.
Известен способ сборки и настройки пьезорезонансного датчика давления [см. патент РФ N 1744534], содержащего установленное в корпусе коромысло на упругой опоре, к плечам которого подсоединены чувствительные элементы и пьезоэлементы, где перед подсоединением пьезоэлементов упругую опору предварительно растягивают путем одновременного поджатия концов коромысла, а после подсоединения пьезоэлементов к ним подключают автогенераторы и при постепенном снижении поджатия контролируют плоскопараллельность смещения коромысла сравнением частот автогенераторов.
К недостаткам такого датчика можно отнести отсутствие “тонкого” регулирования, кроме того, после сборки и настройки датчика исключается возможность его дальнейшей настройки при эксплуатации для устранения возможных погрешностей. Наличие вакуума внутри датчика усложняет технологию его изготовления. Возникает дополнительная сложность при изготовлении датчика, связанная с вертикальным расположением хрупких пьезоэлементов, параллельных оси опоры, и при действии виброударных нагрузок. Возникают также трудности, связанные со свариванием дополнительных прокладок с обеих сторон опоры для укрепления прочности. К недостаткам относится также недостаточная чувствительность датчика, несмотря на использование системы умножения трансформации действующей силы.
Известен также способ настройки емкостного датчика давления [см. патент РФ № 1500887] – прототип, содержащего корпус, две приемные камеры с мембранами, жесткие центры которых соединены с центрами дискообразных подвижных электродов, размещенных на обоих плечах коромысла, снабженного упругим шарниром, закрепленным на опорном элементе, выполненном в виде двухсторонне вырезанных стержней с двух сторон коромысла и закрепленных на верхней крышке корпуса, где установлена система регулирования плоско-параллельного перемещения коромысла с обеспечением требуемого одинакового зазора между подвижными и неподвижными электродами дифференциального емкостного датчика.
Регулирование емкостного зазора производят деформацией тонких стенок, образованных между двумя разносторонне выточенными кольцевыми пазами, торцевая часть которых соединена с одним из концов болта с мелкой резьбой, второй конец болта свободно проходит через отверстие открытой рамки, закрепленной на крышке, а основание открытой рамки с обеих сторон охвачено стягивающими гайками. Кроме того, регулирование емкостного зазора в процессе сборки производится перемещением конца консоли неподвижных электродов путем передвижения второго болта с мелкой резьбой, один конец которого закреплен на конце консоли, а второй конец свободно проходит через отверстие основания открытой рамки, закрепленной на корпусе и охваченной стягивающими гайками с обеих сторон основания. Путем передвижения болта получают необходимую разностную частоту автогенераторов.
Недостатки такого датчика и способа его регулирования связаны с отсутствием индивидуального регулирования каждой емкости дифференциального датчика в отдельности. При передвижении конца консоли одна емкость изменяется намного больше, чем другая, с нарушением возможности “тонкого” регулирования. Для получения высокой термостабильности емкостей требуется изготовление болта из такого же материала, что и корпус. Описываемый способ регулирования не обеспечивает микрометрическое передвижение емкостных зазоров и требует намного больше времени настройки. Применение построечных конденсаторов или варикапов нарушает возможности высокой термостабильности. Кроме того, наружная система регулирования емкостных зазоров не обеспечивает микрометрическое перемещение электродов. Этот способ регулирования позволяет только плоско-параллельное передвижение коромысла с одинаковыми изменениями обеих емкостей, датчик громоздок, имеет большой вес.
Целью предлагаемого способа регулирования емкостного датчика является повышение точности измерений в процессе эксплуатации путем корректировки градуировочной характеристики, улучшение термостабильности, расширение пределов измерения и облегчение настройки.
Указанная цель достигается тем, что по способу регулирования емкостного датчика давления с использованием градуировочной характеристики, включающему приведение значения разностной частоты автогенераторов к значению, соответствующему начальному режиму градуировочного состояния, и последующую градуировку значения разностной частоты автогенераторов, согласно изобретению в приемной камере создают давление, сответствующее начальному режиму градуировки, устанавливают значения емкостей, соответветствующие значениям частот автогенераторов путем перемещения полосовой балки, а приближением подвижного электрода к неподвижному увеличивают одну емкость, уменьшая при этом другую, затем в приемной камере создают давление, отличающееся от атмосферного, получаемую разностную частоту автогенераторов сравнивают с соответствующим для данного давления значением на градуировочной характеристике и при расхождении последних производят корректировку градуировочной характеристики.
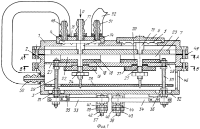
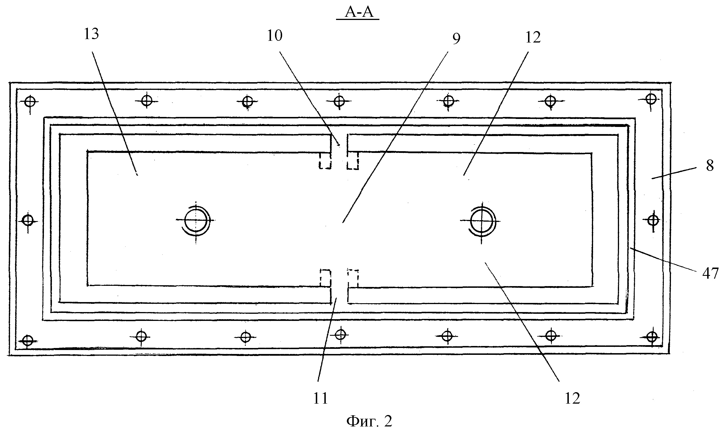
Сущность изобретения поясняется чертежами, где на фиг.1 изображен датчик давления в разрезе; на фиг.2 представлен разрез А-А фиг.1; на фиг.3 представлен разрез В-В фиг.1; а на фиг.4 представлена блок-схема измерения и регулирования.
Корпус датчика состоит из трех частей: верхняя крышка 1, средняя часть 2 для закрепления неподвижных электродов, нижняя крышка 3. Крышка 1 снабжена отверстиями для закрепления мембран 4 и 5 с жесткими центрами в приемных камерах. Приемная камера мембраны 5 наглухо закрыта колпаком 6. Крышка 1 оперта на плоской электродной раме 7. Неподвижная рама 8 (см.фиг.2) выполнена заодно с полосковым коромыслом 9 внутри ее, с переходом коромысла 9 в раму 8 через элементы 10 и 11 в виде перемычек. Коромысло 9 на концах снабжено прямоугольными электродами 12 и 13, расположенными слева и справа от шеек 10 и 11. Центры прямоугольных электродов 12 и 13 через соответствующие штоки 14 и 15 соединены с мембранами 4 и 5, с жесткими центрами. Мембрана 4 с жестким центром в верхней части снабжена колпаком 16 с центральным штуцер-краном 17. Коромысло 9 вдоль средней части укреплено полосовыми ребрами со стороны мембран с жесткими центрами (не отражено). Ко дну средней части корпуса 2 через изоляционные прокладки 18-21 закреплены неподвижные прямоугольные электроды 22 и 23, штоки 24 и 25 которых на концах снабжены отверстиями для подсоединения к печатной плате 26 схемы измерения. Дно средней части 2 выполнено в форме полосовой балки фрезеровкой (см.фиг.3) заодно с частью корпуса. Концы балки выполнены в форме перемычек 27 и 28 с уменьшенным сечением по отношению к сечению балки. Концы средней части балки соединены болтами 29 и 30 с мембранами 31 и 32 с жестким центром, размещенными на нижней крышке 3. Выступающие за нижнюю крышку 3 концы герметично закрепленных болтов 29 и 30 соединены с концами неравноплечих коромысел 33 и 34, опертых на упругие шарниры 35 и 36 в виде двухсторонне вырезанных полосок, обхватывающих коромысла с обеих сторон. Противоположные концы коромысел 33 и 34 соединены болтами 37 и 38, имеющими мелкую резьбу и свободно проходящими через отверстия открытых рамок 39 и 40. Рамки 39 и 40 выполнены путем двухстороннего высечения цилиндрических стаканов с кольцевыми буртами. Концы болтов 37 и 38 охвачены стягивающими гайками 41, 42, 43 и 44. При сборке датчика после шлифовки соединяемых поверхностей корпуса 1 и 2 и неподвижной рамки 7 для получения необходимого зазора между электродами 12, 13 и 22, 23 используют медно-фольговую прокладку 45 требуемой толщины. К нижней крышке 3 прикреплен гермовод 46 (показано только отверстие). Для герметичности датчика используют резиновые нити соответствующего сечения для размещения в канавках 47 и 48 (фиг.2 и 3). При необходимости по периметрам примыкающих участков корпуса производят электронно-лучевую сварку.
Для возможности установления начального режима градуировки датчика крышка камеры мембраны 4 снабжена штуцер-краном 49, соединенным газоотводной трубкой с штуцер-краном 50, размещенным в торцевой части корпуса 3. Для получения градуировочной точки заданного давления на мембранной крышке 16 размещен штуцер-кран 51, соединенный газоотводной трубкой 52 с дополнительным объемом (на фиг.1 не отражено).
Емкости C1 и С2 (см.фиг.4), образованные между электродами 13, 22 и 12, 23, соответственно входят в схему автогенераторов 53 и 54, а последние через соответствующие эмиттерные повторители 55 и 56 через переключатель 57 соединены с частотомером 58, с которого и снимают показания частот f1 и f2. Кроме этого, автогенераторы 53 и 54 соединены со смесителем 59, фильтром разностной частоты 60, усилителем разностной частоты 61, соединенным с переключателем 57, который соединен с частотомером 58.
Предлагаемый способ регулирования осуществляют следующим образом.
Давление Р через мембрану 4 с жестким центром передается к полосковому коромыслу, имеющему подвижный электрод 13. При приближении электрода 13 к неподвижному электроду 22 увеличивается емкость C1 и при этом второй подвижный электрод 12 коромысла удаляется от неподвижного электрода 23, уменьшая при этом емкость С2. При полной симметричности изменение обеих емкостей равно ± С. По значению разностной частоты судят о величине давления. Изменение емкостей C1 и С2 осуществляют индивидуально, перемещением полосовой балки при помощи стягивающих гаек 41, 42 и 43, 44, обхватывающих открытые рамки 39 и 40 соответственно. Измеряют частоты автогенераторов 53 и 54 – f1 и f2, сравнивают эти показания с предыдущими значениями частот автогенераторов и только при несовпадении значений производят индивидуальное изменение емкостей C1 и С2. Изменение емкостей производят следующим образом: сначала обхват гайками 41 и 42 рамки 39 ослабляют и только после этого производят затягивание гаек, при этом перемещение конца коромысла 33 через опору 35 передается мембране 31, регулирование производят до тех пор, пока частота f1 будет приравнена к соответствующему значению частоты данного автогенератора. Затем аналогичным образом регулируют емкость С2. После регулирования получаемое значение разностной частоты будет равно первоначальному значению при градуировке, т.е. получена начальная точка градуировочной характеристики.
Если же установление первоначального режима градуировки производится в полете, тогда необходимо над мембраной 4 установить атмосферное давление, для этого закрывают штуцер-краны 17 и 51 открывают штуцер-краны 49 и 50, и устанавливают над мембраной атмосферное давление. После установления начальной точки градуировочной характеристики производят сверку второй точки на заданное давление (например, половины атмосферного давления). Для этого закрывают штуцер краны 17, 49 и 50 и открывают штуцер-кран 51, который через газоотвод 59 связан с дополнительной камерой, давление в которой устанавливают равным заданному, после чего снимают значение разностной частоты. Если при сравнении полученного значения с первоначальными данными получают расхождение последних, то уже имея начальную точку градуировочной характеристики, мы строим новую корректированную градуировочную характеристику.
Все вышеуказанные действия осуществляются в считанные секунды и не отражаются на других операциях. При каждой проверке имеются возможные уточнения величины как атмосферного, так и заданного давления при помощи соответствующей специальной корректировки (например, небольшая корректировка объемов). Изменением конструкции коромысла можно длину обоих коромысел выполнить одинаковыми по всей длине датчика и получить изменение емкостного зазора в микронах или долями микрон.
Формула изобретения
Способ регулирования емкостного датчика давления с использованием градуировочной характеристики, включающий приведение значения разностной частоты автогенераторов к значению, соответствующему начальному режиму градуировочного состояния, и последующую регулировку значения разностной частоты автогенераторов, отличающийся тем, что в приемной камере создают давление, соответствующее начальному режиму градуировки, устанавливают значения емкостей соответствующими значениям частот автогенераторов путем перемещения полосовой балки, а приближением подвижного электрода к неподвижному увеличивают одну емкость, уменьшая при этом другую, затем в приемной камере создают давление, отличающееся от атмосферного, получаемую разностную частоту автогенераторов сравнивают с соответствующим для данного давления значением на градуировочной характеристике и при расхождении последних производят корректировку градуировочной характеристики.
РИСУНКИ
MM4A Досрочное прекращение действия патента Российской Федерации на изобретение из-за неуплаты в установленный срок пошлины за поддержание патента в силе
Дата прекращения действия патента: 14.06.2004
Извещение опубликовано: 20.09.2006 БИ: 26/2006
TK4A – Поправки к публикациям сведений об изобретениях в бюллетенях “Изобретения (заявки и патенты)” и “Изобретения. Полезные модели”
Напечатано: Дата досрочного прекращения действия 14.06.2004
Следует читать: Дата досрочного прекращения действия 26.06.2003
Номер и год публикации бюллетеня: 26-2006
Код раздела: MM4A
Извещение опубликовано: 10.10.2006 БИ: 28/2006
|
|