|
|
(21), (22) Заявка: 2002108499/02, 04.04.2002
(24) Дата начала отсчета срока действия патента:
04.04.2002
(43) Дата публикации заявки: 10.11.2003
(45) Опубликовано: 10.11.2004
(56) Список документов, цитированных в отчете о поиске:
ЯВОЙСКИЙ В.И. и др. Металлургия стали. – М.: Металлургия, 1983, с.444. SU 94983 A, 24.06.1959. SU 1323841 A1, 15.07.1987. RU 94030161 A1, 27.06.1996. RU 2003019 C1, 15.11.1993. US 2548908 A, 17.04.1951.
Адрес для переписки:
109028, Москва, Покровский б-р, д.3, офис 428 “Агентство”Ермакова, Столярова и партнеры”, пат.пов. Е.А.Ермаковой
|
(72) Автор(ы):
ШУМАХЕР Эвальд А. (DE), БРЕННЕР Хуберт (AT), ШУМАХЕР Эдгар Э. (DE), ВЕССЕЛИ Иоган (AT), Туровский Владимир (LV), Купшис Эгилс (LV), Хлопонин В.Н. (RU), Зинковский И.В. (RU)
(73) Патентообладатель(и):
Техком Импорт Экспорт ГмбХ (DE)
(74) Патентный поверенный:
Ермакова Елена Анатольевна
|
(54) СОЕДИНЕНИЕ ВЕРХНЕГО СТРОЕНИЯ МАРТЕНОВСКОЙ ПЕЧИ С НИЖНИМ ЕЕ СТРОЕНИЕМ
(57) Реферат:
Изобретение относится к черной металлургии, в частности к производству стали в мартеновских печах. Технический результат – снижение засорения регенераторов мартеновской печи и улучшение тепловой работы печи за счет повышения степени выпадения продуктов сгорания из отходящих газов в шлаковике печи. Устройство для соединения верхнего и нижнего строений мартеновской печи содержит два идентичных и симметричных относительно строения печи канала, соединяющих расположенные в верхнем строении печи головки с расположенными в нижнем строении печи шлаковиками, соединенными с регенераторами. Каждый канал выполнен наклонным относительно вертикальной оси в продольной плоскости мартеновской печи с образованием угла с горизонтальной плоскостью и в перпендикулярной ей плоскости с образованием угла <90° с горизонтальной плоскостью с удлинением шлаковика в противоположную от регенератора сторону на величину, определяемую величиной угла . 2 ил.

Изобретение относится к производству стали в черной металлургии в мартеновских печах.
Известно, что мартеновская печь состоит из верхнего строения, где расположена ванна и головки печи и плавится металл, и нижнего строения печи, содержащего шлаковик, регенераторы, борова, реверсивные и регулирующие клапаны.
Известно, что верхнее строение мартеновской печи соединяется с нижним с помощью двух идентичных и симметричных вертикальных каналов, который служит для подвода в головку печи подогретого воздуха и отвода продуктов сгорания (см., например, В.И.Явойский и др. Металлургия стали. – М.: Металлургия, 1983, с.444).
Известное техническое решение по существенным признакам наиболее близко предлагаемому, поэтому принято за прототип.
Основной недостаток известного технического решения состоит в том, что оно не обеспечивает существенного выпадения пыли (продуктов сгорания) в шлаковике, что приводит к быстрому засорению регенераторных ячеек, к снижению тепловых возможностей печи, к низкой ее работоспособности.
Предлагаемое соединение верхнего и нижнего строений мартеновской печи свободно от указанного недостатка. Использование этого соединения позволяет существенно повысить выпадение продуктов сгорания из отходящих газов в процессе их прохождения шлаковика, тем самым снизить засорение регенератора и на этой основе повысить тепловую возможность печи (увеличить межремонтный срок и постоянство тепловой мощности печи в межремонтный период), т.е. в целом повысить работоспособность и технико-экономические показатели работы печи.
Перечисленные технические результаты достигаются за счет того, что устройство для соединения верхнего строения мартеновской печи с нижним ее строением, содержащее симметричные относительно строения печи два идентичных канала, соединяющих головки печи, расположенные в верхнем строении печи, со шлаковиками в нижнем строении печи, согласно предложению каждый канал выполнен с двойным отклонением от вертикали: в продольной плоскости печи с образованием угла с горизонтальной плоскостью и в перпендикулярной ей плоскости с образованием угла <90° с горизонтальной плоскостью, при этом в последнем случае шлаковик удлинен в сторону, противоположную от регенератора, на величину, определяемую углом этого отклонения.
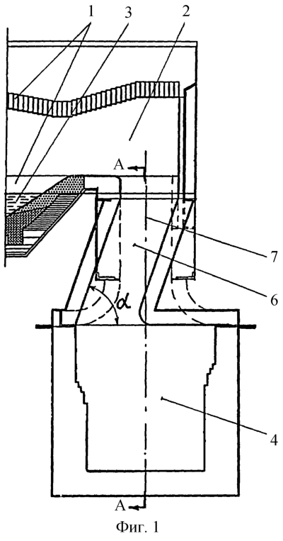
Соединение верхнего и нижнего строения мартеновской печи пояснено схематическими чертежами.
На фиг.1 приведен продольный разрез мартеновской печи; на фиг.2 – поперечный разрез А-А на фиг.1 части нижнего строения мартеновской печи.
Мартеновская печь имеет верхнее строение, содержащее ванну печи со сводом 1 и головку печи 2. В ванне печи располагается выплавляемая сталь 3. Нижнее строение мартеновской печи содержит шлаковик 4, регенератор (его расположение указано на фиг.2 стрелкой 5), борова, реверсивные и регулирующие клапаны. Последние на фиг. не показаны, т.к. не меняют существа технического предложения.
Верхнее и нижнее строения мартеновской печи соединены каналом 6, который служит для подвода в головку печи 2 подогретого воздуха и отвода продуктов горения. Канал 6 может иметь переменное поперечное сечение: с большим проходным отверстием в части, ближней к верхнему строению, и меньшим проходным отверстием в части, контактирующей со шлаковиком 4. Канал 6 может иметь круглое, четырехугольное или многоугольное поперечное сечение.
Канал 6 выполнен наклонным от вертикальной оси 7 в двух (направлениях) плоскостях: в продольной плоскости мартеновской печи (фиг.1) с образованием угла <90° с горизонтальной плоскостью и в перпендикулярной ее плоскости (фиг.2) с образованием угла <90° с горизонтальной плоскостью при отклонении в сторону, противоположную от регенератора. Для формирования этого наклона канала 6 в плоскости, перпендикулярной продольной плоскости печи (формирование угла ) для действующих мартеновских печей, шлаковик 4 удлинен в сторону, противоположную от регенератора. При этом угол < , что объяснено реальным строением и параметрами шлаковика 4: как следует из фиг.1, предельное отклонение канала 6 (формирование угла ) ограничено реальными параметрами шлаковика 4 в поперечном направлении.
На фиг.1 и 2 тонкими и пунктирными линиями показано известное исполнение соединения верхнего и нижнего строений мартеновской печи с помощью вертикального канала.
Соединение верхнего и нижнего строений мартеновской печи работает следующим образом.
В процессе плавления стали 3 продукты сгорания покидают ванну печи 1 и после головки печи 2 поступают в канал 6. Исполнение канала 6 с двойным отклонением от вертикальной оси 7 приводит к закручиванию отходящих газов при их поступлении в шлаковик 4 и в этом состоянии в процессе прохождения отходящих газов по шлаковику 4 в направлении генератора (в направлении 5). В свою очередь кручение движущегося газового потока с продуктами сгорания создают центробежные силы, существенно повышающие выпадение продуктов сгорания из газового потока на пути его следования по шлаковику 4 в направлении 5 регенератора.
Пример 1. (данные получены на основании компьютерных расчетов). В мартеновской печи канал 6 выполнен с углом =71,4° и углом =50°. Получено, что такое исполнение канала 6 обеспечивает выпадение в шлаковике 4 около 85% продуктов сгорания, движущихся с газовым потоком из ванны 1 мартеновской печи.
Дополнительный эффект в 1% можно получить, если сечение канала 6 уменьшать по мере приближения к шлаковику 4.
Пример 2. В мартеновской печи канал 6 выполнен с углом = =90°, т.е. выполнен вертикальным (известное техническое решение). Эксплуатация мартеновской печи с известным соединением верхнего и нижнего ее строений в виде вертикального канала обеспечивает выпадение в шлаковике 4 около 43% продуктов сгорания, движущихся с газовым потоком из ванны 1 мартеновской печи.
Сопоставление результатов применения предложенного технического решения соединения верхнего и нижнего строений мартеновской печи с известным показывает, что использование нового технического решения позволяет существенно повысить степень осаждения продуктов сгорания в шлаковике, тем самым сократить засорение продуктами сгорания регенераторов и на этой основе повысить работоспособность и технико-экономические показатели мартеновской печи.
Формула изобретения
Устройство для соединения верхнего и нижнего строений мартеновской печи, содержащее два идентичных и симметричных относительно строения печи канала, соединяющих расположенные в верхнем строении печи головки с расположенными в нижнем строении печи шлаковиками, соединенными с регенераторами, отличающееся тем, что каждый канал выполнен наклонным относительно вертикальной оси в продольной плоскости мартеновской печи с образованием угла с горизонтальной плоскостью и в перпендикулярной ей плоскости с образованием угла <90° с горизонтальной плоскостью с удлинением шлаковика в противоположную от регенератора сторону на величину, определяемую величиной угла .
РИСУНКИ
MM4A – Досрочное прекращение действия патента СССР или патента Российской Федерации на изобретение из-за неуплаты в установленный срок пошлины за поддержание патента в силе
Дата прекращения действия патента: 05.04.2007
Извещение опубликовано: 20.05.2010 БИ: 14/2010
NF4A Восстановление действия патента СССР или патента Российской Федерации на изобретение
Дата, с которой действие патента восстановлено: 20.05.2010
Извещение опубликовано: 20.05.2010 БИ: 14/2010
|
|