|
|
(21), (22) Заявка: 2003133505/06, 20.11.2003
(24) Дата начала отсчета срока действия патента:
20.11.2003
(45) Опубликовано: 10.11.2004
(56) Список документов, цитированных в отчете о поиске:
RU 2121610 C1, 10.11.1998. RU 2089755 C1, 10.09.1997. RU 2059891 C1, 10.05.1996. US 4744730 А, 17.05.1988. US 4293283 А, 06.10.1981.
Адрес для переписки:
77400, Ивано-Франковская обл., г. Тисменица, ул. Вильшанецкая, 33, З.Д. Хоминец
|
(72) Автор(ы):
Хоминец Зиновий Дмитриевич (UA)
(73) Патентообладатель(и):
Хоминец Зиновий Дмитриевич (UA)
|
(54) СКВАЖИННАЯ СТРУЙНАЯ УСТАНОВКА ДЛЯ КАРОТАЖА ГОРИЗОНТАЛЬНЫХ СКВАЖИН И СПОСОБ ЕЕ РАБОТЫ
(57) Реферат:
Изобретение относится к области насосной техники. Скважинная струйная установка для каротажа горизонтальных скважин содержит установленное в обсадной колонне на нижнем ее участке кольцо со ступенчатым проходным каналом для установки герметизирующего узла, гладкую колонну труб с установленными на ней струйным насосом, в корпусе которого установлены активное сопло и камера смешения с диффузором, а также выполнены канал подвода активной среды, канал подвода откачиваемой из скважины среды и ступенчатый проходной канал, причем в последнем предусмотрена возможность установки блокирующей вставки со сквозным проходным каналом, посредством которой перекрыт канал подвода активной среды, или депрессионной вставки, при установке которой перекрыто поперечное сечение колонны труб, на нижнем конце колонны труб установлен каротажный прибор, между последним и струйным насосом на колонну труб надет с возможностью осевого перемещения относительно колонны труб герметизирующий узел, а нижний участок колонны труб над каротажным прибором выполнен перфорированным. Способ работы скважинной струйной установки при каротаже горизонтальных скважин заключается в том, что в обсадной колонне на ее нижнем участке устанавливают кольцо со ступенчатым проходным каналом, затем спускают в скважину на гладкой колонне труб струйный насос со ступенчатым проходным каналом в его корпусе и расположенный ниже струйного насоса каротажный прибор, установленный на нижнем конце колонны труб, причем со стороны ее нижнего конца на колонне труб выполнен перфорированный участок и на колонну труб на участке между струйным насосом и каротажным прибором предварительно надет подвижный относительно колонны труб герметизирующий узел, в процессе спуска каротажным прибором производят регистрацию фоновых значений физических параметров продуктивных пластов, затем производят установку герметизирующего узла в ступенчатом проходном канале кольца, а каротажный прибор устанавливают в зоне продуктивных пластов, затем в ступенчатом проходном канале корпуса струйного насоса устанавливают депрессионную вставку, разделяя таким образом колонну труб, и подают по колонне труб в сопло струйного насоса жидкую рабочую среду, создавая в скважине ниже герметизирующего узла ряд различных по величине депрессий, при каждой величине депрессии измеряют дебит скважины и регистрируют забойное давление, после этого при работающем струйном насосе перемещают каротажный прибор вдоль продуктивных пластов путем перемещения колонны труб вместе со струйным насосом относительно герметизирующего узла и проводят при этом регистрацию геофизических параметров продуктивных пластов и поступающего в скважину пластового флюида, а после завершения исследований проводят подъем колонны труб со струйным насосом, герметизирующим узлом и каротажным прибором на поверхность. В результате достигается интенсификация работ по исследованию, испытанию и подготовке скважин, в первую очередь скважин горизонтальных и большой кривизны. 2 с. и 2 з.п. ф-лы, 2 ил.

Изобретение относится к области насосной техники, преимущественно к скважинным струйным установкам для добычи нефти из скважин.
Известна скважинная струйная установка, включающая установленный в скважине на колонне насосно-компрессорных труб струйный насос и размещенный ниже струйного насоса прибор для измерения параметров скважины (см. патент РФ №2089755, кл. F 04 F 5/02, 10.09.1997).
Из указанного выше патента РФ №2089755 известен способ работы скважинной струйной установки, включающий спуск в скважину колонны насосно-компрессорных труб со струйным насосом, герметизирующим узлом и прибором для измерения параметров скважины на каротажном кабеле, размещение указанного выше прибора против продуктивного пласта и измерение его параметров.
Данная установка позволяет проводить исследование скважины и за счет этого интенсифицировать работы по исследованию прискважинной зоны пластов. Однако данные установка и способ ее работы не позволяют проводить работы по обработке прискважинной зоны пласта, что сужает ее возможности.
Наиболее близкой к изобретению в части устройства, как объекта изобретения, по технической сущности и достигаемому результату является скважинная струйная установка, содержащая установленные на колонне насосно-компрессорных труб, пакер с центральным каналом и струйный насос с активным соплом, камерой смешения и проходным каналом с посадочным местом для установки герметизирующего узла с осевым каналом, при этом установка снабжена излучателем и приемником-преобразователем физических полей, размещенным в подпакерной зоне со стороны входа в струйный насос откачиваемой из скважины среды и установленным на каротажном кабеле, пропущенном через осевой канал герметизирующего узла, выход струйного насоса подключен к пространству, окружающему колонну труб, вход канала подвода откачиваемой среды струйного насоса подключен к внутренней полости колонны труб ниже герметизирующего узла, а вход канала подачи жидкой рабочей среды в активное сопло подключен к внутренней полости колонны труб выше герметизирующего узла (см. патент RU 2121610, F 04 F 5/02, 10.11.1998).
Из этого же патента известен способ работы скважинной струйной установки, включающий установку на колонне насосно-компрессорных труб струйного насоса с проходным каналом и пакера, спуск этой сборки в скважину, распакеровку пакера и создание необходимой депрессии в подпакерной зоне путем откачки струйным насосом жидкой среды из подпакерной зоны.
Данные скважинная струйная установка и способ ее работы позволяют проводить различные технологические операции в скважине ниже уровня установки струйного насоса, в том числе путем снижения перепада давлений над и под герметизирующим узлом. Однако данная установка не позволяет в полной мере использовать ее возможности, поскольку она позволяет проводить исследование продуктивных пород только в стволах, близких к вертикальным, что сужает область использования данных способа работы и скважинной струйной установки для его реализации. Кроме того, для переустановки струйного насоса, как правило, требуется достаточно трудоемкая операция по депакеровке пакера с последующей его установкой в новом месте, что увеличивает время, необходимое для проведения полноценного исследования.
Задачей, на решение которой направлено настоящее изобретение, является интенсификация работ по исследованию, испытанию и подготовке скважин, в первую очередь скважин горизонтальных и большой кривизны.
Указанная задача в части устройства, как объекта изобретения, решается за счет того, что скважинная струйная установка для каротажа горизонтальных скважин содержит установленное в обсадной колонне на нижнем ее участке кольцо со ступенчатым проходным каналом для установки герметизирующего узла, гладкую колонну труб с установленными на ней струйным насосом, в корпусе которого установлены активное сопло и камера смешения с диффузором, а также выполнены канал подвода активной среды, канал подвода откачиваемой из скважины среды и ступенчатый проходной канал, причем в последнем предусмотрена возможность установки блокирующей вставки со сквозным проходным каналом, посредством которой перекрыт канал подвода активной среды, или депрессионной вставки, при установке которой перекрыто поперечное сечение колонны труб, на нижнем конце колонны труб установлен каротажный прибор, между последним и струйным насосом на колонну труб надет с возможностью осевого перемещения относительно колонны труб герметизирующий узел, а нижний участок колонны труб над каротажным прибором выполнен перфорированным.
Указанная выше задача в части способа, как объекта изобретения, решается за счет того, что способ работы скважинной струйной установки для каротажа горизонтальных скважин заключается в том, что в обсадной колонне на ее нижнем участке устанавливают кольцо со ступенчатым проходным каналом, затем спускают в скважину на гладкой колонне труб струйный насос со ступенчатым проходным каналом в его корпусе и расположенный ниже струйного насоса каротажный прибор, установленный на нижнем конце колонны труб, причем со стороны ее нижнего конца на колонне труб выполнен перфорированный участок и на колонну труб на участке между струйным насосом и каротажным прибором предварительно надет подвижный относительно колонны труб герметизирующий узел, в процессе спуска каротажным прибором производят регистрацию фоновых значений физических параметров продуктивных пластов, затем производят установку герметизирующего узла в ступенчатом проходном канале кольца, а каротажный прибор устанавливают в зоне продуктивных пластов, затем в ступенчатом проходном канале корпуса струйного насоса устанавливают депрессионную вставку, разделяя таким образом колонну труб, и подают по колонне труб в сопло струйного насоса жидкую рабочую среду, создавая в скважине ниже герметизирующего узла ряд различных по величине депрессий, при каждой величине депрессии измеряют дебит скважины и регистрируют забойное давление, после этого при работающем струйном насосе перемещают каротажный прибор вдоль продуктивных пластов путем перемещения колонны труб вместе со струйным насосом относительно герметизирующего узла и проводят при этом регистрацию геофизических параметров продуктивных пластов и поступающего в скважину пластового флюида, а после завершения исследований проводят подъем колонны труб со струйным насосом, герметизирующим узлом и каротажным прибором на поверхность.
Кроме того, после регистрации геофизических параметров продуктивных пластов и поступающего в скважину пластового флюида могут быть дополнительно проведены замеры геофизических параметров продуктивных пластов при неработающем струйном насосе или после регистрации геофизических параметров продуктивных пластов и поступающего в скважину пластового флюида может быть проведено дополнительное исследование продуктивных пластов, для чего по колонне труб через ее перфорированный нижний участок закачивают в скважину химические реагенты и производят химическую обработку прискважинной зоны продуктивных пластов, при этом предварительно из ступенчатого проходного канала корпуса струйного насоса извлекают депрессионную вставку и устанавливают вместо нее блокирующую вставку с центральным проходным каналом.
Анализ работы скважинной струйной установки показал, что надежность работы установки можно повысить как путем оптимизации последовательности действий при испытании и освоении скважин, в первую очередь с открытым и/или криволинейным стволом, так и путем упрощения конструкции установки за счет исключения из конструкции пакера и размещения каротажного прибора на колонне труб без использования каротажного кабеля.
Было выявлено, что указанная выше последовательность действий позволяет наиболее эффективно использовать оборудование, которое установлено на колонне труб, при проведении работ по исследованию и испытанию продуктивных пластов горных пород, при этом созданы условия для получения полной и достоверной информации о состоянии продуктивных пластов. Путем создания ряда различных депрессий струйный насос создает в скважине заданные величины перепада давления, а с помощью каротажного прибора проводится исследование и испытание скважины. Одновременно предоставляется возможность контролировать величину депрессии путем управления скоростью прокачки жидкой рабочей среды. При проведении испытания пластов можно регулировать режим откачки посредством изменения давления жидкой рабочей среды, подаваемой в сопло струйного насоса. Установка каротажного прибора на колонне труб с возможностью осевого перемещения колонны труб без использования пакера (вместо пакера использован герметизирующий узел, надетый на колонну труб) позволяет провести более качественную работу по исследованию скважины и подготовке ее к работе и, как следствие, позволяет ускорить и упростить процесс перемещения каротажного прибора в скважине, а следовательно, упростить процесс испытания и подготовки скважины к работе. Кроме того, размещение каротажного прибора на колонне труб дает возможность за счет упругих свойств колонны труб располагать каротажный прибор в зоне продуктивных пластов в горизонтальных участках скважин, что позволяет получить более оперативно достоверную информацию о состоянии продуктивных пластов, притоке пластового флюида и о его свойствах. В результате данный способ работы позволяет проводить качественное исследование и испытание скважин после бурения, а также подготовку скважины к эксплуатации с проведением всестороннего исследования и испытания ее в различных режимах.
Таким образом, указанная выше совокупность взаимозависимой последовательности действий и описанные выше конструктивные особенности установки обеспечивают достижение выполнения поставленной в изобретении задачи – интенсификация работ по исследованию, испытанию и подготовке скважин, в первую очередь скважин горизонтальных и большой кривизны и повышения надежности работы скважинной струйной установки.
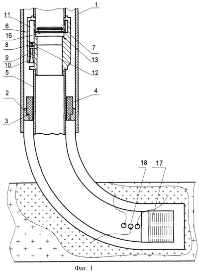
На фиг.1 представлен продольный разрез установки с депрессионной вставкой; на фиг.2 представлен продольный разрез установки с блокирующей вставкой.
Скважинная струйная установка для каротажа горизонтальных скважин содержит установленное в обсадной колонне 1 на нижнем ее участке кольцо 2 со ступенчатым проходным каналом 3 для установки герметизирующего узла 4, гладкую колонну труб 5 с установленным на ней струйным насосом 6, в корпусе 7 которого установлены активное сопло 8 и камера смешения 9 с диффузором 10, а также выполнены канал подвода активной среды 11, канал подвода откачиваемой из скважины среды 12 и ступенчатый проходной канал 13, причем в последнем предусмотрена возможность установки блокирующей вставки 14 со сквозным проходным каналом 15, посредством которой перекрыт канал подвода активной среды 11, или депрессионной вставки 16, при установке которой перекрыто поперечное сечение колонны труб 5. На нижнем конце колонны труб 5 установлен каротажный прибор 17, между последним и струйным насосом 6 на колонну труб 5 надет с возможностью осевого перемещения относительно колонны труб 5 герметизирующий узел 4, а нижний участок колонны труб 5 над каротажным прибором выполнен перфорированным, а именно в колонне труб 5 выполнены отверстия 18.
Работа скважинной струйной установки заключается в том, что в обсадной колонне 1 на ее нижнем участке устанавливают кольцо 2 со ступенчатым проходным каналом 3. Затем спускают в скважину на гладкой колонне труб 5 струйный насос 6 со ступенчатым проходным каналом 13 в его корпусе 7 и расположенный ниже струйного насоса 6 каротажный прибор 17. На колонну труб 5 на участке между струйным насосом 6 и каротажным прибором 7 предварительно надет подвижный относительно колонны труб 5 герметизирующий узел 4. В процессе спуска каротажным прибором 17 производят регистрацию фоновых значений физических параметров продуктивных пластов. Затем производят установку герметизирующего узла 4 в ступенчатом проходном канале 3 кольца 2, а каротажный прибор 17 устанавливают в зоне продуктивных пластов. После этого в ступенчатом проходном канале 13 корпуса 7 струйного насоса 6 устанавливают депрессионную вставку 16, разделяя таким образом колонну труб 5, и подают по колонне труб 5 в сопло 8 струйного насоса 6 жидкую рабочую среду, создавая в скважине ниже герметизирующего узла 4 ряд различных по величине депрессий. При каждой величине депрессии измеряют дебит скважины и регистрируют забойное давление. Далее при работающем струйном насосе 6 перемещают каротажный прибор 17 вдоль продуктивных пластов путем перемещения колонны труб 5 вместе со струйным насосом 6 относительно герметизирующего узла 4 и проводят при этом регистрацию геофизических параметров продуктивных пластов и поступающего в скважину пластового флюида. После завершения исследований проводят подъем колонны труб 5 со струйным насосом 6, герметизирующим узлом 4 и каротажным прибором 17 на поверхность.
После регистрации геофизических параметров продуктивных пластов и поступающего в скважину пластового флюида могут быть дополнительно проведены замеры геофизических параметров продуктивных пластов при неработающем струйном насосе 6.
Также после регистрации геофизических параметров продуктивных пластов и поступающего в скважину пластового флюида может быть проведено дополнительное исследование продуктивных пластов, для чего по колонне труб 5 через отверстия 18 ее перфорированного нижнего участка закачивают в скважину химические реагенты и производят химическую обработку прискважинной зоны продуктивных пластов, при этом предварительно из ступенчатого проходного канала 13 корпуса 7 струйного насоса б извлекают депрессионную вставку 16 и устанавливают вместо нее блокирующую вставку 14 с центральным проходным каналом 15.
Настоящее изобретение может найти применение в нефтедобывающей промышленности при испытании и освоении скважин, а также в других отраслях промышленности, где производится добыча различных сред из скважин.
Формула изобретения
1. Скважинная струйная установка для каротажа горизонтальных скважин, содержащая установленное в обсадной колонне на нижнем ее участке кольцо со ступенчатым проходным каналом для установки герметизирующего узла, гладкую колонну труб с установленным на ней струйным насосом, в корпусе которого установлены активное сопло и камера смешения с диффузором, а также выполнены канал подвода активной среды, канал подвода откачиваемой из скважины среды и ступенчатый проходной канал, причем в последнем предусмотрена возможность установки блокирующей вставки со сквозным проходным каналом, посредством которой перекрыт канал подвода активной среды, или депрессионной вставки, при установке которой перекрыто поперечное сечение колонны труб, на нижнем конце колонны труб установлен каротажный прибор, между последним и струйным насосом на колонну труб надет с возможностью осевого перемещения относительно колонны труб герметизирующий узел, а нижний участок колонны труб над каротажным прибором выполнен перфорированным.
2. Способ работы скважинной струйной установки при каротаже горизонтальных скважин по п.1, заключающийся в том, что в обсадной колонне на ее нижнем участке устанавливают кольцо со ступенчатым проходным каналом, затем спускают в скважину на гладкой колонне труб струйный насос со ступенчатым проходным каналом в его корпусе и расположенный ниже струйного насоса каротажный прибор, установленный на нижнем конце колонны труб, причем со стороны ее нижнего конца на колонне труб выполнен перфорированный участок и на колонну труб на участке между струйным насосом и каротажным прибором предварительно надет подвижный относительно колонны труб герметизирующий узел, в процессе спуска каротажным прибором производят регистрацию фоновых значений физических параметров продуктивных пластов, затем производят установку герметизирующего узла в ступенчатом проходном канале кольца, а каротажный прибор устанавливают в зоне продуктивных пластов, после чего в ступенчатом проходном канале корпуса струйного насоса устанавливают депрессионную вставку, разделяя таким образом колонну труб, и подают по колонне труб в сопло струйного насоса жидкую рабочую среду, создавая в скважине ниже герметизирующего узла ряд различных по величине депрессий, при каждой величине депрессии измеряют дебит скважины и регистрируют забойное давление, после этого при работающем струйном насосе перемещают каротажный прибор вдоль продуктивных пластов путем перемещения колонны труб вместе со струйным насосом относительно герметизирующего узла и проводят при этом регистрацию геофизических параметров продуктивных пластов и поступающего в скважину пластового флюида, а после завершения исследований проводят подъем колонны труб со струйным насосом, герметизирующим узлом и каротажным прибором на поверхность.
3. Способ работы по п.2, отличающийся тем, что после регистрации геофизических параметров продуктивных пластов и поступающего в скважину пластового флюида дополнительно проводят замеры геофизических параметров продуктивных пластов при неработающем струйном насосе.
4. Способ работы по п.2, отличающийся тем, что после регистрации геофизических параметров продуктивных пластов и поступающего в скважину пластового флюида проводят дополнительное исследование продуктивных пластов, для чего по колонне труб через ее перфорированный нижний участок закачивают в скважину химические реагенты и производят химическую обработку прискважинной зоны продуктивных пластов, при этом предварительно из ступенчатого проходного канала корпуса струйного насоса извлекают депрессионную вставку и устанавливают вместо нее блокирующую вставку с центральным проходным каналом.
РИСУНКИ
QB4A Регистрация лицензионного договора на использование изобретения
Лицензиар(ы): Хоминец Зиновий Дмитриевич (UA)
НИЛ
Лицензиат(ы): ЗАО Совместное предприятие “ГЕОТЕСТ”
Договор № РД0004187 зарегистрирован 18.11.2005
Извещение опубликовано: 20.01.2006 БИ: 02/2006
* ИЛ – исключительная лицензия НИЛ – неисключительная лицензия
|
|