|
|
(21), (22) Заявка: 2003109951/06, 07.04.2003
(24) Дата начала отсчета срока действия патента:
07.04.2003
(45) Опубликовано: 10.11.2004
(56) Список документов, цитированных в отчете о поиске:
GB 1022433 A, 16.03.1966. RU 2118467 C1, 27.08.1998. GB 999561 A, 28.07.1965. US 3872840 A, 25.03.1975. US 3703885 A, 28.11.1972. DE 1426038 A, 10.04.1969. US 4024842 A, 24.05.1977.
Адрес для переписки:
404121, Волгоградская обл., г. Волжский, ул. Машиностроителей, 2А, В.П. Харченко
|
(72) Автор(ы):
Григорьянц Р.А. (RU), Харченко В.П. (RU)
(73) Патентообладатель(и):
Григорьянц Роберт Аветисович (RU), Харченко Владимир Петрович (RU)
|
(54) РОТОРНО-ПОРШНЕВОЙ ДВИГАТЕЛЬ ВНУТРЕННЕГО СГОРАНИЯ
(57) Реферат:
Изобретение относится к области двигателестроения, а именно к поршневым двигателям внутреннего сгорания с вращающимися рабочими органами, и может быть использовано в энергетическом машиностроении в качестве гидродвигателя, насоса. Техническим результатом является повышение надежности и ресурса. Сущность изобретения заключается в том, что двигатель содержит корпус с форсункой, окна впуска и выпуска и ротор с расположенными в пазах ползунами, шарнирно связанными с поршнями. Рабочая поверхность корпуса образована движением центра части окружности по направляющему контуру, состоящему из двух полуокружностей, сопряженных параллельными прямыми, образующими тороидально-цилиндрическую поверхность, или в виде поверхности, образованной движением центра части окружности по направляющей – эллипсу, или в виде поверхности, образованной движением центра части окружности по направляющей – овалу Кассини с соотношением
где а – постоянная величина, с – расстояние от центра овала Кассини до его фокусов. Согласно изобретению в роторе, в головной части каждой рабочей камеры, выполнена камера сгорания, имеющая в плане каплевидную форму. 7 ил.

Изобретение относится к области двигателестроения, а именно к поршневым двигателям внутреннего сгорания с вращающимися рабочими органами, и может быть использовано в энергетическом машиностроении в качестве гидродвигателя, насоса и двигателя внутреннего сгорания на водном и сухопутном транспорте.
Известен роторно-поршневой двигатель внутреннего сгорания Ф. Ванкеля, содержащий корпус, окна впуска и выпуска, ротор (см. Бениович В.С., Апазиди Г.Д., Бойко А.М. Роторнопоршневые двигатели. М., Машиностроение, 1968 г.; с.14-16, 21, 27, 32-33, 36).
Ротор установлен на эксцентриковом валу. Рабочая поверхность корпуса выполнена в виде двух эпитрохоид, напоминающих восьмерку. Трехгранный ротор совершает планетарное движение как относительно своей оси, так и относительно оси вращения вала двигателя. В гранях ротора, в их средней части, выполнены камеры сгорания, имеющие в плане вид прямоугольника.
Выполнение рабочей поверхности корпуса в виде двух эпитрохоид определило конструкцию ротора в виде треугольника в плоскости его вращения. Такое сочетание предопределило существенные недостатки рабочей камеры этого двигателя.
Значительная протяженность граней ротора создает растянутость и приплюснутость заряда в рабочей камере в секторе сжатия, сгорания и расширения и тем самым существенно ухудшает сгорание. Перемещение рабочей камеры и существенная разница в плотностях топлива и воздуха вызывает расслоение заряда, то есть выделение топлива из состава рабочего заряда в результате его отставания и формирование переобогащенного по составу рабочего заряда в хвостовой части рабочей камеры (см. Двигателестроение, 1986 г., №9, с.12-14), а в головной части рабочей камеры формируется обедненная по составу рабочая смесь, что приводит к существенному увеличению времени сгорания топлива и неполноте сгорания, что в конечном счете приводит к существенному снижению топливной экономичности рабочего процесса двигателя.
Протяженность рабочей камеры усложняет выбор оптимального места и формы камеры сгорания на грани ротора. Переобогащенная рабочая смесь, находящаяся в хвостовой части рабочей камеры, сгорает лишь в последнюю очередь уже при значительном положении ротора в зоне расширения, что существенно снижает эффективность рабочего процесса и приводит к снижению топливной экономичности двигателя.
Наиболее близким техническим решением является роторно-поршневой двигатель внутреннего сгорания, содержащий корпус с форсункой, окна впуска и выпуска, ротор с расположенными в пазах ползунами, шарнирно связанными с поршнями, рабочую поверхность корпуса, образованную движением центра части окружности по направляющему контуру, состоящему из двух полуокружностей, сопряженных параллельными прямыми, образующими тороидально-цилиндрическую поверхность, или в виде поверхности, образованной движением центра части окружности по направляющей – эллипсу, или в виде поверхности, образованной движением центра части окружности по направляющей – овалу Кассини с соотношением

где а – постоянная величина,
с – расстояние от центра овала Кассини до его фокусов (см. RU 2118467 C1, F 02 B 53/00).
Нанесение всей цикловой порции топлива на поверхность ротора в виде тонкой пленки приводит к существенному сокращению периода индукции, то есть сокращается период подготовки топлива к самовоспламенению. В этом случае горение носит взрывной характер, что приводит к высокой жесткости рабочего процесса, то есть 
Взрыв всей цикловой пропорции топлива может произойти до ВМТ (верхней мертвой точки) или в ВМТ, что приведет в первом случае к обратному удару, то есть против вращения ротора, а во втором случае – к возникновению больших газовых сил при нулевом значении крутящего момента на валу ротора. Значительные силы газа передаются на вал ротора и его подшипники, на поршни и ползуны рабочих камер и вызывают значительный износ в сопряжении деталей, а в некоторых случаях могут привести к поломкам деталей и к выходу двигателя из строя. Повышенная жесткость рабочего процесса приводит к существенному снижению надежности и долговечности, а следовательно, существенному снижению моторесурса двигателя.
Создание роторного двигателя внутреннего сгорания с повышенной надежностью, долговечностью, а следовательно, с повышенным моторесурсом является задачей, на решение которой направлено данное изобретение.
Сущность изобретения заключается в том, что в роторно-поршневом двигателе внутреннего сгорания, содержащем корпус с форсункой, окна впуска и выпуска, ротор с расположенными в пазах ползунами, шарнирно связанными с поршнями, рабочую поверхность корпуса, образованную движением центра части окружности по направляющему контуру, состоящему из двух полуокружностей, сопряженных параллельными прямыми, образующими тороидально-цилиндрическую поверхность, или в виде поверхности, образованной движением центра части окружности по направляющей – эллипсу, или в виде поверхности, образованной движением центра части окружности по направляющей – овалу Кассини с соотношением

где а – постоянная величина,
с – расстояние от центра овала Кассини до его фокусов, в роторе, в головной части каждой рабочей камеры, выполнены камеры сгорания, имеющие в плане каплевидную форму.
Наличие камеры сгорания в роторе, в головной части каждой рабочей камеры, обеспечивает концентрацию топлива и воздуха, а следовательно, своевременность сгорания цикловой порции топлива как в момент прихода рабочей камеры в положение максимального сжатия, так и завершения сгорания после ВМТ примерно 10-12°, что обеспечивает минимальные потери теплоты в систему охлаждения, а также создает условия бездымного сгорания, используя максимальные потенциальные возможности рабочего объема рабочей камеры при более низких значениях коэффициентов избытка воздуха, равно =1,35-1,45. Выполнение камеры сгорания, имеющей в плане каплевидную форму, создает условия возникновения турбулентного движения воздушных потоков над топливной пленкой камеры сгорания. Кроме того, каплевидная форма камеры сгорания позволяет наилучшим образом разместить в ней цикловую порцию топлива в компактном объеме, и образованием поверхности сгорания пленки повышенной толщины по мере прогрева стенок камеры сгорания при совершении рабочего процесса будет происходить постепенное испарение топлива, приводящее к плавному мягкому сгоранию.
Сущность изобретения поясняется чертежами, где на:
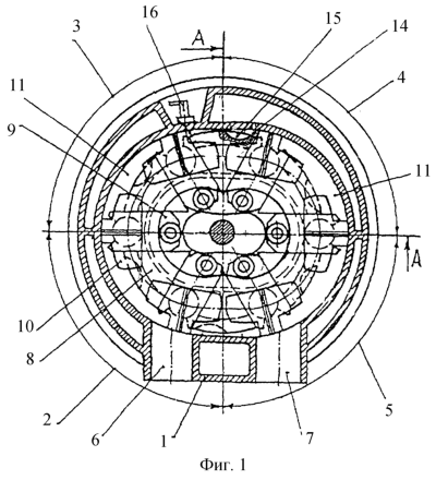
фиг.1 изображен общий вид двигателя с тороидально-цилиндрической рабочей поверхностью;
фиг.2 – разрез А-А на фиг.1;
фиг.3 показан момент впрыска топлива в камеру сгорания;
фиг.4 – вид по стрелке А на фиг.3;
фиг.5 – вид по стрелке Б на фиг.4;
фиг.6 показана схема двигателя с линейчатой рабочей поверхностью, выполненной по образующей – эллипсу;
фиг.7 – схема двигателя с линейчатой рабочей поверхностью, выполненной по образующей – овалу Кассини.
Роторный двигатель внутреннего сгорания содержит корпус 1, имеющий секторы всасывания 2, сжатия 3, расширения 4 и выпуска 5, окна впуска 6 и выпуска 7. Внутри корпуса 1 расположен ротор 8 с размещенными в пазах ползунами 9, шарнирно связанными с поршнями 10, рабочую поверхность корпуса 1, образованную движением центра части окружности по направляющему контуру, состоящему из двух полуокружностей, сопряженных параллельными прямыми, образующему тороидально-цилиндрическую поверхность 11, или в виде поверхности 12, образованной движением центра части окружности по направляющей – эллипсу, или в виде поверхности 13, образованной движением центра части окружности по направляющей – овалу Кассини с соотношением

где а – постоянная величина,
с – расстояние от центра овала Кассини до его фокусов.
В роторе 8 в головной части каждой рабочей камеры 14, образованной рабочей поверхностью корпуса 1, рабочей поверхностью ротора 8 и поверхностями ползунов 9 и поршней 10, выполнены камеры сгорания 15, имеющие в плане каплевидную форму. На корпусе 1 двигателя установлена форсунка 16.
Работу двигателя рассмотрим на примере рабочего цикла рабочей камеры 14, образованной между поверхностью ротора 8, поверхностями ползунов 9, поршней 10 рабочей поверхностью корпуса 1, образованной движением центра части окружности по направляющему контуру, состоящему из двух полуокружностей, сопряженных параллельными прямыми, образующему тороидально-цилиндрическую поверхность 11.
При вращении ротора 8 через впускной канал 6 в секторе всасывания 2 в результате разряжения в рабочую камеру 14 поступает свежий воздух, который сжимается. При перемещении рабочей камеры 14 в сектор сжатия 3 поступивший свежий воздух сжимается с максимальной степенью сжатия, нагреваясь до высоких температур. Процесс смесеобразования и сгорания в рабочей камере 14 в секторе сжатия 3 осуществляется следующим образом. При положении рабочей камеры 14 в секторе сжатия 3, когда средняя линия рабочей камеры 14 относительно вертикальной линии составляет угол впрыска =10-20°, форсункой 16 в камеру сгорания 15 впрыскивается вся цикловая подача топлива. Поскольку камера сгорания 15 имеет малую протяженность по сравнению с протяженностью рабочей поверхности ротора 8 в рабочей камере 14, то впрыснутое топливо образует пленку значительной толщины. Каплевидная форма камеры сгорания 15 наилучшим образом удовлетворяет условия впрыска всей цикловой порции топлива. Каплевидная форма камеры сгорания 15 благодаря высокой аэродинамичности создает благоприятные условия для хорошего перемешивания воздуха с испарившейся частью топливной пленки. При интенсивном сжатии воздуха в рабочей камере 14 в камере сгорания 15 создаются воздушные потоки, которые интенсифицируют процесс испарения топливной пленки и создают рабочий процесс с мягким сгоранием топлива, так как топливная пленка испаряется по мере повышения температуры стенок камеры сгорания 15. При дальнейшем вращении ротора 8 рабочая камера 14 переходит в сектор расширения 4 и при давлении газов на выступающие поверхности ползуна 9 и поршня 10 образуют крутящий момент на валу ротора 8, и совершается рабочий ход или такт расширения. При дальнейшем вращении ротора 8 рабочая камера 14 переходит в сектор выпуска 5, где отработавшие газы сжимаются и выпускаются в атмосферу через выпускное окно 7. Такие рабочие процессы осуществляются за один оборот ротора в каждой рабочей камере 14. Аналогичным образом работает роторно-поршневой двигатель внутреннего сгорания с рабочей поверхностью корпуса 1 в виде поверхности 12, образованной движением центра части окружности по направляющей – эллипсу, или в виде поверхности 13, образованной движением центра части окружности по направляющей – овалу Кассини с соотношением

где а – постоянная величина,
с – расстояние от центра овала Кассини до его фокусов.
Расположение в роторе камеры сгорания, в головной части рабочей камеры, обеспечивает своевременность сгорания цикловой порции топлива как в момент прихода рабочей камеры в положение максимального сжатия, так и завершения сгорания после ВМТ примерно 10-12°, что обеспечивает минимальные потери теплоты в систему охлаждения.
Наличие камеры сгорания в роторе обеспечивает концентрацию топлива и воздуха, улучшает процесс сгорания, создает условия бездымного сгорания, используя максимально потенциальные возможности рабочего объема рабочей камеры при низких значениях коэффициентов избытка воздуха, равно =1,35-1,45, тем самым повышая удельные высокогабаритные показатели двигателя.
Формула изобретения
Роторно-поршневой двигатель внутреннего сгорания, содержащий корпус с форсункой, окна впуска и выпуска, ротор с расположенными в пазах ползунами, шарнирно связанными с поршнями, рабочую поверхность корпуса, образованную движением центра части окружности по направляющему контуру, состоящему из двух полуокружностей, сопряженных параллельными прямыми, образующими тороидально-цилиндрическую поверхность, или в виде поверхности, образованной движением центра части окружности по направляющей – эллипсу, или в виде поверхности, образованной движением центра части окружности по направляющей – овалу Кассини, с соотношением

где а – постоянная величина;
с – расстояние от центра овала Кассини до его фокусов,
отличающийся тем, что в роторе в головной части каждой рабочей камеры выполнена камера сгорания, имеющая в плане каплевидную форму.
РИСУНКИ
|
|