|
|
(21), (22) Заявка: 2003105550/06, 28.02.2003
(24) Дата начала отсчета срока действия патента:
28.02.2003
(45) Опубликовано: 10.11.2004
(56) Список документов, цитированных в отчете о поиске:
SU 1564372 A1, 15.05.1990. SU 4444 А, 31.01.1928. ЖИРИЦКИЙ Г.С. Паровые машины. М.: Энергоиздат, 1933, с.9-10. SU 295899 A, 21.04.1971. SU 1028867 А, 15.07.1983. US 3672263 А, 27.06.1972. US 3490234 А, 20.01.1970. US 3490234 А, 20.01.1970.
Адрес для переписки:
125008, Москва, пр-д Черепановых, 36, кв.8, И.Д. Ефимову
|
(72) Автор(ы):
Воробьев Р.Н. (RU), Зелинский А.М. (RU), Акаро А.И. (RU)
(73) Патентообладатель(и):
ООО “Мидера-К” (RU)
|
(54) ПАРОСИЛОВАЯ УСТАНОВКА С ПОРШНЕВОЙ ПАРОВОЙ МАШИНОЙ
(57) Реферат:
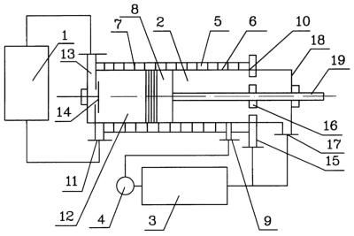
Изобретение относится к области машиностроения, в частности к паросиловым установкам с поршневой паровой машиной. Паросиловая установка с поршневой паровой машиной содержит соединенные между собой гидравлически последовательно трубопроводами паровой котел 1, поршневую паровую машину 2, конденсатор 3 и насос 4 питательной воды. Поршневая паровая машина 2 выполнена с водяной рубашкой 5 вокруг ее цилиндра 6, скрепленными друг с другом перемычками 7. Вход 9 водяной рубашки расположен в конце 10 цилиндра 6 и гидравлически соединен с выходом насоса 4 питательной воды, а выход 11 расположен в начале цилиндра 6 со стороны рабочей камеры 12 и гидравлически соединен с входом парового котла 1. Вход и выход пара поршневой паровой машины 2 расположены на цилиндре 6 соответственно в его начале и в конце. Цилиндр 6 может быть выполнен с отношением длины хода поршня к внутреннему диаметру в диапазоне от 5 до 20, что обеспечивает оптимальные условия работы. Перемычки 7 могут быть выполнены по спирали с возрастающим шагом от входа 9 водяной рубашки 5 к выходу 11 из нее, что обеспечивает постоянную высокую скорость течения питательной воды и приводит к минимальным гидравлическим потерям и получению требуемого количества тепла для прогрева питательной воды. Насыщенный пар из парового котла 1 подают в рабочую камеру 12, насыщенный пар начинает расширяться, совершая механическую работу при движении поршня 8. Одновременно насос 4 питательной воды подает питательную воду под давлением из конденсатора 3 через вход 9 в водяную рубашку 5. Питательная вода прогревается, проходя через водяную рубашку 5, насыщенным паром до максимально возможной температуры пара в паровом котле 1. В конце рабочего хода поршня 8 пар выпускается в конденсатор 3, и цикл повторяется. Изобретение позволяет повысить термический коэффициент полезного действия за счет максимального подогрева воды, поступающей в паровой котел, путем отнятия теплоты от насыщенного пара, расширяющегося в поршневой паровой машине и частично конденсирующегося внутри цилиндра. 1 з.п. ф-лы, 1 ил.

Изобретение относится к области машиностроения, в частности к паросиловым установкам с поршневой паровой машиной.
Известна паросиловая установка, содержащая соединенные между собой гидравлически последовательно паровой котел, поршневую паровую машину, конденсатор и насос питательной воды. Насос питательной воды гидравлически соединен с паровым котлом (В.А. Кузовлев. Техническая термодинамика и основы теплопередачи./Под ред. Л.Р. Стоцкого. – М.: Высшая школа, 1975, с.189-190).
Известна паросиловая установка, содержащая соединенные между собой гидравлически последовательно паровой котел, поршневую паровую машину, конденсатор и насос питательной воды. Насос питательной воды гидравлически соединен с паровым котлом (В.П. Блюдов и др. Общая теплотехника./Под ред. С.Я. Корницкого и Я.М. Рубинштейна, изд. 2-е. М.-Л.: Госэнергоиздат, 1952, с.81-82).
Недостатком обеих известных паросиловых установок является недостаточно высокий термический коэффициент полезного действия вследствие недостаточного подогрева питательной воды, поступающей в паровой котел.
Задачей, решаемой в изобретении, является создание паросиловой установки с поршневой паровой машиной, в которой обеспечивается высокий термический коэффициент полезного действия за счет максимального подогрева питательной воды, поступающей в паровой котел, путем отнятия теплоты от насыщенного пара, расширяющегося в поршневой паровой машине и частично конденсирующегося внутри цилиндра.
Задача создания паросиловой установки с поршневой паровой машиной решается тем, что паросиловая установка с поршневой паровой машиной содержит соединенные между собой гидравлически последовательно паровой котел, поршневую паровую машину, конденсатор и насос питательной воды, согласно изобретению поршневая паровая машина выполнена с водяной рубашкой вокруг ее цилиндра, скрепленными друг с другом перемычками, вход рубашки расположен в конце цилиндра и гидравлически соединен с выходом насоса, а выход расположен в начале цилиндра со стороны рабочей камеры и гидравлически соединен с входом парового котла, перемычки, скрепляющие водяную рубашку и цилиндр, выполнены по спирали с возрастающим шагом от входа рубашки к выходу из нее, вход и выход пара поршневой паровой машины расположены на цилиндре соответственно в его начале и в конце.
Выполнение поршневой паровой машины с водяной рубашкой вокруг ее цилиндра, скрепленными друг с другом перемычками, расположение входа рубашки в конце цилиндра и гидравлическое его соединение с выходом насоса, расположение выхода в начале цилиндра со стороны рабочей камеры и гидравлическое соединение с входом парового котла, расположение входа и выхода пара поршневой паровой машины на цилиндре соответственно в его начале и конце обеспечивают подогрев в водяной рубашке питательной воды, поступающей на вход парового котла, до максимально возможной температуры за счет непрерывного отнятия теплоты от пара, совершающего рабочий цикл и расширяющегося в поршневой паровой машине.
Питательная вода в водяной рубашке подогревается до максимально возможной температуры только при движении через водяную рубашку против движения расширяющегося пара в рабочей камере цилиндра поршневой паровой машины.
Скрепление друг с другом перемычками водяной рубашки и цилиндра позволяет обеспечить подогрев питательной воды, проходящей через водяную рубашку, до максимально возможной температуры при выполнении стенки цилиндра тонкой без ее смятия протекающей водой под высоким давлением.
Выполнение перемычек, скрепляющих водяную рубашку и цилиндр, по спирали с возрастающим шагом от входа рубашки к выходу из нее обеспечивает высокую скорость протекающей по рубашке питательной воды, что позволяет получить требуемое количество тепла для ее подогрева, а также позволяет получить постоянную скорость течения питательной воды, понижающей свою плотность по длине рубашки при нагреве воды, приводящую к минимальным гидравлическим потерям.
Выполнение цилиндра поршневой паровой машины с отношением длины хода поршня к внутреннему диаметру в диапазоне от 5 до 20 позволяет создать наиболее оптимальные условия для конденсации пара и подогрева питательной воды, подаваемой на вход парового котла при различных мощностях машины.
На чертеже изображена принципиальная схема паросиловой установки с поршневой паровой машиной.
Паросиловая установка с поршневой паровой машиной содержит соединенные между собой гидравлически последовательно трубопроводами паровой котел 1, поршневую паровую машину 2, конденсатор 3 и насос 4 питательной воды. Поршневая паровая машина 2 выполнена с водяной рубашкой 5 вокруг ее цилиндра 6, скрепленными друг с другом перемычками 7. Поршень 8 установлен в цилиндре 6 с возможностью перемещения. Вход 9 водяной рубашки 5 выполнен в виде штуцера и расположен в конце 10 цилиндра 6 и гидравлически соединен трубопроводом с выходом насоса 4 питательной воды, а выход 11 водяной рубашки 5 выполнен в виде штуцера и расположен в начале цилиндра 6 со стороны его рабочей камеры 12 и гидравлически соединен трубопроводом с входом парового котла 1. Вход в поршневую паровую машину 2, выполненный в виде коллектора 13 подачи пара с клапаном 14 подачи, и выход из поршневой паровой машины 2, выполненный в виде коллектора 15 выпуска пара с окнами 16 выпуска, расположены на цилиндре 6 соответственно в его начале и в конце 10. Конец 10 цилиндра 6 закрыт крышкой 18 с уплотнением, через которую проходит шток 19 поршня 8 и штуцер 17 соединен гидравлически трубопроводом с входом конденсатора 3.
Цилиндр 6 поршневой паровой машины 2 может быть выполнен с отношением длины хода поршня S к внутреннему диаметру d в диапазоне от 5 до 20.
Длина S хода поршня равна длине цилиндра 6 без учета вредного пространства.
Выбор диапазона отношений длины S хода поршня в цилиндре 6 к его внутреннему диаметру d от 5 до 20 осуществлен из условия обеспечения конденсации пара на внутренних стенках цилиндра при минимальных перепадах температур между паром и стенками цилиндра, омываемого снаружи питательной водой, для различных мощностей поршневой паровой машины от 15 до 60 кВт, то есть цилиндр должен иметь по сравнению с обычной поршневой паровой машиной меньший внутренний диаметр и большую длину.
Перемычки 7, скрепляющие водяную рубашку 5 и цилиндр 6, могут быть выполнены по спирали с возрастающим шагом от входа 9 водяной рубашки 5 к выходу 11 из водяной рубашки 5, причем шаг спирали обратно пропорционален плотности нагреваемой в водяной рубашке 5 воды.
Паросиловая установка работает следующим образом.
Насыщенный пар из парового котла 1 подают по трубопроводу через коллектор 13 подачи при открытом клапане 14 подачи в рабочую камеру 12 поршневой паровой машины 2 при крайнем положении поршня 8 в верхней мертвой точке, с минимальным объемом вредного пространства цилиндра 6. При ходе поршня 8 наполняют рабочую камеру 12 заданным количеством насыщенного пара, после чего закрывают клапан 14 подачи. Насыщенный пар начинает расширяться, совершая механическую работу при дальнейшем движении поршня 8. Одновременно насос 4 питательной воды подает питательную воду под давлением из конденсатора 3 через вход 9 в водяную рубашку 5 и питательная вода выходит через выход 11 водяной рубашки 5. Питательная вода нагревается, проходя через водяную рубашку 5 навстречу расширяющемуся пару, до максимально возможной температуры и подается на вход парового котла 1. При этом насыщенный пар, расширяющийся в поршневой паровой машине 2, частично конденсируется внутри цилиндра 6 на его стенках. В конце рабочего хода поршня 8 при открытии окон 16 выпуска пар выпускается через коллектор 15 выпуска в конденсатор 3 вместе со сконденсированной на стенках цилиндра 6 водой-конденсатом, одновременно поршень 8 вытесняет мертвый объем пара между окнами 16 и крышкой 18 через штуцер 17 в конденсатор 3, давление в котором ниже, чем в конце рабочего хода в цилиндре 6 в нижней мертвой точке. При обратном движении поршня 8 к верхней мертвой точке он своим телом закрывает окна 16 выпуска и сжимает оставшийся после выпуска пар низкого давления до объема вредного пространства, после чего цикл повторяется.
При протекании питательной воды через водяную рубашку 5 в пространстве между перемычками 7, выполненными по спирали с возрастающим шагом от входа 9 водяной рубашки 5 к выходу 11 из водяной рубашки 5, обеспечивается постоянная высокая скорость течения питательной воды при максимальной теплопередаче и минимальных гидропотерях, что позволяет нагреть питательную воду до максимально возможной температуры перед ее подачей в паровой котел 1 и получить максимальный термический коэффициент полезного действия паросиловой установки. Например, при использовании насыщенного водяного пара с нагревом питательной воды в водяной рубашке 5 до ее температуры кипения под давлением, то есть в идеальном процессе без перепада температур между паром в цилиндре 6 и водой в водяной рубашке 5, в паровом котле 1 будет затрачено только тепло r на испарение воды при температуре Тп и энтропии пара Sп и воды Sв
q=(Sп-Sв)Тп=r,
а политропическое расширение конденсирующегося пара в цилиндре 6 обеспечит полезную работу пара при температуре конденсатора Тк
Iп=(Sп-Sв)(Тп-Тк).
Термический коэффициент полезного действия паросилового цикла составит =Iп/q=(Sп-Sв)/r (Тп-Тк).
Так при Тп=583К и давлении 100,64 кг/см2 – Тк=323К; r=316,5 ккал/кг; Sп=1,3431 ккал/кг·град; Sв=0,8003 ккал/кг·град.
Термический КПД =(1,3431-0,8003)/316,5(583-323)=0,445, то есть величина, не достижимая в обычных паросиловых установках без нагрева питательной воды в водяной рубашке цилиндра от конденсирующегося внутри него расширяющегося пара.
При наличии ограниченного перепада температур между паром и водой в водяной рубашке цилиндра несколько понизится нагрев воды в водяной рубашке и термический КПД.
При нагреве воды в водяной рубашке не до 583К, а до 573К, то есть на 10К меньше, теплосодержание воды на входе в паровой котел упадет с 334,9 ккал/кг до 321,2 ккал/кг и термический КПД понизится до
=0,445(r+321,2)/(r+334,9)=0,445·0,979=0,435,
то есть незначительно.
Для расчета параметров поршневой паровой машины с конденсацией пара внутри цилиндра была разработана теория, в соответствии с которой было определено, что при постоянных оборотах вала и среднем эффективном давлении диаметр цилиндра зависит от перепада температур t в степени 0,6: d=C1 t0,6, а отношение длины хода поршня к его диаметру пропорционально мощности S/d=С2N/d3.
Например, при t=10° числе оборотов вала 150 об/мин и среднем эффективном давлении пара 8 кг/см2, d=90 мм, a S/d при N=15 л.с и 60 л.с. соответственно равны 5 и 20, что намного выше обычных паровых машин, где S/d не более 2.
Формула изобретения
1. Паросиловая установка с поршневой паровой машиной, содержащая соединенные между собой гидравлически последовательно паровой котел, поршневую паровую машину, конденсатор и насос питательной воды, отличающаяся тем, что поршневая паровая машина выполнена с водяной рубашкой вокруг ее цилиндра, скрепленными друг с другом перемычками, вход рубашки расположен в конце цилиндра и гидравлически соединен с выходом насоса, а выход расположен в начале цилиндра со стороны рабочей камеры и гидравлически соединен с входом парового котла, перемычки, скрепляющие водяную рубашку и цилиндр, выполнены по спирали с возрастающим шагом от входа рубашки к выходу из нее, вход и выход пара поршневой паровой машины расположены на цилиндре соответственно в его начале и в конце.
2. Паросиловая установка, отличающаяся тем, что цилиндр поршневой паровой машины выполнен с отношением длины хода поршня к внутреннему диаметру в диапазоне от 5 до 20.
РИСУНКИ
MM4A – Досрочное прекращение действия патента СССР или патента Российской Федерации на изобретение из-за неуплаты в установленный срок пошлины за поддержание патента в силе
Дата прекращения действия патента: 29.02.2008
Извещение опубликовано: 20.02.2009 БИ: 05/2009
NF4A Восстановление действия патента СССР или патента Российской Федерации на изобретение
Дата, с которой действие патента восстановлено: 20.03.2009
Извещение опубликовано: 20.03.2009 БИ: 08/2009
|
|