|
|
(21), (22) Заявка: 2001134301/04, 18.05.2000
(24) Дата начала отсчета срока действия патента:
18.05.2000
(30) Конвенционный приоритет:
20.05.1999 ZA 99/3445
(43) Дата публикации заявки: 20.01.2004
(45) Опубликовано: 10.11.2004
(56) Список документов, цитированных в отчете о поиске:
EP 646557 А1, 05.04.1995. US 5674949 A, 07.10.1997. US 396168 A1, 07.11.1990. RU 94030487 А1, 20.05.1997.
(85) Дата перевода заявки PCT на национальную фазу:
20.12.2001
(86) Заявка PCT:
IB 00/00664 (18.05.2000)
(87) Публикация PCT:
WO 00/71492 (30.11.2000)
Адрес для переписки:
119034, Москва, Пречистенский пер., 14, стр.1, 4-й эт., В.Н.Дементьеву
|
(72) Автор(ы):
ВЕНТЕР Петрус Джоханнес (CA), ВАН ДЕР ВЕСТХЕЙЗЕН Дрикус (ZA)
(73) Патентообладатель(и):
ДЗЕ САУФ ЭФРИКАН НУКЛЕА ЭНЕРДЖИ КОРПОРЕЙШН ЛИМИТЕД (ZA)
(74) Патентный поверенный:
Дементьев Владимир Николаевич
|
(54) СПОСОБ И УСТАНОВКА ФТОРИРОВАНИЯ УГЛЕВОДОРОДНОЙ ПОДЛОЖКИ
(57) Реферат:
Использование: получение фторированных углеводородов. Сущность: проводят разбавление углеводородной подложки инертным разбавителем и перемешивание разбавленной подложки с газообразным реагентом фторирования для образования вспененной реакционной смеси. Далее производят введение в реакцию реагента фторирования с подложкой, чтобы получить вспененный фторированный продукт, а затем разделение вспененного продукта на газовую компоненту и жидкую компоненту, которая содержит фторированный материал в виде продукта. После этого производят выделение продукта из жидкой компоненты и возврат жидкой компоненты, из которой был удален продукт, на операцию разбавления. Реагент фторирования вводят в газовую компоненту, которую затем рециркулируют в операцию перемешивания. Предложена также установка для фторирования углеводородной подложки, которая содержит включенные последовательно в контур ступень разбавления, ступень перемешивания, реакционную ступень и ступень разделения. В указанной установке применено средство возврата жидкости, предназначенное для ее возврата из ступени разделения в ступень разбавления, а также газовая линия рециркуляции, предназначенная для подачи газа из ступени разделения в ступень перемешивания. Технический результат: создание эффективного способа и установки для фторирования углеводородной подложки с хорошим выходом продукта. 2 с. и 23 з.п. ф-лы, 1 ил.

Настоящее изобретение имеет отношение к фторированию углеводородной подложки, а более конкретно к созданию способа и установки для перфторирования факультативно замещенной углеводородной подложки.
Наиболее близким аналогом настоящего изобретения является Европейский патент ЕР 0646557 А1. В этом патенте описан способ фторирования для углеводородной подложки, который предусматривает разбавление жидкой углеводородной подложки инертным жидким разбавителем и перемешивание разбавленной подложки с газообразным средством (реагентом) фторирования. Полученная реакционная смесь вступает в реакцию с образованием фторированного материала в виде продукта. Этот материал в виде продукта затем разделяют при проведении операции разделения на газовую компоненту и жидкую компоненту. Фторированный продукт удаляют из жидкой компоненты при помощи дистилляции, причем инертный жидкий разбавитель рекуперируют из процесса дистилляции и возвращают через операцию разделения на операцию разбавления. Газовую компоненту после операции разделения из процесса удаляют.
В патенте ЕР 0646557 А1 описана также установка, которая содержит ступень разбавления, ступень перемешивания, которая находится в связи по потоку жидкости со ступенью разбавления и предназначена для приема жидкого исходного материала и газообразного исходного материала, реакционная ступень, которая находится в связи по потоку жидкости со ступенью перемешивания, а также ступень разделения, которая находится в связи по потоку жидкости с реакционной ступенью. Ступень разделения находится в связи по потоку жидкости со ступенью разбавления, причем в ней предусмотрено средство для возврата компонентов жидкости из ступени разделения на ступень разбавления, что побуждает их протекать по контуру жидкости, который содержит ступень разбавления, ступень перемешивания, реакционную ступень и ступень разделения. Предусмотрена линия подачи жидкости в контур и линия подачи газа в ступень перемешивания.
В соответствии с первым аспектом настоящего изобретения, предлагается способ фторирования факультативно замещенной углеводородной подложки, который включает в себя следующие операции:
разбавление исходного материала углеводородной подложки инертным жидким разбавителем с образованием разбавленной подложки;
перемешивание разбавленной подложки с газообразным реагентом фторирования для образования реакционной смеси;
создание условий для протекания реакции (допущение реагирования) реагента фторирования в реакционной смеси с подложкой, для фторирования подложки, чтобы получить фторированный материал в виде продукта;
разделение реакционной смеси, содержащей фторированный материал в виде продукта, на газовую компоненту и жидкую компоненту, причем жидкая компонента содержит фторированный материал в виде продукта;
выделение фторированного материала в виде продукта из жидкой компоненты и возврат жидкой компоненты, из которой был удален фторированный материал в виде продукта, на операцию разбавления, где она действует в качестве жидкого разбавителя,
причем при операции перемешивания образуется реакционная смесь в виде вспененного материала (пены), при этом способ включает в себя следующие дополнительные операции:
подача исходного материала реагента фторирования в газовую компоненту;
рециркуляция газовой компоненты, которая содержит исходный материал реагента фторирования, на операцию перемешивания, где она создает реагент фторирования в реакционной смеси.
Разбавление исходного материала подложки жидким разбавителем может быть таким, чтобы образовались раствор, эмульсия или суспензия подложки в жидком разбавителе, причем указанный жидкий разбавитель образует непрерывную (сплошную) фазу и действует в качестве носителя для подложки. В контексте настоящего изобретения инертным жидким разбавителем считают такой разбавитель, который не вступает в недопустимые химические реакции и преимущественно не вступает ни в какие химические реакции при протекании процесса. Преимущественно исходный материал подложки подают в поток жидкого разбавителя, который является турбулентным, ранее операции перемешивания, таким образом, чтобы обеспечить достаточно однородный ввод жидкости в операцию перемешивания. В частности, введение углеводородной подложки может быть осуществлено в поток жидкого компонента, который является турбулентным, в положении между операцией разделения и операцией перемешивания.
Обычно возвращение жидкой компоненты на операцию разбавления производят при помощи нагнетания насосом жидкой компоненты из операции разделения на операцию разбавления, со скоростью, достаточной для создания турбулентного течения в перекачиваемой жидкой компоненте, причем исходный материал углеводородной подложки подают в турбулентный поток перекачиваемой жидкой компоненты в жидкой форме, хотя, в принципе, подложка может иметь газообразную или измельченную твердую форму, при условии, что она достаточно растворена или диспергирована иным образом в жидком разбавителе к моменту проведения операции перемешивания.
Перемешивание преимущественно осуществляют мгновенно, обычно за счет пропускания разбавленной подложки и реагента фторирования вместе через поточный непрерывный смеситель, такой как статический смеситель, который обычно имеет вид струйного насоса типа эжектора, эдуктора или экстрактора, и может содержать трубку Вентури. Под мгновенным перемешиванием понимают то, что перемешивание при проведении операции перемешивания должно быть в основном завершено самое большее в течение 1 секунды.
Может быть использован любой подходящий газообразный реагент фторирования, такой как окисляющий содержащий фтор химикат, причем газообразное средство фторирования может быть выбрано из группы фторирующих газов, таких как F2, UF6, XeF2, CIF3 и ВrF3, причем молекулярный фтор в виде F2 является предпочтительным по причине высокой производительности, низкой стоимости и доступности. Для облегчения контроля при протекании реакции, которая является экзотермической, фторирующий газ может быть разбавлен при помощи инертного газообразного разбавителя, которым может быть благородный инертный газ, такой как аргон, но которым, вновь по причине стоимости и доступности, преимущественно является азот. Другими словами, газообразный реагент фторирования, при его перемешивании с разбавленной подложкой, также может быть в разбавленной форме, причем газообразный реагент фторирования разбавлен при помощи инертного газообразного разбавителя. Газовая компонента, которую рециркулируют, обычно представляет собой смесь F2/N2, в которой содержание F2 составляет 10-80% по объему, а преимущественно 30-60% по объему, например, 50%, причем подходящее или оптимальное значение определяют при проведении стандартных экспериментов. Отношение перемешанных вместе газа и жидкости при проведении операции перемешивания может составлять 2:1-1:50 по объему, а преимущественно 1:2-1:10, например, 1:4, чем определяется консистенция вспененного материала. Газообразным реагентом фторирования может быть F2, который является главным образом частью газовой смеси F2/N2, в которой N2 представляет собой инертный газообразный разбавитель, причем, при перемешивании газообразного реагента фторирования с разбавленной подложкой, газовая смесь содержит 10-80% по объему F2 и 20-90% по объему n2, при этом объемное отношение газовой смеси к разбавленной подложке, при проведении операции перемешивания, составляет 2:1-1:50 по объему.
Допущение реакции реагента фторирования во вспененном материале с подложкой преимущественно предусматривает поддержание реакционной смеси в виде вспененного материала (пены), без недопустимого ее разделения на жидкую и газообразную компоненты, вплоть до достаточной степени завершения реакции. Заявитель обнаружил, что выгрузка реакционной смеси из операции перемешивания в направлении вниз или преимущественно вверх, но не горизонтально, например, по трубе, способствует поддержанию пены в состоянии, стойком к разделению на жидкую и газообразную компоненты. Таким образом, допущение реакции реагента фторирования во вспененном материале с подложкой может предусматривать пропускание реакционной смеси в виде пены по пути потока, ведущему от операции перемешивания до операции разделения, который наклонен под углом к горизонтали, причем средство фторирования вступает в реакцию в пене с подложкой, когда пена движется по указанному пути потока. При проведении выгрузки пены вертикально вверх из операции перемешивания по трубопроводу с круговым поперечным сечением обычно выбирают отношение диаметра к длине вертикального трубопровода в диапазоне 1:15-1:40. Для нахождения оптимального или приемлемого отношения можно провести стандартный эксперимент для трубопроводов с различным размером поперечного сечения или с различным углом наклона к горизонтали. В соответствии с особым вариантом осуществления настоящего изобретения, для трубопроводов любого поперечного сечения, путь потока может быть наклонен к горизонтали на угол, составляющий по меньшей мере 45°, а преимущественно по меньшей мере 80°, причем цифровое отношение площади поперечного сечения (мм2) к длине пути потока (мм) лежит в диапазоне /4:15 – /4:40.
Операцией разделения может быть операция осаждения (отстаивания), при проведении которой происходит отделение пены, которая осаждается в слое жидкости под газообразным головным пространством. Фторированный материал в виде продукта и возвратная жидкая компонента могут быть выделены из этого слоя жидкости, в то время как рециркулированная газообразная компонента может быть отведена из головного пространства, в которое может быть подан исходный материал газообразного реагента фторирования. Следовательно, в частности операцией разделения может быть операция осаждения, при проведении которой создают условия для осаждения пены в слой жидкой компоненты под головным пространством, которое содержит газообразную компоненту, причем фторированный материал в виде продукта и возвратная жидкая компонента могут быть выделены из слоя жидкости, а рециркулированная газообразная компонента может быть отведена из головного пространства, в которое подают исходный материал газообразного реагента фторирования. Фторированный материал в виде продукта может быть выделен как часть смеси жидкого разбавителя, фторированного материала в виде продукта и частично прореагировавшей подложки в форме промежуточных соединений. Фторированный материал в виде продукта может быть выделен из этой смеси, при этом остаток, который составляют жидкий разбавитель, частично прореагировавшая подложка и промежуточные соединения, вновь вводят в жидкую компоненту. Таким образом, другими словами, фторированный материал в виде продукта и возвратная жидкая компонента могут быть выделены в виде смеси из слоя жидкости, причем способ предусматривает разделение фторированного материала в виде продукта от жидкой компоненты после их выделения из слоя жидкости и ранее введения жидкой компоненты в операцию разбавления, при проведении которой производят разбавление исходного материала подложки.
Существует вероятность того, что в жидкой компоненте молекулы подложки или частично вступившей в реакцию подложки могут вступать в совместную реакцию и полимеризоваться или олигомеризоваться, что нежелательно. Эту полимеризацию или олигомеризацию подавляют за счет использования жидкого разбавителя, позволяющего отделять друг от друга молекулы подложки и молекулы частично вступившей в реакцию подложки, а также за счет глубокого перемешивания жидкой компоненты с газообразной компонентой, преимущественно приводящего к образованию пены. Следовательно, жидкая компонента должна оставаться отделенной от газообразной компоненты пены в течение возможно более короткого промежутка времени, причем выбирают время удержания жидкой компоненты при проведении операции разделения возможно более коротким, так же как и время подачи жидкой компоненты от операции разделения на операцию перемешивания, а также от реакционной стадии во вспененном материале на операцию разделения, так как разделение имеет место ранее операции разделения. В частности, время удержания жидкой компоненты при проведении операции разделения и время удержания жидкой компоненты при проведении операции возвращения жидкой компоненты, с того момента, как жидкая компонента выходит из операции разделения, и до того, как она входит на операцию перемешивания, может составлять в целом самое большее 10 секунд. Однако, как правило, верхний предел этого суммарного времени удержания определяется в зависимости от природы подложки и использованного жидкого разбавителя. Подходящее время удержания может быть определено для каждого производимого фторированного материала в виде продукта при помощи стандартных экспериментов, с учетом экономических и практических соображений, в частности, таким образом, чтобы избежать (или ограничить) необратимое образование нежелательных побочных продуктов.
Что касается параметров процесса, то реакционная стадия может быть проведена под повышенным давлением в диапазоне от давления пара жидкого разбавителя при температуре реакции до 28 МПа, а преимущественно в диапазоне 200-700 кПа, например, 400 кПа. В свою очередь, температура реакции может составлять от -40 до 80°С, а обычно от -30 до 50°С, например, 20°С. Обычно реакцию реагента фторирования во вспененном материале с углеводородной подложкой можно проводить под давлением реакции 200-700 кПа и при температуре реакции от -10 до 50°С. Нашли, что подходящим инертным жидким разбавителем может быть фтористоводородная (плавиковая) кислота (HF), причем подложка может быть добавлена к рециркулированной жидкой компоненте с такой скоростью, что получают разбавление подложки в жидком разбавителе с отношением 1:20000-1:300000 или выше, а обычно 1:50000-1:300000, например 1:160000. Другими словами, введение исходного материала углеводородной подложки в инертный жидкий разбавитель производят в такой пропорции, что получают разбавление (разведение) подложки жидким разбавителем, причем объемное отношение подложки к жидкому разбавителю в разбавленной подложке лежит в диапазоне 1:50000-1:300000.
Как уже было упомянуто здесь ранее, углеводородная подложка факультативно является замещенной. Таким образом, подходящие подложки, которые могут быть фторированы или перфторированы (то есть полностью фторированы) в соответствии со способом по настоящему изобретению, включают в себя незамещенные насыщенные и ненасыщенные углеводороды, такие как ароматические углеводороды, содержащие алкильные и/или арильные группы, а также замещенные углеводороды, примерами которых могут быть галогенозамещенные углеводороды, галиды карбоновой кислоты, галиды сульфоновой кислоты, простые эфиры, сложные эфиры, и т.п. Обычно любые ненасыщенные связи в подложке преобразуются в насыщенные связи за счет фторирования. Короче говоря, подложка может быть выбрана из группы незамещенных углеводородов, в которую входят алкильные соединения и арильные соединения, а также из группы замещенных углеводородов, в которую входят галогенозамещенные углеводороды, галиды карбоновой кислоты, галиды сульфоновой кислоты, простые эфиры и сложные эфиры. Как уже было упомянуто здесь ранее, преимущественным инертным жидким разбавителем является фтористоводородная кислота (HF), так как она обычно является достаточной инертной для решения указанной задачи, а также совместимой с параметрами процесса и с материалами, примененными в описанной здесь далее установке.
В соответствии с другим аспектом настоящего изобретения, предлагается установка для фторирования факультативно замещенной углеводородной подложки, например, описанным выше способом, причем указанная установка представляет собой контур потока жидкости, который включает в себя:
ступень разбавления для раздельного приема исходного материала углеводородной подложки и жидкого разбавителя, которая предназначена для разбавления подложки жидким разбавителем;
ступень перемешивания, которая находится в связи по потоку флюида со ступенью разбавления, и предназначена для раздельного приема исходного материала разбавленной углеводородной подложки из ступени разбавления и приема газообразного реагента фторирования, и для перемешивания исходного материала разбавленной углеводородной подложки с газообразным реагентом фторирования, с образованием реакционной смеси;
реакционную ступень, которая находится в связи по потоку флюида со ступенью перемешивания, и предназначена для приема реакционной смеси из ступени перемешивания и для ввода реагента фторирования в реакцию с подложкой в реакционной смеси, чтобы произвести фторирование подложки и образовать фторированный материал в виде продукта;
ступень разделения, которая находится в связи по потоку флюида с реакционной ступенью и имеет связь по потоку жидкости со ступенью разбавления, а также связь по потоку газа со ступенью перемешивания, и предназначена для приема реакционной смеси, содержащей фторированный материал в виде продукта из реакционной ступени, для разделения реакционной смеси на газовую компоненту и жидкую компоненту, для подачи отделенной жидкой компоненты в качестве разбавителя в ступень разбавления, а также для подачи отделенной газовой компоненты, содержащей газообразный реагент фторирования, в ступень перемешивания;
средство возврата жидкости, предназначенное для возврата отделенной жидкой компоненты из ступени разделения в ступень разбавления, для обеспечения ее протекания по контуру потока жидкости, который включает в себя ступень разбавления, ступень перемешивания, реакционную ступень и ступень разделения;
жидкостную линию подачи подложки в указанный контур;
газовую линию подачи реагента фторирования в указанный контур, предназначенную для подачи реагента фторирования в точку газового потока между реакционной ступенью и ступенью перемешивания,
причем ступень перемешивания предназначена для образования реакционной смеси, которая представляет собой вспененный материал, при этом указанная установка включает в себя средство для рециркуляции отделенной газовой компоненты из ступени разделения в ступень перемешивания.
Жидкостная линия подачи подложки связана со ступенью разбавления, а газовая линия подачи реагента фторирования связана со ступенью разделения.
Более конкретно, ступень перемешивания может быть выполнена в виде статического устройства перемешивания, такого как струйный насос, содержащий трубку Вентури, причем проходящий через трубку Вентури поток разбавленной подложки действует так, что выводит и рециркулирует газообразную компоненту из ступени разделения в трубку Вентури, таким образом, что струйный насос действует в качестве средства рециркуляции газа, обеспечивающего рециркуляцию газообразной компоненты. Из этого следует, что ступень перемешивания может содержать потоковый (in-line) непрерывный смеситель, такой как статический смеситель, не имеющий подвижных частей; причем, в частности, непрерывный смеситель может быть выполнен в виде струйного насоса, включенного последовательно (in line) в контур между ступенью разбавления и реакционной ступенью, с использованием в качестве нагнетаемой жидкости разбавленной подложки, протекающей от ступени разбавления к реакционной ступени, причем струйный насос имеет газовый всасывающий впуск, который сообщается со ступенью разделения и с газовой линией подачи реагента фторирования, при этом струйный насос действует в качестве средства рециркуляции газа. Соединение камеры всасывания насоса с газовой линией подачи реагента фторирования может быть непосредственным, или же косвенным, через ступень разделения. Средство возврата жидкости, предназначенное для возврата (рекуперации) жидкой компоненты, может быть выполнено в виде насоса, нагнетающего возвратную жидкую компоненту, с турбулентным течением жидкости, через ступень разбавления к ступени перемешивания, с трубопроводом, включенным между источником исходного материала подложки и ступенью перемешивания, в который поступает исходный материал подложки, причем этот трубопровод работает в качестве ступени разбавления.
Реакционная ступень также может быть выполнена в виде трубопровода, такого как труба с круговым поперечным сечением, идущая вверх, а преимущественно вертикально, от трубки Вентури, причем эта труба имеет отношение диаметра к длине, составляющее 1:15-1:40, а преимущественно 1:20-1:35, например 1:28. Вообще реакционная ступень может быть выполнена в виде трубопровода, идущего под углом к горизонтали, составляющим по меньшей мере 45°, а преимущественно по меньшей мере 80°, причем при любой форме поперечного сечения этот трубопровод имеет такую площадь поперечного сечения и длину, что цифровое отношение площади поперечного сечения (мм2) к длине трубопровода (мм) лежит в диапазоне /4:15 – /4:40, причем трубопровод является главным образом вертикальным (то есть имеет наклон к горизонтали, который составляет самое большее 80°) и представляет собой трубу с круговым поперечным сечением, имеющую отношение диаметра к длине, составляющее 1:20-1:35.
Ступень разделения может быть выполнена в виде отстойного резервуара, (отстойника), который расположен рядом с трубкой Вентури, причем труба, которая образует реакционную ступень, преимущественно устроена таким образом, что линия течения, по которой насос вдоль трубы нагнетает жидкую компоненту из отстойника в трубку Вентури, является самой короткой из возможных, с учетом того, что в трубке Вентури обеспечено достаточное количество исходного материала подложки, который равномерно разбавлен или диспергирован жидкой компонентой до поступления в трубку Вентури, причем отстойник должен быть расположен достаточно близко к трубке Вентури, чтобы преимущественно предотвращать протекание нежелательных побочных реакций, таких как полимеризация и олигомеризация, при этом путь потока от вершины трубы реакционной ступени до ступени разделения также должен быть выбран возможно короче. Следует выбирать возможно короче время, в течение которого жидкая компонента не вспенена газообразной компонентой, чтобы предотвращать нежелательную полимеризацию и олигомеризацию молекул подложки, которые еще не перфторированы. Из этого следует, что ступень разделения может быть выполнена в виде ступени осаждения, имеющей выпуск жидкости на низком уровне в ступень разбавления, газовый выпуск на высоком уровне в ступень перемешивания и впуск на высоком уровне для газового исходного материала реагента фторирования; причем часть контура между ступенью разделения и ступенью разбавления может быть возможно более короткой, при этом в свою очередь ступень разбавления выполнена с возможностью подачи разбавленной подложки в ступень перемешивания возможно быстрее после завершения разбавления, так чтобы время нахождения разбавленной подложки в контуре, которое не требуется для образования пены, преимущественно составляло самое большее 30 секунд. Подача газа фторирования может производиться в головное пространство отстойника, так же как и подача инертного газообразного разбавителя, такого как азот для газообразной компоненты. Если жидкая компонента осаждается медленно, то ступень разделения может содержать устройство разделения в виде циклона (гидроциклона), позволяющее ускорить операцию разделения. Как уже было упомянуто здесь ранее для способа в соответствии с настоящим изобретением, указанный верхний предел времени определяют при помощи стандартных экспериментов, с учетом природы подложки и использованного жидкого разбавителя, принимая во внимание практические и экономические соображения и необходимость исключения образования нежелательных побочных продуктов. Несмотря на то, что в большинстве случаев желательно иметь короткие времена, не исключено использование длительных времен удержания, когда подложка и жидкий разбавитель таковы, что время осаждения является достаточно длительным. Это демонстрирует гибкость способа в соответствии с настоящим изобретением.
В этом отношении процесс в соответствии с настоящим изобретением, который номинально протекает на непрерывной основе, можно рассматривать как квази периодический, по той причине, что в любом газе фторирования, таком как молекулярный фтор (F2), имеются примеси, так же как и в летучих продуктах распада, которые могут образоваться в ходе операции фторирования. Накопление указанных примесей вызывает необходимость периодической продувки контура, образованного в установке, с последующим возобновлением процесса. Само собой разумеется, что если чистота газа фторирования является достаточно высокой и образуются приемлемо низкие количества летучих продуктов распада, то периодическая продувка не требуется или же такие продувки могут проводиться время от времени и в исключительных случаях, с большими временными интервалами между ними. Азот обычно подают в газообразную компоненту в отстойнике только при запуске, что необходимо для разбавления фтора, причем можно ожидать, что азот после этого больше не потребуется, вплоть до следующего запуска или до следующей продувки, если она нужна. Однако само собой разумеется, что требуется непрерывная подача в процесс подложки и фтора, так как они потребляются при протекании процесса. Потребление азота является незначительным и не требуется его пополнение в ходе работы установки, до проведения продувки. При необходимости пополнение азота производят после продувки или при следующем запуске.
Общая конфигурация установки в соответствии с настоящим изобретением позволяет обеспечить достаточную гибкость по отношению к реакционным условиям, что создает возможность проведения оптимизации для различных продуктов, облегчает управление процессом и гарантирует определенную степень безопасности.
Указанные ранее и другие характеристики изобретения будут более ясны из последующего детального описания, данного в качестве примера, не имеющего ограничительного характера и приведенного со ссылкой на сопроводительный чертеж, на котором показана схематично блок-схема установки в соответствии с настоящим изобретением.
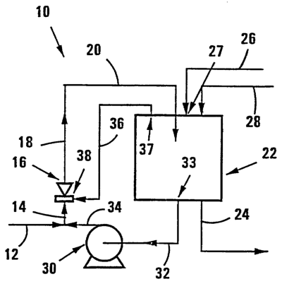
На чертеже позицией 10 обозначена в общем виде установка в соответствии с настоящим изобретением, предназначенная для осуществления способа в соответствии с настоящим изобретением. Исходный материал подложки поступает в установку 10 по трубопроводу с круговым поперечным сечением 12, который подключен на входе ступени разбавления, выполненной в виде трубопровода 14 с круговым поперечным сечением.
Трубопровод 14 подключен к ступени перемешивания, которая выполнена в виде струйного насоса 16 с трубкой Вентури, которая в свою очередь соединена с реакционной ступенью, выполненной в виде вертикального трубопровода 18 с круговым поперечным сечением, имеющего отношение диаметра к длине 1:28. Верхний конец трубы 18 переходит в горизонтальную трубу 20, дальний конец которой идет вниз в ступень разделения, которая выполнена в виде отстойника 22.
Фторированный материал в виде продукта получают по трубе 24, связанной с основанием резервуара 22, в верхнюю часть которого подают газообразный фтор по трубе 26 и азот по трубе 28, причем фтор поступает в резервуар 22 через расположенный на высоком уровне впуск 27. Предусмотрен насос 30, впуск которого соединен с трубой 32, идущей от расположенного на низком уровне выпуска 33 на дне резервуара 22, причем выпуск насоса 30 соединен с трубой 34, которая в свою очередь соединена с началом трубы 14. Несмотря на то, что это и не отражено на чертеже, различные части установки выполнены таким образом, что трубы 14,20, 32 и 34 являются возможно более короткими, причем труба 14 выполнена не длиннее того, что требуется для надлежащего перемешивания и разбавления исходного материала подложки, поступающего по трубе 12, жидкостью, поступающей по трубе 34, перед тем, как разбавленный поток поступает в струйный насос 16. Газовая труба 36 идет от расположенного на высоком уровне выпуска 37 в верхней части резервуара 22 к газовому впуску 38 струйного насоса 16.
При запуске в резервуар 22 загружают желательный объем жидкого разбавителя, такого как упомянутая здесь ранее фтористоводородная кислота, а в головное пространство резервуара над жидким разбавителем вводят соответствующую смесь газообразного фтора с азотом, например, смесь 50:50 по объему, причем фтор поступает по трубе 26, а азот по трубе 28.
Способ в соответствии с настоящим изобретением осуществляют с использованием насоса 30 для перекачки жидкости из резервуара 22 по трубам 32, 34 и 14 в струйный насос 16, в то время как подложка подается от внешнего источника по трубе 12 в трубу 14, фтор подается от внешнего источника по трубе 26 в резервуар 22, а жидкость отводится из резервуара 22 по трубе 24. В ходе работы установки азот по трубе 28 не поступает, однако струйный насос 16 отводит газообразный азот из головного пространства резервуара 22 по трубе 36 и вновь подает его на газовый впуск 38 насоса 16 и, следовательно, в трубу (реакционную ступень) 18.
Жидкий разбавитель и исходный материал подложки быстро перемешиваются в трубе 14, причем они поддерживаются в состоянии турбулентности при помощи насоса 30, который работает с выходной производительностью, достаточной для создания турбулентного течения в трубе 14. В свою очередь, перемешанные подложка и жидкий разбавитель интенсивно перемешиваются в струйном насосе 16 с газом, поступающим по трубе 36 в виде непрерывной пены, которая полностью занимает и заполняет трубу 18, по которой она поднимается вверх. Затем пена из трубы 18 по трубе 20 поступает в резервуар 22, где созданы условия для разделения газа от жидкости.
Фторирование подложки происходит в трубе 18 и завершается в трубе 20 и в резервуаре 22. На дне резервуара 22 образуется жидкий слой (не показан), который содержит жидкий разбавитель, частично вступившую в реакцию подложку (частично фторированный материал в виде продукта) и полностью фторированный материал в виде продукта, то есть перфторированный материал в виде продукта, а также растворенные (до насыщения) реакционные газы (F2 и N2).
Подложку подают по трубе 12, а фтор по трубе 26, с расходом, который соответствует скорости фторирования подложки в трубах 18 и 20, а также в резервуаре 22, причем одновременно фторированный материал в виде продукта отводят из резервуара 22 по трубе 24 со скоростью, соответствующей скорости образования за счет фторирования фторированного продукта, например, перфторированного продукта. Фторированный материал в виде продукта затем пропускают через ступень разделения (не показана), такую как дистилляционная колонна, где фторированный материал в виде продукта разделяется от жидкого разбавителя и от частично фторированного материала в виде продукта, причем отделенные жидкий разбавитель и частично фторированный материал в виде продукта вновь вводятся в резервуар 22. Жидкость возвращается из резервуара 22 при помощи насоса 30 по трубам 32 и 34 для проведения операции разбавления в трубе 14.
Нашли, что регулирование скорости подачи газа фторирования удобно производить при помощи клапана регулирования давления (не показан) на впуске 27 при входе трубы 26 в резервуар 22, что позволяет поддерживать постоянное желательное давление в резервуаре 22. Это возможно потому, что любое падение давления в установке, которая образует замкнутый контур, возникает от падения парциального давления газообразного фтора в результате фторирования подложки. Таким образом, скорость подачи газообразного фтора прямо зависит от скорости подачи подложки и является саморегулирующейся, при условии поддержания в контуре постоянного давления. В свою очередь, скорость подачи подложки регулируется с учетом выделения теплоты при фторировании подложки в установке и необходимости поддержания температуры в установке в допустимых пределах.
Далее приведены примеры построения установки и осуществления способа в соответствии с настоящим изобретением.
Пример 1
Перфторирование n-гексана
В резервуар 22 установки, выполненной в соответствии со схемой на чертеже, которая имеет полный объем 8 литров, без учета объема труб 12, 26, 28 и 24, было загружено 6 кг безводной фтористоводородной кислоты (HF). Затем при помощи насоса 30 эта жидкость перекачивалась по контуру, образованному резервуаром 22, трубкой Вентури насоса 16 и трубами 14, 18, 20, 32 и 34, с расходом 60 кг/мин, таким образом, что полный объем фтористоводородной кислоты проходит по контуру 10 раз в минуту, что дает время удержания в контуре в целом, или совместно на операции разделения, на операции рециркуляции и на операции разбавления, не превышающее 6 секунд.
В резервуар 22 вводят азот под давлением 200 кПa, а затем медленно вводят фтор, пока не будет достигнуто давление 400 кПa, что позволяет получить в резервуаре газовую смесь, которая имеет отношение F2/N2, составляющее 50:50 по объему. В резервуаре 22 устанавливают и поддерживают температуру 25°С.
Осушенный n-гексан накачивают в контур при помощи поршневого насоса (не показан) по трубе 12 с расходом 500 мл/мин, в то время как фтор поступает в резервуар 22 со скоростью, достаточной для поддержания в нем давления 400 кПа. При этом было обнаружено легкое повышение температуры в резервуаре 22, а также повышение уровня фтора в трубе 26. Жидкость из резервуара 22 выгружали по трубе 24 со скоростью, достаточной для поддержания постоянного низкого уровня жидкости в резервуаре 22, таким образом, чтобы пена из резервуара не выводилась.
Были созданы условия для осаждения жидкости, выведенной из резервуара по трубе 24, и ее разделения на 2 слоя, причем нижний слой был образован перфторированным гексаном. Затем производили очистку при помощи дистилляции и возвращали в резервуар 22 частично фторированный материал в виде продукта, в то время как более тяжелые олигомерные отходы удаляли. Верхний слой после осаждения подвергали дистилляции для получения очищенной фтористоводородной кислоты, которая годится для ее возвращения по трубе 14 или для иного применения. Другие фракции дистилляции верхнего слоя, которые содержат частично фторированную подложку, также возвращали в резервуар 22.
Получили выход перфторированного гексана, который составил 85% от теоретического, причем потери фтора не превышали 2%.
Пример 2
Перфторирование октаноил фторида
Были повторены условия Примера 1, с тем исключением, что по трубе 12 подавали октаноил фторид с расходом 300 мл/мин, который использовали в качестве подложки, при использовании HF в качестве жидкого разбавителя. Вновь использовали отношение F2/N2, составляющее 50:50 по объему под полным реакционньм давлением 400 кПа. Поддерживали температуру реакции в диапазоне от -10 до -5°С. По трубе 24 непрерывно отводили жидкость для поддержания постоянного уровня в отстойнике 22. Продуктовую смесь подвергали дистилляции для отделения HF от органических компонентов. Полученный при этом перфторированный продукт был дополнительно очищен за счет удаления из него побочных продуктов при помощи еще одной дистилляции. В неоптимизированных условиях был получен выход перфторированного октаноил фторида, составивший 62%.
Пример 3
Перфторирование метилового эфира 3-метокси-тетрафторпропановой кислоты
Были повторены условия Примера 1 при использовании в качестве подложки метилового эфира 3-метокси-тетрафторпропановой кислоты, который подавали по трубе 12 с расходом 900 мл/мин, при использовании HF в качестве жидкого разбавителя. Использовали отношение F2/N2, составляющее 40:60 по объему под полным реакционным давлением 350 кПа. Поддерживали температуру реакции в диапазоне от 4 до 10°С. По трубе 24 непрерывно отводили жидкость для поддержания постоянного уровня в отстойнике 22. Обнаружили, что искомый продукт является весьма нестабильным в не разбавленном виде. Обнаружили также, что в присутствии соответствующего нуклеофильного реагента протекает деэстерификация с образованием фторида кислоты и карбонил дифторида. Для проведения анализа продукта был образован метокси сложный эфир, который получали путем выделения органических продуктов из HF. Пробу продуктовой смеси добавляли в метанол и создавали условия для протекания реакции между ними. Полученную таким образом смесь дренировали в лед и создавали условия для ее разделения на слои. Отделяли нижний органический слой и перемешивали его с дополнительньм метанолом и фторидом калия. Перемешивание указанной смеси продолжали в течение 6 часов. После дополнительной промывки и последующей сушки сульфатом натрия, с последующей фильтрацией, был проведен анализ метокси сложного эфира. В не оптимизированных условиях был получен выход метилового эфира 3-трифторметокси-тетрафторпропановой кислоты, составивший 47%.
Пример 4
Перфторирование метилового эфира 2-метокси-тетрафторпропановой кислоты
Были повторены условия Примера 1 при использовании в качестве подложки метилового эфира 2-метокси-тетрафторпропановой кислоты. Подложку подавали по трубе 12 с расходом 900 мл/мин, при использовании HF в качестве жидкого разбавителя. Использовали отношение F2/N2, составляющее 40:60 по объему под полным реакционным давлением 350 кПa. Поддерживали температуру реакции в диапазоне от 4 до 10°С. По трубе 24 непрерывно отводили жидкость для поддержания постоянного уровня в отстойнике 22. Пробу продуктовой смеси добавляли в метанол и создавали условия для протекания реакции между ними. Полученную таким образом смесь дренировали в лед и создавали условия для ее разделения на слои. Отделяли нижний органический слой и проводили его сушку сульфатом натрия, с последующей фильтрацией. Затем проводили дистилляцию отфильтрованного материала при температуре в диапазоне от 32 до 34°С для получения фракции материала в виде продукта. В неоптимизированных условиях был получен выход метилового эфира 2-перфторометокси-тетрафторпропановой кислоты, составивший 35%.
Преимущества настоящего изобретения, которое описано со ссылкой на приложенный чертеж и приведенные примеры 1-4, заключаются в том, что оно позволяет создать эффективный способ и установку для фторирования или перфторирования углеводородной подложки, с хорошим выходом продукта, особенно после проведения оптимизации процесса, который легко может быть осуществлен и является экономически конкурентоспособным.
Формула изобретения
1. Способ фторирования углеводородной подложки, включающий в себя разбавление углеводородной подложки инертным жидким разбавителем с образованием разбавленной подложки; перемешивание разбавленной подложки с газообразным реагентом фторирования для образования реакционной смеси; реагирование реагента фторирования в реакционной смеси с подложкой для фторирования подложки с получением фторированного материала в виде продукта; разделение реакционной смеси, содержащей фторированный материал в виде продукта, на газовую компоненту и жидкую компоненту, причем жидкая компонента содержит фторированный материал в виде продукта; и выделение фторированного материала в виде продукта из жидкой компоненты и возврат жидкой компоненты, из которой был удален фторированный материал в виде продукта, на операцию разбавления, где она действует в качестве жидкого разбавителя, отличающийся тем, что при проведении операции перемешивания образуют реакционную смесь в виде вспененного материала и осуществляют следующие дополнительные операции: подачу исходного материала реагента фторирования в газовую компоненту и рециркуляцию газовой компоненты, которая содержит исходный материал реагента фторирования, на операцию перемешивания, где она создает реагент фторирования в реакционной смеси.
2. Способ по п.1, отличающийся тем, что подачу исходного материала углеводородной подложки производят в поток жидкой компоненты, имеющий турбулентное течение, причем подачу углеводородной подложки производят в точке между ступенью разделения и ступенью перемешивания.
3. Способ по п.2, отличающийся тем, что возврат жидкой компоненты на операцию разбавления производят путем нагнетания насосом жидкой компоненты с расходом, достаточным для создания турбулентного течения в нагнетаемой жидкой компоненте, причем исходный материал углеводородной подложки подают в турбулентный поток нагнетаемой жидкой компоненты, при этом исходный материал углеводородной подложки находится в жидком виде.
4. Способ по одному из пп.1-3, отличающийся тем, что перемешивание производят в течение не более 1 с.
5. Способ по одному из пп.1-4, отличающийся тем, что газообразный реагент фторирования выбирают из группы фторирующих газов, в которую входят F2, UF6, XeF2, СlF3 и ВrF3.
6. Способ по одному из пп.1-5, отличающийся тем, что газообразный реагент фторирования в момент его перемешивания с разбавленной подложкой также находится в разбавленном виде, причем газообразный реагент фторирования разбавлен инертным газообразным разбавителем.
7. Способ по одному из пп.1-6, отличающийся тем, что газообразным реагентом фторирования является F2 в виде части газовой смеси F2/N2, в которой N2 представляет собой инертный газообразный разбавитель, причем содержание F2 в указанной газовой смеси при перемешивании газообразного реагента фторирования с разбавленной подложкой составляет 10 – 80 об.%, а содержание N2 составляет 20- 90 об.%, причем при проведении операции перемешивания объемное отношение газовой смеси и разбавленной подложки составляет 2:1 – 1:50.
8. Способ по одному из пп.1-7, отличающийся тем, что допущение реакции реагента фторирования во вспененном материале с подложкой преимущественно предусматривает пропускание реакционной смеси в виде пены по пути потока, ведущему от операции перемешивания до операции разделения, который наклонен под углом к горизонтали, причем средство фторирования вступает в реакцию в пене с подложкой, когда пена движется по указанному пути потока.
9. Способ по п.8, отличающийся тем, что путь потока наклонен к горизонтали на угол, составляющий по меньшей мере 45°, причем цифровое соотношение площади поперечного сечения (мм2) и длины пути потока (мм) лежит в диапазоне /4:15 – /4:40.
10. Способ по одному из пп.1-9, отличающийся тем, что операция разделения представляет собой операцию осаждения, при проведении которой происходит отделение пены, которая осаждается в слое жидкой компоненты под газообразным головным пространством, которое содержит газообразную компоненту, причем фторированный материал в виде продукта и возвратную жидкую компоненту выделяют из слоя жидкости, а рециркулированную газообразную компоненту отводят из головного пространства, в которое подают исходный материал газообразного реагента фторирования.
11. Способ по п.10, отличающийся тем, что фторированный материал в виде продукта и возвратную жидкую компоненту выделяют в виде смеси из слоя жидкости, причем способ предусматривает отделение фторированного материала в виде продукта от жидкой компоненты после их выделения из слоя жидкости и ранее введения жидкой компоненты в операцию разбавления, при проведении которой производят разбавление исходного материала подложки.
12. Способ по одному из пп.1-11, отличающийся тем, что время удержания жидкой компоненты при проведении операции разделения и время удержания жидкой компоненты при проведении операции возвращения жидкой компоненты, с того момента, как жидкая компонента выходит из операции разделения, и до того, как она входит на операцию перемешивания, составляет в целом не более 10 с.
13. Способ по одному из пп.1-12, отличающийся тем, что реакцию во вспененном материале реагента фторирования с углеводородной подложкой проводят под давлением 200 – 700 кПa и при температуре реакции от -30 до 50°С.
14. Способ по одному из пп.1-13, отличающийся тем, что введение исходного материала углеводородной подложки в инертный жидкий разбавитель производят в такой пропорции, что получают такое разбавление подложки жидким разбавителем, что объемное соотношение подложки и жидкого разбавителя в разбавленной подложке лежит в диапазоне 1:50 000 -1:300 000.
15. Способ по одному из пп.1-14, отличающийся тем, что подложку выбирают из группы незамещенных углеводородов, в которую входят алкильные соединения и арильные соединения, а также из группы замещенных углеводородов, в которую входят галогензамещенные углеводороды, галиды карбоновой кислоты, галиды сульфоновой кислоты, простые эфиры и сложные эфиры.
16. Способ по одному из пп.1-15, отличающийся тем, что инертным жидким разбавителем является фтористоводородная кислота (HF).
17. Установка для фторирования углеводородной подложки, которая представляет собой контур потока жидкости и включает в себя ступень разбавления для раздельного приема исходного материала углеводородной подложки и жидкого разбавителя для разбавления подложки жидким разбавителем; ступень перемешивания, которая находится в связи по потоку флюида со ступенью разбавления и предназначена для раздельного приема исходного материала разбавленной углеводородной подложки из ступени разбавления и приема газообразного реагента фторирования, а также для перемешивания исходного материала разбавленной углеводородной подложки с газообразным реагентом фторирования, чтобы образовать реакционную смесь; реакционную ступень, которая находится в связи по потоку флюида со ступенью перемешивания и предназначена для приема реакционной смеси из ступени перемешивания и для ввода реагента фторирования в реакцию с подложкой в реакционной смеси, чтобы произвести фторирование подложки и образовать фторированный материал в виде продукта; ступень разделения, которая находится в связи по потоку флюида с реакционной ступенью и имеет связь по потоку жидкости со ступенью разбавления, а также связь по потоку газа со ступенью перемешивания и предназначена для приема реакционной смеси, содержащей фторированный материал в виде продукта, из реакционной ступени для разделения реакционной смеси на газовую компоненту и жидкую компоненту, для подачи отделенной жидкой компоненты в качестве разбавителя в ступень разбавления, а также для подачи отделенной газовой компоненты, содержащей газообразный реагент фторирования, в ступень перемешивания; средство возврата жидкости, предназначенное для возврата отделенной жидкой компоненты из ступени разделения в ступень разбавления, чтобы обеспечить ее протекание по контуру потока жидкости, который включает в себя ступень разбавления, ступень перемешивания, реакционную ступень и ступень разделения; жидкостную линию подачи подложки в указанный контур; и газовую линию подачи реагента фторирования в указанный контур, предназначенную для подачи реагента фторирования в точку газового потока между реакционной ступенью и ступенью перемешивания, отличающаяся тем, что ступень перемешивания служит для образования реакционной смеси, которая представляет собой вспененный материал, при этом указанная установка включает в себя средство для рециркуляции отделенной газовой компоненты из ступени разделения в ступень перемешивания.
18. Установка по п.17, отличающаяся тем, что жидкостная линия подачи подложки связана со ступенью разбавления, а газовая линия подачи реагента фторирования связана со ступенью разделения.
19. Установка по одному из пп.17 и 18, отличающаяся тем, что ступень перемешивания содержит потоковый непрерывный смеситель, не имеющий подвижных частей.
20. Установка по п.19, отличающаяся тем, что непрерывный смеситель выполнен в виде струйного насоса, включенного последовательно в контур между ступенью разбавления и реакционной ступенью, с использованием в качестве нагнетаемой жидкости разбавленной подложки, протекающей от ступени разбавления к реакционной ступени, причем струйный насос имеет газовый всасывающий впуск, который сообщается со ступенью разделения и с газовой линией подачи реагента фторирования, при этом струйный насос действует в качестве средства рециркуляции газа.
21. Установка по одному из пп.17-20, отличающаяся тем, что средство возврата жидкости выполнено в виде насоса, нагнетающего возвратную жидкую компоненту с турбулентным течением жидкости через ступень разбавления.
22. Установка по одному из пп.17-21, отличающаяся тем, что реакционная ступень выполнена в виде трубопровода, идущего под углом к горизонтали, составляющим по меньшей мере 45°, причем этот трубопровод имеет такие площадь поперечного сечения и длину, что цифровое соотношение площади поперечного сечения (мм2) и длины трубопровода (мм) лежит в диапазоне /4:15 – /4:40.
23. Установка по одному из пп.17-22, отличающаяся тем, что трубопровод выполнен в виде главным образом вертикальной трубы с круговым поперечным сечением, имеющей соотношение диаметра и длины, составляющее 1:20 -1:35.
24. Установка по одному из пп.17-23, отличающаяся тем, что ступень разделения выполнена в виде ступени осаждения, имеющей выпуск жидкости на низком уровне в ступень разбавления, газовый выпуск на высоком уровне в ступень перемешивания и впуск на высоком уровне для газового исходного материала реагента фторирования.
25. Установка по одному из пп.17-24, отличающаяся тем, что часть контура между ступенью разделения и ступенью разбавления выполнена возможно более короткой, при этом ступень разбавления выполнена с возможностью подачи разбавленной подложки в ступень перемешивания возможно быстрее после завершения разбавления так, чтобы время нахождения разбавленной подложки в контуре, которое не требуется для образования пены, преимущественно составляло не более 10 с.
РИСУНКИ
|
|