|
|
(21), (22) Заявка: 2003105575/02, 26.02.2003
(24) Дата начала отсчета срока действия патента:
26.02.2003
(45) Опубликовано: 10.11.2004
(56) Список документов, цитированных в отчете о поиске:
RU 2179543 С2, 20.02.2002. RU 2194687 С1, 20.12.2002. FR 2376094 А, 28.07.1978. US 3722354 А, 27.03.1973. DE 3523953 А1, 15.01.1987.
Адрес для переписки:
614113, г.Пермь, ул. Чистопольская, 16, ФГУП “Научно-исследовательский институт полимерных материалов”, генеральному директору А.П.Талалаеву
|
(72) Автор(ы):
Куценко Г.В. (RU), Салахов Р.Ф. (RU), Салахов Р.Ф. (RU), Пименова Л.И. (RU), Кузьмицкий Г.Э. (RU), Божья-Воля Н.С. (RU), Лисовский В.М. (RU)
(73) Патентообладатель(и):
Федеральное государственное унитарное предприятие “Научно-исследовательский институт полимерных материалов” (RU), Федеральное государственное унитарное предприятие “Пермский завод им. С.М.Кирова” (RU)
|
(54) СПОСОБ ИЗГОТОВЛЕНИЯ ЗАРЯДА СМЕСЕВОГО РАКЕТНОГО ТВЕРДОГО ТОПЛИВА
(57) Реферат:
Изобретение относится к области изготовления заряда ракетного двигателя из смесевого ракетного твердого топлива, а именно к технологии формования и отверждения заряда под давлением. Предложенный способ включает формование заряда при температуре топливной массы на 10-20°С ниже температуры отверждения и отверждение заряда под давлением. Пресс-форму перед заполнением прогревают при температуре на 5-10°С выше температуры формования в течение 0,5-12 часов. Формуют заряд при постоянном обогреве пресс-формы воздухом, подаваемым под кожух или гибкий чехол пресс-формы с температурой, на 10°С выше или равной температуре формования. Изобретение обеспечивает качество заряда по монолитности, по равновесной температуре, исключает нерасчетное повышение давления в пресс-форме при отверждении. 1 табл., 2 ил.

Изобретение относится к области изготовления заряда ракетного двигателя (РД) из смесевого ракетного твердого топлива (СРТТ), а конкретно к технологии формования и отверждения заряда под давлением.
Анализом отечественной и зарубежной патентной литературы установлено, что известен способ формования зарядов (патент Франции №2376094), предусматривающий заливку холодной топливной массы в холодную пресс-форму с последующим разогревом топливной массы, пресс-формы и поршня, формование заряда путем погружения поршня в полость пресс-формы и отверждения заряда под давлением.
Основным недостатком данного способа является высокая вероятность образования дефектов в заряде в виде воздушных включений в результате захлопывания воздуха при заполнении холодной пресс-формы холодной топливной массой, из-за высоких реологических свойств массы при низкой температуре.
Известен также способ изготовления заряда СРТТ по патенту РФ №2179543, который взят авторами в качестве прототипа, предусматривающий формивание заряда при температуре топливной массы на 10-20°С ниже температуры отверждения, отверждение заряда при температуре 65-85°С и давлении в пресс-форме 1,5-6,0 MПa.
Недостатками прототипа являются:
1. Проведение операции по подготовке пресс-формы к заполнению (разгерметизация пресс-формы, стыковка ее с установкой для формования и т.д.) без предварительного прогрева, особенно после транспортирования ее на фазу формования в зимнее время, приводит к конденсации влаги из окружающего воздуха на внутреннюю поверхность пресс-формы из-за отрицательной разницы температур материала пресс-формы и окружающего воздуха. Вследствие контакта с влагой ухудшаются свойства топлива в пограничном слое с корпусом.
2. Заполнение пресс-формы без предварительного прогрева и без обогрева в процессе формования приводит, во-первых, к снижению температуры топливной массы в пресс-форме за счет теплоотдачи от топливной массы к непрогретой стенке пресс-формы и вследствие этого – к нерасчетному повышению давления в пресс-форме при прогреве ее на фазе отверждения до температуры 65-85°С и к изменению равновесной температуры заряда. Во-вторых, приводит к ухудшению условий течения топливной массы в пресс-форме из-за ее охлаждения в пристенном слое с корпусом, что повышает вероятность образования дефектов в заряде.
Технической задачей предлагаемого изобретения является обеспечение качества заряда по монолитности, по равновесной температуре и исключение нерасчетного повышения давления в пресс-форме при отверждении и ухудшения свойства топлива на границе с корпусом за счет прогрева пресс-формы перед формованием и обогрева ее воздухом в процессе формования.
Предлагаемый способ изготовления заряда СРТТ включает формование заряда из топливной массы и отверждение заряда под давлением. При этом формование заряда проводят при температуре топливной массы на 10-20°С ниже температуры отверждения.
Технический результат достигается следующим образом.
Формование заряда из топливной массы проводят путем заполнения пресс-формы топливной массой при постоянном обогреве пресс-формы воздухом, подаваемым под кожух или гибкий чехол пресс-формы с температурой на 10°С выше или равной температуре топливной массы. Перед формованием заряда проводят подготовку пресс-формы путем ее прогрева при температуре на 5-10°С выше температуры топливной массы в течение 0,5-12 часов.
В предлагаемом способе прогрев пресс-формы перед формованием и обогрев ее в процессе формования предусмотрены для исключения нерасчетного повышения давления при отверждении, исключения образования дефектов в заряде из-за охлаждения топливной массы в пресс-форме и для исключения ухудшения свойств топлива на границе с корпусом за счет конденсации влаги на внутренней поверхности пресс-формы перед формованием.
Исходя из этих условий температура прогрева пресс-формы перед формованием выбрана на 5-10°С выше температуры топливной массы. При разнице температур прогрева и топливной массы менее 5°С из-за малого температурного перепада не выполняется поставленная задача – пресс-форма не прогревается до требуемой температуры. При разнице более 10°С возможно ухудшение свойства топлива на границе с корпусом из-за уноса летучих компонентов из состава крепящего слоя при повышенной температуре.
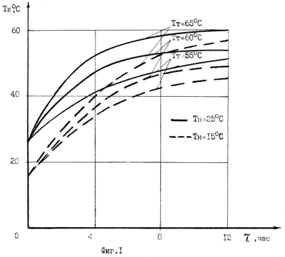
Продолжительность прогрева пресс-формы перед формованием ( ) зависит от начальной температуры пресс-формы (Тн) перед прогревом от температуры, до которой необходимо прогреть пресс-форму до начала заполнения (Тк), от температуры теплоносителя (Тт) при прогреве и определяется из графической зависимости, приведенной на фиг.1, 2. Зависимости строятся отдельно для каждого типа заряда по данным, полученным расчетным путем, исходя из геометрических размеров, теплофизических свойств пресс-формы, топлива и коэффициента теплоотдачи от теплоносителя к пресс-форме.
Температура, до которой необходимо прогреть пресс-форму до начала заполнения Тк, в свою очередь, рассчитывается по формуле:

где Тс – температура топливной массы в пресс-форме к концу формования заряда, °С;
Тф – температура топливной массы, °С;
Мз, Мп – масса топлива в заряде и пресс-формы соответственно, кг;
Ст, Сп – удельная теплоемкость топлива и материала пресс-формы соответственно, ккал/кг.
В процессе формования заряда предлагается проводить постоянный обогрев пресс-формы воздухом, подаваемым под кожух или гибкий чехол пресс-формы с температурой, на 10°С выше или равной температуре топливной массы. При температуре обогревающего воздуха (Тв), ниже температуры топливной массы, происходит снижение температуры топливной массы в пресс-форме к концу формования, что приводит к нерасчетному повышению давления при отверждении заряда. Обогрев пресс-формы с температурой воздуха выше 10°С, чем температура топливной массы, приводит к повышению равновесной температуры заряда.
Примеры конкретного исполнения способа приведены в таблице. В вариантах 1-7 начальная температура пресс-формы перед прогревом Тн=25°С (кривые со сплошной линией на фиг.1), масса топлива в заряде Мз=650 кг, масса пресс-формы Мп=900 кг, удельная теплоемкость топлива Ст=0,338 ккал/кг, пресс-формы С=0,105 ккал/кг. Варианты 8,9 отличаются от вариантов 1-7 начальной температурой пресс-формы перед прогревом, которая составляет Тп=15°С (см. кривые с пунктирной линией на фиг.1). В вариантах 10-12, в отличие от вариантов 1-7, масса топлива в заряде Мз=60 кг, масса пресс-формы Мп=150 кг. Кривая изменения температуры пресс-формы в процессе прогрева перед формованием для вариантов 10-12 показана на фиг.2.
Из данных таблицы видно, что изготовление заряда по предлагаемым режимам способа (варианты 1, 2, 8, 11) обеспечивает получение качественного заряда. Отклонение параметров ведения процесса за пределы, предусмотренные способом, приводит к ухудшению качества заряда по монолитности (варианты 3, 10, 12), к нерасчетному повышению давления при отверждении (варианты 3, 6, 9, 10, 12), к повышению равновесной температуры заряда (варианты 4, 5, 7) и к ухудшению качества топлива в пограничном слое с корпусом (варианты 4, 5, 9).
Предлагаемый способ изготовления заряда СРТТ с положительным результатом прошел опытную проверку на заводе им. O.М.Кирова. Способ обеспечивает изготовление качественных зарядов СРТТ.

Формула изобретения
Способ изготовления заряда смесевого ракетного твердого топлива, включающий формование заряда из топливной массы и отверждение заряда под давлением, при этом формование заряда проводят при температуре топливной массы на 10-20°С ниже температуры отверждения, отличающийся тем, что формование заряда из топливной массы проводят путем заполнения пресс-формы топливной массой при постоянном обогреве пресс-формы воздухом, подаваемым под кожух или гибкий чехол пресс-формы с температурой на 10°С выше или равной температуры топливной массы, перед формованием заряда проводят подготовку пресс-формы путем ее прогрева при температуре на 5-10°С выше температуры топливной массы в течение 0,5-12 ч.
РИСУНКИ
|
|