|
|
(21), (22) Заявка: 2003126151/15, 27.08.2003
(24) Дата начала отсчета срока действия патента:
27.08.2003
(45) Опубликовано: 10.11.2004
(56) Список документов, цитированных в отчете о поиске:
RU 2152907 C1, 20.07.2000. RU 2130901 C1, 27.05.1999. RU 2152362 C1, 10.07.2000. ЕР 0073266 А1, 09.03.1983. US 6168712 B1, 02.01.2001. US 5248422 A, 28.09.1993. JP 7-108291 A, 25.04.1995. RU 1807017 C1, 07.04.1993.
Адрес для переписки:
241012, г.Брянск, ул. Камозина, 45, кв. 17, А.В. Друцкому
|
(72) Автор(ы):
Друцкий А.В. (RU)
(73) Патентообладатель(и):
Друцкий Алексей Васильевич (RU)
|
(54) УСТАНОВКА БИОЛОГИЧЕСКОЙ ОЧИСТКИ СТОЧНЫХ ВОД
(57) Реферат:
Изобретение относится к технике биологической очистки бытовых и промышленных сточных вод. Предложенная установка биологической очистки сточных вод содержит корпуса в виде емкостей, включающие усреднитель с аэрационной системой, первичный отстойник с бункером-накопителем илового осадка, оснащенным аэрационной системой, аэротенк, разделенный вертикальными перегородками на ступени, оснащенные аэрационными системами и носителями прикрепленной микрофлоры, выполненными в виде вертикальных плоских экранов, вторичный отстойник с бункером-накопителем илового осадка, аэробный стабилизатор с аэрационной системой и блок бактерицидной обработки очищенной воды ультрафиолетовым излучением, причем боковые стенки всех емкостей выполнены выпуклыми, а усреднитель дополнительно содержит в нижней своей части носители прикрепленной микрофлоры аммонифицирующего вида. В верхней части установки размещен регулируемый распределитель расхода сточных вод лоткового типа, а аэрационная система усреднителя подключена через электромагнитный клапан. Кроме того, вторичный отстойник дополнительно содержит устройство для его очистки и предотвращения выноса всплывающих частиц илового осадка, включающее аэрационную систему, сборник всплывающих частиц и трубопровод их отвода. Установка обеспечивает повышение стабильности эффективности очистки сточных вод. 2 з.п. ф-лы, 1 ил.

Изобретение относится к технике очистки сточных вод и может быть использовано в установках биологической очистки сточных вод.
Известна установка биологической очистки сточных вод, содержащая прямоугольный корпус в виде емкости, включающей усреднитель, первичный отстойник, аэротенк, разделенный вертикальными перегородками на ступени, с носителями прикрепленной микрофлоры, выполненными в виде вертикальных плоских экранов, вторичный отстойник, систему рециркуляции активного ила, аэробный стабилизатор и блок бактерицидной обработки очищенной воды ультрафиолетовым излучением /1/.
Недостатками известной установки биологической очистки сточных вод является повышенная металлоемкость, определяемая прочностными характеристиками плоских боковых стенок емкостей, и низкая стабильность эффективности очистки сточных вод, вызываемая колебаниями концентраций белковых и жировых загрязнений, а так же возможностью вспухания, всплывания и выноса илового осадка, задержавшегося во вторичном отстойнике или в его бункере по каким-либо причинам более 2-х часов.
Целью изобретения является снижение металлоемкости и повышение стабильности эффективности очистки сточных вод.
Поставленная цель достигается тем, что в установке биологической очистки сточных вод, содержащей прямоугольные корпуса в виде емкостей, включающие усреднитель с аэрационной системой, первичный отстойник с бункером-накопителем илового осадка, оснащенным аэрационной системой, аэротенк, разделенный вертикальными перегородками на ступени, оснащенные аэрационными системами и носителями прикрепленной микрофлоры, выполненными в виде вертикальных плоских экранов, вторичный отстойник с бункером-накопителем илового осадка, аэробный стабилизатор с аэрационной системой и блок бактерицидной обработки очищенной воды ультрафиолетовым излучением, боковые стенки всех емкостей выполнены выпуклыми.
Поставленная цель достигается тем, что в установке биологической очистки сточных вод усреднитель дополнительно содержит в нижней своей части носители прикрепленной микрофлоры, в верхней части – регулируемый распределитель расхода сточных вод лоткового типа, а аэрационная система усреднителя подключена через электромагнитный клапан.
Поставленная цель достигается тем, что в установке биологической очистки сточных вод, вторичный отстойник дополнительно содержит устройство для его очистки и предотвращения выноса всплывающих частиц илового осадка, включающее аэрационную систему, сборник всплывающих частиц и трубопровод их отвода.
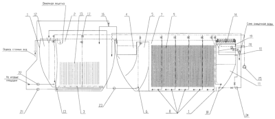
На чертеже условно изображен продольный разрез установки биологической очистки сточных вод.
Установка биологической очистки сточных вод содержит прямоугольные корпуса 1 в виде емкостей, включающих усреднитель 2 с аэрационной системой 3, первичный отстойник 4 с бункером-накопителем 5 илового осадка, оснащенным аэрационной системой 6, аэротенк 7, разделенный вертикальными перегородками на ступени, оснащенные аэрационными системами 8 и носителями прикрепленной микрофлоры 9, выполненными в виде вертикальных плоских экранов, вторичный отстойник 10 с бункером-накопителем 11 илового осадка, аэробный стабилизатор 12 с аэрационной системой 13 и блок 14 бактерицидной обработки очищенной воды.
Боковые стенки всех емкостей выполнены выпуклыми.
Усреднитель 2 дополнительно содержит в нижней своей части носители 15 прикрепленной микрофлоры, в верхней части – регулируемый распределитель 16 расхода сточных вод лоткового типа, а аэрационная система усреднителя подключена через электромагнитный клапан 17.
Вторичный отстойник 10 дополнительно содержит устройство для его очистки и предотвращения выноса всплывающих частиц илового осадка, включающее аэрационную систему 18, сборник 19 всплывающих частиц и трубопровод их отвода 20.
Кроме того, установка содержит насосы 21, 22, 23, 24 и воздуходувку 25.
Установка биологической очистки сточных вод работает следующим образом.
Сточные воды круглосуточно с различной часовой интенсивностью поступают в усреднительную емкость 2, откуда насосом 21, работающим круглосуточно с постоянной производительностью, подаются в первичный отстойник 4. Из первичного отстойника 4 сточные воды самотеком поступают в аэротенк 7, где осуществляется их очистка, и далее поступают во вторичный отстойник 10, где полностью задерживаются иловые частицы, а очищенная вода проходит через блок 14 бактерицидной обработки ультрафиолетовым излучением и далее отводится на повторное использование или в природный водоем.
Задержанные иловые частицы из бункера-накопителя 11 вторичного отстойника 10 отводятся периодически насосом 24 в усреднитель 2.
Выполнение носителей 9 прикрепленной микрофлоры в виде плоских экранов, установленных поперек потока по всей его ширине с зазором относительно днища, обеспечивает выполнение ими дополнительных функций – перегородок, секционирующих аэротенк 7 на множество ступеней, что создает идеальные условия для его работы как вытеснителя, обеспечивая присутствие в нем более широкого спектра работающих микроорганизмов прикрепленной микрофлоры, что способствует более глубокому протеканию всех биологических процессов, включая процессы нитрификации и денитрификации, чем достигается максимальная глубина очистки сточных вод.
Поддержание в воде требуемой концентрации растворенного кислорода осуществляется через аэрационные системы 8 от воздуходувки 25.
Задержанный первичным отстойником 4 иловый осадок собирается в бункере-накопителе 5.
Оснащение бункера-накопителя 5 аэрационной системой 6 обеспечивает удержание без загнивания илового осадка в течение времени рабочего цикла (5-7 суток) аэробного стабилизатора 12 за счет протекания биологических процессов, свойственных для биокоагуляторов.
Один раз в 5-7 суток подача воздуха в аэрационную систему 6 прекращается на пять часов, после чего уплотненный иловый осадок насосом 23 откачивается в емкость 12 аэробного стабилизатора, где в течение последующих 5-7 суток осуществляется его аэробная стабилизация (полное доокисление органических компонентов). По завершении процесса стабилизации илового осадка подача воздуха в аэрационную систему 13 прекращается на пять часов, после чего уплотненный стабилизированный иловый осадок насосом 22 откачивается на иловые площадки или последующую сушку. После остановки насоса 22 включается насос 23 и восстанавливается подача воздуха в аэрационную систему 13.
Осуществление аэробной стабилизации (минерализации) снижает объем избыточного илового осадка в 2-3 раза и исключает появление от него запахов, что в целом значительно повышает эффективность работы установки.
В предлагаемом техническом решении выполнение боковых стенок всех емкостей установки выпуклыми значительно повышает их прочностные характеристики, что позволяет уменьшить толщину используемого листа и практически отказаться от применения ребер жесткости, а это в целом значительно снижает металлоемкость всей установки.
В предлагаемом техническом решении емкость 2, кроме своего основного функционального назначения – выравнивания расхода сточных вод, поступающих в установку, за счет оснащения ее в нижней части носителями 15 прикрепленной микрофлоры аммонифицирующего вида, одновременно осуществляет функции аммонификатора, который обеспечивает подготовку сточных вод к очистке за счет предварительного разложения белков и тяжелых жиров до веществ аммонийной группы, являющихся основным питанием для нитрифицирующих микроорганизмов, что значительно повышает стабильность эффективности очистки сточных вод. Наличие регулируемого распределителя 16 расхода сточных вод, подаваемых насосом 21, обеспечивает возможность надежной фиксации расхода сточных вод, подаваемых в первичный отстойник 4, и рецикл избыточного расхода сточных вод в усреднителе-аммонификаторе 2, обеспечивающий интенсивное перемешивание сточных вод емкости 2, являющееся непременным условием эффективного протекания процессов аммонификации. Подключение аэрационной системы 3 емкости 2 через электромагнитный клапан 7 обеспечивает возможность подачи воздуха в аэрационную систему в периодическом импульсном режиме, за счет чего происходит периодическое взмучивание сточных вод и исключается заиливание емкости 2.
В предлагаемом техническом решении наличие в бункере-накопителе 11 вторичного отстойника 10 аэрационной системы 18, сборника 19 всплывающих частиц и трубопровода 20 их отвода исключает периодический вынос всплывающих частиц илового осадка, который, в случае его задержания в “мертвых зонах” на полках вторичного отстойника 10 или в бункере 11 более 2-х часов, склонен к загниванию, вспухает и всплывает. При необходимости, за счет кратковременной подачи воздуха в аэрационную систему 18 можно в бункере 11 и вторичном отстойнике 10 осуществлять взмучивание и удаление из “мертвых зон” накапливающегося илового осадка.
Таким образом, предложенные технические решения значительно снижают металлоемкость установки и повышают стабильность эффективности очистки сточных вод.
Источники информации
1. Патент РФ № 2152907, М. кл. С 02 F 3/00, 3/12, 1999.
Формула изобретения
1. Установка биологической очистки сточных вод, содержащая корпуса в виде емкостей, включающие усреднитель с аэрационной системой, первичный отстойник с бункером-накопителем илового осадка, оснащенным аэрационной системой, аэротенк, разделенный вертикальными перегородками на ступени, оснащенные аэрационными системами и носителями прикрепленной микрофлоры, выполненными в виде вертикальных плоских экранов, вторичный отстойник с бункером накопителем илового осадка, аэробный стабилизатор с аэрационной системой и блок бактерицидной обработки очищенной воды ультрафиолетовым излучением, отличающаяся тем, что боковые стенки всех емкостей выполнены выпуклыми, причем усреднитель дополнительно содержит в нижней своей части носители прикрепленной микрофлоры аммонифицирующего вида.
2. Установка биологической очистки сточных вод по п.1, отличающаяся тем, что в верхней части установки размещен регулируемый распределитель расхода сточных вод лоткового типа, а аэрационная система усреднителя подключена через электромагнитный клапан.
3. Установка биологической очистки сточных вод по п.1, отличающаяся тем, что вторичный отстойник дополнительно содержит устройство для его очистки и предотвращения выноса всплывающих частиц илового осадка, включающее аэрационную систему, сборник всплывающих частиц и трубопровод их отвода.
РИСУНКИ
QB4A Регистрация лицензионного договора на использование изобретения
Лицензиар(ы): Друцкий А.В.
НИЛ
Лицензиат(ы): ЗАО “ДЕКО”
Договор № 21089 зарегистрирован 03.05.2005
Извещение опубликовано: 10.08.2005 БИ: 22/2005
* ИЛ – исключительная лицензия НИЛ – неисключительная лицензия
|
|