|
|
(21), (22) Заявка: 2002115553/15, 10.06.2002
(24) Дата начала отсчета срока действия патента:
10.06.2002
(43) Дата публикации заявки: 20.04.2004
(45) Опубликовано: 10.11.2004
(56) Список документов, цитированных в отчете о поиске:
SU 966031 А, 15.10.1982. SU 1699130 А1, 27.08.1995. SU 550345 А, 20.04.1977. SU 227330 А, 13.11.1969. SU 891121 А, 23.12.1981. US 4879045 А, 07.11.1989.
Адрес для переписки:
355017, г.Ставрополь, пер. Зоотехнический, 12, СГСХА, патентный отдел
|
(72) Автор(ы):
Гурницкий В.Н. (RU), Никитенко Г.В. (RU), Атанов И.В. (RU), Антонов С.Н. (RU)
(73) Патентообладатель(и):
Ставропольская государственная сельскохозяйственная академия (RU)
|
(54) АППАРАТ МАГНИТНОЙ ОБРАБОТКИ ВЕЩЕСТВА
(57) Реферат:
Изобретение относится к устройствам для физико-химической обработки веществ, в частности к аппаратам для магнитной обработки веществ. Аппарат содержит магнитные корпус и каркас. Между двумя половинами корпуса для герметизации намагничивающей катушки от влаги предусмотрены резиновые прокладки. Фланцы приварены к наружным частям корпуса. Каркас имеет тонкую стенку, чередующуюся с утолщениями, имеющими в осевом сечении форму криволинейных треугольников, основания которых находятся от оси корпуса на расстоянии радиуса проходного отверстия аппарата. Технический результат состоит в повышении эффективности обработки. 2 ил.

Изобретение относится к устройствам для физико-химической обработки веществ, в частности к аппаратам для магнитной обработки веществ.
Известен аппарат для магнитной обработки воды, состоящий из электромагнитных катушек, размещенных на магнитопроводах, примыкающих снаружи к корпусу, и полюсных элементов, размещенных внутри корпуса, причем полюсные элементы выполнены в виде треугольных пластин, установленных вплотную к внутренней стенке корпуса расширенным концом и обращенных одна к другой сужающимися концами, при этом сужающиеся концы пластин выполнены с наконечниками V-образного сечения (См. А.с. СССР №1807011, кл. С 02 F 1/48).
Известно устройство для электромагнитной обработки жидкости, содержащее высокочастотный индуктор с проходящим внутри него трубопроводом из диамагнитного диэлектрического материала. Внутри трубопровода в области среднего витка индуктора и с ним в одной плоскости имеется перегородка, образующая зазор по ее периметру с внутренней стенкой трубопровода (См. А.с. СССР №1414785, кл. С 02 F 1/48).
Недостатки аналогов – сложность конструкций; магнитные системы малоэффективны на единицу массы и мощности; низкая производительность аппаратов из-за малой величины пропускного сечения для прохода вещества.
В качестве прототипа выбран аппарат для магнитной обработки вещества, состоящий из магнитного корпуса, торцевых крышек, полюсов и намагничивающей катушки. Торцевые крышки и полюса набраны на диэлектрической трубе и разделены друг от друга диэлектрическими кольцами, корпус и полюса имеют сквозной разрез по одной из образующих, а торцевые крышки разрезаны частично, причем внутренний диаметр торцевых крышек и полюсов меньше внутреннего диаметра диэлектрических колец (См. Патент РФ №2077503, кл. С 02 F 1/48).
Прототип имеет следующие недостатки. Конструкция является нетехнологичной в изготовлении и довольно трудоемкой при сборке. Возникает необходимость дополнительных мер по герметизации намагничивающей катушки от влаги.
Технический результат, который может быть получен с помощью предлагаемого изобретения, сводится к упрощению конструкции и повышению эффективности магнитной обработки вещества.
Технический результат достигается тем, что в заявляемом аппарате магнитной обработки вещества, состоящем из магнитного корпуса, каркаса, намагничивающей катушки, каркас катушки выполнен из магнитной стали и имеет тонкую стенку, чередующуюся в осевом направлении с утолщениями, имеющими в осевом сечении аппарата форму криволинейных треугольников.
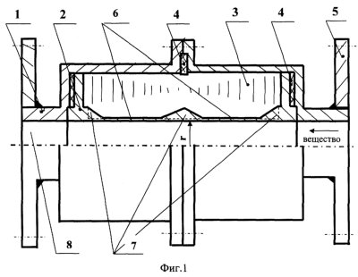
На фиг.1 представлен общий вид аппарата магнитной обработки вещества, а на фиг.2 – разрез с нанесением основных магнитных потоков.
Аппарат магнитной обработки вещества содержит магнитные корпус 1, каркас 2; между двумя половинами корпуса 1 для герметизации намагничивающей катушки 3 от влаги предусмотрены резиновые прокладки 4; фланцы 5 приварены к наружным частям корпуса 1. Каркас 2 имеет тонкую стенку 6, чередующуюся с утолщениями 7, имеющими в осевом сечении форму криволинейных треугольников, основания которых находятся от оси вращения на расстоянии радиуса проходного отверстия 8 аппарата. Тонкая стенка 6 для повышения жесткости конструкции может быть обварена немагнитным материалом (не показано) по всей поверхности со стороны намагничивающей катушки 3.
Аппарат работает следующим образом. При подаче переменного или постоянного (одно или двухполупериодного) тока в намагничивающую катушку 3 образуется магнитный поток Ф (фиг.2), силовые линии которого замыкаются по корпусу 1 и каркасу 2. Тонкая стенка 6 магнитного каркаса 2 работает в режиме насыщения и представляет значительное магнитное сопротивление для потока Ф, который разделяется на потоки: Ф1 – паразитный магнитный поток в объеме намагничивающей катушки 3; Ф2 – паразитный магнитный поток, замыкающийся по тонкой стенке 6 каркаса; Ф3 – полезный магнитный поток, выпучивающийся в сторону обрабатываемого вещества.
Движущееся с произвольной скоростью вещество многократно пересекает силовые линии магнитного потока Ф3 и подвергается физическому воздействию.
Степень воздействия зависит от напряженности магнитного поля, осевого размера тонкой стенки 6 магнитного каркаса 2 – (зона выпучивания) и количества тонких участков (на фиг.2 представлено два таких участка). Чередующиеся участки с тонкой стенкой 6 и утолщениями в виде фигурных колец 7, имеющих в осевом сечении аппарата форму криволинейных треугольников, позволяют рабочему магнитному потоку Ф3 несколько раз замыкаться на каркас 2, что создает дополнительный градиент магнитного поля и улучшает качество обработки. Для устранения возможности попадания влаги на намагничивающую катушку 3 применяются резиновые прокладки 4. С помощью фланцев 5 аппарат крепится к магистральному трубопроводу.
Аппарат изготавливается на любой диаметр магистрального трубопровода и позволяет предотвращать возможность засорения и образования пробок.
В отличие от прототипа предложен аппарат магнитной обработки вещества, в котором значительно упрощается герметизация обмотки от обрабатываемого вещества, так как основанием намагничивающей катушки 3 служит цельнометаллический каркас 2. Позитивно изменен способ формирования рабочего магнитного потока Ф3 – посредством насыщения тонкой стенки 6 магнитного каркаса 2 и перераспределения общего магнитного потока. Кроме того, повышается эффективность магнитной обработки, так как расширяется активная зона выпучивания рабочего магнитного потока Ф3, зависящая от осевых размеров тонкой стенки магнитного каркаса. Высокая унификация аппарата позволяет с одним и тем же корпусом посредством замены каркаса 2 с намагничивающей катушкой 3 подобрать оптимальные параметры магнитного поля для любого технологического процесса.
Применение заявляемого аппарата позволит получить экономический эффект за счет упрощения конструкции, снижения материалоемкости, улучшения технологии изготовления и сборки, а также вследствие повышения эффективности магнитной обработки.
Формула изобретения
Аппарат магнитной обработки вещества, состоящий из магнитного корпуса, каркаса, намагничивающей катушки, отличающийся тем, что каркас катушки выполнен из магнитной стали и имеет тонкую стенку, чередующуюся в осевом направлении с утолщениями, имеющими в осевом сечении аппарата форму криволинейных треугольников, основания которых находятся от оси корпуса на расстоянии радиуса проходного отверстия аппарата.
РИСУНКИ
MM4A – Досрочное прекращение действия патента СССР или патента Российской Федерации на изобретение из-за неуплаты в установленный срок пошлины за поддержание патента в силе
Дата прекращения действия патента: 11.06.2005
Извещение опубликовано: 20.02.2007 БИ: 05/2007
|
|