|
|
(21), (22) Заявка: 2003114983/15, 20.05.2003
(24) Дата начала отсчета срока действия патента:
20.05.2003
(45) Опубликовано: 10.11.2004
(56) Список документов, цитированных в отчете о поиске:
RU 2137706 С1, 20.09.1999. SU 747813 А, 15.07.1980. RU 2096077 С1, 20.11.1997. RU 2085480 С1, 27.07.1997. US 4117100 А, 26.09.1978. АМЕЛИН А.Г. Технология серной кислоты. – М.: Химия, 1971, с.267, рис.8-10.
Адрес для переписки:
195220, Санкт-Петербург, Гражданский пр., 11, ОАО “Институт Гипроникель”, начальнику отдела маркетинга и патентования В.Б. Старых
|
(72) Автор(ы):
Васильев Ю.В. (RU), Носань Л.М. (RU), Попков Е.В. (RU), Цемехман Л.Ш. (RU), Платонов О.И. (RU), Козлов А.Н. (RU), Ладин Н.А. (RU), Северилов А.В. (RU), Деревнин Б.Т. (RU)
(73) Патентообладатель(и):
ОАО “Институт Гипроникель” (RU)
|
(54) ВЫСОКОТЕМПЕРАТУРНЫЙ РЕАКТОР-ГЕНЕРАТОР
(57) Реферат:
Изобретение относится к устройствам для получения серы из газов, содержащих диоксид серы или сероводород, и может быть использовано для переработки газов цветной металлургии и нефтегазовой промышленности, а также в конструкции газофазных реакторов химической промышленности. Реактор содержит корпус, футерованный изнутри огнеупорным материалом, с отверстиями для подвода и отвода технологического газа в котельную секцию, цилиндрическую камеру, соединенную с корпусом и сообщающуюся с ним через отверстия для подвода технологического газа, снабженную фурмами для подачи восстановительного природного газа, размещенными в стенке камеры, реакционную камеру, соединенную с котельной секцией, при этом реакционная камера выполнена в виде цилиндрических реакционных камер, включенных параллельно через распределительную камеру с выходом цилиндрической камеры, а каждая реакционная камера соединена с индивидуальной котельной секцией. Изобретение позволяет создать конструкцию высокотемпературного реактора, обеспечивающую увеличение времени взаимодействия реагентов в реакционной камере при уменьшении ее габаритного размера и снижении общего газодинамического сопротивления и увеличении общей производительности. 3 ил.

Изобретение относится к устройствам для получения серы из газов, содержащих диоксид серы или сероводород, и может быть использовано для переработки газов цветной металлургии и нефтегазовой промышленности, а также в конструкции газофазных реакторов химической промышленности.
Известны высокотемпературные гомогенные газовые реакторы для получения серы из сероводорода и воздуха, содержащие реакционный объем внутри трубчатого стального корпуса, оптимальное отношение длины к диаметру у которого составляет (2-3):1, приблизительно посредине которого установлены одна или несколько решетчатых перегородок из огнеупора, имеющих отверстия для прохода горячего газа, соосно к которой примыкает конвективная камера котла-утилизатора [Грунвальд В.Р. Технология газовой серы. М.: Химия, 1992. – 272 с.].
Конструкция таких реакторов предполагает подачу исходных холодных реагентов непосредственно в реакционную камеру, где происходит их смешивание и взаимодействие, что обуславливает, при ограниченной скорости смешивания компонент (процесс характеризуется как диффузионно-кинетический), низкую эффективность использования объема реактора и, как следствие, ограниченную производительность по перерабатываемому газу.
Другое известное устройство для сжигания сероводорода и органических соединений серы содержит корпус реактора с изолированной цилиндрической камерой постоянного диаметра, содержащей зону сгорания, за которой отделенная горловиной следуют соосная ей реакционная зона и котельная секция [заявка Великобритании №1565133, кл. МКИ3 С 01 В 17/50, 17/04, опубл. 16.04.80.].
Основным недостатком такого реактора является низкая эффективность использования объема вследствие неэффективного смешивания реагентов, что вызывает увеличение объема и размеров реакционной зоны. Вследствие линейного расположения зоны сгорания, реакционной зоны и котельной секции габаритный размер (длина) такого реактора неоправданно велик, а занимаемая им площадь фундамента используется нерационально. Кроме того, вследствие конструкционных ограничений на максимально допустимый диаметр внутреннего сечения горизонтального реактора (обычно не более 5 метров по футеровке) при заданном оптимальном соотношении его длины к диаметру объем реакционной зоны и производительность такого реактора ограничены.
Наиболее близким является реактор-генератор для гомогенного восстановления кислородсодержащего сернистого газа природным газом, имеющий корпус, футерованный изнутри огнеупорным материалом, с отверстиями для подвода и отвода технологического газа в котельную секцию и цилиндрическую камеру, соединенную с корпусом и сообщающуюся с ним через отверстие для подвода технологического газа, снабженную фурмами для подачи восстановительного природного газа, размещенными в стенке камеры, у которого ось реакционной камеры может быть расположена вертикально [патент России №2137706, МПК7 С 01 В 17/04, 1999].
Недостатками данного устройства является ограниченная производительность по перерабатываемому газу, лимитируемая площадью поперечного сечения (диаметром) и максимально допустимой скоростью газового потока в реакционной камере. Кроме того, линейная конструкция реакционной камеры увеличивает габаритный размер (высоту) реактора и усложняет его эксплуатацию.
Задачей изобретения является создание конструкции высокотемпературного реактора, обеспечивающей увеличение времени взаимодействия реагентов в реакционной камере при уменьшении ее габаритного размера и снижении общего газодинамического сопротивления и увеличении общей производительности.
Техническим результатом от использования изобретения является повышение производительности, уменьшение габаритного размера реактора-генератора и занимаемой им площади.
Технический результат достигается тем, что у высокотемпературного реактора-генератора для восстановления технологического сернистого газа природным газом, содержащего корпус, футерованный изнутри огнеупорным материалом, с отверстиями для подвода и отвода технологического газа в котельную секцию, цилиндрическую камеру, соединенную с корпусом и сообщающуюся с ним через отверстие для подвода технологического газа, снабженную фурмами для подачи восстановительного природного газа, размещенными в стенке камеры, реакционной камеры, согласно изобретению реакционная камера выполнена в виде цилиндрических реакционных камер, включенных параллельно через распределительную камеру, а выход каждой камеры соединен с индивидуальной котельной секцией.
В заявляемом устройстве горелочная часть и система подачи реагента (восстановителя) объединены в общей цилиндрической камере реактора-генератора, а реакционные зоны и котельные части конструктивно разделены. В этом устройстве в параллельно включенные реакционные камеры поступает из общей распределительной камеры высокотемпературная смесь реагирующих газов одинакового состава, что предполагает и одинаковый состав газов на выходе из реакционных камер, что дает возможность подключить к каждой реакционной камере индивидуальную котельную секцию, уменьшив тем самым размер реактора-генератора. Формирование реакционного объема в виде совокупности параллельно включенных реакционных камер позволяет, при сохранении их диаметра, длины и соответственно реакционного объема, уменьшить (пропорционально количеству реакционных камер) их длину, т.е. габаритный размер. В заявляемом устройстве реакционные камеры включены через распределительную камеру параллельно (т.е. из одной точки, сопряженной с выходом цилиндрической камеры), т.е. по разным камерам одновременно движутся разные части одного потока. При этом скорость движения потока в реакционных камерах, кратная количеству реакционных камер, в заявляемом устройстве ниже, чем в прототипе и аналогах, что определяет снижение газодинамического сопротивления.
Общая производительность реактора по перерабатываемому газу соответственно кратно увеличивается при сохранении единичной мощности и длины каждой котельной секции.
Соответствие критерию “изобретательский уровень” доказывается следующим образом.
Известно устройство [патент США №3297409, С 22 В 15/00, 1963], имеющее признак, сходный с заявляемым: наличие двух параллельных горелочных устройств (тоннелей), каждый со своей реакционной камерой, разделяющих исходный газовый поток на две части.
Однако в известном устройстве горелочные устройства перерабатывают исходный поток сероводородсодержащего газа, каждый по полному циклу, от сжигания части сероводорода до получения элементной серы, независимо друг от друга, а котельная часть конструктивно объединена. Такая схема предполагает (даже при использовании общей схемы регулирования подачи воздуха) возможные технологические различия в выходе продукта (серы) из разных реакционных камер, обусловленные особенностями работы их горелочных тоннелей. Фактически устройство представляет собой два параллельно работающих реактора; более того (учитывая секционирование котельной части по патенту США №3297409), две линии переработки исходного газа.
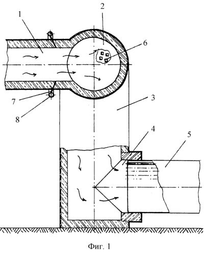
Изобретение поясняется чертежами, где на фиг.1 изображен продольный разрез в диаметральной плоскости реактора; на фиг.2 показан вид спереди с разрезом по оси вертикальной реакционной камеры; на фиг.3 показан вид сверху с вырезом в плоскости оси распределительной камеры, соединяющей цилиндрическую камеру и две вертикальные реакционные камеры.
Футерованная цилиндрическая камера (обозначена поз.1) через распределительную камеру 2 сообщается с реакционными камерами 3, выходящими через отверстия для вывода технологического газа 4, каждая в свои индивидуальные котельные секции 5. Непосредственно в отверстии для подвода технологического газа в реакционную камеру размещена огнеупорная решетка 6, перед которой на выходе цилиндрической камеры установлены фурмы 7 для подачи восстановительного газа от раздаточного коллектора 8. Распределительная камера 2 и обе реакционные камеры 3 вместе образуют реакционный объем.
Устройство работает следующим образом.
Исходный сернистый технологический газ, разогретый в цилиндрической камере 1 за счет сжигания газообразного топлива до температур восстановления диоксида серы (1150-1250°С), поступает в распределительную камеру 2 (направление течения газа показано стрелками), причем на выходе из цилиндрической камеры 1 в технологический газ от коллектора 8 через фурмы 7 вводят восстановительный природный газ. Струи восстановительного природного газа, равномерно распределяемые в поперечном сечении цилиндрической камеры, пронизываются потоком нагретого технологического сернистого газа, что обеспечивает их перемешивание в плоскости выходного отверстия цилиндрической камеры. В распределительной камере поток разделяется на две части, каждая из которых поступает в свою реакционную камеру. Окончательная гомогенизация газовой смеси и выравнивание температуры осуществляется на решетках 6, т.е. уже внутри реакционных камер 3 (фиг.1). Охлажденные в котельных секциях 5 обе части потока технологического газа объединяются после котельных секций реактора-генератора (не показано).
Реактор, рассчитанный на переработку 50000 нм3/ч сернистого технологического газа, содержащего 30 об.% диоксида серы при 14,7 об.% кислорода, имеет две вертикальные цилиндрические реакционные камеры, футерованные внутри (диаметр по футеровке 3200 мм), высотой по 8 м, соединенные распределительной камерой, с общим реакционным объемом свыше 170 м3. В среднюю часть распределительной камеры врезана горизонтальная футерованная изнутри цилиндрическая камера, внутренний (по футеровке) диаметр которой составляет 2 м. На выходе цилиндрической камеры установлены 4 фурмы внутренним диаметром 52 мм, через которые из коллектора диаметром 200 мм подается до 7700 нм3/ч восстановительного природного газа. Котельные секции представлены спаренным блоком энерготехнологических котлов с площадью теплообменной поверхности по 880 м2 каждый, диаметром по 3200 мм, длиной 7700 мм, серийно производимых ОАО “ЭМК-Атоммаш”. Высота такого реактора вместе с фундаментом составляет 12 м; габаритный размер корпуса и котельной части по длине (включая цилиндрическую камеру) не превышает 16 м.
Преимущество предложенной конструкции заключается в том, что аналогичный реактор-прототип для переработки такого же количества технологического газа подачей такого же количества восстановительного природного газа при сохранении мощности (паропроизводительности) 54 т/ч имеет горизонтальный размер (длину) около 25 м при длине только котельной части свыше 15 м, что значительно увеличивает размер занимаемой площади.
Источники информации
1. Грунвальд В.Р. Технология газовой серы. М.: Химия, 1992. – 272с.
2. Заявка Великобритании №1565133, МКИ3 С 01 В 17/50, 17/04, опубл. 16.04.80.
3. Патент России №2137706, МКИ6 С 01 В 17/04, 1999.
4. Патент России по заявке №2002101517/12, МКИ7 B 01 J 12/00, С 01 В 17/04, 2003.
5. Патент США №3297409, 1963.
Формула изобретения
Высокотемпературный реактор-генератор для восстановления технологического сернистого газа природным газом, содержащий корпус, футерованный изнутри огнеупорным материалом, с отверстиями для подвода и отвода технологического газа в котельную секцию, цилиндрическую камеру, соединенную с корпусом и сообщающуюся с ним через отверстие для подвода технологического газа, снабженную фурмами для подачи восстановительного природного газа, размещенными в стенке камеры, реакционную камеру, соединенную с котельной секцией, отличающийся тем, что реакционная камера выполнена в виде цилиндрических реакционных камер, включенных параллельно через распределительную камеру с выходом цилиндрической камеры, а каждая реакционная камера соединена с индивидуальной котельной секцией.
РИСУНКИ
PD4A – Изменение наименования обладателя патента СССР или патента Российской Федерации на изобретение
(73) Новое наименование патентообладателя:
Общество с ограниченной ответственностью “Институт Гипроникель” (RU)
Адрес для переписки:
195220, Санкт-Петербург, а/я 180, начальнику отдела информации и патентования ООО “Институт Гипроникель” А.К.Евграфовой
Извещение опубликовано: 10.06.2007 БИ: 16/2007
|
|