|
(21), (22) Заявка: 2003129787/02, 06.10.2003
(24) Дата начала отсчета срока действия патента:
06.10.2003
(45) Опубликовано: 10.11.2004
(56) Список документов, цитированных в отчете о поиске:
SU 1692824 A1, 23.11.1991. SU 1511100 A1, 30.09.1989. SU 1174242 A, 23.08.1985. US 1976233 A, 09.10.1934.
Адрес для переписки:
302020, г.Орел, Наугорское ш., 29, ОрелГТУ
|
(72) Автор(ы):
Степанов Ю.С. (RU), Киричек А.В. (RU), Афанасьев Б.И. (RU), Фомин Д.С. (RU), Юричев И.А. (RU)
(73) Патентообладатель(и):
Орловский государственный технический университет (RU)
|
(54) СБОРНЫЙ АБРАЗИВНЫЙ ИНСТРУМЕНТ
(57) Реферат:
Изобретение относится к области машиностроения и может быть использовано при безразмерной окончательной обработке поверхностей деталей лепестковыми кругами. Сборный круг выполнен в количестве не менее трех абразивных лепестковых кругов. Последние закреплены под углом к плоскости, перпендикулярной оси вращения, на общем валу с осевым зазором. Средний круг установлен на валу посредством подшипника качения с возможностью свободного вращения. Его лепестки выполнены из двусторонней шлифовальной шкурки в форме эллипса и расположены поперек оси вращения. Малая ось эллипса равна диаметру кругов, а большую ось определяют в зависимости от угла наклона кругов. В результате расширяются технологические возможности за счет обработки двумя торцами лепестков, повышаются производительность и качество обработки путем увеличения осевой жесткости инструмента и пересечения траекторий движения кругов. 2 з.п. ф-лы, 8 ил.

Изобретение относится к машиностроению, к механической обработке металлов и может быть использовано при шлифовании и полировании поверхностей деталей при их безразмерной окончательной обработке лепестковыми кругами.
Известен сборный абразивный инструмент, выполненный в виде пары абразивных кругов, закрепленных под углом друг к другу на общем валу с осевым зазором [1].
Недостатками известного инструмента являются ограниченность технологических возможностей при декоративной отделке и чистовой обработке фасонных поверхностей, а также трудности в достижении широкого диапазона качества обработанных поверхностей, при этом, обладая минимальной осевой жесткостью и работая только одной стороной периферийной абразивной поверхностью, невозможно добиться высокой производительности.
Известен сборный абразивный инструмент, выполненный в виде пары абразивных кругов, закрепленных под углом друг к другу на общем валу с осевым зазором, причем инструмент снабжен пружиной растяжения, размещенной между смежными торцами абразивных кругов, которые установлены с возможностью углового поворота [2].
Недостатками известного инструмента являются:
– минимальная осевая жесткость инструмента, не позволяющая добиться высокой производительности;
– работа только одной стороной периферийной абразивной поверхности инструмента многократно увеличивает трудоемкость обработки;
– ограниченность технологических возможностей при декоративной отделке и чистовой обработке фасонных поверхностей;
– трудности в достижении широкого диапазона качества обработанных поверхностей.
Все это снижает производительность обработки, качество и ведет к увеличенному расходу инструмента.
Задачей изобретения является расширение технологических возможностей инструмента за счет обеспечения возможности обработки двумя торцами лепестков инструмента, который установлен под углом к оси вращения, повышение производительности путем увеличения осевой жесткости инструмента благодаря использованию абразивных лепестков в форме эллипса, а также улучшение качества обработки благодаря перекрестному продольно-поперечному пересечению траекторий движения полировальных кругов.
Поставленная задача решается с помощью сборного абразивного инструмента, который выполнен в количестве не менее трех абразивных лепестковых кругов, закрепленных под углом к плоскости, перпендикулярной оси вращения, на общем валу с осевым зазором, причем средний круг установлен на валу посредством подшипника с возможностью свободного вращения и состоит из лепестков, выполненных из двусторонней шлифовальной шкурки и расположенных поперек оси вращения, при этом лепестки имеют форму эллипса, малая ось которого равна диаметру инструмента, а большая ось определяется по формуле
b=D/cos ,
где b – большая ось эллипса, мм;
D – наружный диаметр инструмента, мм;
– угол наклона кругов к плоскости, перпендикулярной оси вращения, который определяется по формуле
arctg(АО/D),
где АО – амплитуда осциллирующей зоны резания наклонных кругов, принятая
АО В,
здесь В – высота среднего круга, мм.
Причем остальные круги закреплены жестко на валу и состоят из лепестков, расположенных вдоль оси, и установлены радиально.
Кроме того, зернистость среднего круга на номер больше, чем зернистость остальных кругов.
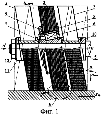
Сущность изобретения поясняется чертежами. На фиг.1 приведена конструкция сборного абразивного инструмента, частичный осевой разрез; на фиг.2 – общий вид инструмента, повернутого на пол-оборота относительно положения, представленного на фиг.1; на фиг.3 – сечение А-А на фиг.1; на фиг.4 – вид по А1 на фиг.1; на фиг.5 – эллипсовидный лепесток из двусторонней шлифовальной шкурки; на фиг.6 – элемент Б на фиг.1, положения лепестков среднего круга в зоне контакта с обрабатываемой поверхностью; на фиг.7 – элемент В на фиг.2, положения лепестков среднего круга в зоне контакта с обрабатываемой поверхностью; на фиг.8 – развертка следа инструмента на обрабатываемой поверхности при его повороте на один оборот и направление движений абразивных зерен различных кругов.
Предлагаемый сборный абразивный инструмент позволяет производить чистовую обработку одновременно в продольном и поперечном направлениях как при круглом, так и плоском полировании.
Рабочими режущими элементами инструмента являются в среднем круге эллипсовидные лепестки 1 из двусторонней шлифовальной шкурки, расположенные поперек, а остальные круги набраны из лепестков абразивной шкурки, расположенные радиально в продольном направлении.
Сборный абразивный инструмент выполнен в количестве не менее трех абразивных лепестковых кругов 2, 3 и 4, закрепленных под острым углом к плоскости, перпендикулярной оси вращения на общем валу 5 с осевым зазором. Средний круг 3 установлен на валу 5 посредством подшипникового узла 6 с возможностью свободного вращения и состоит из лепестков 1, выполненных из двусторонней шлифовальной шкурки и расположенных поперек оси вращения. В подшипниковый узел 6 входит втулка 7 с косыми торцами и угловым расположением осей внутренней и наружной поверхностей, фланец 8, который монтируется на подшипнике качения с помощью пружинных упорных концентрических колец (взятых, например, по ГОСТ 13940-80 и ГОСТ 13941-80). На фланце 8 с помощью гайки 9 закреплены лепестки 1 подвижного круга 3.
Лепестки 1 имеют форму эллипса, малая ось которого равна диаметру инструмента, а большая ось зависит от угла поворота и определяется по формуле
b=D/cos ,
где b – большая ось эллипса, мм;
D – наружный диаметр инструмента, мм;
– угол наклона кругов к плоскости, перпендикулярной оси вращения, который определяется по формуле
arctg(Aо/D),
где Ао – амплитуда осциллирующей зоны резания наклонных кругов, принятая
Ао В,
здесь В – высота среднего круга 3, мм.
Остальные круги 2, 4 и т.д. закреплены на валу жестко с помощью косых шайб 10, 11, гайки 12 и состоят из лепестков, расположенных вдоль оси, и установлены радиально (см. фиг.4).
Зернистость среднего круга 3 на номер больше, чем крайних, т.е. средний круг с более крупным зерном предназначен для предварительного полирования. Крайние круги 2, 4 и т.д. с мелкой зернистостью предназначены для отделочной обработки.
Инструмент устанавливают на кругло-, внутри-, или плоскошлифовальный станок, а заготовку – в соответствующее приспособление. Сообщают вращение V валу 5, дают натяг инструменту с помощью поперечной подачи Sпоп и продольную подачу заготовке Sпp, а также при кругло- и внутришлифовальных работах – вращение заготовки. За полный оборот вала инструмента круги 2 и 4 плавно меняют по отношению к обрабатываемой поверхности свое угловое положение влево и вправо от нормали на угол .
Круг 3, подвижно смонтированный с помощью подшипникового узла 6 на валу 5, обкатывается по обрабатываемой поверхности и благодаря его наклону в зоне контакта с заготовкой совершает возвратно-поступательные осциллирующие колебательные движения вдоль продольной оси вращения.
Перемещаясь по обработанной кругом 2 поверхности заготовки, подвижный круг 3 в зоне контакта производит срезание микронеровностей в направлении, перпендикулярном рискам-царапинам, прорезанным кругом 2 (см. фиг.8); при обратном ходе, перемещаясь по обработанной кругом 4. Благодаря наклону среднего круга и натягу, осуществляемого Sпоп, основное силовое воздействие на обрабатываемую поверхность осуществляется частями лепестков, находящимися на периферии и имеющими наибольший прогиб (см. фиг.6 и 7). Направление прогиба лепестков меняется в зависимости от углового положения круга. Если зона контакта среднего круга с заготовкой расположена справа от нормали (см. фиг.6), то направление прогиба – вправо, при этом лепестки работают левым абразивным торцом, если зона контакта – слева от нормали, то направление прогиба – влево, а лепестки работают правым абразивным торцом (см. фиг.7).
При продолжительном выполнении полировальных работ по мере износа лепестков, под действием поперечной подачи Sпоп ослабевший поперечный натяг восстанавливается и конструкция обеспечивает повышенное качество обработки в части уменьшения шероховатости обработанной поверхности заготовки.
В связи со сказанным в процессе данного продольно-поперечного полирования предлагаемым инструментом удается снимать большие припуски (например, до 0,3 мм) при применении крупнозернистых абразивных шкурок (зернистостью 16-80) и высоких скоростях резания (15-35 м/с).
Этот процесс фактически является разновидностью шлифования и эффективен для подготовки поверхностей к чистовому полированию и перед металлопокрытием.
Полирование сборным инструментом предназначено для снижения параметра шероховатости поверхности (до Ra=0,1…0,8 мкм) без устранения отклонений формы деталей.
Наибольший эффект применения осциллирующего полирования достигается при декоративной отделке и чистовой обработке фасонных поверхностей, например, полирование цилиндрических и конических поверхностей, обработка пресс-форм, штампов и др., полирование криволинейных поверхностей автомобильных кузовов, холодильников и др. под окраску.
Полирование предлагаемым инструментом выполняется в основном по одной схеме резания, которая основана на применении высоких скоростей резания (10…40 м/с), приближающихся к скорости шлифования. Окружная скорость круга при осциллирующем полировании деталей из: стали, никеля и хрома 20…35 м/с; меди, латуни и бронзы 16…25 м/с; алюминия, цинка и свинца 12…20 м/с.
Однако малые скорости Sпp перемещения заготовки (что характерно при плоском полировании) способствуют повышению качества обработки.
Наиболее применимы для предлагаемого инструмента круги из шкурки из электрокорунда и карбида кремния на тканиевой и бумажной основе зернистостью 8-М40, а также алмазные и эльборовые шкурки зернистостью 12-М3 на эластичной связке, при этом последние отличаются большой стойкостью.
Для работы данного инструмента применимы круги из водостойких алмазно-абразивных шкурок при обработке деталей из стали, чугуна и латуни, а в качестве охлаждающей жидкости используют эмульсию; из неводостойких шкурок – минеральные масла.
Предлагаемый сборный инструмент расширяет технологические возможности за счет обеспечения возможности обработки двумя торцами лепестков, из которых состоит средний круг, повышает производительность и качество обработки благодаря установки кругов под углом к оси вращения и свободной установки одного из кругов, увеличении осевой жесткости за счет использования абразивных лепестков в форме эллипса.
Источники информации
1. А.с. 689823 СССР, МКИ B 24 D 5/00. Сборный абразивный инструмент, 1977.
2. А.с. 1692824 СССР, МКИ B 24 D 13/00. Сборный абразивный инструмент. А.В. Чемерский и В.Н. Чешев, № 4700372/08, заявл. 18.04.89, опубл. 23.11.91. Бюл. № 43 – прототип.
Формула изобретения
1. Сборный абразивный инструмент, выполненный в количестве не менее трех абразивных лепестковых кругов, закрепленных под углом к плоскости, перпендикулярной оси вращения, на общем валу с осевым зазором, отличающийся тем, что средний круг установлен на валу посредством подшипника с возможностью свободного вращения и состоит из лепестков, выполненных из двусторонней шлифовальной шкурки и расположенных поперек оси вращения, при этом лепестки имеют форму эллипса, малая ось которого равна диаметру инструмента, а большая ось определена по формуле:
b=D/cos ,
где b – большая ось эллипса, мм;
D – наружный диаметр иструмента, мм;
– угол наклона кругов к плоскости, перпендикулярной оси вращения, определяемый по формуле arctg(Aо/D);
Aо – амплитуда осциллирующей зоны резания наклонных кругов, принимаемая Ао В;
В – высота среднего круга, мм.
2. Инструмент по п.1, отличающийся тем, что остальные круги закреплены жестко на валу и состоят из лепестков, расположенных вдоль оси и установленых радиально.
3. Инструмент по п.1 или 2, отличающийся тем, что зернистость среднего круга на номер больше зернистости остальных кругов.
РИСУНКИ
MM4A – Досрочное прекращение действия патента СССР или патента Российской Федерации на изобретение из-за неуплаты в установленный срок пошлины за поддержание патента в силе
Дата прекращения действия патента: 07.10.2005
Извещение опубликовано: 20.06.2007 БИ: 17/2007
|