|
|
(21), (22) Заявка: 2001110091/15, 13.09.1999
(24) Дата начала отсчета срока действия патента:
13.09.1999
(30) Конвенционный приоритет:
15.09.1998 SE 9803124-8
(43) Дата публикации заявки: 20.03.2003
(45) Опубликовано: 10.11.2004
(56) Список документов, цитированных в отчете о поиске:
US 1496858 A, 10.06.1924. WO 97/31706 A1, 04.09.1997. US 4430251 A, 07.02.1984. RU 2021005 C1, 15.10.1994. SU 1741915 A1, 23.06.1992. SU 438432 A, 24.01.1975.
(86) Заявка PCT:
SE 99/01593 (13.09.1999)
(87) Публикация PCT:
WO 00/15327 (23.03.2000)
Адрес для переписки:
129010, Москва, ул. Большая Спасская, 25, стр.3, ООО “Юридическая фирма Городисский и Партнеры”, пат.пов. Е.В.Томской
|
(72) Автор(ы):
ИННИНГС Фредрик (SE), МАЛЬМБЕРГ Рольф (SE)
(73) Патентообладатель(и):
ТЕТРА ЛАВАЛЬ ХОЛДИНГЗ ЭНД ФАЙНЭНС СА (CH)
(74) Патентный поверенный:
Томская Елена Владимировна
|
(54) СПОСОБ ГОМОГЕНИЗАЦИИ НАХОДЯЩЕЙСЯ ПОД ДАВЛЕНИЕМ ЖИДКОЙ ЭМУЛЬСИИ
(57) Реферат:
Изобретение относится к способу гомогенизации находящейся под давлением жидкой эмульсии, такой как молоко. Жидкость пропускают, по меньшей мере, через две концентрически расположенные щели 12, 13 гомогенизации, которые формируют в пространстве между двумя узкими поверхностями 10, 11 на фиксированном седле 2 клапана и двумя узкими поверхностями 14, 15 на подвижном конусе 1 клапана. Когда жидкость проходит щели 12, 13 гомогенизации, имеет место первая гомогенизация. Гомогенизацию делают более эффективной тем, что жидкость, когда она выходит из одной из щелей 12 гомогенизации при высокой скорости и в ограниченное пространство, встречает жидкость из одной или нескольких других щелей 13 гомогенизации. 2 ил.

Настоящее изобретение относится к способу гомогенизации находящейся под давлением жидкой эмульсии, при котором жидкость пропускают, по меньшей мере, через две концентрически расположенные щели гомогенизации.
Гомогенизация является промышленным процессом, который давно используется и предназначается для того, чтобы в жировой эмульсии, такой как, например, молоко, рассечь или расщепить самые большие жировые шарики в более мелкие жировые шарики и посредством этого стабилизировать жировую эмульсию. Для молока, например, это означает, что предотвращается створаживание сливок, и в настоящее время почти все потребительское молоко гомогенизируют.
Гомогенизацию обычно осуществляют путем механической переработки так, что жировую эмульсию, которая находится под высоким давлением, пропускают с высокой скоростью через очень узкую щель, где жировые шарики жировой эмульсии разрушаются в результате турбулентности, которая возникает при высоких скоростях, и посредством пузырьков кавитации, которые лопаются в жидкости. Процесс имеет место в течение очень короткого периода времени, во время которого скорость жировой эмульсии при ее прохождении увеличивается, а давление падает, в результате чего жидкость доходит до кипения.
Гомогенизатор по существу состоит из большого поршневого насоса, производящего высокое давление, и устройства противодавления, где гомогенизация собственно и имеет место. Устройство противодавления, клапан гомогенизатора, в свою очередь, состоит из работающего под давлением упругого конуса клапана, седла клапана и корпуса клапана, который окружает конус клапана и седло клапана. Конус клапана и седло клапана обычно вращательно симметричны и расположены так, что между этими деталями образуется радиальный дроссель, который составляет щель гомогенизации. Высота, ширина и длина щели определяют объем, в котором происходит гомогенизация. Этот объем должен быть настолько незначительным, насколько это возможно для получения достаточной гомогенизации. Высота щели уменьшается при повышенном давлении на жидкость, которая должна быть гомогенизирована, в то время как более интенсивный поток влечет за собой увеличение высоты щели.
В настоящее время часто желательно использовать более низкое давление на жидкость, в то же самое время есть стремление увеличить объем потока. Это означает, что необходима более длинная щель гомогенизации. Различные способы удлинения щели гомогенизации известны из патентной литературы.
В большинстве случаев недостаточно просто увеличить протяженность щели гомогенизации, для достижения минимально возможной эффективной гомогенизации, при которой все жировые шарики, например в молоке, рассекаются или расщепляются на такие маленькие жировые шарики, что получают стабильную эмульсию. Эта проблема в большинстве случаев разрешается путем проведения процесса гомогенизации в несколько стадий.
Патент США № 5482369 раскрывает один из способов достижения эффективной гомогенизации. Этот способ принимает за отправную точку то, что части компонентов или фазы эмульсии, например вода и жир, которые вместе находятся под давлением, пропускают через два противоположных сопла, так что две струи сталкиваются при большой скорости. Два сопла закреплены и имеют очень узкую щель, через которую должны проходить две жидкости. Молоко, которое уже с самого начала состоит из смешанной нестабильной жировой эмульсии, которая может содержать обычно встречающиеся частицы, будет в таком гомогенизаторе быстро блокировать узкие щели сопел и делать процесс неприменимым.
В авторском свидетельстве СССР 438432 раскрыт способ гомогенизации находящейся под давлением жидкости, например молока, при котором жидкость проходит через узкие щели, в которых происходит ее гомогенизация, и при выходе из которых происходит сталкивание потоков жидкости, в результате чего осуществляется дополнительное диспергирование и дальнейшая гомогенизация.
Однако этот способ также является недостаточно эффективным.
Техническим результатом настоящего изобретения является повышение эффективности гомогенизации находящейся под давлением жидкости.
Этот технический результат достигается тем, что в способе гомогенизации находящейся под давлением жидкой эмульсии создают, по меньшей мере, две концентрически расположенные щели гомогенизации в пространстве между двумя узкими поверхностями на седле клапана и двумя узкими поверхностями на конусе клапана, жидкую эмульсию направляют в щели гомогенизации через центральный сквозной канал и концентрический сквозной канал, выполненные в седле клапана, пропускают через щели гомогенизации и выпускают из щелей гомогенизации через сквозной канал, выполненный в конусе клапана, при этом жидкая эмульсия при ее выходе из одной из щелей гомогенизации при высокой скорости и в ограниченное пространство встречает жидкую эмульсию из одной или нескольких других щелей гомогенизации.
Одно предпочтительное воплощение данного изобретения далее будет описано более подробно со ссылкой на сопровождающие чертежи, на которых изображено следующее:
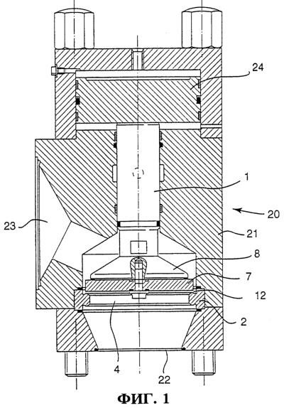
фиг.1 показывает, частично в разрезе, традиционный клапан гомогенизации;
фиг.2 показывает, частично в разрезе, часть клапана гомогенизации, в котором может быть реализован способ данного изобретения.
Фигуры показывают только те детали и части, которые существенны для понимания данного изобретения, а размещение клапана гомогенизации в целом гомогенизаторе, который хорошо известен специалисту, опущено.
Клапан 20 гомогенизации традиционного типа, показанный на фиг.1, по существу состоит из корпуса 21 клапана с входным отверстием 22 и выпускным отверстием 23 для жидкости, подлежащей гомогенизации, а также из подвижного конуса 1 клапана и фиксированного седла 2 клапана.
Часть клапана 20 гомогенизации, в котором способ согласно данному изобретению может быть осуществлен на практике, показана на фиг.2. В предпочтительном варианте седло 2 клапана является вращательно симметричным и имеет центральный сквозной канал 4 для жидкости, подлежащей гомогенизации. Сквозной канал 4 образует продолжение входного отверстия 22 клапана 20 гомогенизации. Седло 2 клапана сконструировано так, что оно идентично по обе стороны центральной плоскости и является, таким образом, реверсивным в корпусе 21 клапана, что подразумевает удвоенный срок службы седла 2 клапана.
В дополнение к центральному сквозному каналу 4 седло 2 клапана имеет сквозной канал 5 для жидкости, подлежащей гомогенизации. На своем протяжении сквозной канал 5 имеет несколько узких соединительных мостиков 6, которые удерживают вместе две концентрические части седла 2 клапана.
Конус 1 клапана, который является также вращательно-симметричным, работает под давлением, обычно создаваемым гидравлическим или пневматическим поршнем 24, но может, в более простых случаях, работать под давлением, создаваемым посредством установочного винта, который действует через пружину. Конус 1 клапана является также подвижным, например, через масло в цилиндре, для того чтобы поглощать быстрые изменения потока, которые возникают в жидкости, подлежащей гомогенизации. Эта упругость необходима для регулирования изменения потока, которые естественно возникают в поршневых насосах.
Конус 1 клапана в предпочтительном варианте сконструирован так, что нижний участок, обращенный к седлу 2 клапана, состоит из отдельной детали 7, которая закреплена на центральной части 8 конуса 1 клапана. Деталь 7 сконструирована так, что она идентична по обе стороны центральной плоскости и поэтому является реверсивной, что подразумевает удвоенный срок службы детали 7 конуса 1 клапана.
В нижней детали 7 конуса 1 клапана предусмотрен сквозной канал 3. На своем протяжении сквозной канал 3 имеет несколько узких соединительных мостиков 9, которые удерживают вместе две концентрические части детали 7 конуса 1 клапана.
На седле 2 клапана расположены, по меньшей мере, две узкие плоские поверхности 10, 11, каждая из которых образует одну сторону щели 12, 13 гомогенизации. Могут использоваться дополнительные щели 12, 13 гомогенизации, расположенные попарно и концентрически, но клапан 20 гомогенизации с более чем четырьмя щелями 12, 13 гомогенизации, вероятно, было бы трудно изготовить.
На конусе 1 клапана также расположены две узкие плоские поверхности 14, 15, каждая из которых образует другую сторону щелей 12, 13 гомогенизации. Поверхности 10, 11, 14, 15 соответственно расположены по отношению друг к другу в точном совпадении и с зазором между ними, который является обозначенной высотой щели и обычно равен 50-200 мкм. Высота щели может изменяться с изменяющимися давлением и потоком, при этом конус 1 клапана смещается теснее к седлу 2 клапана или дальше от него.
Расстояние между двумя щелями 12, 13 гомогенизации такое же, как ширина сквозного канала 3. Сквозной канал 3 может иметь небольшое продолжение 16, выполненное в седле 2 клапана. В качестве варианта выполнения конус 1 клапана имеет совершенно прямую сторону, которая состоит из поверхностей 10, 11 и их продолжения. Поверхности 10, 14 и 11, 15 щелей 12 и 13 гомогенизации соответственно должны быть совершенно прямыми, для того чтобы лучше направлять жидкость через щели 12, 13 гомогенизации.
Жидкость, обычно молоко, подлежащую гомогенизации, направляют в гомогенизатор и подвергают там воздействию давления приблизительно 10-25 МПа. Молоко обычно имеет содержание жира 0,5-3,5 процента и находится при температуре 55-80°С.
Жидкость подают через входное отверстие клапана 20 гомогенизации, и когда она достигает седла 2 клапана, жидкость распределяется так, что она частично проходит через центральный сквозной канал 4 и частично через канал 5. После этого жидкость проходит через каждую из соответствующих щелей 12 и 13 гомогенизации, и первый этап гомогенизации имеет место. В проходе достигается очень быстрое падение давления до 0 МПа, в то время как скорость жидкости увеличивается, в результате чего жидкость начинает кипеть.
Когда потоки жидкости из двух щелей 12, 13 гомогенизации покидают щели 12, 13, они будут встречаться при высокой скорости. Это вносит свой вклад в увеличение степени усовершенствования гомогенизации. Как только два потока сливаются вместе, скорость уменьшается, и давление снова возрастает. Жидкость прекращает кипение, и пузырьки пара в жидкости взрываются. Весь процесс происходит в течение нескольких долей секунды, и в интенсивном процессе, когда высокая скорость и слияние двух потоков в один другой дают начало турбулентности и кавитации, жировые шарики, которые находятся в жидкости, рассекаются или расщепляются на более мелкие частицы или шарики.
Процесс имеет место в ограниченном пространстве, то есть между выпускными отверстиями из двух щелей 12, 13 гомогенизации и частично в сквозном канале 3, а также, возможно, в его продолжении 16. После этого быстрогомогенизированная жидкость проходит через сквозной канал 3 и выходит из клапана 20 гомогенизации через выпускное отверстие 23.
Изменяя высоту щелей 12, 13 гомогенизации, возможно при промывании клапана 20 гомогенизации увеличить расстояние между конусом 1 клапана и седлом 2 клапана и тем самым получить легко промываемые поверхности. Благодаря тому, что седло 2 клапана и деталь 7 конуса 1 клапана имеют гигиенические уплотнения с корпусом 21 клапана и с деталью 8 конуса 1 клапана, создается гигиенический клапан 20 гомогенизации, который удовлетворяет требованиям пищевой промышленности и который может быть промыт с помощью обычного оборудования.
Как должно быть ясно из предшествующего описания, реализован способ гомогенизации, который объединяет традиционную гомогенизацию с противоположно направленными потоками, которые существенно улучшают процесс гомогенизации. Наличие щелей гомогенизации, которые создают противоположно направленные потоки, проблемы, создаваемые фиксированными соплами, исключаются в отношении гомогенизации молока.
Данное изобретение не следует рассматривать как ограниченное тем, что описано выше и показано на фигурах, многие модификации достижимы без отклонения от сути прилагаемой формулы изобретения.
Формула изобретения
Способ гомогенизации находящейся под давлением жидкой эмульсии, при котором создают, по меньшей мере, две концентрически расположенные щели гомогенизации в пространстве между двумя узкими поверхностями на седле клапана и двумя узкими поверхностями на конусе клапана, жидкую эмульсию направляют в щели гомогенизации через центральный сквозной канал и концентрический сквозной канал, выполненные в седле клапана, пропускают через щели гомогенизации и выпускают из щелей гомогенизации через сквозной канал, выполненный в конусе клапана, при этом жидкая эмульсия при ее выходе из одной из щелей гомогенизации при высокой скорости и в ограниченное пространство встречает жидкую эмульсию из одной или нескольких других щелей гомогенизации.
РИСУНКИ
|
|