|
|
(21), (22) Заявка: 2003125493/12, 18.08.2003
(24) Дата начала отсчета срока действия патента:
18.08.2003
(45) Опубликовано: 10.11.2004
(56) Список документов, цитированных в отчете о поиске:
SU 955899 А, 07.09.1982. SU 689896 А, 15.10.1979. FR 2336847 A2, 29.07.1977. FR 1589579 А, 18.10.1970. FR 2458244 A, 02.01.1981. FR 2637788 A1, 20.04.1990.
Адрес для переписки:
196620, Санкт-Петербург, Пушкин, С-Петербургское ш., 2, СПГАУ, патентная группа
|
(72) Автор(ы):
Шкрабак В.С. (RU), Смирнова Н.К. (RU), Митрофанов П.Г. (RU), Башкиров С.А. (RU), Шкрабак В.В. (RU), Шкрабак Р.В. (RU)
(73) Патентообладатель(и):
Санкт-Петербургский государственный аграрный университет (RU)
|
(54) ПОДСТАВКА ДЛЯ НОГ
(57) Реферат:
Подставка для ног, содержащая основание и стойки, установленные по углам основания, стойки представляют собой ряд последовательно набранных различных по высоте стоек, в верхней своей части установленных на валу, с возможностью поворота вокруг оси, при этом торец вала жестко крепится к пластине, жестко закрепленной на боковой поверхности основания, а свободный конец вала установлен в отверстии второй пластины, расположенной на расстоянии, равном сумме толщин стоек, и жестко закрепленной на основании, фиксатор установлен в соосные отверстия первой и второй пластины, которые выполнены на расстоянии от центра вала b=а/2+r, где а – ширина стойки, r – радиус фиксатора, при этом в отверстии первой пластины и на конце фиксатора выполнена резьба, а напротив фиксатора на расстоянии ширины стойки к боковой поверхности основания жестко крепится упор. Использование данного изобретения обеспечивает пространственное соотношение между элементами рабочего места и антропометрическими возможностями работающего человека при выполнении работ в положении стоя. 2 ил.

Изобретение относится к охране труда – оргоснастке рабочих мест, а именно к подставке для ног при выполнении работы в положении стоя, и может быть использована для станочников.
Подставка для ног, содержащая основание и установленные на ней две вертикальные стойки, опорную площадку и средство регулирования ее по высоте и углу наклона. Она имеет дополнительную стойку, установленную наклонно между основанием и передней частью опорной площадки и шарнирно прикрепленную к ним концами, при этом вертикальные стойки шарнирно соединены с задней частью опорной площадки, а каждая стойка выполнена из двух частей, нижняя из которых закреплена неподвижно, а верхняя телескопически соединена с нижней и подпружинена, причем средство для регулирования по высоте и углу наклона опорной площадки содержит управляющие планки, одна из которых шарнирно прикреплена к переднему, а другая к заднему торцам опорной площадки, зубчатые рейки со стопорами, расположенные в нижней части каждой стойки, Г-образные рычаги, взаимодействующие одним концом со стопором реек, и подпружиненные стержни, установленные в верхней части стоек с возможностью взаимодействия нижним концом с другим концом Г-образного рычага, а верхним – с планкой. Каждая планка имеет длину, равную длине торца опорной площадки, и в поперечном сечении треугольную форму, при этом планка, прикрепленная на переднем торе опорной площадки, расположена одной гранью перпендикулярно к ней, а на заднем торце параллельно. Основание подставки для ног имеет присоски вакуумного типа для закрепления на полу (а.с.№784863, кл. А 47 С 7/50).
Недостатки данного устройства
1. Подставка предназначена для ног при работе сидя. Для работы стоя на подставке для ног не обеспечивается достаточная устойчивость в местах отсутствия вертикальных стоек.
2. Процесс регулирования подставки при работе на ней небезопасен ввиду неконтролируемого сжатия пружин в стойках при срабатывании стопоров.
3. При нахождении работника в местах отсутствия вертикальных стоек возможен прогиб опорной площадки, что приведет к значительным изгибающим моментам. Это в свою очередь требует значительных размеров поперечного сечения опорной площадки.
4. Подставка для ног не универсальна ввиду того, что для каждого работника необходим индивидуальный расчет и подбор пружин в стойках.
Наиболее близким аналогом к заявленному устройству является подставка для ног (а.с. №955899, кл. А 47 С 7/50), содержащая основание, опорную площадку, переднюю и заднюю стойки из двух частей каждая, шарнирно соединенные верхними частями с опорной площадкой и закрепленные нижними частями на основании, из которых нижняя часть передней стойки закреплена на нем шарнирно, и приспособление для регулирования положения площадки по высоте и углу наклона. Она имеет дополнительную переднюю стойку, состоящую из верхней и нижней частей, шарнирно закрепленных соответственно на основании и опорной площадке, при этом нижние концы стоек закреплены на основании шарнирно, свободные концы частей каждой стойки соединены между собой посредством осевого выступа, выполненного на нижней части, и отверстий в верхней части, а приспособление для регулирования положения площадки по высоте и углу наклона имеет фиксирующие гайки, каждая из которых установлена на осевом выступе одной из передних и одной из задних стоек.
Указанная подставка для ног обеспечивает достаточно большой диапазон регулирования по высоте, но при использовании ее для выполнения работ в положении стоя обладает существенным недостатком, который заключается в следующем: в положении, когда высота подставки малая, и больших нагрузках на основание требуются стойки большого сечения ввиду большого изгибающего момента, а также массивное приспособление для регулирования по высоте подставки с мощным резьбовым соединением фиксирующих гаек.
Задачей изобретения является достижение оптимального пространственного соотношения между элементами рабочего места и антропометрическими возможностями работающего человека с помощью подставки для ног при выполнении работ в положении стоя.
Поставленная задача решается за счет того, что подставка для ног, содержащая основание и стойки, установленные по углам основания. Стойки представляют собой ряд последовательно набранных различных по высоте стоек, в верхней своей части установленных на валу, с возможностью поворота вокруг оси, при этом торец вала жестко крепится к пластине, жестко закрепленной на боковой поверхности основания, а свободный конец вала установлен в отверстии второй пластины, расположенной на расстоянии, равном сумме толщин стоек, и жестко закрепленной на основании, фиксатор установлен в соосные отверстия первой и второй пластины, которые выполнены на расстоянии от центра вала b=а/2+r, где а – ширина стойки, r – радиус фиксатора.
При этом в отверстии первой пластины и на конце фиксатора выполнена резьба, а напротив фиксатора на расстоянии ширины стойки к боковой поверхности основания жестко крепится упор.
Новые существенные признаки
1. Стойки представляют собой ряд последовательно набранных различных по высоте стоек.
2. Стойки в верхней своей части установлены на валу с возможностью поворота вокруг оси.
3. Торец вала жестка крепится к пластине, жестко закрепленной на боковой поверхности основания.
4. Свободный конец вала установлен в отверстии второй пластины, расположенной на расстоянии, равном сумме толщин стоек, и жестко закрепленной на основании.
5. Фиксатор установлен в соосные отверстия первой и второй пластины.
6. Соосные отверстия первой и второй пластины выполнены на расстоянии от центра вала b=а/2+r, где а – ширина стойки, r – радиус фиксатора.
7. В отверстии первой пластины и на конце фиксатора выполнена резьба.
8. Напротив фиксатора на расстоянии ширины стойки к боковой поверхности основания жестко крепится упор.
Перечисленные новые существенные признаки в совокупности с известными позволяют получить технический результат во всех случаях, на которые распространяется испрашиваемый объем правовой охраны.
Технический результат достигается за счет того, что в подставке для ног предусмотрены несколько стоек различной высоты, которые при помощи фиксаторов, упоров (их взаимного положения) позволяют быстро переналадить подставку под требуемый антропометрический размер работника.
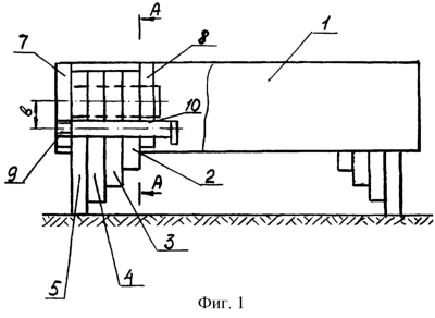
На фиг.1 схематично изображена подставка для ног; на фиг.2 – сечение А-А фиг.1.
Подставка для ног содержит основание 1 в виде прямоугольного металлического каркаса (например, выполненного из уголка) с деревянной решеткой (не показано). Опорные стойки 2, 3, 4, 5 установлены по углам основания 1. Стойки 2, 3, 4, 5 установлены на валу 6, одним концом жестко закрепленном к пластине 7 с возможностью их поворота на 90°, и представляют собой ряд последовательно набранных стоек шириной а, отличающихся только по высоте. Стойки 2, 3, 4, 5 установлены между пластинами 7 и 8, последние жестко закреплены верхней и одной боковой стороной к основанию 1. Пластины 7 и 8 имеют соосные отверстия 9 и 10. Для установки фиксатора 11 в отверстии 9 пластины 7 выполнена резьба. На конце фиксатора 11, который располагается в отверстии 9, также выполнена резьба, а на другом конце фиксатора 11 выполнен для удобства работы с ним хвостовик.
Упор 12 жестко закреплен на основании 1 с возможностью соприкосновения с ним наружной боковой поверхностью каждой стойки 2, 3, 4, 5, а фиксатор 11 расположен с возможностью взаимодействия с внутренней боковой поверхностью каждой стойки 2, 3, 4, 5. Расстояние между центрами вала 6 и фиксатора 11 b=а/2+r.
Подставка для ног ставится вертикально для выполнения манипуляций по регулированию высоты. Имея антропометрические размеры работника, выбирают величину стойки подставки для ног, для чего перемещают фиксатор 11 до освобождения стойки, например 2, обеспечивающей заданную величину подставки для ног, поворачивают стойки 3, 4, 5 внутрь подставки для ног на 90° и возвращают фиксатор 11 в исходное положение, завинчивая его в резьбовом отверстии 9 пластины 7. Повернутые стойки 3, 4, 5 при этом фиксируются в горизонтальном положений, т.к. фиксатор 11 сопряжен с их внутренней поверхностью. При этом стойка 2 своей наружной боковой поверхностью опирается на упор 12, а внутренней на фиксатор 11, тем самым закрепляется стойка 2.
Аналогично выполняется регулирование всех остальных опорных стоек, после чего подставка возвращается в горизонтальное положение.
Формула изобретения
Подставка для ног, содержащая основание и стойки, установленные по углам основания, отличающаяся тем, что стойки представляют собой ряд последовательно набранных различных по высоте стоек, в верхней своей части установленных на валу, с возможностью поворота вокруг оси, при этом торец вала жестко крепится к пластине, жестко закрепленной на боковой поверхности основания, а свободный конец вала установлен в отверстии второй пластины, расположенной на расстоянии, равном сумме толщин стоек, и жестко закрепленной на основании, фиксатор установлен в соосные отверстия первой и второй пластины, которые выполнены на расстоянии от центра вала b=а/2+r, где а – ширина стойки, r – радиус фиксатора, при этом в отверстии первой пластины и на конце фиксатора выполнена резьба, а напротив фиксатора на расстоянии ширины стойки к боковой поверхности основания жестко крепится упор.
РИСУНКИ
MM4A – Досрочное прекращение действия патента СССР или патента Российской Федерации на изобретение из-за неуплаты в установленный срок пошлины за поддержание патента в силе
Дата прекращения действия патента: 19.08.2006
Извещение опубликовано: 27.07.2007 БИ: 21/2007
|
|