Патент на изобретение №2235050
|
||||||||||||||||||||||||||
(54) ПОТРЕБИТЕЛЬСКАЯ ТАРА ДЛЯ ВИНА И ВОДЫ, А ТАКЖЕ ЕЕ НАБОРЫ
(57) Реферат: Изобретение относится к таре и ее наборам, предназначенным для раздельного хранения вина и воды и получения их композиции непосредственно перед употреблением. Сосуды набора/тары под воду выполнены с объемом рабочей емкости, в два раза большим чем объем рабочих емкостей сосудов для вина, и заполнены водой лишь частично, а сосуды под вино выполнены с объемом рабочих емкостей, большим 15 и меньшим 50 ml, при этом сосуды с вином окружены слоем воды заданной толщины и все сосуды выполнены с возможностью доступа в рабочие емкости с вином без их связывания с рабочими емкостями с водой. Технический результат – обеспечение возможности предоставления для потребления продуктов, которые подвергались обработке разрешенными методами виноделия; длительного хранения вина и воды; удобного и безошибочного приготовления их композиций; создания новой вкусовой линии, расширения ассортимента утоляющей жажду продукции, не причиняющей вреда здоровью, имеющей лечебный и профилактический потенциалы. 2 с. и 101 з.п. ф-лы, 19 ил. Изобретение относится к потребительской таре и ее наборам, в частности к многокамерным бутылкам, предназначенным для раздельного хранения компонентов и смешивания их непосредственно перед употреблением. Изобретение предназначено для производства и продажи нового вида продукции – слабо- или безалкогольного напитка, представляющего собой смесь в заданной пропорции натурального сухого вина и минеральной воды. С античных времен известно, что перед употреблением натурального сухого вина его смешивали с водой. В настоящее время такое потребление вина до сих пор является традиционным в ряде стран Европы. Известно, что при хранении смешанного с водой сухого вина со временем оно теряет свои вкусовые качества и приходит в негодность. Чтобы этого не происходило в указанную смесь вводят различные добавки, в том числе консерванты, что отрицательно сказывается на здоровье людей (см. например, патент RU 2120974). Для производства и выпуска в продажу экологически чистого продукта, представляющего собой смесь минеральной воды и сухого вина, необходимо обеспечить их раздельное хранение. При этом потребитель продукции для использования ее в качестве утоляющего жажду и освежающего напитка должен иметь возможность приобрести его в подходящей для этого упаковке, например в виде набора сосудов или в виде одного многокамерного сосуда, в которых смешивание упомянутых компонентов производится непосредственно перед употреблением самим потребителем продукции. Известные наборы сосудов или многокамерные емкости как правило предназначены для раздельного хранения перед смешиванием медицинских препаратов или технических жидкостей или веществ. Например, известна двухкамерная емкость для раздельного хранения двух компонентов по патенту US 3459295, B 65 D 1/04, 05.08.1969, выбранная в качестве аналога второму объекту изобретения, которая представляет собой охватывающую емкость, размещенную внутри нее охватываемую емкость и крышку, которая закрепляется на охватывающей емкости посредством резьбового соединения и одновременно закрывает верхнюю часть охватываемой емкости за счет фрикционного соединения. Недостатком известной емкости является то, что она выполнена из материала, не предназначенного для длительного хранения в нем натурального вина и чистой питьевой воды. Кроме того, объемы указанных емкостей не обеспечивают смешивания компонентов, в случае, если бы такими компонентами были вино и вода, в такой пропорции, при которой готовый напиток являлся бы слабоалкогольным и освежающим, с легким ароматом и привкусом натурального вина. Конструкция емкости не предусматривает тщательной укупорки в первую очередь охватываемой емкости, что необходимо в случае наполнения ее вином, а также не обеспечивает свободного доступа к каждой из емкостей без их предварительного разделения для возможности изъятия проб наполняющих их компонентов. Известен набор по патенту US, выбранный в качестве прототипа первому объекту изобретения, который включает группу из двух сосудов, связанных между собой посредством крепежного элемента. К недостаткам известного набора следует отнести то, что входящие в его состав ссуды также не предназначены для хранения в них натурального вина и чистой воды. Кроме того, большой сосуд выполнен из непрозрачного материала, что не позволяет использовать его, в случае наполнения водой, для создания оптических спецэффектов и иллюзий при визуальном восприятии сосуда меньшего размера. Разница в объемах сосудов известного набора достаточно велика, чтобы при смешивании компонентов получить напиток с заданными вкусовыми качествами. Количество малых сосудов не дает возможность потребителю использовать для смешивания с водой то или иное сухое вино, наиболее подходящее ему по вкусу, или смешивать поочередно сначала одну марку вина, а затем другую для сравнения вкуса конечного напитка. Известен многокамерный сосуд-дозатор для хранения, по меньшей мере, двух веществ, смешивания этих веществ непосредственно перед употреблением и дозирования смеси по патенту RU 2184058, B 65 D 25/08, 27.06.2002, который выбран в качестве аналога второго объекта изобретения – потребительской таре. Известный сосуд разделен на части внутренней перегородкой, которая закреплена по периметру в средней части сосуда под наклоном к его стенкам. Для смешивания веществ, одно из которых находится в нижней части сосуда, а другое в верхней – над перегородкой, необходимо сдавить сосуд в средней части. Под воздействием приложенного усилия места крепления перегородки к сосуду разрушаются и вещество из верхней части перетекает в нижнюю часть сосуда, смешиваясь со вторым веществом. Недостатком известного сосуда является необходимость введения дополнительного жесткого элемента, ограждающего его нижнюю и среднюю части для предохранения сосуда от непреднамеренного сжатия при транспортировке и хранении. Кроме того, в известном сосуде не обеспечивается возможность отбора проб для идентификации содержащихся в нем веществ и проверки соответствия их составов нормативным, указанным в сопроводительной документации, и, как следствие, возможность использования некачественных компонентов при наполнении сосуда; не обеспечивается возможность оценки органолептических свойств каждого из компонентов в отдельности; не обеспечивается возможность качественного высокопроизводительного изготовления сосуда, разлива в него компонентов, транспортировки, хранения и реализации; не исключается возможность случайного выделения одного из компонентов из сосуда в чистом виде; известный сосуд сложен в изготовлении; при разливе в него компонентов необходимо использовать нестандартное оборудование и техпроцессы; не обеспечивается возможность использования одного из компонентов в качестве конструктивного элемента для создания оптических спецэффектов и иллюзий при визуальном восприятии; объемы двух емкостей при смешивании содержащихся в них компонентов в случае, если таковыми будут являться натуральное сухое вино и минеральная вода, не обеспечивают получение напитка с заданными вкусовыми качествами. Наиболее близкой к предложенной потребительской таре по совокупности общих признаков является емкость для раздельного хранения двух продуктов с последующим их смешиванием по патенту US 5246142, B 65 D 25/08, 21.09.1993, которая выбрана в качестве прототипа. Известная емкость содержит охватывающую емкость и размещенную в ней охватываемую емкость, жестко связанную с крышкой. В нижней части охватывающей емкости выполнен шестигранный выступ, на который устанавливается своей нижней частью охватываемая емкость, выполненная в виде цилиндра с ослабленными по винтовой линии местами. При вращении крышки, а следовательно, и охватываемой емкости последняя разрушается по упомянутым ослабленным местам и содержащейся в ней продукт смешивается с продуктом в охватывающей емкости. К недостаткам известной емкости следует отнести то, что она не предназначена для хранения натурального сухого вина и минеральной воды, не обеспечивает получение оптических спецэффектов и иллюзий при визуальном восприятии охватываемой емкости, сложна по конструкции, в ней отсутствует возможность использования охватываемой емкости в качестве сосуда для питья, не обеспечено индуцирование ассоциативной связи объекта розничной торговли при его визуальном восприятии с высококачественной винодельческой продукцией, конструкция емкости не предусматривает возможность использования охватываемых емкостей с разным объемом для получения напитка с заданными вкусовыми качествами. Целью изобретения является повышение здоровья населения за счет снижения риска заболеваний органов пищеварения и кровеносно-сосудистой системы, а также заболеваний, связанных с нарушением обмена веществ. При реализации заявляемого изобретения указанная цель достигается, с одной стороны, за счет исключения факторов, способствующих развитию указанных заболеваний, а с другой – за счет профилактики таких заболеваний, на базе обогащения рациона питания необходимыми для такой профилактики микронутриентами. Другая цель изобретения – пропаганда здорового образа жизни, в котором есть место композициям на основе продукции виноделия, создание условий для ведения такого образа жизни. Еще одна цель изобретения – охрана общественного здоровья через охрану здоровья потребителей в части поддержания высокого уровня качества винодельческого производства, а также защита интересов торговли в части исключения диспропорций в условиях конкуренции и лишения стимулов в торговле низкокачественной винодельческой продукцией. Задача изобретения – способствование организации рынка вин высокого качества за счет создания на базе композиций, включающих в качестве компонентов в виде жидкостей натуральное сухое вино и минеральную воду, продукции, альтернативной пивной и слабоалкогольной газированной и негазированной, полученной посредством смешения спирта или крепких алкогольных напитков с иными ингредиентами, а также альтернативной газированным и негазированным водам и напиткам. Для решения задачи изобретения его заявляемые отличительные признаки позволяют: – обеспечить возможность гарантированного предоставления для непосредственного потребления человеком только продуктов, которые подвергались обработке разрешенными методами виноделия; – обеспечить возможность применения стандартных методов анализа, особенно в части методов и порядка отбора проб и идентификации, а также токсикологических испытаний упомянутых компонентов конечного продукта, хранящегося на стадии продажи конечному потребителю; – обеспечить возможность предоставления сопроводительной документации на каждый из упомянутых компонентов; – исключить возможность сокрытия последствий применения некачественного сырья или нежелательных методов виноделия; – обеспечить возможность оценки органолептических свойств каждого из упомянутых компонентов в отдельности конечным потребителем; – обеспечить возможность качественного высокопроизводительного изготовления потребительской тары для упомянутых композиции, разлива в нее упомянутых компонентов, ее транспортировки, хранения и реализации; – обеспечить возможность длительного хранения упомянутых компонентов в упомянутой потребительской таре без консервантов и пастеризации; – обеспечить возможность удобного, быстрого и безошибочного приготовления упомянутых композиций неподготовленным пользователем; – исключить возможность случайного выделения упомянутых компонентов из упомянутой потребительской тары в чистом виде; – выделение из многообразия вкусовых оттенков композиции вино с водой предпочтительного; – индуцирования ассоциативной связи соответствующего заявляемым изобретения объекта розничной продажи при его визуальном восприятии с высококачественной винодельческой продукцией. В частности, заявляемое изобретение позволяет получить технический результат выражающийся в: – обеспечении возможности изъятия проб упомянутых компонентов из упомянутой потребительской тары без применения трудоемких технологических процедур; – обеспечении возможности использования при изготовлении упомянутой потребительской тары вакуумного формообразования, технологий, основанных на перерабатываемых и неперерабатываемых пластмассах, других технологий массового изготовления потребительской тары для жидких продуктов; – минимизации числа деталей и узлов устройства – упомянутой потребительской тары, в которой предполагается раздельное хранение упомянутых компонентов; – обеспечении возможности использования стандартных оборудования и техпроцессов для разлива упомянутых компонентов в упомянутую потребительскую тару с целью последующего раздельного хранения последних; – обеспечении возможности использования широкой номенклатуры материалов при производства тары; – совмещении в сосуде с водой функций потребительской тары для хранения воды на стадии продажи конечному потребителю, мерного стакана, емкости для питья; – обеспечении возможности использования при работе с упомянутыми потребительскими тарами стандартных приемов транспортировки и хранения жидких напитков; – обеспечении возможности длительного раздельного хранения упомянутых компонентов в упомянутой потребительской таре; – исключении проникновения воды в сосуд с вином (или в сосуд для вина) на этапе сборки тары; – обеспечение возможности использования одного из упомянутых компонентов в качестве конструктивного элемента упомянутой потребительской тары; – обеспечении условий длительного хранения натурального сухого вина в жидком виде; – обеспечении возможности точного выбора предпочтительного соотношения компонентов в композиции вино и вода; – обеспечении возможности использования стандартных способов приема жидких продуктов массового распространения; – обеспечении возможности однотипного приготовления упомянутых композиций с различным соотношением упомянутых компонентов; – получение конечным потребителем слабоалкогольного или безалкогольного напитка в объеме 0,2; 0,25; 0,33; 0,4; 0,5; 0,66; 1,0; 1,5 л, без потери компонентов; – обеспечении возможности использования прессовых посадок при закупорке (закрытии) емкостей упомянутой тары; – совмещении по времени процесса откупорки (открытия, упомянутой тары с процессом смешения упомянутых компонентов; – обеспечении возможности качественного перемешивания упомянутых компонентов при откупорке (открытии) упомянутой тары; – обеспечении при визуальном восприятии упомянутой потребительской тары оптических спецэффектов и иллюзий восприятия (связанных с полным внутренним отражением и ассимиляцией прозрачных объектов, близких по показателю преломления с показателем преломления окружающей среды). – совмещении в сосуде с водой функций потребительской тары для хранения воды на стадии продажи конечному потребителю мерного стакана, емкости для питья. Помимо сказанного заявляемые изобретения позволят создать новую вкусовую линию, расширить ассортимент утоляющей жажду продукции, не причиняющей вреда здоровью человека. Заявляемый технический результат достигается за счет введения в известные объекты следующих отличительных признаков. В набору включающий как минимум одну группу, состоящую как минимум из двух сосудов с рабочими емкостями, предназначенными для раздельного хранения на стадии продажи конечному потребителю как минимум двух жидких компонентов конечного продукта – композиции таких компонентов – введены следующие отличительные признаки: как минимум один из упомянутых сосудов группы выполнен наполненным минеральной водой, тогда как другие – натуральным сухим вином, причем сосуд, наполненный упомянутой водой, выполнен с объемом рабочей емкости, удовлетворяющим условию
где VW – объем рабочей емкости сосуда, наполненного водой,
– суммарный объем рабочих емкостей сосудов, наполненных вином i-й марки,
n – число марок вин, представленных упомянутой группой сосудов, часть которого VW, удовлетворяющая условию
занята водой, и изготовлен из полиэтилена или другого материала, разрешенного органами здравоохранения или иными уполномоченными на то органами для контакта с упомянутыми водой и вином или только с водой, либо включает в местах контакта с ними соответствующие покрытия своих поверхностей, а сосуды, наполненные упомянутым вином, выполнены с объемом рабочих емкостей, удовлетворяющим условию
и изготовлены из стекла, или дуба, или титана, или другого материала, разрешенного органами здравоохранения или иными уполномоченными на то органами для контакта с упомянутыми вином и водой, либо включают в местах контакта с ними соответствующие покрытия своих поверхностей, при этом сосуды упомянутых групп выполнены с возможностью доступа в рабочие емкости, наполненные упомянутым вином, без их связывания с рабочими емкостями, наполненными упомянутой водой.
Также заявляемый технический результат достигается при реализации следующих частных отличительных признаков.
Упомянутый сосуд набора, наполненный упомянутой водой, от уровня последней может быть проградуирован в соотношениях объема наполняющей сосуд воды к объему примешиваемой к ней жидкости (вина) при дополнении ею сосуда, и такая градуировка может включать следующие соотношения: 4:1, 6:1, 8:1, 10:1.
Упомянутые группы набора могут включать три сосуда, при этом эти сосуды могут быть выполнены в виде различных тел, одно из которых может быть наполнено упомянутой водой и являться большим по размеру, а два других – упомянутым вином и являться меньшими по размеру, причем сосуд, наполненный упомянутой водой, может быть выполнен с большим как минимум в 1,2 раза по площади выходным отверстием, по сравнению с площадью выходных отверстий сосудов, наполненных упомянутым вином.
Упомянутые группы набора могут включать два сосуда, при этом эти сосуды могут быть выполнены в виде различных тел, одно из которых может быть наполнено упомянутой водой и являться большим по размеру, а другое – упомянутым вином и являться меньшими по размеру, причем сосуд, наполненный упомянутой водой, может быть выполнен с большим как минимум в 1,2 раза по площади выходным отверстием по сравнению с площадью выходного отверстия сосуда, наполненного упомянутым вином.
Упомянутые сосуды набора, наполненные упомянутым вином, могут быть выполнены с объемом рабочей емкости, удовлетворяющим условию
где – суммарный объем рабочих емкостей сосудов, наполненных вином i-й марки.
Упомянутый сосуд набора, наполненный упомянутой водой, может быть выполнен с объемом рабочей емкости, удовлетворяющим условию
где VW – объем рабочей емкости сосуда, наполненного водой,
– суммарный объем рабочих емкостей сосудов, наполненных вином i-й марки.
Упомянутые тела могут быть объединены посредством общего крепежного элемента или общей упаковки.
Упомянутое тело, наполненное упомянутой водой, дополнительно к упомянутой рабочей емкости может иметь как минимум одну полость, в которой размещено упомянутое тело, наполненное упомянутым вином.
Центр выходного отверстия упомянутого тела, наполненного упомянутой водой, на виде сверху может быть смещен более чем на пять миллиметров относительно центра тяжести упомянутой воды.
Упомянутые тела, наполненные упомянутым вином, в случае с группой, включающей три сосуда, посредством упомянутого крепежного элемента или общей упаковки могут быть сгруппированы с одной стороны от тела, наполненного упомянутой водой.
Упомянутые сосуды упомянутых групп набора, наполненные упомянутым вином, могут быть выполнены с объемом рабочих емкостей, удовлетворяющим условию
где для j-й группы,
k – число групп в наборе.
Упомянутые сосуды упомянутых групп набора, наполненные упомянутым вином, могут быть выполнены с объемом рабочих емкостей, удовлетворяющим условию
где для j-й группы,
k – число групп в наборе.
Упомянутые группы набора могут быть объединены посредством общего крепежного элемента или общей упаковки.
В части другого изобретения в объект изобретения потребительская тара, предназначенная для раздельного хранения на стадии продажи конечному потребителю как минимум двух компонентов конечного продукта – композиции таких компонентов, включающая как минимум два сосуда с рабочими емкостями, наполненными такими компонентами, один из которых является охватывающим и включает рабочую емкость как минимум одного из оставшихся, далее – охватываемого сосуда, – введены следующие отличительные признаки: охватывающий и охватываемый сосуды выполнены наполненными соответственно минеральной водой и натуральным сухим вином так, что выполняются следующие условия:
где – суммарный объем рабочих емкостей сосудов, наполненных вином i-й марки,
n – число марок вин, представленных в упомянутой таре,
где – площадь поверхности в м2 1-го охватываемого сосуда, контактирующего и с вином, и с водой, контактирующей с упомянутой водой,
где – площадь поверхности в м2 такого сосуда, контактирующей с упомянутым вином,
m – число охватываемых сосудов, контактирующих и с вином и с водой,
где VW – объем рабочей емкости охватывающего сосуда (сосуда, наполненного упомянутой водой), причем тело, представляющее охватываемый сосуд, изготовлено из стекла, или дуба, или титана, или другого материала, разрешенного органами здравоохранения или иными уполномоченными на то органами для контакта с упомянутыми вином и водой, либо включает в местах контакта с ними соответствующие покрытия своих поверхностей, а тело, представляющее охватывающий сосуд, изготовлено из полиэтилена или другого материала, разрешенного органами здравоохранения или иными уполномоченными на то органами для контакта с упомянутой водой или и с упомянутой водой, и с упомянутым вином, либо включает в местах контакта с ней (с ними) соответствующие покрытия своих поверхностей, при этом упомянутые сосуды выполнены с возможностью доступа в рабочие емкости, содержащие упомянутое вино, без их связывания с рабочими емкостями, содержащими упомянутую воду.
Также заявляемый технический результат достигается при реализации следующих частных отличительных признаков.
Упомянутые сосуды, наполненные упомянутым вином, могут быть выполнены с объемом рабочих емкостей, удовлетворяющим условию
где – суммарный объем рабочих емкостей сосудов, наполненных вином i-й марки,
n – число марок вин, представленных в упомянутой таре.
Упомянутые сосуды, наполненные упомянутым вином, могут быть выполнены с объемом рабочих емкостей, удовлетворяющим условию
где – суммарный объем рабочих емкостей сосудов, наполненных вином i-й марки;
n – число марок вин, представленных в упомянутой таре.
Упомянутые сосуды, наполненные упомянутым вином, могут быть выполнены с объемом рабочей емкости, удовлетворяющим условию
где – суммарный объем рабочих емкостей сосудов, наполненных вином i-й марки.
Упомянутый сосуд, наполненный упомянутой водой, может быть выполнен с объемом рабочей емкости, удовлетворяющим условию
где VW – объем рабочей емкости сосуда, наполненного
– суммарный объем рабочих емкостей сосудов, наполненных вином i-й марки.
Охватывающий сосуд в нижней части может включать посадочную поверхность для охватываемого сосуда, соответствующая сопряженная поверхность которого обеспечивает с указанной посадочной плотное разъемное соединение.
Упомянутые сосуды в верхней части могут быть укупорены общей пробкой, выполненной в виде единого конструктивного элемента (или узла), при этом такая пробка может быть выполнена корковой, или алюминиевой с перфорацией, или полиэтиленовой, или она может быть выполнена в виде кроненпробки, или в виде другого укупорочного средства или из другого материала, разрешенных органами здравоохранения или иными уполномоченными на то органами для контакта с упомянутыми вином и водой, либо в местах контакта с упомянутыми вином и водой она может иметь соответствующее покрытие своих поверхностей.
Упомянутая пробка может сопрягаться с охватывающим сосудом посредством плотного резьбового соединения.
Длина упомянутого плотного разъемного соединения может быть меньше длины упомянутого плотного резьбового соединения.
Упомянутое резьбовое соединение может быть выполнено с отношением длины к шагу резьбы, не меньшим десяти.
Упомянутая пробка может сопрягаться с охватываемым сосудом посредством неразъемного герметичного соединения.
Упомянутая пробка может включать как минимум одно воздухоподводное отверстие, один из торцов которого связан с упомянутой рабочей емкостью охватываемого сосуда, а другой герметично закрыт сопряжением пробки с охватывающим сосудом.
Упомянутая пробка может включать фиксатора обеспечивающий неразъемное герметичное соединение пробки с охватываемым сосудом посредством упругого элемента фиксатора, распирающего либо пробку, либо охватываемый сосуд.
Упомянутые пробка и фиксатор могут быть сопряжены посредством герметичного соединения.
Упомянутый фиксатор может включать как минимум одно воздухопроводное отверстие, связывающее воздухоподводное отверстие с рабочей емкостью охватываемого сосуда.
Упомянутая пробка может соединяться с охватываемым сосудом посредством плотного резьбового соединения.
Упомянутая пробка может включать фиксатор, обеспечивающий блокировку упомянутого в п.29 резьбового соединения, посредством упругого элемента фиксатора, распирающего охватываемый сосуд.
Отношение наибольшего измерения поперечного сечения упомянутой рабочей емкости охватывающего сосуда к наибольшему измерению поперечного сечения упомянутой рабочей емкости охватываемого сосуда может быть не меньше корня квадратного из двух.
Охватываемый сосуд может быть выполнен преимущественно цилиндрическим.
В случае если отношение наибольшего измерения поперечного сечения упомянутой рабочей емкости охватывающего сосуда к наибольшему измерению поперечного сечения упомянутой рабочей емкости охватываемого сосуда меньше двух, охватывающий сосуд может быть выполнен как минимум с одной плоской гранью на своей боковой поверхности.
Площадь упомянутой грани может составлять не менее пяти процентов от площади охватывающего сосуда.
Охватывающий сосуд может быть выполнен с тремя плоскими гранями.
В случае если отношение наибольшего измерения поперечного сечения упомянутой рабочей емкости охватывающего сосуда к наибольшему измерению поперечного сечения упомянутой рабочей емкости охватываемого сосуда больше двух, охватывающий сосуд может быть выполнен преимущественно цилиндрическим.
В случае если отношение наибольшего измерения поперечного сечения упомянутой рабочей емкости охватывающего сосуда к наибольшему измерению поперечного сечения упомянутой рабочей емкости охватываемого сосуда больше трех, то охватываемый сосуд может быть выполнен как минимум с одной плоской гранью на своей боковой поверхности.
Площадь упомянутой грани может составлять не менее пяти процентов от площади охватываемого сосуда.
Охватываемый сосуд может быть выполнен с тремя плоскими гранями.
Упомянутые плоские грани охватывающего и охватываемого сосуда могут быть расположены вертикально.
Упомянутые плоские грани охватывающего и охватываемого сосуда могут иметь одинаковую в пределах погрешности изготовления площадь.
Охватываемый сосуд с точки зрения расположения центров тяжести поперечных сечений сосудов на поперечном сечении тары может быть расположен по центру охватывающего с допуском, определяемым погрешностями изготовления и расположения сосудов.
Упомянутые сосуды могут быть расположены соосно с допуском, определяемым погрешностями изготовления и расположения тел.
Охватывающий сосуд в верхней части может включать посадочную поверхность для охватываемого сосуда, соответствующая сопряженная поверхность которого обеспечивает с указанной посадочной герметичное разъемное соединение.
Как минимум один фрагмент упомянутой посадочной поверхности верхней части и упомянутой сопряженной может быть выполнен в виде фрагмента цилиндра или в виде цилиндра.
Охватываемый сосуд в области упомянутой сопряженной поверхности может иметь как минимум одно воздухоподводное отверстие, герметично закрытое упомянутой посадочной поверхностью с точки зрения проникновения в него наружного воздуха, а также упомянутой воды.
Упомянутые отверстия могут быть выполнены вытянутыми в вертикальном направлении.
Пробка может включать фиксатор охватываемого сосуда, сопрягаемый с ней посредством неразъемного соединения.
Охватываемый сосуд в верхней части может включать посадочную поверхность для пробки, соответствующая сопряженная поверхность которой обеспечивает с указанной посадочной плотное соединение.
Охватываемый сосуд в верхней части может включать посадочную поверхность для фиксатора охватываемого сосуда, соответствующая сопряженная поверхность которого обеспечивает с указанной посадочной неразъемное соединение, при этом указанный фиксатор, распирая охватываемый сосуд, обеспечивает его неразъемное соединение с пробкой.
Пробка может включать посадочную поверхность для фиксатора, соответствующая сопряженная поверхность которого обеспечивает неразъемное соединение фиксатора с пробкой и либо это соединение, либо упомянутое неразъемное соединение упомянутого фиксатора с охватываемым сосудом может быть выполнено герметичным с точки зрения протекания упомянутого вина вовне тары.
Тара может включать переходник с как минимум одним воздухоподводным отверстием, выполненный как конструктивный элемент пробки и соединяющий охватываемый сосуд с упомянутой пробкой и охватывающим сосудом.
Упомянутый переходник с воздухоподводным отверстием в своей нижней части может включать посадочную поверхность для охватываемого сосуда, соответствующая сопряженная поверхность которого обеспечивает с указанной посадочной плотное герметичное соединение.
Упомянутый переходник с воздухоподводным отверстием в своей средней части может включать посадочную поверхность для охватывающего сосуда, соответствующая сопряженная поверхность которого обеспечивает указанной посадочной герметичное соединение.
Упомянутый переходник с воздухоподводным отверстием в упомянутой средней части может включать как минимум одно соединенное с рабочей емкостью упомянутого охватываемого сосуда воздухоподводное отверстие, закрытое от внешней среды упомянутой сопряженной поверхностью.
Упомянутый переходник с воздухоподводным отверстием в своей верхней части может включать посадочную поверхность для упомянутой пробки, соответствующая сопряженная поверхность которой обеспечивает с указанной посадочной плотное соединение.
Упомянутое плотное соединение может быть выполнено неразъемным.
Упомянутое плотное соединение может быть выполнено герметичным с точки зрения протекания упомянутого вина вовне тары.
Упомянутая пробка может включать фиксатор охватываемого сосуда и переходника и такой фиксатор может включать как минимум одно воздухопроводное отверстие, а упомянутый переходник с воздухоподводным отверстием в верхней и/или нижней части может включать посадочную поверхность для указанного фиксатора, соответствующая сопряженная поверхность которого обеспечивает с указанной посадочной неразъемное соединение, при этом указанный фиксатор обеспечивает жесткое неразъемное соединение переходника с пробкой и/или с упомянутым охватываемым сосудом.
Упомянутое здесь неразъемное соединение упомянутого фиксатора охватываемого сосуда и переходника с последним в упомянутой верхней части может быть выполнено герметичным с точки зрения протекания упомянутого вина вовне тары.
Тара может включать выполненный как конструктивный элемент упомянутой пробки переходник с как минимум одним воздухопроводным отверстием, присоединенный посредством неразъемного соединения к охватываемому сосуду и соединяющий его с упомянутой пробкой.
Упомянутый переходник с воздухопроводным отверстием может включать посадочную поверхность для фиксатора переходника, соответствующая сопряженная поверхность которого обеспечивает с указанной посадочной неразъемное соединение, при этом фиксатор обеспечивает жесткое неразъемное соединение переходника с упомянутой пробкой.
Упомянутое в предыдущем абзаце неразъемное соединение может быть выполнено герметичным с точки зрения протекания упомянутого вина вовне тары.
Упомянутое плотное разъемное соединение упомянутой посадочной поверхности охватывающего тела в его упомянутой нижней части с упомянутой соответствующей сопряженной (сопрягаемой) поверхностью охватываемого тела может быть выполнено герметичным.
Как минимум один фрагмент упомянутых посадочной и сопряженной поверхностей может быть выполнен в виде фрагмента цилиндра или в виде цилиндра.
Как минимум один фрагмент упомянутых посадочной и сопряженной поверхностей может быть выполнен в виде фрагмента конуса с углом при вершине не более пятнадцати градусов или конусным с таким же углом при вершине.
Охватывающий сосуд в нижней части в месте упомянутой посадочной поверхности может включать полость, в которую установлен упругий блокиратор, входящий с охватывающим сосудом в упругое соединение, обеспечивающее гарантированное плотное герметичное разъемное соединение охватываемого и охватывающего сосудов.
Охватывающий сосуд в нижней части в месте упомянутой посадочной поверхности может включать полость, в которую установлен упругий блокиратор, входящий с охватывающим сосудом в упругое соединение, обеспечивающее неразъемное соединение упомянутой посадочной поверхности охватывающего сосуда с упомянутой сопрягаемой поверхностью охватываемого сосуда.
Упомянутая установка блокиратора может быть выполнена посредством хотя бы одного фрагмента резьбового соединения.
Упомянутое резьбовое соединение может быть выполнено конусообразным.
Упомянутый блокиратор может быть выполнен съемным.
Упомянутый блокиратор может включать ухват (ручку).
Охватываемый сосуд может быть выполнен с возможностью его установки в наполненный водой охватывающий без проникновения воды из рабочей емкости охватывающего в рабочую емкость охватываемого.
Охватываемый сосуд может быть выполнен герметичным с точки зрения упомянутого проникновения.
Охватываемый сосуд в нижней части может включать донную пробку, препятствующую связыванию упомянутых емкостей и, следовательно, упомянутому проникновению, при этом указанная донная пробка может быть выполнена корковой или алюминиевой с перфорацией, или полиэтиленовой, или в виде кроненпробки, или в виде другого укупорочного средства, разрешенного органами здравоохранения или иными уполномоченными на то органами для контакта с упомянутым вином.
Охватываемый сосуд в нижней части может включать перегородку (в частном случае – пленочную), препятствующую связыванию упомянутых емкостей и, следовательно, упомянутому проникновению. Иначе можно сказать, что охватываемый сосуд в заявляемой таре может включать остатки обсуждаемой перегородки.
Охватывающий сосуд может быть выполнен с возможностью нарушения герметичности с упомянутой точки зрения охватываемого сосуда при сборке тары и/или при ее откупоривании.
Охватывающий сосуд может включать перфоратор для нарушения целостности и, следовательно, герметичности с упомянутой точки зрения охватываемого сосуда.
Охватывающий сосуд может включать толкатель для смещения упомянутой донной пробки или упомянутой перегородки.
Охватываемый сосуд может включать уступ для препятствования выхода из него упомянутой перегородки.
Упомянутый толкатель может быть выполнен с возможностью образовывать с упомянутой донной пробкой неразъемное соединение (пазл, замок).
Упомянутый толкатель может содержать разъем, сопрягаемый с ответным разъемом на упомянутой донной пробке.
Упомянутый толкатель может включать штифт, пронизывающий упомянутую донную пробку, который развальцован (или расклепан, или термически оплавлен) в рабочей емкости охватываемого сосуда, для образования упомянутого неразъемного соединения.
Охватывающий и/или охватываемый сосуды могут быть выполнен(ы) из материала с показателем преломления для длины волны пятьсот пятьдесят пять нанометров, совпадающим с точностью до десятых долей после стандартного округления с показателем преломления упомянутой воды.
Охватывающий сосуд может быть выполнен из материала с показателем преломления для длины волны пятьсот пятьдесят пять нанометров, большим показателя преломления упомянутой воды.
Охватываемый сосуд может быть выполнен из материала с показателем преломления для длины волны пятьсот пятьдесят пять нанометров, меньшим показателя преломления упомянутой воды.
Охватываемый сосуд может быть выполнен из двухслойной комбинации материала, при этом обращенный к упомянутой воде слой может быть выполнен из материала с показателем преломления для длины волны пятьсот пятьдесят пять нанометров, меньшим показателя преломления упомянутой воды, а обращенный к упомянутому вину слой – из материала с показателем преломления для длины волны пятьсот пятьдесят пять нанометров, большим показателя преломления упомянутого вина.
Между упомянутыми слоями на удалении, превышающем двадцать миллиметров от места крепления или установки одного из упомянутых сосудов в другом сосуде либо от места сопряжения тел, либо от свободных поверхностей упомянутых компонентов при нормальном положении упомянутой тары, может быть расположена воздушная пленка, толщиной не менее одной десятой миллиметра.
На охватываемом теле может быть размещена этикетка, идентифицирующая упомянутое вино.
Упомянутая этикетка может быть размещена как минимум на одном из упомянутых слоев со стороны упомянутой воздушной пленки.
Упомянутая этикетка может быть выполнена посредством привнесения макрошероховатости как минимум на одну из поверхностей охватываемого сосуда: граничащую с упомянутой водой и/или граничащую с упомянутым вином, и/или граничащую с упомянутой воздушной пленкой.
Упомянутая этикетка может быть размещена как минимум на одном ребре (на области между упомянутыми плоскими гранями) охватываемого сосуда.
Охватывающий или охватываемый сосуд может быть выполнен из непрозрачного для видимого света материала или иметь непрозрачное для такого света покрытие.
Один из упомянутых сосудов может быть выполнен из отражающего видимый свет материала или иметь отражающее такой свет покрытие.
На охватывающем сосуде может быть размещена этикетка с инструкцией.
Как минимум на одной из упомянутых этикеток может быть расположено изображение виноградной лозы, акцентирующее внимание пользователя на терпкие вкусовые оттенки упомянутой композиции, либо изображение иного вызывающего такую акцентуацию объекта.
Как минимум на одной из упомянутых этикеток может быть расположено изображение виноградной ягоды, акцентирующее внимание пользователя на сладкие вкусовые оттенки упомянутой композиции, либо изображение иного вызывающего такую акцентуацию объекта.
Как минимум на одной из упомянутых этикеток может быть расположено изображение лимона, акцентирующее внимание пользователя на кислые вкусовые оттенки упомянутой композиции, либо изображение иного вызывающего такую акцентуацию объекта.
Как минимум на одной из упомянутых этикеток может быть расположено изображение полыни, акцентирующее внимание пользователя на горькие вкусовые оттенки упомянутой композиции, либо изображение иного вызывающего такую акцентуацию объекта.
Упомянутая этикетка с инструкцией может быть расположена напротив как минимум одной упомянутой плоской грани.
Охватываемый сосуд может включать выступы (лопасти).
Заявляемые изобретения иллюстрируются следующим образом:
– на фиг.1 изображен один из вариантов трехэлементного набора;
– на фиг.2 изображен один из вариантов трехэлементного набора из десяти групп в общей упаковке с 500 ml вина каждого конкретного вида или из пяти групп с 500 ml вина при условии, что каждый сосуд с вином содержит вино одного вида;
– на фиг.3 изображен один из вариантов двухэлементного вложенного набора из четырех комплектов с 200 ml вина;
– на фиг.4 изображен один из вариантов трехэлементного набора со смещенными элементами;
– на фиг.5 изображен один из вариантов тары, предполагающей одновременный залив компонентов;
– на фиг.6 изображен один из вариантов единого конструктивного узла – общей пробки с фиксатором;
– на фиг.7 изображен один из вариантов резьбового соединения пробки с охватываемым сосудом;
– на фиг.8 изображен один из вариантов тары, предполагающей независимый залив компонентов;
– на фиг.9 изображен один из вариантов поперечного сечения тары;
– на фиг.10 изображен один из вариантов поперечного сечения тары, охватывающий сосуд которой выполнен с тремя плоскими гранями;
– на фиг.11 изображен один из вариантов поперечного сечения тары, охватываемый сосуд которой выполнен с тремя плоскими гранями;
– на фиг.12 изображен один из вариантов тары, предполагающей независимый, возможно последовательный залив компонентов;
– на фиг.13 изображен один из вариантов тары, предполагающей независимый, возможно последовательный залив компонентов;
– на фиг.14 изображен один из вариантов тары с переходником с воздухоподводными отверстиями, предполагающей независимый, возможно последовательный залив компонентов;
– на фиг.15 изображен один из вариантов тары с толкателем и смещенной перегородкой;
– на фиг.16 изображен один из вариантов тары с перфоратором и перегородкой, целостность которой нарушена;
– на фиг.17 изображен один из вариантов тары с пронизывающим донную пробку штифтом-заклепкой;
– на фиг.18 изображен один из вариантов тары с донной пробкой;
– на фиг.19 изображен один из вариантов тары с двухслойным охватываемым телом.
На фигурах приняты следующие обозначения:
1 – сосуд, наполненный водой;
2 – градуировка 8:1;
3 – рабочая емкость под воду;
4 – уровень воды;
5 – вода;
6 – сосуды, наполненные вином;
7 – рабочие емкости под вино;
8 – натуральное сухое белое вино;
9 – натуральное сухое красное вино;
10 – полное покрытие всей поверхности;
11 – общая упаковка набора;
12 – крепежный элемент группы;
13 – общая упаковка группы;
14 – сосуд с водой, включающий полость;
15 – вложенный сосуд с вином;
16 – дополнительная полость;
17 – крепежный элемент набора;
18 – правая сторона сосуда с водой;
19 – выходное отверстие сосуда с водой;
20 – центр тяжести воды;
21 – герметически закрытый торец отверстия;
22 – воздухоподводное отверстие;
23 – общая пробка;
24 – плотное резьбовое соединение;
25 – неразъемное герметичное соединение;
26 – герметичное сопряжение пробки с охватывающим сосуда,
27 – верхняя часть тары;
28 – охватывающий сосуд;
29 – посадочная поверхность;
30 – рабочая емкость под вино;
31 – сопрягаемая поверхность;
32 – герметичное соединение;
33 – нижняя часть;
34 – частичное покрытие поверхности;
35 – охватываемый сосуд;
36 – ухват (ручка);
37 – упругий блокиратор;
38 – герметичное соединение фиксатора с пробкой;
39 – фиксатор;
40 – воздухопроводное отверстие (паз);
41 – упругий элемент фиксатора;
42 – плотное резьбовое соединение охватываемого сосуда с пробкой;
43 – одна из плоских граней охватывающего сосуда;
44 – этикетка, идентифицирующая вино;
45 – этикетка с инструкцией;
46 – наружная поверхность охватывающего сосуда;
47 – одна из плоских граней охватываемого сосуда;
48 – выступ (лопасть);
49 – переходник с воздухопроводными отверстиями;
50 – герметичное разъемное соединение сосудов;
51 – фиксатор переходника;
52 – неразъемное соединение переходника с пробкой;
53 – неразъемное соединение переходника с охватываемым сосудом;
54 – воздухопроводное отверстие переходника;
55 – воздухоподводное отверстие охватываемого сосуда;
56 – неразъемное соединение фиксатора охватываемого сосуда с пробкой;
57 – неразъемное соединение фиксатора охватываемого сосуда с последним;
58 – фиксатор охватываемого сосуда;
59 – неразъемное соединение охватываемого сосуда с пробкой;
60 – переходник с воздухоподводным отверстием;
61 – фиксатор охватываемого сосуда и переходника;
62 – верхнее неразъемное соединение фиксатора охватываемого сосуда и переходника с последним;
63 – неразъемное соединение переходника с воздухоподводным отверстием с пробкой;
64 – воздухопроводное отверстие фиксатора охватываемого сосуда и переходника;
65 – воздухоподводное отверстие переходника;
66 – нижнее неразъемное соединение фиксатора охватываемого сосуда и переходника с последним;
67 – неразъемное соединение переходника с охватываемым сосудом;
68 – смещенная толкателем перегородка, взвешенная в вине;
69 – уступ;
70 – толкатель;
71 – посадочная и сопряженная поверхности сосудов, выполненные в виде фрагмента конуса;
72 – посадочная и сопряженная поверхности сосудов, выполненные в виде цилиндра;
73 – конусообразное резьбовое соединение упругого блокиратора с охватывающим сосудом;
74 – перегородка, целостность которой нарушена;
75 – перфоратор;
76 – штифт-заклепка;
77 – донная пробка;
78 – неразъемное соединение (пазл);
79 – толкатель в виде кольцевого разъема;
80 – слой охватываемого тела, обращенный к воде;
81 – воздушная пленка;
82 – слой охватываемого тела, обращенный к вину;
D – диаметр выходного отверстия сосуда, наполненного водой;
d – диаметр выходного отверстия сосуда, наполненного вином;
е – смещение (эксцентриситет);
2R – наибольшее измерение поперечного сечения рабочей емкости охватывающего сосуда;
2r – наибольшее измерение поперечного сечения рабочей емкости охватываемого сосуда.
В возможном варианте исполнения заявляемый набор может включать одну (фиг.1, 4, 5 и след.), четыре (фиг.3), или десять (фиг.2), или другое число групп, состоящих из двух (фиг.3, 5 и след.), трех (фиг.1, 2, 4) и другого числа сосудов с рабочими емкостями 3, 30 или 7, предназначенными для раздельного хранения на стадии продажи конечному потребителю как минимум двух различных жидких компонентов конечного продукта – композиции таких компонентов, причем один из сосудов группы, а именно сосуд 1, 14 (фиг.1, 2) или 28 (фиг.5 и след.) выполнен наполненным минеральной водой 5 (в материалах заявки под минеральной водой подразумевается также и простая питьевая вода, и искусственно минерализованная вода, и т.д.), тогда как другие, например 6, 15 (фиг.1, 2, 4) или 35 (фиг.5 и след.), – натуральным сухим вином 9 (в материалах заявки под натуральным сухим вином можно подразумевать также и другие вина, которые нельзя строго отнести к категории натуральных сухих вин, такие как, например, Херес, Портвейн и проч., однако авторы полагают, что наилучшим образом заявляемый технический результат обеспечивается при использовании именно натурального сухого вина, вследствие чего в формуле изобретения указан именно этот продукт виноделия в качестве компонента конечной композиции вина с водой), причем сосуд, наполненный водой выполнен с объемом рабочей емкости, удовлетворяющим условию
где VW – объем рабочей емкости сосуда, наполненного водой,
– суммарный объем рабочих емкостей сосудов, наполненных вином i-й марки,
n – число марок вин, представленных группой сосудов, часть которого VW, удовлетворяющая условию
занята водой, и изготовлен из полиэтилена или другого материала, разрешенного органами здравоохранения или иными уполномоченными на то органами для контакта с водой и вином или только с водой, либо включает в местах контакта с ними соответствующие покрытия полные или частичные (не показаны) своих поверхностей, а сосуды, наполненные вином, выполнены с объемом рабочих емкостей, удовлетворяющим условию
и изготовлены из стекла, или дуба, или титана, или другого материала, разрешенного органами здравоохранения или иными уполномоченными на то органами для контакта с вином и водой, либо включают в местах контакта с ними соответствующие покрытия, например, полные 10 (фиг.1) или частичные 34 (фиг.5 и след.) своих поверхностей, при этом сосуды групп выполнены с возможностью доступа в рабочие емкости, например, 7 или 30, наполненные вином, без их связывания с рабочими емкостями, наполненными водой.
Отчасти, также, отчасти, в полной мере заявляемый технический результат достигается при реализации следующих частных отличительных признаков объекта изобретения Набор.
Так, например (фиг.1), сосуд 1 набора, наполненный водой 5, от уровня последней 4 может быть проградуирован 2 в соотношениях объема наполняющей сосуд воды к объему VW– VW примешиваемой к ней жидкости (вина) при дополнении ею сосуда и такая градуировка может включать следующие соотношения 4:1, 6:1, 8:1, 10:1.
Группы набора (фиг.1, 2, 4) могут включать три сосуда 1, 6, при этом эти сосуды могут быть выполнены в виде различных тел (бутылок), одно из которых 1 может быть наполнено водой 5 и являться большим по размеру, а два других 6 – вином, например, 8, 9 и являться меньшими по размеру, причем сосуд, наполненный водой, может быть выполнен с большим как минимум в одну целую и две десятых раза по площади выходным отверстием, например, с диаметром D, по сравнению с площадью выходных отверстий сосудов, наполненных вином, имеющими, например, диаметр d.
Группы набора (фиг.1 при выключенной из рассмотрения правой или левой бутылке маленького размера, фиг.3, 5 и след.) могут включать два сосуда: 1 и один из 6, 14 и 15, 28 и 35, при этом эти сосуды могут быть выполнены в виде различных тел (емкостей, бутылок), одно из которых может быть наполнено водой 5 и являться большим по размеру, а другое – вином, например, 8 или 9 и являться меньшими по размеру, причем сосуд, наполненный водой, может быть выполнен с большим как минимум в одну целую и две десятых раза по площади выходным отверстием (горлышком), по сравнению с площадью выходного отверстия (горлышка) сосуда, наполненного вином.
Сосуды 6 (фиг.1), 15 (фиг.3), 35 (фиг.5 и след.) набора, наполненные вином, могут быть выполнены с объемом рабочей емкости 30 (фиг.5 и след.) (емкостей 7 фиг.1), удовлетворяющим условию
где – суммарный объем рабочих емкостей сосудов, наполненных вином i-й марки.
Сосуд 1 (фиг.1), 14 (фиг.3), 28 (фиг.5 и след.) набора, наполненный водой 5, может быть выполнен с объемом рабочей емкости 3, удовлетворяющим условию
где VW – объем рабочей емкости сосуда, наполненного водой,
– суммарный объем рабочих емкостей сосудов, наполненных вином i-й марки.
Тела (сосуды) 1 и 6, 14 и 15, 28 и 35 (фиг.2, 3, 5 и след.) могут быть объединены посредством общего крепежного элемента (группы) 12 или общей упаковки (группы) 13 (на фиг.5 и след. крепежные элементы группы и общая упаковка группы не показаны).
Тело (сосуд) 14 (фиг.3), наполненное водой, дополнительно к рабочей емкости (не показана) может иметь полость 16, в которой размещено тело 15, наполненное вином. Таких полостей может быть много, например, на каждое тело, наполненное вином.
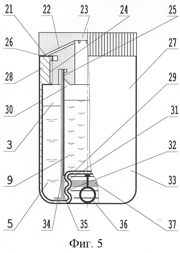
Центр (фиг.4) выходного отверстия 19 тела (сосуда), наполненного водой, на виде сверху (на проекции на горизонтальную плоскость) может быть смещен (расположен эксцентрично с эксцентриситетом е) более чем на пять миллиметров относительно центра тяжести воды 20, в частном случае совпадающим с центром тяжести поперечного сечения рабочей емкости, наполненной водой,
Тела 6 (фиг.4), наполненные вином (в случае с группой, включающей три и более сосуда), посредством крепежного элемента 12 или общей упаковки (не показана) могут быть сгруппированы с одной стороны 18 от тела, наполненного водой (на фиг.4 расположено слева).
Сосуды 15 (фиг.3) групп набора, наполненные вином, могут быть выполнены с объемом рабочих емкостей (не показаны), удовлетворяющим условию
где для j-й группы,
k – число групп в наборе.
Сосуды 6 (фиг.2) групп набора, на наполненные вином, могут быть выполнены с объемом рабочих емкостей (не показаны), удовлетворяющим условию
где для j-й группы,
k – число групп в наборе.
Группы набора, составленные из сосудов 1 и 6 (фиг.2) или 14 и 15 (фиг.3), могут быть объединены посредством общего крепежного элемента (набора) 17 или общей упаковки (набора) 11.
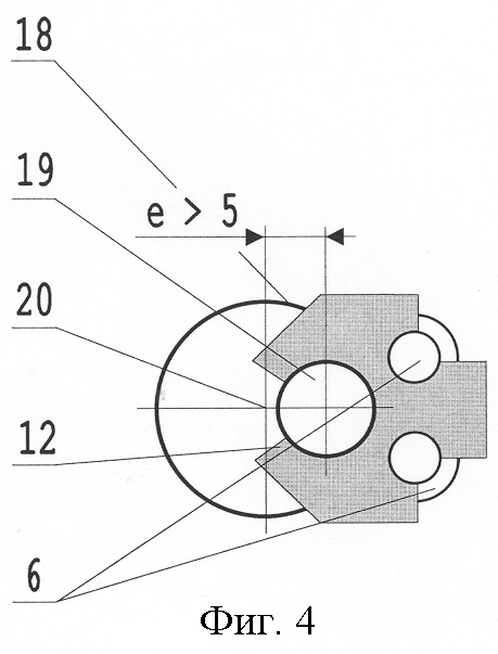
Другой объект изобретения – Потребительская тара, предназначенный для раздельного хранения на стадии продажи конечному потребителю как минимум двух различных компонентов конечного продукта – композиции таких компонентов (упомянутых вина и воды) и включающий, например, два сосуда 28, 35 (фиг.5 и след.) с рабочими емкостями 3 и 30, наполненными такими компонентами, один из которых (сосудов) 28 является охватывающим и включает рабочую емкость 30 другого, охватываемого сосуда 35, – изготовлен следующим образом.
Охватывающий 28 (фиг.5) и охватываемый 35 сосуды выполнены наполненными соответственно минеральной (в упомянутом выше смысле) водой 5 и натуральным сухим (в упомянутом выше смысле) вином, например, 9 так, что выполняются следующие условия:
где – суммарный объем рабочих емкостей сосудов, наполненных вином i-й марки, например, емкости 30
n – число марок вин, представленных в таре (в случае, изображенном на фиг.5, n=1),
где – площадь поверхности в м2 l-го охватываемого сосуда, контактирующего и с вином, и с водой, контактирующей с водой,
– площадь поверхности в м2 такого сосуда, контактирующей с вином,
m – число охватываемых сосудов, контактирующих и с вином, и с водой (в случае, изображенном на фиг.5, речь идет об одном сосуде – 35 и, следовательно, о его поверхностях)
где VW – объем рабочей емкости 3 охватывающего сосуда 28 (сосуда, наполненного водой), причем тело, представляющее охватываемый сосуд 35, изготовлено из стекла или дуба, или титана, или другого материала, разрешенного органами здравоохранения или иными уполномоченными на то органами, для контакта с вином и водой, либо включает в местах контакта с ними соответствующие покрытия, например, 34 своих поверхностей, а тело, представляющее охватывающий сосуд 28, изготовлено из полиэтилена или другого материала, разрешенного органами здравоохранения или иными уполномоченными на то органами, для контакта с водой или и с водой, и с вином, либо включает в местах контакта с ней (с ними) соответствующие покрытия (не показано) своих поверхностей, при этом сосуды (и тара в целом) выполнены с возможностью доступа в рабочие емкости 30, содержащие вино, без их связывания с рабочими емкостями 3, содержащими воду.
Отчасти, также, отчасти, в полной мере заявляемый технический результат достигается при реализации в объекте изобретения Потребительская тара следующих частных отличительных признаков.
Сосуды 35 (фиг.5 и след.), наполненные вином, например, 9 могут быть выполнены с объемом рабочих емкостей 30, удовлетворяющим условию
где – суммарный объем рабочих емкостей сосудов, наполненных вином i-й марки,
n – число марок вин, представленных в таре (в случае, изображенном на фиг.5, n=1 и речь идет об объеме только одной рабочей емкости 30 сосуда 35).
В другом варианте исполнения сосуды 35 (фиг.5 и след.), наполненные вином, например, 9 могут быть выполнены с объемом рабочих емкостей, удовлетворяющим условию
где – суммарный объем рабочих емкостей сосудов, наполненных вином i-й марки,
n – число марок вин, представленных в таре (в случае, изображенном на фиг.5, n=1 и речь идет об объеме только одной рабочей емкости 30 сосуда 35).
Еще в одном варианте исполнения сосуды 35 (фиг.5 и след.), наполненные вином, могут быть выполнены с объемом рабочей емкости, удовлетворяющим условию
где – суммарный объем рабочих емкостей сосудов, наполненных вином i-й марки (в случае, изображенном на фиг.5, речь идет об объеме только одной рабочей емкости 30 сосуда 35).
Охватывающий сосуд 28 (фиг.5), наполненный водой, может быть выполнен с объемом рабочей емкости 3, удовлетворяющим условию
где VW – объем рабочей емкости сосуда, наполненного водой,
– суммарный объем рабочих емкостей сосудов, наполненных вином i-ой марки (в случае, изображенном на фиг.5, речь идет об объеме только одной рабочей емкости 30 сосуда 35).
Охватывающий сосуд 28 (фиг.5) в нижней части 33 может включать посадочную поверхность 29 для охватываемого сосуда 35, соответствующая сопряженная (иначе – сопрягаемая) поверхность 31 которого обеспечивает с указанной посадочной плотное разъемное соединение 32 (в частном случае герметичное).
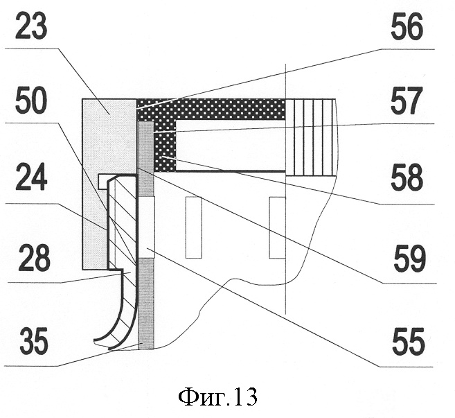
Сосуды 28 и 35 (фиг.5) в верхней части (тары) 27 могут быть укупорены (закрыты) общей пробкой 23, выполненной в виде единого конструктивного элемента (или узла, включающего, например, элементы: 39 и 41 – фиг.6; 49 и 51 – фиг.12; 58 – фиг.13; 60 и 61 – фиг.14), при этом такая пробка может быть выполнена корковой или алюминиевой с перфорацией, или полиэтиленовой, или она может быть выполнена в виде кроненпробки, или в виде другого укупорочного средства или из другого материала, разрешенных органами здравоохранения или иными уполномоченными на то органами для контакта с вином и водой, либо в местах контакта с вином и водой она может иметь соответствующее покрытие своих поверхностей (не показано).
Пробка 23 (фиг.5) может сопрягаться с охватывающим сосудом 28 посредством плотного (в частном случае герметичного или беззазорного) резьбового соединения 24.
Длина плотного разъемного (в частном случае герметичного) соединения 32 (фиг.5) может быть меньше длины плотного резьбового соединения 24.
Резьбовое соединение 24 (фиг.5) может быть выполнено с отношением длины к шагу резьбы, не меньшим десяти.
Пробка 23 (фиг.5) может сопрягаться с охватываемым сосудом 35 посредством неразъемного (в частном случае фрикционного) герметичного соединения 25.
Пробка 23 (фиг.5) может включать, например, восемь воздухоподводных отверстий 22, один из торцов которых (на фиг.5 это правый торец) связан с рабочей емкостью 30 охватываемого сосуда 35, а другой (торец) 21 герметично закрыт герметичным сопряжением 26 пробки с охватывающим сосудом 28.
Пробка 23 (фиг.6, 7) может включать фиксатор 39, обеспечивающий гарантированное неразъемное герметичное соединение 25 (фиг.6) (если такое соединение не обеспечивается геометрией сопрягаемых поверхностей пробки и охватываемого сосуда) или плотное резьбовое (в частном случае неразъемное) – 42 (фиг.7) пробки с охватываемым сосудом 35 посредством упругого элемента фиксатора 41, распирающего либо пробку (фиг.6), либо охватываемый сосуд (фиг.7).
Пробка 23 (фиг.6, 7) и фиксатор 39 могут быть сопряжены посредством герметичного соединения 38 как правило неразъемного.
Фиксатор 39 (фиг.6, 7) может включать, например, восемь воздухопроводных отверстий 40 (на фиг.6, 7 показаны пазы), связывающих воздухоподводные отверстия 22 с рабочей емкостью (не обозначена) охватываемого сосуда 35.
Пробка 23 (фиг.8) может соединяться с охватываемым сосудом 35 посредством плотного резьбового соединения 42 и без фиксатора. Глядя на фиг.8 легко представить, что в рабочей емкости 3 охватывающего сосуда 28 размещено два и более охватываемых сосудов, как бы подвешенными на пробке.
Пробка 23 (фиг.7) может включать фиксатор 39, обеспечивающий в частном случае блокировку резьбового соединения 42, посредством упругого элемента фиксатора 41, распирающего охватываемый сосуд 35. Такая блокировка не позволит без особых усилий (существенно превышающих усилия по разъятию соединения пробки с охватывающим сосудом) разъять пробку и охватываемый сосуд. При этом сила воздействия фиксатора на соответствующее соединение определяется его упругостью и геометрией.
Отношение наибольшего измерения 2R (фиг.9) поперечного сечения рабочей емкости с водой 5 охватывающего сосуда 28 к наибольшему измерению 2r поперечного сечения рабочей емкости с вином, например, 9 охватываемого сосуда 35 должно быть не меньше корня квадратного из двух.
Охватываемый сосуд 35 (например, фиг.5, 8, 9 и проч.) может быть выполнен преимущественно цилиндрическим.
В случае если отношение наибольшего измерения поперечного сечения рабочей емкости с водой 5 (фиг.10) охватывающего сосуда 28 к наибольшему измерению поперечного сечения рабочей емкости с вином, например, 9 охватываемого сосуда 35 меньше двух, охватывающий сосуд может быть выполнен как минимум с одной плоской гранью 43 на своей боковой (в частном случае вертикальной) поверхности.
Площадь такой плоской грани может составлять не менее пяти процентов от всей площади охватывающего сосуда.
Охватывающий сосуд может быть выполнен с тремя плоскими гранями, как и показано на фиг.10.
В случае если отношение наибольшего измерения поперечного сечения рабочей емкости с водой 5 (фиг.9, 11) охватывающего сосуда 28 к наибольшему измерению поперечного сечения рабочей емкости с вином, например, 9 охватываемого сосуда 35 больше двух, охватывающий сосуд может быть выполнен преимущественно цилиндрическим.
В случае если отношение наибольшего измерения поперечного сечения рабочей емкости с водой 5 (фиг.11) охватывающего сосуда 28 к наибольшему измерению поперечного сечения рабочей емкости с вином, например, 9 охватываемого сосуда 35 больше трех, то охватываемый сосуд может быть выполнен как минимум с одной плоской гранью 47 на своей боковой поверхности.
Площадь грани может составлять не менее пяти процентов от площади охватываемого сосуда.
Охватываемый сосуд может быть выполнен с тремя плоскими гранями, как и показано на фиг.11.
Плоские грани охватывающего и охватываемого сосуда могут быть расположены вертикально (фиг.10, 11).
Плоские грани охватывающего и охватываемого сосуда могут иметь одинаковую в пределах погрешности изготовления площадь.
Охватываемый сосуд 35 (фиг.9, 10, 11) с точки зрения расположения центров тяжести поперечных сечений сосудов 28 и 35 на поперечном сечении тары может быть расположен по центру охватывающего 28 с допуском, определяемым погрешностями изготовления и расположения сосудов.
Сосуды 28, 35 (фиг.9) могут быть расположены соосно с допуском, определяемым погрешностями изготовления и расположения тел.
Охватывающий сосуд 28 (фиг.12) в верхней части может включать посадочную поверхность для охватываемого сосуда 35, соответствующая сопряженная поверхность которого обеспечивает с указанной посадочной герметичное разъемное соединение 50. Без обозначения такое соединение показано также на фиг.13 и 15.
Один из фрагментов посадочной поверхности верхней части охватывающего сосуда и соответствующей сопряженной охватываемого может быть выполнен в виде фрагмента цилиндра или в виде цилиндра, как и показано на фиг.12.
Охватываемый сосуд 35 (фиг.12, 13) в области сопряженной поверхности, обеспечивающей соединение 50, может иметь, например, восемь воздухоподводных отверстий 55, герметично закрытых посадочной поверхностью, обеспечивающей соединение 50, с точки зрения проникновения в них наружного воздуха, а также воды.
Отверстия 55 (фиг.13) могут быть выполнены вытянутыми в вертикальном направлении.
Пробка 23 (фиг.13) может включать фиксатор 58 охватываемого сосуда 35, сопрягаемый с ней посредством неразъемного соединения 57.
Охватываемый сосуд в верхней части может включать посадочную поверхность для пробки, соответствующая сопряженная поверхность которой обеспечивает с указанной посадочной плотное соединение (фиг. с таким соединением отсутствует).
Охватываемый сосуд 35 (фиг.13) в верхней части может включать посадочную поверхность для фиксатора 58 охватываемого сосуда, соответствующая сопряженная поверхность которого обеспечивает с указанной посадочной неразъемное соединение 57, при этом фиксатор, распирая охватываемый сосуд, обеспечивает его неразъемное соединение с пробкой 59.
Пробка 23 (фиг.13) может включать посадочную поверхность для фиксатора 58, соответствующая сопряженная поверхность которого обеспечивает неразъемное соединение 56 фиксатора с пробкой и либо это соединение, либо неразъемное соединение 57 фиксатора с охватываемым сосудом может быть выполнено герметичным с точки зрения протекания упомянутого вина вовне тары.
Тара может включать переходник 60 (фиг.14) с как минимум одним воздухоподводным отверстием 65, выполненный как конструктивный элемент пробки 23 и соединяющий охватываемый сосуд 35 с пробкой и охватывающим сосудом 28.
Переходник 60 (фиг.14) с воздухоподводным отверстием 65 в своей нижней части может включать посадочную поверхность для охватываемого сосуда 35, соответствующая сопряженная поверхность которого обеспечивает с указанной посадочной плотное, например, фрикционное герметичное соединение (в частном случае неразъемное) 67.
Переходник 60 (фиг.14) с воздухоподводным отверстием 65 в своей средней части может включать посадочную поверхность для охватывающего сосуда 28, соответствующая сопряженная поверхность которого обеспечивает с указанной посадочной герметичное соединение (не обозначено).
Переходник 60 (фиг.14) в средней части может включать, например, восемь соединенных с рабочей емкостью 30 охватываемого сосуда 35 воздухоподводных отверстия 65, закрытых от внешней среды сопряженной к переходнику поверхностью охватывающего сосуда (на фиг.14 не обозначена, аналогичное решение для воздухоподводных отверстий охватываемого тела представлено на фиг.13).
Переходник с воздухоподводным отверстием в своей верхней части может включать посадочную поверхность для пробки, соответствующая сопряженная поверхность которой обеспечивает с указанной посадочной плотное соединение (фигура с таким соединением отсутствует).
Такое плотное соединение может быть выполнено неразъемным и герметичным с точки зрения протекания вина вовне тары.
Пробка 23 (фиг.14) как узел может включать фиксатор 61 охватываемого сосуда и переходника, и такой фиксатор может включать как минимум одно воздухопроводное отверстие 64 (на фиг.14 такие отверстия показаны в виде пазов), а переходник с воздухоподводным отверстием 60 в верхней и/или нижней части может включать посадочную поверхность для указанного фиксатора, соответствующая сопряженная поверхность которого обеспечивает с указанной посадочной неразъемное соединение – соединения 62 и 66, при этом указанный фиксатор обеспечивает жесткое неразъемное соединение переходника с пробкой -соединение 63 и/или с охватываемым сосудом – соединение 67.
Неразъемное соединение 62 (фиг.14) фиксатора 61 охватываемого сосуда и переходника с последним 60 в верхней части может быть выполнено герметичным с точки зрения протекания упомянутого вина вовне тары.
Тара может включать выполненный как конструктивный элемент пробки 23 (фиг.12) переходник 49 с как минимум одним воздухопроводным отверстием 54 (на фиг.12 показан переходник с восьмью отверстиями), присоединенный посредством неразъемного соединения 53 к охватываемому сосуду 35 и соединяющий его с пробкой.
Переходник с воздухопроводным отверстием 49 может включать посадочную поверхность для фиксатора переходника 51, соответствующая сопряженная поверхность которого обеспечивает с указанной посадочной неразъемное соединение (не обозначено), при этом фиксатор переходника обеспечивает жесткое неразъемное соединение 52 переходника с пробкой.
Неразъемное соединение 52 (фиг.12) может быть выполнено герметичным с точки зрения протекания вина вовне тары.
Здесь следует вновь указать, что плотное разъемное соединение посадочной поверхности 29 (фиг.5) охватывающего тела 28 в его нижней части с соответствующей сопряженной (сопрягаемой) поверхностью 31 охватываемого тела 35 может быть выполнено герметичным соединением 32.
Один из фрагментов 72 (фиг.15) посадочной и сопряженной поверхностей нижней части охватывающего 28 и охватываемого 35 сосудов может быть выполнен в виде фрагмента цилиндра или в виде цилиндра, тогда как другой из фрагментов 71 таких поверхностей может быть выполнен в виде фрагмента конуса с углом при вершине не более пятнадцати градусов или конусным с таким же углом при вершине.
Охватывающий сосуд 28 (фиг.5, 15) в нижней части 33 (фиг.5) в месте посадочной поверхности 29 (фиг.5) либо в месте посадочных поверхностей 71, 72 (фиг.15) может включать полость (не обозначена), в которую установлен упругий блокиратор 37, входящий с охватывающим сосудом в упругое соединение, обеспечивающее гарантированное плотное герметичное разъемное соединение, например, 32 (фиг.5) охватываемого и охватывающего сосудов.
Охватывающий сосуд 28 (фиг.5, 15) в нижней части 33 (фиг.5) в месте посадочной поверхности 29 (фиг.5) либо в месте посадочных поверхностей 71, 72 (фиг.15) может включать полость (не обозначена), в которую установлен упругий блокиратор 37, входящий с охватывающим сосудом в упругое соединение, обеспечивающее неразъемное соединение (не обозначено, хотя таким соединением могло быть соединение 32 (фиг.5) или соединение фрагментов посадочной и сопрягаемой поверхностей 71, 72 (фиг.15) посадочной поверхности охватывающего сосуда с сопрягаемой поверхностью охватываемого сосуда.
Установка блокиратора 37 (фиг.15) может быть выполнена посредством хотя бы одного фрагмента резьбового соединения 73, и такое соединение может быть выполнено конусообразным.
Блокиратор 37 (фиг.5, 15) может быть выполнен съемным и может включать ухват 36 (ручку).
Охватываемый сосуд 35 (фиг.8, 15, 16, 17, 18) может быть выполнен с возможностью его установки в наполненный водой 5 (фиг.8, 17) охватывающий 28 без проникновения воды из рабочей емкости 3 (фиг.8) охватывающего в рабочую емкость 30 (фиг.8) охватываемого.
При этом охватываемый сосуд может быть выполнен герметичным с точки зрения упомянутого проникновения воды (см., например, фиг.8).
Охватываемый сосуд 35 (фиг.17, 18) в нижней части (не обозначена) может включать донную пробку 77, препятствующую связыванию рабочих емкостей сосудов и, следовательно, упомянутому проникновению, при этом указанная донная пробка может быть выполнена корковой или алюминиевой с перфорацией, или полиэтиленовой, или в виде кроненпробки, или в виде другого укупорочного средства, разрешенного органами здравоохранения или иными уполномоченными на то органами для контакта с вином. Пробка также в соответствующих местах может включать защитное покрытие.
Охватываемый сосуд 35 до сборки тары (фиг.15, 16) в нижней части может включать перегородку, в частном случае – пленочную, препятствующую связыванию рабочих емкостей и, следовательно, упомянутому проникновению. На фигурах показана перегородка после сборки тары, представляющая собой смещенную толкателем (см. ниже) перегородку 68 взвешенную в вине (фиг.15) и перегородку 74, целостность которой нарушена (фиг.16). Иначе можно сказать, что охватываемый сосуд в заявляемой таре может включать остатки обсуждаемой перегородки.
Охватывающий сосуд 28 (фиг.15, 16, 17, 18) может быть выполнен с возможностью нарушения герметичности охватываемого сосуда 35 с точки зрения упомянутого проникновения при сборке тары (фиг.15, 16 – имеет место кратковременная разгерметизация) и/или при ее откупоривании (фиг.15, 16, 11, 18).
Охватывающий сосуд 28 (фиг.16) может включать перфоратор 75 для нарушения целостности и, следовательно, герметичности охватываемого сосуда 35 с точки зрения упомянутого проникновения посредством нарушения целостности перегородки (на фиг.16 показана перегородка 74, целостность которой нарушена).
Охватывающий сосуд 28 (фиг.15) может включать толкатель 70 для смещения донной пробки (не показана) или перегородки (показана смещенная толкателем перегородка 68, взвешенная в вине).
Охватываемый сосуд 35 (фиг.15) может включать уступ 69 для препятствования выхода из него при выливании вина после откупоривания тары перегородки 68, смещенной толкателем.
Толкатель (поверхность охватывающего сосуда 28, контактирующая с донной пробкой 77 на фиг.17, 18), например, поз.79 (фиг.18) может быть выполнен с возможностью образовывать с донной пробкой неразъемное соединение 78 (пазл, замок). При этом толкатель может содержать разъем 79, сопрягаемый с ответным разъемом (не обозначен) на донной пробке.
Толкатель (см. выше) может включать штифт 76 (фиг.17), пронизывающий донную пробку 77, который развальцован (или расклепан, или термически оплавлен) в рабочей емкости охватываемого сосуда, предназначенной для заполнения вином 9, для образования неразъемного соединения донной пробки с толкателем – поверхностью охватывающего сосуда 28, контактирующей с донной пробкой.
Охватывающий 28 и/или охватываемый 35 сосуды (см., например, фиг.11) могут быть выполнен(ы) из материала с показателем преломления для длины волны пятьсот пятьдесят пять нанометров, совпадающим с точностью до десятых долей после стандартного округления с показателем преломления воды 5.
Охватывающий сосуд 28 (см., например, фиг.11) может быть выполнен из материала с показателем преломления для длины волны пятьсот пятьдесят пять нанометров, большим показателя преломления воды 5.
Охватываемый сосуд 35 (см., например, фиг.11) может быть выполнен из материала с показателем преломления для длины волны пятьсот пятьдесят пять нанометров, меньшим показателя преломления воды 5.
Охватываемый сосуд 35 (фиг.19) может быть выполнен из двухслойной комбинации материала, при этом обращенный к воде слой 80 может быть выполнен из материала с показателем преломления для длины волны пятьсот пятьдесят пять нанометров, меньшим показателя преломления воды 5, а обращенный к вину слой 82 – из материала с показателем преломления для длины волны пятьсот пятьдесят пять нанометров, большим показателя преломления вина 9.
Между слоями 80 и 82 (фиг.19) на удалении, превышающем двадцать миллиметров от места крепления или установки одного сосуда в другом (например, от поверхности охватывающего сосуда, граничащей с вином 9) либо от места сопряжения тел (такие места не обозначены, вообще их может быть два – в верхней и нижней частях – см. фиг.5, 15, 18, а может только одно – в верхней части – фиг.8), либо от свободных поверхностей (не обозначены) компонентов при нормальном положении тары может быть расположена воздушная пленка 81 толщиной не менее одной десятой миллиметра.
На охватываемом теле 35 (фиг.11, 19) может быть размещена этикетка 44, идентифицирующая вино. Такая этикетка может быть размещена, например, только на одном из слоев 82 со стороны воздушной пленки 81. При этом она может быть выполнена посредством привнесения макрошероховатости, например, только на одну из поверхностей охватываемого сосуда, граничащую с водой 5, и/или граничащую с вином 9, и/или граничащую с воздушной пленкой 81.
Этикетка 44 (фиг.11) может быть размещена, например, на каждом ребре (на областях между плоскими гранями 47) охватываемого сосуда 35.
Охватывающий или охватываемый сосуд может быть выполнен из непрозрачного для видимого света материала или иметь непрозрачное для такого света покрытие.
Один из сосудов может быть выполнен из отражающего видимый свет материала или иметь отражающее такой свет покрытие.
На охватывающем сосуде 28 (фиг.11, 19) может быть размещена этикетка 45 с инструкцией, например, на наружной поверхности 46 (фиг.11) охватывающего тела.
На одной из этикеток 44, 45 (фиг.11, 19), предпочтительно на внешней, может быть расположено изображение виноградной лозы, акцентирующее внимание пользователя на терпкие вкусовые оттенки композиции вода + вино, либо изображение иного вызывающего такую акцентуацию объекта.
На одной из этикеток 44, 45 (фиг.11, 19), предпочтительно на внешней, может быть расположено изображение виноградной ягоды, акцентирующее внимание пользователя на сладкие вкусовые оттенки композиции вода + вино, либо изображение иного вызывающего такую акцентуацию объекта.
На одной из этикеток 44, 45 (фиг.11, 19), предпочтительно на внешней, может быть расположено изображение лимона, акцентирующее внимание пользователя на кислые вкусовые оттенки композиции вода + вино, либо изображение иного вызывающего такую акцентуацию объекта.
На одной из этикеток 44, 45 (фиг.11, 19), предпочтительно на внешней, может быть расположено изображение полыни, акцентирующее внимание пользователя на горькие вкусовые оттенки композиции вода + вино, либо изображение иного вызывающего такую акцентуацию объекта.
Этикетка с инструкцией 45 (фиг.11) может быть расположена, например, напротив каждой плоской грани 47 охватываемого сосуда 35.
Охватываемый сосуд 35 (фиг.11) может включать выступы 48 (лопасти).
Следует отметить, что под неразъемными соединениями с охватываемым сосудом в материалах заявки понимаются не исключительно такие соединения, при попытке разъятия которых произойдет разрушение соединяемых объектов, но и соединения, для разъятия которых потребуется приложить усилие, более чем, например, в два раза превышающее усилие, затрачиваемое на разъятие упоминаемых в материалах заявки разъемных соединений с охватываемым сосудом, которое будет иметь место при вскрытии тары и смешении компонентов. Иными словами, в материалах заявки подразумевается, что неразъемное соединение не может быть разъято при откупоривании тары – для его разъятия потребуются дополнительные манипуляции и только после откупоривания тары. Обратное – неверно. Так, например, плотное резьбовое соединение 42 (фиг.8) подлежит разъятию после откупоривания тары – отсоединения пробки 23 охватывающего сосуда (тела) 28.
Также следует отметить, что под телом (телами) в материалах заявки понимается сосуд (сосуды) и, наоборот, важным является то, что при прочтении материалов заявки тело следует воспринимать как физически самостоятельный объект, например, состоящий из двух сосудов, тогда как в материалах заявки предполагается, что сосуд не может состоять из двух тел.
Заявляемый набор составляют следующим образом. Сначала составляют группы. Для этого берут два или более сосуда и наполняют их компонентами композиции, предназначенной для потребления. Причем как минимум один из сосудов наполняют водой, совместимой с вином (например, умягченной водой) тогда как другие – вином. При этом водой наполняют сосуд, имеющий объем рабочей емкости, удовлетворяющий условию (1).
Вином наполняют сосуды с объемом рабочей емкости, удовлетворяющим условию (4), водой – с объемом рабочей емкости, удовлетворяющим условию (5).
Важно, что водой заполняют лишь часть сосуда, объем которой удовлетворяет условию (2). Для заполнения водой используют сосуд, изготовленный, например, из полиэтилена. Сосуды, наполняемые вином, имеют объем, удовлетворяющий условию (3). Они изготавливаются, например, из стекла.
При необходимости взятия пробы вина ее берут либо из одного сосуда с вином, либо сливают вино из различных сосудов с вином набора для получения требуемого протоколом испытания объема. При этом сливают вино только одного вида (одной марки).
Сосуд, наполненный водой, от уровня последней имеет градуировку в соотношениях объема наполняющей сосуд воды к объему примешиваемого к ней вина при дополнении им сосуда. Такая градуировка может включать следующие соотношения 4:1, 6:1, 8:1, 10:1. Ее используют при добавлении в такой сосуд, наполненный водой, вина до предпочтительного соотношения вода/вино. Вино переливают из сосуда с меньшим по площади выходным отверстием в сосуд с выходным отверстием, большим по площади.
Составляют группы из двух или трех сосудов и при необходимости объединяют их посредством общего крепежного элемента или общей упаковки.
В одном из вариантов изобретения сосуд с вином помещают в полость тела, представляющего сосуд с водой.
Тела, наполненные вином, в случае с группой, включающей три сосуда, посредством крепежного элемента или общей упаковки группируют с одной стороны от тела, наполненного водой, в направлении смещения центра выходного отверстия тела, наполненного водой, относительно центра тяжести воды. При таком расположении сосудов достигается оптимальная устойчивость группы, когда опорой является лишь поверхность тела, представляющего сосуд с водой.
В различных вариантах изобретений сосуды групп набора, наполненные вином, выполняют с объемом рабочих емкостей, удовлетворяющим условиям (6) или (7).
Группы в набор объединяют посредством общего крепежного элемента или общей упаковки.
При использовании набора, выполненного в соответствии с фиг.1, откупоривают сосуды с водой и вином и доливают вино в воду, используя градуировку сосуда с водой для получения желаемой концентрации вина в воде. При этом можно использовать либо только один сосуд с вином, либо оба сразу. Затем сосуд снова закрывают пробкой, и, после взбалтывания, композиция готова к употреблению.
Если набор выполнен из нескольких групп (фиг.2), сначала разрывают общую упаковку набора, затем извлекают из нее группу, после чего удаляют крепежный элемент группы и далее поступают, как описано выше.
Если набор выполнен вложенным двухэлементным, как на фиг.3, после удаления крепежного элемента набора разрывают общую упаковку группы, вынимают сосуд с вином из дополнительной полости в сосуде с водой и далее производят смешивание, как описано выше.
Если набор выполнен трехэлементным со смещенными элементами, после удаления крепежного элемента группы, смешивание производят, как описано выше.
Опустошенные сосуды утилизируют.
В заявляемой потребительской таре охватывающий сосуд наполняют водой, совместимой с вином (например, умягченной), а охватываемые – вином. При этом сосуды наполняют водой и вином, соблюдая условия (8), (9) и (10).
Сосуды изготавливают из материала, разрешенного органами здравоохранения или иными уполномоченными на то органами для контакта с вином и водой, либо выполняют в местах контакта с ними соответствующие покрытия.
При необходимости взятия пробы посредством, например, шприца с заборной иглой проникают в рабочие емкости сосудов, наполненных вином, избегая их связывания с емкостями, наполненными водой.
Вином наполняют сосуды с объемом рабочих емкостей, удовлетворяющим условию (11) или (12), или (13), а водой – с объемом рабочей емкости, удовлетворяющим условию (14).
В одном из вариантов изобретения охватываемый сосуд сажают на посадочное место в охватывающий так, что каждый из сосудов остается доступным для заполнения (фиг.5).
В другом варианте изобретения охватываемый сосуд сажают на посадочное место в охватывающий, уже наполненный водой. Вином охватываемый сосуд наполняют до или после указанной посадки (фиг.15, 18).
Сосуды в верхней части укупоривают общей пробкой.
Используют корковую или алюминиевую с перфорацией, или полиэтиленовую пробку, или пробку, выполненную в виде кроненпробки, или в виде другого укупорочного средства, или из другого материала, разрешенных органами здравоохранения или иными уполномоченными на то органами для контакта с вином и водой, либо в местах контакта с вином и водой выполняют соответствующее покрытие.
Пробку сопрягают с охватывающим сосудом посредством плотного резьбового соединения, длина которого может быть больше длины плотного разъемного соединения охватывающего и охватываемого сосудов в нижней части тары, а отношение длины к шагу резьбы – не меньше десяти.
С охватываемым сосудом пробку сопрягают посредством неразъемного герметичного соединения.
Пробку насаживают на охватывающей сосуд до тех пор, пока не образуется ее герметичное сопряжение с ним, закрывающее от внешней среды воздухоподводные отверстия пробки связанные с рабочей емкостью охватываемого сосуда.
Для распределения функций между различными конструктивными элементами с целью оптимизации используемых материалов пробку дополняют фиксатором, обеспечивающим ее неразъемное герметичное соединение с охватываемым сосудом посредством упругого элемента, распирающего либо пробку, либо охватываемый сосуд.
При этом пробка и фиксатор могут сопрягаться посредством герметичного соединения, а фиксатор может включать воздухопроводные отверстия, связывающее воздухоподводные отверстие с рабочей емкостью охватываемого сосуда.
В другом варианте исполнения пробку соединяют с охватываемым сосудом посредством плотного резьбового соединения. Такая пробка может включать фиксатор для блокировки этого резьбового соединения посредством упругого элемента, распирающего охватываемый сосуд.
В этом случае охватывающий и охватываемый сосуды наполняют соответственно водой и вином независимо – либо последовательно, либо параллельно.
При сборке тары сосуды стараются расположить соосно во избежание заклинивания при ее откупоривании.
Процедура сборки пробки, охватывающего и охватываемого сосудов может быть изменена.
Так сначала может быть осуществлено сопряжение охватывающего сосуда с охватываемым посредством герметичного разъемного соединения. Затем охватываемый сосуд может быть укупорен пробкой, фиксатором которой в завершении сборки тары укупоривают охватываемый сосуд.
Наличие дополнительного элемента пробки-фиксатора позволяет без труда сопрягать пробку одновременно с охватываемым и охватывающим сосудом, оставляя на потом неразъемную блокировку охватываемого сосуда с пробкой, посредством распирания охватываемого сосуда упругим элементом фиксатора.
В другом исполнении применяют пробку с переходником, позволяющим использовать простые по конфигурации охватываемые сосуды, упростить процесс сборки тары, исключая из него трудоемкие операции, а также операции, снижающие процент выхода годной продукции.
И в этом случае эффективно для обеспечения гарантированных неразъемных соединений использование фиксатора.
Для блокировки сопряжения охватывающего сосуда с охватываемым в нижней части тары используют упругий блокиратор, входящий с охватывающим сосудом в упругое соединение.
Установку этого блокиратора выполняют, например, посредством вкручивания, а демонтаж – посредством выкручивания, используя ухват (ручку).
Если охватываемый сосуд выполнен герметичным, для чего, например, в его нижней части устанавливают донную пробку, а процесс смешения компонентов предполагается осуществить одновременно с процессом откупоривания тары, то при сборке тары и/или при ее откупоривании нарушают герметичности охватываемого сосуда, используя перфоратор или толкатель охватывающего сосуда.
Так, например, при сборке тары образовывают неразъемное соединения толкателя охватывающего сосуда с донной пробкой охватываемого. При откупоривании тары донная пробка останется связанной с охватывающим сосудом, а вынутый из него охватываемый окажется открытым.
До сборки тары на охватываемом сосуде размещают этикетку, идентифицирующую вино.
До или после сборки тары на охватывающем сосуде размещают этикетку с инструкцией.
Как минимум на одной из этикеток располагают изображение виноградной лозы, либо виноградной ягоды, либо лимона, либо полыни в зависимости от предпочитаемых вкусовых оттенков композиции – терпких, сладких, кислых или горьких соответственно.
Этикетку с инструкцией располагают напротив как минимум одной плоской грани.
В охватываемом сосуде размещают выступы (лопасти).
При использовании тары, выполненной в соответствии с фиг.5, конечный потребитель сдвигает или удаляет упругий блокиратор при помощи ухвата (ручки). Затем он свинчивает пробку с охватываемого сосуда, при этом начинают открываться воздухоподводные отверстия на пробке, и воздух попадает в сосуд с вином. Одновременно нарушается герметичность соединения охватываемого и охватывающего сосудов. Под действием атмосферного давления вино из охватываемого сосуда, вынимаемого из тары вместе с пробкой, через отверстие в его нижней части вытекает в охватывающий сосуд. Так как длина разъемного герметичного соединения в нижней части сосудов меньше длины резьбового соединения на пробке, вино и вода хорошо перемешиваются, образуя композицию вина и воды. Конечный пользователь может, приложив большее, нежели при откупоривании тары, усилие, разъединить охватываемый сосуд с пробкой и использовать последнюю для укупорки охватывающего сосуда с готовой композицией с целью ее дальнейшего хранения.
При использовании тары, выполненной в соответствии с фиг.8, конечный потребитель свинчивает пробку с охватываемого сосуда и вынимает ее из охватывающего сосуда вместе с охватываемым. Затем он вывинчивает охватываемый сосуд, содержащий вино, из пробки и выливает его содержимое в сосуд с водой, получая композицию вина и воды. Конечный пользователь может использовать пробку для укупорки охватывающего сосуда с готовой композицией с целью ее дальнейшего хранения.
При использовании тары, выполненной в соответствии с фиг.18, конечный потребитель свинчивает пробку с охватываемого сосуда, при этом начинают открываться воздухоподводные отверстия переходника, и воздух попадает в сосуд с вином. Донная пробка, удерживаемая замком с охватывающим сосудом, перемещается вниз относительно охватываемого сосуда, вынимаемого из тары вместе с пробкой. Под действием атмосферного давления вино из охватываемого сосуда через отверстие в его нижней части, образовавшееся при выходе донной пробки из охватываемого сосуда, вытекает в охватывающий. При этом происходит смешивание вина с водой – приготовление в рабочей емкости охватываемого сосуда композиции вина и воды. Конечный пользователь может разъединить охватываемый сосуд с пробкой и использовать последнюю для укупорки охватывающего сосуда с готовой композицией с целью ее дальнейшего хранения.
По мнению авторов более детальное описание практического использования отличительных признаков изобретения является избыточным, поскольку оно раскрывается в других частях описания изобретений.
В заключение данной части описания следует отметить, что по мнению авторов наилучший вариант исполнения изобретений сводится к использованию сосудов для вина (охватываемых сосудов) с объемом рабочих емкостей порядка 0,03 л (более точно 0,033 л) под вино с 12% содержанием алкоголя, при использовании сосудов для воды (охватывающих сосудов) с объемом рабочих емкостей порядка 0,33 л (более точно 0,333 л), при содержании в них воды объемом около 0,3 л. При этом набор должен включать лишь группы, в которые входит только один сосуд с вином одного вида. Охватывающий сосуд также должен включать только один охватываемый сосуд с вином одного вида. Эффект от использования такого соотношения объемов рабочих емкостей сосудов под воду и вино объясняется, что после приготовления композиций вина с водой при полном использовании компонентов сосудов групп (охватываемого и охватывающего сосудов) концентрация химических ингредиентов, активных в отношении окислительных реакций, а также биологических объектов оптимальна с точки зрения кратковременного (в течение нескольких часов) хранения упомянутых композиций при нормальных условиях – при температуре порядка 20 С на свету. Аналогичный результат достигается при использовании сосудов для вина с объемом рабочих емкостей не более 0,028 л под вино с 14% содержанием алкоголя и 0,044 л под вино с 9% содержанием алкоголя, при использовании сосудов для воды с объемом рабочих емкостей порядка 0,33 л, при содержании в них воды объемом около 0,3 л. Для вина с другим содержанием алкоголя предпочтительный объем соответствующего сосуда имеет соответствующее промежуточное значение. По мнению авторов наилучший вариант исполнения набора изображен на фиг.1, а исполнения тары – на фиг.5 при охватываемом теле из пластмассы (из мягкого материала) и на фиг.18 при охватываемом теле из стекла (из твердого материала).
В отношении других условий, упомянутых в разделе сущность изобретения предпочтения авторов, с точки зрения оптимального достижения заявляемого технического результата, в соответствии с последней частью описания изобретений (см. ниже), следующие.
Условие (1) в оптимальном варианте должно выглядеть следующим образом:
условие (3) – следующим:
(4) – следующим:
(5):
(6):
(7):
(8):
(10):
(11):
(12):
(13):
(14):
Отличительный признак изобретений, заключающийся в том, что как минимум один из сосудов группы выполнен наполненным минеральной водой, тогда как другие – натуральным сухим вином, позволяет получить технический результат, выраженный в обеспечении возможностей: использования воды в качестве конструктивного элемента тары, выполняющего функцию оптического фильтра, фильтра ИК и УФ излучения, а также термодемпфера; независимого предоставления сопроводительной документации на каждый из компонентов композиции, предназначенной для конечного потребителя; оценки конечным потребителем органолептических свойств каждого из упомянутых компонентов в отдельности; охране здоровья потребителей в части поддержания высокого уровня качества винодельческого производства, а также защите интересов торговли в части исключения диспропорций в условиях конкуренции и лишения стимулов в торговле низкокачественной винодельческой продукцией; длительного хранения компонентов в потребительской таре без консервантов, без пастеризации (без использования специальных технологических приемов радиационного, барного или прочего воздействия на биологические объекты вина и воды); длительного раздельного хранения компонентов в потребительской таре (в наборе); длительного хранения натурального сухого вина в жидком виде (с защитой от воздействий окружающей среды).
Отличительный признак изобретений, заключающийся в том, что сосуд, наполненный водой, выполнен с объемом рабочей емкости, удовлетворяющим условиям (1) и (2), позволяет получить технический результат, выраженный в обеспечении возможностей: повышении здоровья населения за счет снижения риска заболеваний органов пищеварения и кровеносно-сосудистой системы, а также заболеваний, связанных с нарушением обмена веществ; пропаганде здорового образа жизни, в котором есть место композициям на основе продукции виноделия с низким содержанием алкоголя в том числе безалкогольным композициям; создании на базе композиций, включающих натуральное сухое вино и минеральную воду, продукции, альтернативной пивной и слабоалкогольной газированной и негазированной, полученной посредством смешения спирта или крепких алкогольных напитков с иными ингредиентами, а также альтернативной газированным и негазированным водам и напиткам; совмещения в сосуде с водой функций потребительской тары для хранения воды на стадии продажи конечному потребителю, мерного стакана, емкости для питья; создания новой вкусовой линии, расширения ассортимента утоляющей жажду продукции, не причиняющей вреда здоровью человека.
Отличительные признаки изобретений, заключающиеся в том, что сосуд для воды набора, а также для второго из заявляемых объектов – охватывающий сосуд изготовлены из полиэтилена или другого материала, разрешенного органами здравоохранения или иными уполномоченными на то органами для контакта с водой и вином или только с водой, либо включает в местах контакта с ними соответствующие покрытия полные или частичные своих поверхностей, а сосуды для вина, а также для второго из заявляемых объектов – охватываемые сосуды и пробки, и донные пробки изготовлены из стекла или дуба, или титана, или другого материала, разрешенного органами здравоохранения или иными уполномоченными на то органами для контакта с вином и водой, либо включают в местах контакта с ними соответствующие покрытия, например, полные или частичные своих поверхностей, отчасти по отдельности, отчасти в совокупности позволяют получить технический результат, выраженный в обеспечении возможностей, совмещения в сосуде с водой функций потребительской тары для хранения воды на стадии продажи конечному потребителю, мерного стакана, емкости для питья; использования при изготовлении упомянутой потребительской тары вакуумного формообразования, технологий, основанных на перерабатываемых и неперерабатываемых пластмассах, других технологий массового изготовления потребительской тары для жидких продуктов; минимизации числа деталей и узлов устройства – упомянутой потребительской тары, в которой предполагается раздельное хранение упомянутых компонентов; использования стандартных оборудования и техпроцессов для разлива упомянутых компонентов в упомянутую потребительскую тару с целью последующего раздельного хранения последних; использования широкой номенклатуры материалов при производства тары; использования прессовых посадок при закупорке (закрытии) емкостей упомянутой тары; изъятия проб упомянутых компонентов из упомянутой потребительской тары без применения трудоемких технологических процедур.
Отличительные признаки изобретений, заключающиеся в том, что сосуды групп, а также для второго из заявляемых объектов – охватывающий и охватываемые сосуды выполнены с возможностью доступа в рабочие емкости, наполненные вином, без их связывания с рабочими емкостями, наполненными водой, а также в том, что сосуды, наполненные вином, выполнены с объемом рабочих емкостей, удовлетворяющим условию (3), а также для второго из заявляемых объектов, заключающийся в том, что охватываемый сосуд выполняют наполненным натуральным сухим вином так, что выполняется условие (8), отчасти по отдельности, отчасти в совокупности позволяют получить технический результат выраженный в обеспечении возможностей: гарантированного предоставления для потребления человеком только продуктов, которые подвергались обработке разрешенными методами виноделия, изъятия проб компонентов из потребительской тары без применения трудоемких технологических процедур, применения стандартных методов анализа, а также токсикологических испытаний компонентов конечного продукта, хранящегося на стадии продажи конечному потребителю, оценки органолептических свойств каждого из компонентов в отдельности конечным потребителем; а также в исключении возможности сокрытия последствии применения некачественного сырья или нежелательных методов виноделия. Это становится возможным благодаря тому, что указанного объема достаточно для проведения оценки качества вина в части определения содержания винной, лимонной, молочной, сорбиновой и общей яблочной кислот, L- и D-изомеров яблочной кислоты, L-изомеров аскорбиновой кислоты, рН, в части применения методов атомной абсорбционной спектрофотометрии, например, для определения содержания натрия, калия, кальция, железа, меди, кадмия, серебра, цинка, свинца, фторидов, в части определения содержания диоксида углерода, в части оценки показателя FOLIN-CIOCALTEU, в части определения изотропного отношения 18О/16О воды, содержащейся в вине. Также эти признаки позволяют получить технический результат, выраженный в обеспечении возможностей: предоставления сопроводительной документации на каждый из упомянутых компонентов; повышения здоровья населения (в указанном в разделе сущность изобретений смысле); пропаганды здорового образа жизни, в котором есть место композициям на основе продукции виноделия, создание условий для ведения такого образа жизни; охраны общественного здоровья через охрану здоровья потребителей в части поддержания высокого уровня качества винодельческого производства, а также защита интересов торговли в части исключения диспропорций в условиях конкуренции; удобного, быстрого и безошибочного приготовления упомянутых композиций неподготовленным пользователем.
Отличительный признак изобретений, заключающийся в том, что сосуд набора, наполненный водой, от уровня последней градуируют в соотношениях объема наполняющей сосуд воды к объему примешиваемого к ней вина и такая градуировка включать соотношения 4:1, 6:1, 8:1, 10:1, позволяет получить технический результат, выраженный в обеспечении возможностей: удобного, быстрого и безошибочного приготовления композиций неподготовленным пользователем; однотипного приготовления композиций с различным соотношением компонентов; совмещения в сосуде с водой функций потребительской тары для хранения воды на стадии продажи конечному потребителю, мерного стакана, емкости для питья; создания новой вкусовой линии, расширения ассортимента утоляющей жажду продукции, не причиняющей вреда здоровью человека; точного выбора предпочтительного соотношения компонентов в композиции вино и вода конечным потребителем; использования стандартных способов приема жидких продуктов массового распространения.
Отличительные признаки изобретений, заключаются в том, что в группы набора включают три сосуда, при этом эти сосуды могут быть выполнены в виде различных тел, одно из которых может быть наполнено водой и являться большим по размеру, а два других – вином и являться меньшими по размеру, причем сосуд, наполненный водой, может быть выполнен с большим как минимум в 1,2 раза по площади выходным отверстием по сравнению с площадью выходных отверстий сосудов, наполненных вином, а также в том, что в группы набора включают два сосуда, при этом эти сосуды могут быть выполнены в виде различных тел, одно из которых может быть наполнено водой и являться большим по размеру, а другое – вином и являться меньшими по размеру, причем сосуд, наполненный водой, может быть выполнен с большим как минимум в 1,2 раза по площади выходным отверстием по сравнению с площадью выходного отверстия сосуда, наполненного вином, позволяют получить технический результат выраженный в обеспечении возможностей: предоставления сопроводительной документации на каждый из компонентов; удобного, быстрого и безошибочного приготовления упомянутых композиции неподготовленным пользователем, в том числе в части перелива вина в сосуд с водой; длительного раздельного хранения компонентов в потребительской таре; использования стандартных способов приема жидких продуктов массового распространения; создания новой вкусовой линии, расширения ассортимента утоляющей жажду продукции, не причиняющей вреда здоровью человека, в том числе в части создания композиций на основе смесей вин различного вида (например, белого с красным).
Отличительные признаки изобретений: заключающийся в том, что сосуды набора, наполненные вином, выполняют с объемом рабочей емкости, удовлетворяющим условию (4), а также для второго из заявляемых объектов, заключающийся в том, что сосуды, наполненные вином, выполняют с объемом рабочих емкостей, удовлетворяющим условию (13), позволяют получить технический результат, выраженный в обеспечении возможностей: получения конечным потребителем слабоалкогольного или безалкогольного напитка в объеме 0,2; 0,25; 0,33; 0,4; 0,5; 0,66; 1,0; 1,5 л без потерь составляющих такой композиции; гарантированного предоставления для потребления человеком только продуктов, которые подвергались обработке разрешенными методами виноделия, изъятия проб компонентов из потребительской тары без применения трудоемких технологических процедур, применения стандартных методов анализа, а также токсикологических испытаний компонентов конечного продукта, хранящегося на стадии продажи конечному потребителю, оценки органолептических свойств каждого из компонентов в отдельности конечным потребителем; а также в исключении возможности сокрытия последствий применения некачественного сырья или нежелательных методов виноделия. Это становится возможным благодаря тому, что указанного объема достаточно для проведения оценки качества вина (см. выше). Также этот признак позволяет получить технический результат, выраженный в обеспечении возможностей: создания новой вкусовой линии, расширения ассортимента утоляющей жажду продукции, не причиняющей вреда здоровью человека; предоставления сопроводительной документации на каждый из упомянутых компонентов; повышения здоровья населения; пропаганды здорового образа жизни, в котором есть место композициям на основе продукции виноделия, создание условий для ведения такого образа жизни; охраны общественного здоровья через охрану здоровья потребителей в части поддержания высокого уровня качества винодельческого производства, а также защита интересов торговли в части исключения диспропорций в условиях конкуренции; удобного, быстрого и безошибочного приготовления упомянутых композиций неподготовленным пользователем.
Отличительные признаки изобретений: заключающийся в том, что сосуд набора, наполненный водой, выполняют с объемом рабочей емкости, удовлетворяющим (5), а также для второго из заявляемых объектов, заключающийся в том, что сосуды, наполненные вином, выполняют с объемом рабочих емкостей, удовлетворяющим условию (14), позволяют получить технический результат, выраженный в обеспечении возможностей: получения конечным потребителем слабоалкогольного или безалкогольного напитка в объеме 0,2; 0,25; 0,33; 0,4; 0,5; 0,66; 1,0; 1,5 л без потерь составляющих; создания новой вкусовой линии, расширения ассортимента утоляющей жажду продукции, не причиняющей вреда здоровью человека; точного выбора предпочтительного соотношения компонентов в композиции вино и вода конечным потребителем; повышения здоровья населения; пропаганды здорового образа жизни, в котором есть место композициям на основе продукции виноделия, создание условий для ведения такого образа жизни; охраны общественного здоровья через охрану здоровья потребителей в части поддержания высокого уровня качества винодельческого производства, а также защита интересов торговли в части исключения диспропорций в условиях конкуренции.
Отличительные признаки изобретений, заключающиеся в том, что сосуды групп и сами группы объединяют посредством общих крепежных элементов или общей упаковки, позволяют получить технический результат, выраженный в обеспечении возможностей: минимизации числа деталей и узлов потребительской тары, в которой предполагается раздельное хранение компонентов; качественного высокопроизводительного изготовления потребительской тары для композиций, разлива в нее компонентов, ее транспортировки, хранения и реализации; удобного, быстрого и безошибочного приготовления упомянутых композиций неподготовленным пользователем; однотипного приготовления упомянутых композиций с различным соотношением упомянутых компонентов.
Отличительный признак изобретений, заключающийся в том, что тело, наполненное водой, дополнительно к рабочей емкости имеет как минимум одну полость, в которой размещено тело, наполненное вином, позволяет получить технический результат, выраженный в обеспечении возможностей: использования воды в качестве конструктивного элемента тары, выполняющего функцию оптического фильтра, фильтра ИК и УФ излучений, а также термодемпфера; гарантированного предоставления для непосредственного потребления человеком только продуктов, которые подвергались обработке разрешенными методами виноделия.
Отличительный признак изобретений, заключающийся в том, что центр выходного отверстия тела, наполненного водой, смещают по горизонтали более чем на пять миллиметров относительно центра тяжести воды, позволяет получить технический результат выраженный в обеспечении возможности использования при работе с потребительскими тарами стандартных приемов транспортировки, хранения и реализации (облегчения представления набора конечному потребителю) жидких напитков.
Отличительный признак изобретений, заключающийся в том, что тела, наполненные вином, в случае с группой, включающей три сосуда, посредством крепежного элемента или общей упаковки группируют с одной стороны от тела, наполненного водой, позволяет получить технический результат, выраженный в обеспечении возможностей: использования воды в качестве конструктивного элемента тары, выполняющего функцию оптического фильтра, фильтра ИК и УФ излучений, а также термодемпфера; качественного высокопроизводительного изготовления потребительской тары для упомянутых композиций, разлива в нее упомянутых компонентов, ее транспортировки, хранения и реализации; гарантированного предоставления для непосредственного потребления человеком только продуктов, которые подвергались обработке разрешенными методами виноделия.
Отличительные признаки изобретений: заключающийся в том, что сосуды групп набора, наполненные вином, выполняют с объемом рабочих емкостей, удовлетворяющим условию (6), а также для второго из заявляемых объектов, заключающийся в том, что сосуды, наполненные вином, выполняют с объемом рабочих емкостей, удовлетворяющим условию (11), позволяют получить технический результат выраженный в обеспечении возможностей: гарантированного предоставления для потребления человеком только продуктов, которые подвергались обработке разрешенными методами виноделия, изъятия проб компонентов из потребительской тары без применения трудоемких технологических процедур, применения стандартных методов анализа, а также токсикологических испытании компонентов конечного продукта, хранящегося на стадии продажи конечному потребителю, оценки органолептических свойств каждого из компонентов в отдельности конечным потребителем; а также в исключении возможности сокрытия последствий применения некачественного сырья или нежелательных методов виноделия. Это становится возможным благодаря тому, что указанного объема достаточно для проведения оценки качества вина в упомянутой выше части, а также в части применения методов рефрактометрического анализа, например, для определения содержания натрия, калия, кальция, железа, меди, кадмия, серебра, цинка, свинца, фторидов, в части определения объемной доли этилового спирта, общего количества сухих веществ, редуцирующих сахаров, сахарозы, глюкозы и фруктозы, зольных веществ (и их щелочности), хлоридов, сульфатов, диоксида серы, цианопроизводных, в части оценки содержания летучих кислот и этилового карбоната, общей кислотности. Также эти признаки позволяют получить технический результат, выраженный в обеспечении возможностей: предоставления сопроводительной документации на каждый из упомянутых компонентов; повышения здоровья населения (в указанном в разделе сущность изобретений смысле); пропаганды здорового образа жизни, в котором есть место композициям на основе продукции виноделия, создание условий для ведения такого образа жизни; охраны общественного здоровья через охрану здоровья потребителей в части поддержания высокого уровня качества винодельческого производства, а также защита интересов торговли в части исключения диспропорций в условиях конкуренции; удобного, быстрого и безошибочного приготовления упомянутых композиций неподготовленным пользователем.
Отличительные признаки изобретений: заключающийся в том, что сосуды групп набора, наполненные вином, выполняют с объемом рабочих емкостей, удовлетворяющим условию (7), а также для второго из заявляемых объектов, заключающийся в том, что сосуды, наполненные вином, выполняют с объемом рабочих емкостей, удовлетворяющим условию (12), позволяют получить технический результат, выраженный в обеспечении возможностей: гарантированного предоставления для потребления человеком только продуктов, которые подвергались обработке разрешенными методами виноделия, изъятия проб компонентов из потребительской тары без применения трудоемких технологических процедур, применения стандартных методов анализа, а также токсикологических испытаний компонентов конечного продукта, хранящегося на стадии продажи конечному потребителю, оценки органолептических свойств каждого из компонентов в отдельности конечным потребителем; а также в исключении возможности сокрытия последствий применения некачественного сырья или нежелательных методов виноделия. Это становится возможным благодаря тому, что указанного объема достаточно для проведения оценки качества вина в упомянутых выше частях, а также в части применения методов ядерного магнитного резонанса с использованием дейтерия, в части определения плотности и относительной плотности, в части оценки содержания аллилизотиоцианата. Также эти признаки позволяют получить технический результат, выраженный в обеспечении возможностей: предоставления сопроводительной документации на каждый из упомянутых компонентов; повышения здоровья населения (в указанном в разделе сущность изобретений смысле); пропаганды здорового образа жизни, в котором есть место композициям на основе продукции виноделия, создание условий для ведения такого образа жизни; охраны общественного здоровья через охрану здоровья потребителей в части поддержания высокого уровня качества винодельческого производства, а также защита интересов торговли в части исключения диспропорций в условиях конкуренции; удобного, быстрого и безошибочного приготовления упомянутых композиций неподготовленным пользователем.
Отличительный признак изобретений, заключающийся в том, что охватывающий и охватываемый сосуды потребительской тары выполняют наполненными соответственно минеральной водой и натуральным сухим вином так, что выполняются условия (9) и (10), позволяет получить технический результат, выраженный в обеспечении возможностей: использования одного из упомянутых компонентов в качестве конструктивного элемента упомянутой потребительской тары и длительного хранения натурального сухого вина в жидком виде за счет окружения сосуда с вином защитным слоем воды при установленном соотношении упомянутых в (9) площадей со средней толщиной слоя воды более пяти миллиметров; применения стандартных методов анализа, особенно в части методов и порядка отбора проб и идентификации, а также токсикологических испытаний упомянутых компонентов конечного продукта, хранящегося на стадии продажи конечному потребителю; гарантированного предоставления для непосредственного потребления человеком только продуктов, которые подвергались обработке разрешенными методами виноделия; длительного хранения упомянутых компонентов в упомянутой потребительской таре без консервантов и пастеризации; использования стандартных оборудования и техпроцессов для разлива упомянутых компонентов в упомянутую потребительскую тару с целью последующего раздельного хранения последних; использования при работе с упомянутыми потребительскими тарами стандартных приемов транспортировки и хранения жидких напитков; при визуальном восприятии упомянутой потребительской тары появления оптических спецэффектов и иллюзий восприятия; а также в исключении возможности сокрытия последствий применения некачественного сырья или нежелательных методов виноделия.
Отличительный признак изобретений, заключающийся в том, что охватывающий сосуд в нижней части включает посадочную поверхность для охватываемого сосуда, соответствующая сопряженная поверхность которого обеспечивает с указанной посадочной плотное разъемное соединение, позволяет получить технический результат, выраженный в обеспечении возможностей: длительного раздельного хранения упомянутых компонентов в упомянутой потребительской таре; качественного высокопроизводительного изготовления потребительской тары для упомянутых композиций, разлива в нее упомянутых компонентов, ее транспортировки, хранения и реализации; изъятия проб упомянутых компонентов из упомянутой потребительской тары без применения трудоемких технологических процедур; использования при изготовлении упомянутой потребительской тары вакуумного формообразования, технологий, основанных на перерабатываемых и неперерабатываемых пластмассах, других технологий массового изготовления потребительской тары для жидких продуктов; минимизации числа деталей и узлов устройства – упомянутой потребительской тары, в которой предполагается раздельное хранение упомянутых компонентов; использования при работе с упомянутыми потребительскими тарами стандартных приемов транспортировки и хранения жидких напитков, а также в исключении возможности случайного выделения упомянутых компонентов из упомянутой потребительской тары в чистом виде.
Отличительный признак изобретений, заключающийся в том, что сосуды в верхней части укупоривают общей пробкой, позволяет получить технический результат, выраженный в обеспечении возможностей, использования широкой номенклатуры материалов при производства тары; длительного раздельного хранения упомянутых компонентов в упомянутой потребительской таре; качественного высокопроизводительного изготовления потребительской тары для упомянутых композиций, разлива в нее упомянутых компонентов, ее транспортировки, хранения и реализации; изъятия проб упомянутых компонентов из упомянутой потребительской тары без применения трудоемких технологических процедур; минимизации числа деталей и узлов устройства – упомянутой потребительской тары, в которой предполагается раздельное хранение упомянутых компонентов; использования стандартных способов приема жидких продуктов массового распространения; однотипного приготовления упомянутых композиций с различным соотношением упомянутых компонентов, а также в исключении возможности случайного выделения упомянутых компонентов из упомянутой потребительской тары в чистом виде.
Отличительный признак изобретений, заключающийся в том, что пробка сопрягается с охватывающим сосудом посредством плотного резьбового соединения, позволяет получить технический результат, выраженный в обеспечении возможностей: совмещения по времени процесса открытия тары с процессом смешения компонентов; использования прессовых посадок при закупорке (закрытии) емкостей упомянутой тары; однотипного приготовления упомянутых композиций с различным соотношением упомянутых компонентов.
Отличительные признаки изобретений, заключающиеся в том, что длина плотного разъемного соединения охватывающего и охватываемого сосудов (в нижней части тары) меньше длины плотного резьбового соединения охватывающего сосуда с пробкой (в верхней части) и что такое резьбовое соединение выполнено с отношением длины к шагу резьбы не меньшим десяти, позволяют получить технический результат, выраженный в обеспечении возможностей, качественного перемешивания упомянутых компонентов при откупорке (открытии) упомянутой тары; совмещения по времени процесса откупорки (открытия) упомянутой тары с процессом смешения упомянутых компонентов.
Отличительные признаки изобретений, заключающиеся в том, что пробка сопрягается с охватываемым сосудом посредством неразъемного герметичного соединения, что пробка и фиксатор сопряжены посредством герметичного соединения, что пробка соединяется с охватываемым сосудом посредством плотного резьбового соединения, что пробка включает фиксатор, обеспечивающий блокировку ее резьбового соединения с охватываемым сосудом, посредством упругого элемента фиксатора, распирающего охватываемый сосуд, что пробка включает фиксатор охватываемого сосуда, сопрягаемый с ней посредством неразъемного соединения, что охватываемый сосуд в верхней части включает посадочную поверхность для пробки, соответствующая сопряженная поверхность которой обеспечивает с указанной посадочной плотное соединение, что охватываемый сосуд в верхней части включает посадочную поверхность для фиксатора охватываемого сосуда, соответствующая сопряженная поверхность которого обеспечивает с указанной посадочной неразъемное соединение, при этом указанный фиксатор, распирая охватываемый сосуд, обеспечивает его неразъемное соединение с пробкой, что пробка включает посадочную поверхность для фиксатора, соответствующая сопряженная поверхность которого обеспечивает неразъемное соединение фиксатора с пробкой и либо это соединение, либо неразъемное соединение фиксатора с охватываемым сосудом выполнено герметичным с точки зрения протекания вина вовне тары, что тара включает переходник с как минимум одним воздухоподводным отверстием, выполненный как конструктивный элемент пробки и соединяющий охватываемый сосуд с пробкой и охватывающим сосудом, что переходник с воздухоподводным отверстием в своей нижней части включает посадочную поверхность для охватываемого сосуда, соответствующая сопряженная поверхность которого обеспечивает с указанной посадочной плотное герметичное соединение, что переходник с воздухоподводным отверстием в своей средней части включает посадочную поверхность для охватывающего сосуда, соответствующая сопряженная поверхность которого обеспечивает с указанной посадочной герметичное соединение, что переходник с воздухоподводным отверстием в своей верхней части включает посадочную поверхность для пробки, соответствующая сопряженная поверхность которой обеспечивает с указанной посадочной плотное соединение, что плотное соединение выполняют неразъемным, что плотное соединение выполняют герметичным с точки зрения протекания вина вовне тары, что пробка включает фиксатор охватываемого сосуда и переходника и такой фиксатор включает как минимум одно воздухопроводное отверстие, а переходник с воздухоподводным отверстием в верхней и/или нижней части включает посадочную поверхность для указанного фиксатора, соответствующая сопряженная поверхность которого обеспечивает с указанной посадочной неразъемное соединение, при этом указанный фиксатор обеспечивает жесткое неразъемное соединение переходника с пробкой и/или с охватываемым сосудом, что неразъемное соединение фиксатора охватываемого сосуда и переходника с последним в верхней части выполняют герметичным с точки зрения протекания упомянутого вина вовне тары, что тара включает выполненный как конструктивный элемент пробки переходник с как минимум одним воздухопроводным отверстием, присоединенный посредством неразъемного соединения к охватываемому сосуду и соединяющий его с пробкой, что переходник с воздухопроводным отверстием включает посадочную поверхность для фиксатора переходника, соответствующая сопряженная поверхность которого обеспечивает с указанной посадочной неразъемное соединение, при этом фиксатор обеспечивает жесткое неразъемное соединение переходника с пробкой и такое неразъемное соединение выполняют герметичным с точки зрения протекания вина вовне тары, что плотное разъемное соединение посадочной поверхности охватывающего тела в его нижней части с соответствующей сопряженной (сопрягаемой) поверхностью охватываемого тела выполняют герметичным, что охватывающий сосуд в нижней части в месте посадочной поверхности включает полость, в которую установлен упругий блокиратору входящий с охватывающим сосудом в упругое соединение, обеспечивающее гарантированное плотное герметичное разъемное соединение охватываемого и охватывающего сосудов, что охватывающий сосуд в нижней части в месте посадочной поверхности включает полость, в которую установлен упругий блокиратор, входящий с охватывающим сосудом в упругое соединение, обеспечивающее неразъемное соединение посадочной поверхности охватывающего сосуда с сопрягаемой поверхностью охватываемого сосуда отчасти по отдельности, отчасти в совокупности позволяют получить технический результат, выраженный в обеспечении возможностей, удобного, быстрого и безошибочного приготовления упомянутых композиций неподготовленным пользователем; минимизации числа деталей и узлов устройства – упомянутой потребительской тары, в которой предполагается раздельное хранение упомянутых компонентов; использования стандартных оборудования и техпроцессов для разлива упомянутых компонентов в упомянутую потребительскую тару с целью последующего раздельного хранения последних; длительного раздельного хранения упомянутых компонентов в упомянутой потребительской таре; длительного хранения натурального сухого вина в жидком виде; однотипного приготовления упомянутых композиций с различным соотношением упомянутых компонентов; использования прессовых посадок при закупорке (закрытии) емкостей упомянутой тары; совмещения по времени процесса откупорки (открытия) упомянутой тары с процессом смешения упомянутых компонентов, а также в исключении возможности случайного выделения упомянутых компонентов из упомянутой потребительской тары в чистом виде.
Отличительные признаки изобретений, заключающиеся в том, что пробка включает как минимум одно воздухоподводное отверстие, один из торцов которого связан с рабочей емкостью охватываемого сосуда, а другой герметично закрыт сопряжением пробки с охватывающим сосудом, что фиксатор может включать как минимум одно воздухопроводное отверстие, связывающее воздухоподводное отверстие с рабочей емкостью охватываемого сосуда, что охватываемый сосуд в области сопряженной поверхности имеет как минимум одно воздухоподводное отверстие, герметично закрытое посадочной поверхностью с точки зрения проникновения в него наружного воздуха, а также воды и что такие отверстия выполняют вытянутыми в вертикальном направлении, что тара включает переходник с как минимум одним воздухоподводным отверстием, выполненный как конструктивный элемент пробки и соединяющий охватываемый сосуд с пробкой и охватывающим сосудом, что переходник с воздухоподводным отверстием в средней части включает как минимум одно соединенное с рабочей емкостью охватываемого сосуда воздухоподводное отверстие, закрытое от внешней среды сопряженной поверхностью, что пробка включает фиксатор охватываемого сосуда и переходника и такой фиксатор включает как минимум одно воздухопроводное отверстие, а переходник с воздухоподводным отверстием в верхней и/или нижней части включает посадочную поверхность для указанного фиксатора, соответствующая сопряженная поверхность которого обеспечивает с указанной посадочной неразъемное соединение, при этом указанный фиксатор обеспечивает жесткое неразъемное соединение переходника с пробкой и/или с охватываемым сосудом, что тара включает выполненный как конструктивный элемент пробки переходник с как минимум одним воздухопроводным отверстием, присоединенный посредством неразъемного соединения к охватываемому сосуду и соединяющий его с пробкой отчасти по отдельности, отчасти в совокупности позволяют получить технический результат, выраженный в обеспечении возможностей: совмещения по времени процесса откупорки (открытия) упомянутой тары с процессом смешения упомянутых компонентов; однотипного приготовления упомянутых композиций с различным соотношением упомянутых компонентов; качественного перемешивания упомянутых компонентов при откупорке (открытии) упомянутой тары.
Отличительный признак изобретений, заключающийся в том, что пробка включает фиксатор, обеспечивающий неразъемное герметичное соединение пробки с охватываемым сосудом посредством упругого элемента фиксатора, распирающего либо пробку, либо охватываемый сосуд, позволяет получить технический результат, выраженный в обеспечении возможностей: использования прессовых посадок при закупорке (закрытии) емкостей упомянутой тары; длительного хранения натурального сухого вина в жидком виде; использования стандартных оборудования и техпроцессов для разлива упомянутых компонентов в упомянутую потребительскую тару с целью последующего раздельного хранения последних; использования при изготовлении упомянутой потребительской тары вакуумного формообразования, технологий, основанных на перерабатываемых и неперерабатываемых пластмассах, других технологий массового изготовления потребительской тары для жидких продуктов; использования широкой номенклатуры материалов при производства тары.
Отличительный признак изобретений, заключающийся в том, что отношение наибольшего измерения поперечного сечения рабочей емкости охватывающего сосуда к наибольшему измерению поперечного сечения рабочей емкости охватываемого сосуда может быть не меньше корня квадратного из двух, позволяет получить технический результат, выраженный в обеспечении возможностей: использования при работе с упомянутыми потребительскими тарами стандартных приемов транспортировки и хранения жидких напитков; использования одного из упомянутых компонентов в качестве конструктивного элемента упомянутой потребительской тары; при визуальном восприятии упомянутой потребительской тары появления оптических спецэффектов и иллюзий восприятия; создания новой вкусовой линии, расширения ассортимента утоляющей жажду продукции, не причиняющей вреда здоровью человека; получения конечным потребителем слабоалкогольного или безалкогольного напитка в объеме 0,2; 0,25; 0,33; 0,4; 0,5; 0,66; 1,0; 1,5 л.
Отличительный признак изобретений, заключающийся в том, что охватываемый сосуд выполняют преимущественно цилиндрическим, позволяет получить технический результат, выраженный в обеспечении возможностей: использования при изготовлении упомянутой потребительской тары вакуумного формообразования, технологий, основанных на перерабатываемых и неперерабатываемых пластмассах, других технологий массового изготовления потребительской тары для жидких продуктов; использования стандартных оборудования и техпроцессов для разлива упомянутых компонентов в упомянутую потребительскую тару с целью последующего раздельного хранения последних; использования при работе с упомянутыми потребительскими тарами стандартных приемов транспортировки и хранения жидких напитков; при визуальном восприятии упомянутой потребительской тары появления оптических спецэффектов и иллюзий восприятия.
Отличительные признаки изобретений, заключающиеся в том, что в случае если отношение наибольшего измерения поперечного сечения рабочей емкости охватывающего сосуда к наибольшему измерению поперечного сечения рабочей емкости охватываемого сосуда меньше двух, охватывающий сосуд выполняют как минимум с одной плоской гранью на боковой поверхности, что в случае если отношение наибольшего измерения поперечного сечения рабочей емкости охватывающего сосуда к наибольшему измерению поперечного сечения рабочей емкости охватываемого сосуда больше двух, охватывающий сосуд выполняют преимущественно цилиндрическим, что в случае если отношение наибольшего измерения поперечного сечения рабочей емкости охватывающего сосуда к наибольшему измерению поперечного сечения рабочей емкости охватываемого сосуда больше трех, то охватываемый сосуд выполняют как минимум с одной плоской гранью на своей боковой поверхности отчасти по отдельности, отчасти в совокупности позволяют получить технический результат, выраженный в обеспечении возможностей: использования при работе с упомянутыми потребительскими тарами стандартных приемов транспортировки и хранения жидких напитков; при визуальном восприятии упомянутой потребительской тары появления оптических спецэффектов и иллюзий восприятия; создания новой вкусовой линии, расширения ассортимента утоляющей жажду продукции, не причиняющей вреда здоровью человека; получения конечным потребителем слабоалкогольного или безалкогольного напитка в объеме 0,2; 0,25; 0,33; 0,4; 0,5; 0,66; 1,0; 1,5 л; использования при изготовлении упомянутой потребительской тары вакуумного формообразования, технологий, основанных на перерабатываемых и неперерабатываемых пластмассах, других технологий массового изготовления потребительской тары для жидких продуктов; использования стандартных оборудования и техпроцессов для разлива упомянутых компонентов в упомянутую потребительскую тару с целью последующего раздельного хранения последних.
Отличительные признаки изобретений, заключающиеся в том, что площади граней охватывающего и охватываемого сосудов составляют не менее пяти процентов от площади их поверхностей, что охватывающий и охватываемые сосуды выполняют с тремя плоскими гранями, что плоские грани охватывающего и охватываемого сосуда располагают вертикально, позволяют получить технический результат, выраженный в обеспечении возможностей: использования при изготовлении упомянутой потребительской тары вакуумного формообразования, технологий, основанных на перерабатываемых и неперерабатываемых пластмассах, других технологий массового изготовления потребительской тары для жидких продуктов; использования стандартных оборудования и техпроцессов для разлива упомянутых компонентов в упомянутую потребительскую тару с целью последующего раздельного хранения последних; использования при работе с упомянутыми потребительскими тарами стандартных приемов транспортировки и хранения жидких напитков; при визуальном восприятии упомянутой потребительской тары появления оптических спецэффектов и иллюзий восприятия.
Отличительный признак изобретений, заключающийся в том, что плоские грани охватывающего и охватываемого сосуда имеют одинаковую в пределах погрешности изготовления площадь, позволяет получить технический результат, выраженный в обеспечении возможности при визуальном восприятии упомянутой потребительской тары появления оптических спецэффектов и иллюзий восприятия.
Отличительные признаки изобретений, заключающиеся в том, что охватываемый сосуд с точки зрения расположения центров тяжести поперечных сечений сосудов на поперечном сечении тары располагают по центру охватывающего с допуском, определяемым погрешностями изготовления и расположения сосудов, что сосуды могут располагают соосно с допуском, определяемым погрешностями изготовления и расположения тел, позволяют получить технический результат, выраженный в обеспечении возможностей: использования при работе с упомянутыми потребительскими тарами стандартных приемов транспортировки и хранения жидких напитков; использования стандартных оборудования и техпроцессов для разлива упомянутых компонентов в упомянутую потребительскую тару с целью последующего раздельного хранения последних; использования одного из упомянутых компонентов в качестве конструктивного элемента упомянутой потребительской тары; длительного хранения натурального сухого вина в жидком виде; при визуальном восприятии упомянутой потребительской тары появления оптических спецэффектов и иллюзий восприятия.
Отличительный признак изобретений, заключающийся в том, что охватывающий сосуд в верхней части включает посадочную поверхность для охватываемого сосуда, соответствующая сопряженная поверхность которого обеспечивает с указанной посадочной герметичное разъемное соединение, позволяет получить технический результат, выраженный в обеспечении возможностей: качественного высокопроизводительного изготовления потребительской тары для упомянутых композиций, розлива в нее упомянутых компонентов, ее транспортировки, хранения и реализации; удобного, быстрого и безошибочного приготовления упомянутых композиций неподготовленным пользователем; изъятия проб упомянутых компонентов из упомянутой потребительской тары без применения трудоемких технологических процедур; использования при изготовлении упомянутой потребительской тары вакуумного формообразования, технологий, основанных на перерабатываемых и неперерабатываемых пластмассах, других технологий массового изготовления потребительской тары для жидких продуктов; минимизации числа деталей и узлов устройства – упомянутой потребительской тары, в которой предполагается раздельное хранение упомянутых компонентов; использования стандартных оборудования и техпроцессов для разлива упомянутых компонентов в упомянутую потребительскую тару с целью последующего раздельного хранения последних; использования широкой номенклатуры материалов при производства тары; длительного раздельного хранения упомянутых компонентов в упомянутой потребительской таре; длительного хранения натурального сухого вина в жидком виде; использования стандартных способов приема жидких продуктов массового распространения; однотипного приготовления упомянутых композиций с различным соотношением упомянутых компонентов; совмещения по времени процесса откупорки (открытия) упомянутой тары с процессом смешения упомянутых компонентов; совмещения в сосуде с водой функций потребительской тары для хранения воды на стадии продажи конечному потребителю, мерного стакана, емкости для питья.
Отличительный признак изобретений, заключающийся в том, что как минимум один фрагмент посадочной поверхности верхней части и сопряженной выполняют в виде фрагмента цилиндра или в виде цилиндра позволяет получить технический результат, выраженный в обеспечении возможности использования стандартных оборудования и техпроцессов для розлива упомянутых компонентов в упомянутую потребительскую тару с целью последующего раздельного хранения последних.
Отличительный признак изобретений, заключающийся в том, что как минимум один фрагмент посадочной и сопряженной поверхностей нижней части выполняют в виде фрагмента цилиндра или в виде цилиндра позволяет получить технический результат, выраженный в обеспечении возможностей, использования стандартных оборудования и техпроцессов для разлива упомянутых компонентов в упомянутую потребительскую тару с целью последующего раздельного хранения последних; использования прессовых посадок при закупорке (закрытии) емкостей упомянутой тары.
Отличительный признак изобретений, заключающийся в том, что как минимум один фрагмент посадочной и сопряженной поверхностей выполняют в виде фрагмента конуса с углом при вершине не более пятнадцати градусов или конусным с таким же углом при вершине позволяет получить технический результат, выраженный в обеспечении возможностей: использования стандартных оборудования и техпроцессов для разлива упомянутых компонентов в упомянутую потребительскую тару с целью последующего раздельного хранения последних; использования прессовых посадок при закупорке (закрытии) емкостей упомянутой тары; исключения проникновения воды в сосуд с вином (или в сосуд для вина) на этапе сборки тары.
Отличительные признаки изобретений, заключающиеся в том, что установку блокиратора выполняют посредством хотя бы одного фрагмента резьбового соединения и такое соединение выполняют конусообразным, позволяют получить технический результат, выраженный в обеспечении возможностей, использования стандартных оборудования и техпроцессов для разлива упомянутых компонентов в упомянутую потребительскую тару с целью последующего раздельного хранения последних; длительного раздельного хранения упомянутых компонентов в упомянутой потребительской таре.
Отличительный признак изобретений, заключающийся в том, что блокиратор выполняют съемным и он включает ручку (ухват) позволяет получить технический результат, выраженный в обеспечении возможности удобного, быстрого и безошибочного приготовления упомянутых композиций неподготовленным пользователем.
Отличительные признаки изобретений, заключающиеся в том, что охватываемый сосуд выполняют с возможностью его установки в наполненный водой охватывающий без проникновения воды из рабочей емкости охватывающего в рабочую емкость охватываемого, что охватываемый сосуд выполняют герметичным с точки зрения упомянутого проникновения, что охватываемый сосуд в нижней части включает донную пробку, препятствующую связыванию рабочих емкостей, и, следовательно, упомянутому проникновению, что охватываемый сосуд в нижней части включает перегородку (в частном случае – пленочную), препятствующую связыванию рабочих емкостей и, следовательно, упомянутому проникновению, отчасти по отдельности, отчасти в совокупности позволяют получить технический результат, выраженный в обеспечении возможностей: удобного, быстрого и безошибочного приготовления упомянутых композиций неподготовленным пользователем; длительного хранения упомянутых компонентов в упомянутой потребительской таре без консервантов и пастеризации; длительного раздельного хранения упомянутых компонентов в упомянутой потребительской таре; длительного хранения натурального сухого вина в жидком виде; изъятия проб упомянутых компонентов из упомянутой потребительской тары без применения трудоемких технологических процедур; минимизации числа деталей и узлов устройства – упомянутой потребительской тары, в которой предполагается раздельное хранение упомянутых компонентов; использования стандартных оборудования и техпроцессов для разлива упомянутых компонентов в упомянутую потребительскую тару с целью последующего раздельного хранения последних; использования широкой номенклатуры материалов при производства тары; использования одного из упомянутых компонентов в качестве конструктивного элемента упомянутой потребительской тары; однотипного приготовления упомянутых композиций с различным соотношением упомянутых компонентов; использования прессовых посадок при закупорке (закрытии) емкостей упомянутой тары; исключения проникновения воды в сосуд с вином (или в сосуд для вина) на этапе сборки тары.
Отличительные признаки изобретений, заключающиеся в том, что охватывающий сосуд выполняют с возможностью нарушения герметичности с упомянутой точки зрения охватываемого сосуда при сборке тары и/или при ее откупоривании, что охватывающий сосуд включает перфоратор для нарушения целостности и, следовательно, герметичности с упомянутой точки зрения охватываемого сосуда, что охватывающий сосуд включает толкатель для смещения донной пробки или перегородки, что толкатель выполняют с возможностью образовывать с донной пробкой неразъемное соединение (пазл, замок), которое будет оставаться таковым и при извлечении охватываемого сосуда из рабочей емкости охватывающего, что толкатель содержит разъем, сопрягаемый с ответным разъемом на донной пробке, что толкатель включает штифт, пронизывающий донную пробку, который развальцован (или расклепан, или термически оплавлен) в рабочей емкости охватываемого сосуда, для образования неразъемного соединения позволяют получить технический результат, выраженный в обеспечении возможностей: удобного, быстрого и безошибочного приготовления упомянутых композиций неподготовленным пользователем; совмещения по времени процесса откупорки (открытия) упомянутой тары с процессом смешения упомянутых компонентов.
Отличительный признак изобретений, заключающийся в том, что охватываемый сосуд включает уступ для препятствования выхода из него перегородки, позволяет получить технический результат, выраженный в обеспечении возможности удобного, быстрого и безошибочного приготовления упомянутых композиций неподготовленным пользователем.
Отличительные признаки изобретений, заключающиеся в том, что охватывающий и/или охватываемый сосуды выполняют из материала с показателем преломления для длины волны пятьсот пятьдесят пять нанометров, совпадающим с точностью до десятых долей после стандартного округления с показателем преломления воды, что охватывающий сосуд выполняют из материала с показателем преломления для длины волны пятьсот пятьдесят пять нанометров большим показателя преломления воды, что охватываемый сосуд выполняют из материала с показателем преломления для длины волны пятьсот пятьдесят пять нанометров меньшим показателя преломления воды, что охватываемый сосуд выполняют из двухслойной комбинации материала, при этом обращенный к воде слой выполняют из материала с показателем преломления для длины волны пятьсот пятьдесят пять нанометров меньшим показателя преломления воды, а обращенный к вину слой – из материала с показателем преломления для длины волны пятьсот пятьдесят пять нанометров большим показателя преломления вина, что между слоями на удалении, превышающем двадцать миллиметров от места крепления или установки одного сосуда в другом либо от места сопряжения тел, либо от свободных поверхностей компонентов при нормальном положении тары, располагают воздушную пленку толщиной не менее одной десятой миллиметра, позволяют получить технический результат, выраженный в обеспечении возможности при визуальном восприятии упомянутой потребительской тары появления оптических спецэффектов и иллюзий восприятия.
Отличительный признак изобретений, заключающийся в том, что охватываемый сосуд выполняют из двухслойной комбинации материала, позволяет получить технический результат, выраженный в обеспечении возможностей: использования при изготовлении упомянутой потребительской тары вакуумного формообразования, технологий, основанных на перерабатываемых и неперерабатываемых пластмассах, других технологий массового изготовления потребительской тары для жидких продуктов; минимизации числа деталей и узлов устройства – упомянутой потребительской тары, в которой предполагается раздельное хранение упомянутых компонентов; использования стандартных оборудования и техпроцессов для разлива упомянутых компонентов в упомянутую потребительскую тару с целью последующего раздельного хранения последних; использования широкой номенклатуры материалов при производства тары; использования прессовых посадок при закупорке (закрытии) емкостей упомянутой тары; изъятия проб упомянутых компонентов из упомянутой потребительской тары без применения трудоемких технологических процедур.
Отличительный признак изобретений, заключающийся в том, что на охватываемом теле размещают этикетку, идентифицирующую вино позволяет получить технический результат, выраженный в обеспечении возможностей: предоставления сопроводительной документации на каждый из упомянутых компонентов; индуцирования ассоциативной связи соответствующего заявляемым изобретения объекта розничной продажи при его визуальном восприятии с высококачественной винодельческой продукцией.
Отличительные признаки изобретений, заключающиеся в том, что этикетку, идентифицирующую вино, размещают как минимум на одном из слоев со стороны воздушной пленки, что ее выполняют посредством привнесения макрошероховатости как минимум на одну из поверхностей охватываемого сосуда: граничащую с водой и/или граничащую с вином, и/или граничащую с воздушной пленкой, что размещают как минимум на одном ребре (на области между плоскими гранями) охватываемого сосуда, позволяют получить технический результат, выраженный в обеспечении возможностей: индуцирования ассоциативной связи соответствующего заявляемым изобретения объекта розничной продажи при его визуальном восприятии с высококачественной винодельческой продукцией; при визуальном восприятии упомянутой потребительской тары появления оптических спецэффектов и иллюзий восприятия.
Отличительные признаки изобретений, заключающиеся в том, что охватывающий или охватываемый сосуд выполняют из непрозрачного для видимого света материала или иметь непрозрачное для такого света покрытие, что один из сосудов выполняют из отражающего видимый свет материала или иметь отражающее такой свет покрытие, позволяют получить технический результат, выраженный в обеспечении возможностей: длительного хранения упомянутых компонентов в упомянутой потребительской таре без консервантов и пастеризации; использования широкой номенклатуры материалов при производства тары; длительного раздельного хранения упомянутых компонентов в упомянутой потребительской таре; длительного хранения натурального сухого вина в жидком виде.
Отличительный признак изобретений, заключающийся в том, что на охватывающем сосуде размещают этикетку с инструкцией, позволяет получить технический результат, выраженный в обеспечении возможности индуцирования ассоциативной связи соответствующего заявляемым изобретения объекта розничной продажи при его визуальном восприятии с высококачественной винодельческой продукцией.
Отличительные признаки изобретений, заключаются в том, что как минимум на одной из этикеток располагают изображение виноградной лозы, акцентирующее внимание пользователя на терпкие вкусовые оттенки композиции, либо в том, что как минимум на одной из этикеток располагают изображение виноградной ягоды, акцентирующее внимание пользователя на сладкие вкусовые оттенки упомянутой композиции, либо в том, что как минимум на одной из этикеток располагают изображение лимона, акцентирующее внимание пользователя на кислые вкусовые оттенки упомянутой композиции, либо в том, что как минимум на одной из этикеток располагают изображение полыни, акцентирующее внимание пользователя на горькие вкусовые оттенки упомянутой композиции, позволяют получить технический результат, выраженный в индуцировании ассоциативной связи соответствующего заявляемым изобретений объекта розничной продажи при его визуальном восприятии с высококачественной винодельческой продукцией, а также в обеспечении возможности выделения из многообразия вкусовых оттенков композиции вино с водой предпочтительного.
Отличительный признак изобретений, заключающийся в том, что этикетку с инструкцией располагают напротив как минимум одной плоской грани позволяет получить технический результат, выраженный в обеспечении возможности при визуальном восприятии упомянутой потребительской тары появления оптических спецэффектов и иллюзий восприятия.
Отличительный признак изобретений, заключающийся в том, что охватываемый сосуд включает лопасти, позволяет получить технический результат, выраженный в обеспечении возможности качественного перемешивания компонентов при откупорке упомянутой тары, позволяет получить технический результат, выраженный в обеспечении возможности качественного перемешивания упомянутых компонентов при откупорке (открытии) упомянутой тары.
В остальном по мнению авторов связь отличительных признаков представляемых изобретений с заявляемым техническим результатом очевидна.
Формула изобретения 1. Набор, включающий как минимум одну группу, состоящую как минимум из двух сосудов с рабочими емкостями, предназначенными для раздельного хранения на стадии продажи конечному потребителю как минимум двух жидких компонентов конечного продукта – композиции таких компонентов, отличающийся тем, что как минимум один из упомянутых сосудов группы выполнен наполненным минеральной водой, тогда как другие – натуральным сухим вином, причем сосуд, наполненный упомянутой водой, выполнен с объемом рабочей емкости, удовлетворяющим условию
где VW – объем рабочей емкости сосуда, наполненного водой;
– суммарный объем рабочих емкостей сосудов, наполненных вином i-й марки;
n – число марок вин, представленных упомянутой группой сосудов,
часть которого VW, удовлетворяющая условию
занята водой, и изготовлен из полиэтилена или другого материала, разрешенного органами здравоохранения или иными уполномоченными на то органами для контакта с упомянутыми водой и вином или только с водой, либо включает в местах контакта с ними соответствующие покрытия своих поверхностей, а сосуды, наполненные упомянутым вином, выполнены с объемом рабочих емкостей, удовлетворяющим условию
и изготовлены из стекла, или дуба, или титана, или другого материала, разрешенного органами здравоохранения или иными уполномоченными на то органами для контакта с упомянутыми вином и водой, либо включают в местах контакта с ними соответствующие покрытия своих поверхностей, при этом сосуды упомянутых групп выполнены с возможностью доступа в рабочие емкости, наполненные упомянутым вином, без их связывания с рабочими емкостями, наполненными упомянутой водой.
2. Набор по п.1, отличающийся тем, что упомянутый сосуд, наполненный упомянутой водой, от уровня последней проградуирован в соотношениях объема наполняющей сосуд воды к объему примешиваемой к ней жидкости (вина) при дополнении ею сосуда, и такая градуировка включает следующие соотношения 4:1, 6:1, 8:1, 10:1.
3. Набор по п.1 или 2, отличающийся тем, что упомянутые группы включают три сосуда, при этом эти сосуды выполнены в виде различных тел, одно из которых наполнено упомянутой водой и является большим по размеру, а два других – упомянутым вином и являются меньшими по размеру, причем сосуд, наполненный упомянутой водой, выполнен с большим как минимум в 1,2 раза по площади выходным отверстием, по сравнению с площадью выходных отверстий сосудов, наполненных упомянутым вином.
4. Набор по п.1 или 2, отличающийся тем, что упомянутые группы включают два сосуда, при этом эти сосуды выполнены в виде различных тел, одно из которых наполнено упомянутой водой и является большим по размеру, а другое – упомянутым вином и являются меньшими по размеру, причем сосуд, наполненный упомянутой водой, выполнен с большим как минимум в 1,2 раза по площади выходным отверстием по сравнению с площадью выходного отверстия сосуда, наполненного упомянутым вином.
5. Набор по любому из пп.1-4, отличающийся тем, что упомянутые сосуды, наполненные упомянутым вином, выполнены с объемом рабочей емкости, удовлетворяющим условию
где – суммарный объем рабочих емкостей сосудов, наполненных вином i-й марки.
6. Набор по любому из пп.1-5, отличающийся тем, что упомянутый сосуд, наполненный упомянутой водой, выполнен с объемом рабочей емкости, удовлетворяющим условию
где VW – объем рабочей емкости сосуда, наполненного водой;
– суммарный объем рабочих емкостей сосудов, наполненных вином i-й марки.
7. Набор по любому из пп.3-6, отличающийся тем, что упомянутые тела объединены посредством общего крепежного элемента или общей упаковки.
8. Набор по п.1, отличающийся тем, что упомянутое тело, наполненное упомянутой водой, дополнительно к упомянутой рабочей емкости имеет как минимум одну полость, в которой размещено упомянутое тело, наполненное упомянутым вином.
9. Набор по п.7, отличающийся тем, что центр выходного отверстия упомянутого тела, наполненного упомянутой водой, на виде сверху смещен более чем на пять миллиметров относительно центра тяжести упомянутой воды.
10. Набор по п.9, отличающийся тем, что упомянутые тела, наполненные упомянутым вином, в случае с группой, включающей три сосуда, посредством упомянутого крепежного элемента или общей упаковки сгруппированы с одной стороны от тела, наполненного упомянутой водой.
11. Набор по любому из пп.1-10, отличающийся тем, что упомянутые сосуды упомянутых групп, наполненные упомянутым вином, выполнены с объемом рабочих емкостей, удовлетворяющим условию
где для j-й группы;
k – число групп в наборе.
12. Набор по любому из пп.1-10, отличающийся тем, что упомянутые сосуды упомянутых групп, наполненные упомянутым вином, выполнены с объемом рабочих емкостей, удовлетворяющим условию
где для j-ой группы,
k – число групп в наборе.
13. Набор по п.11 или 12, отличающийся тем, что упомянутые группы объединены посредством общего крепежного элемента или общей упаковки.
14. Потребительская тара, предназначенная для раздельного хранения на стадии продажи конечному потребителю как минимум двух компонентов конечного продукта – композиции таких компонентов, включающая как минимум два сосуда с рабочими емкостями, наполненными такими компонентами, один из которых является охватывающим и включает рабочую емкость как минимум одного из оставшихся, далее – охватываемого сосуда, отличающаяся тем, что охватывающий и охватываемый сосуды выполнены наполненными соответственно минеральной водой и натуральным сухим вином так, что выполняются следующие условия
где – суммарный объем рабочих емкостей сосудов, наполненных вином i-й марки;
n – число марок вин, представленных в упомянутой таре,
где – площадь поверхности в м2 l-го охватываемого сосуда, контактирующего и с вином, и с водой, контактирующей с упомянутой водой;
– площадь поверхности в м2 такого сосуда, контактирующей с упомянутым вином;
m – число охватываемых сосудов, контактирующих и с вином, и с водой,
где VW – объем рабочей емкости охватывающего сосуда (сосуда, наполненного упомянутой водой),
причем тело, представляющее охватываемый сосуд, изготовлено из стекла, или дуба, или титана, или другого материала, разрешенного органами здравоохранения или иными уполномоченными на то органами для контакта с упомянутыми вином и водой, либо включает в местах контакта с ними соответствующие покрытия своих поверхностей, а тело, представляющее охватывающий сосуд, изготовлено из полиэтилена или другого материала, разрешенного органами здравоохранения или иными уполномоченными на то органами для контакта с упомянутой водой или и с упомянутой водой, и с упомянутым вином, либо включает в местах контакта с ней (с ними) соответствующие покрытия своих поверхностей, при этом упомянутые сосуды выполнены с возможностью доступа в рабочие емкости, содержащие упомянутое вино, без их связывания с рабочими емкостями, содержащими упомянутую воду.
15. Тара по п.14, отличающаяся тем, что упомянутые сосуды, наполненные упомянутым вином, выполнены с объемом рабочих емкостей, удовлетворяющим условию
где – суммарный объем рабочих емкостей сосудов, наполненных вином i-й марки;
n – число марок вин, представленных в упомянутой таре.
16. Тара по п.14, отличающаяся тем, что упомянутые сосуды, наполненные упомянутым вином, выполнены с объемом рабочих емкостей, удовлетворяющим условию
где – суммарный объем рабочих емкостей сосудов, наполненных вином i-й марки;
n – число марок вин, представленных в упомянутой таре.
17. Тара по п.14, отличающаяся тем, что упомянутые сосуды, наполненные упомянутым вином, выполнены с объемом рабочей емкости, удовлетворяющим условию
где – суммарный объем рабочих емкостей сосудов, наполненных вином i-й марки.
18. Тара по любому из пп.14-17, отличающаяся тем, что упомянутый сосуд, наполненный упомянутой водой, выполнен с объемом рабочей емкости, удовлетворяющим условию
где VW – объем рабочей емкости сосуда, наполненного водой;
– суммарный объем рабочих емкостей сосудов, наполненных вином i-й марки.
19. Тара по любому из пп.14-18, отличающаяся тем, что охватывающий сосуд в нижней части включает посадочную поверхность для охватываемого сосуда, соответствующая сопряженная поверхность которого обеспечивает с указанной посадочной плотное разъемное соединение.
20. Тара по любому из пп.14-19, отличающаяся тем, что упомянутые сосуды в верхней части укупорены общей пробкой с выполненной в виде единого конструктивного элемента (или узла), при этом такая пробка выполнена корковой или алюминиевой с перфорацией, или полиэтиленовой, или она выполнена в виде кроненпробки, или в виде другого укупорочного средства или из другого материала, разрешенных органами здравоохранения или иными уполномоченными на то органами для контакта с упомянутыми вином и водой, либо в местах контакта с упомянутыми вином и водой она имеет соответствующее покрытие своих поверхностей.
21. Тара по п.20, отличающаяся тем, что упомянутая пробка сопрягается с охватывающим сосудом посредством плотного резьбового соединения.
22. Тара по пп.19, 21, отличающаяся тем, что длина упомянутого в п.19 плотного разъемного соединения меньше длины упомянутого в п.21 плотного резьбового соединения.
23. Тара по п.21 или 22, отличающаяся тем, что упомянутое резьбовое соединение выполнено с отношением длины к шагу резьбы, не меньшим десяти.
24. Тара по п.20, отличающаяся тем, что упомянутая пробка сопрягается с охватываемым сосудом посредством неразъемного герметичного соединения.
25. Тара по п.20, отличающаяся тем, что упомянутая пробка включает как минимум одно воздухоподводное отверстие, один из торцов которого связан с упомянутой рабочей емкостью охватываемого сосуда, а другой герметично закрыт сопряжением пробки с охватывающим сосудом.
26. Тара по любому из пп.20-23, 25 отличающаяся тем, что упомянутая пробка включает фиксатор, обеспечивающий неразъемное герметичное соединение пробки с охватываемым сосудом посредством упругого элемента фиксатора, распирающего либо пробку, либо охватываемый сосуд.
27. Тара по п.26, отличающаяся тем, что упомянутые пробка и фиксатор сопряжены посредством герметичного соединения.
28. Тара по п.27, отличающаяся тем, что упомянутый фиксатор включает как минимум одно воздухопроводное отверстие, связывающее воздухоподводное отверстие с рабочей емкостью охватываемого сосуда.
29. Тара по п.20, отличающаяся тем, что упомянутая пробка соединяется с охватываемым сосудом посредством плотного резьбового соединения.
30. Тара по п.29, отличающаяся тем, что упомянутая пробка включает фиксатор, обеспечивающий блокировку упомянутого в п.29 резьбового соединения, посредством упругого элемента фиксатора, распирающего охватываемый сосуд.
31. Тара по любому из пп.1-30, отличающаяся тем, что отношение наибольшего измерения поперечного сечения упомянутой рабочей емкости охватывающего сосуда к наибольшему измерению поперечного сечения упомянутой рабочей емкости охватываемого сосуда не меньше корня квадратного из двух.
32. Тара по п.31, отличающаяся тем, что охватываемый сосуд выполнен преимущественно цилиндрическим.
33. Тара по п.31 или 32, отличающаяся тем, что если упомянутое в п.31 отношение меньше двух, то охватывающий сосуд выполнен как минимум с одной плоской гранью на своей боковой поверхности.
34. Тара по п.33, отличающаяся тем, что площадь упомянутой грани составляет не менее пяти процентов от площади охватывающего сосуда.
35. Тара по п.33 или 34, отличающаяся тем, что охватывающий сосуд выполнен с тремя плоскими гранями.
36. Тара по любому из пп.33-35, отличающаяся тем, что упомянутые плоские грани расположены вертикально.
37. Тара по любому из пп.33-36, отличающаяся тем, что упомянутые плоские грани имеют одинаковую в пределах погрешности изготовления площадь.
38. Тара по п.31 или 32, отличающаяся тем, что если упомянутое в п.31 отношение больше двух, то охватывающий сосуд выполнен преимущественно цилиндрическим.
39. Тара по п.31, отличающаяся тем, что если упомянутое в п.31 отношение больше трех, то охватываемый сосуд выполнен как минимум с одной плоской гранью на своей боковой поверхности.
40. Тара по п.39, отличающаяся тем, что площадь упомянутой грани составляет не менее пяти процентов от площади охватываемого сосуда.
41. Тара по п.39 или 40, отличающаяся тем, что охватываемый сосуд выполнен с тремя плоскими гранями.
42. Тара по любому из пп.39-41, отличающаяся тем, что упомянутые плоские грани расположены вертикально.
43. Тара по любому из пп.39-42, отличающаяся тем, что упомянутые плоские грани имеют одинаковую в пределах погрешности изготовления площадь.
44. Тара по любому из пп.31-43, отличающаяся тем, что охватываемый сосуд с точки зрения расположения центров тяжести поперечных сечений сосудов на поперечном сечении тары расположен по центру охватывающего с допуском, определяемым погрешностями изготовления и расположения сосудов.
45. Тара по пп.32, 38, отличающаяся тем, что упомянутые сосуды расположены соосно с допуском, определяемым погрешностями изготовления и расположения тел.
46. Тара по любому из пп.1-24, или 29, или 31-45, отличающаяся тем, что охватывающий сосуд в верхней части включает посадочную поверхность для охватываемого сосуда, соответствующая сопряженная поверхность которого обеспечивает с указанной посадочной герметичное разъемное соединение.
47. Тара по п.46, отличающаяся тем, что как минимум один фрагмент упомянутой в п.46 посадочной поверхности верхней части и упомянутой в п.46 сопряженной выполнен в виде фрагмента цилиндра или в виде цилиндра.
48. Тара по п.46 или 47, отличающаяся тем, что охватываемый сосуд в области упомянутой в п.46 сопряженной поверхности имеет как минимум одно воздухоподводное отверстие, герметично закрытое упомянутой в п.46 посадочной поверхностью с точки зрения проникновения в него наружного воздуха, а также упомянутой воды.
49. Тара по п.48, отличающаяся тем, что упомянутые отверстия выполнены вытянутыми в вертикальном направлении.
50. Тара по любому из пп.46-49, отличающаяся тем, что пробка включает фиксатор охватываемого сосуда, сопрягаемый с ней посредством неразъемного соединения.
51. Тара по п.50, отличающаяся тем, что охватываемый сосуд в верхней части включает посадочную поверхность для пробки, соответствующая сопряженная поверхность которой обеспечивает с указанной посадочной плотное соединение.
52. Тара по п.51, отличающаяся тем, что охватываемый сосуд в верхней части включает посадочную поверхность для фиксатора охватываемого сосуда, соответствующая сопряженная поверхность которого обеспечивает с указанной посадочной неразъемное соединение, при этом указанный фиксатор, распирая охватываемый сосуд, обеспечивает его неразъемное соединение с пробкой.
53. Тара по п.52, отличающаяся тем, что пробка включает посадочную поверхность для фиксатора, соответствующая сопряженная поверхность которого обеспечивает неразъемное соединение фиксатора с пробкой, и либо это соединение, либо упомянутое в п.52 неразъемное соединение упомянутого фиксатора с охватываемым сосудом выполнено герметичным с точки зрения протекания упомянутого вина вовне тары.
54. Тара по любому из пп.46-49, отличающаяся тем, что она включает переходник с как минимум одним воздухоподводным отверстием, выполненный как конструктивный элемент пробки и соединяющий охватываемый сосуд с упомянутой пробкой и охватывающим сосудом.
55. Тара по п.54, отличающаяся тем, что упомянутый переходник с воздухоподводным отверстием в своей нижней части включает посадочную поверхность для охватываемого сосуда, соответствующая сопряженная поверхность которого обеспечивает с указанной посадочной плотное герметичное соединение.
56. Тара по п.54 или 55, отличающаяся тем, что упомянутый переходник с воздухоподводным отверстием в своей средней части включает посадочную поверхность для охватывающего сосуда, соответствующая сопряженная поверхность которого обеспечивает с указанной посадочной герметичное соединение.
57. Тара по п.56, отличающаяся тем, что упомянутый переходник с воздухоподводным отверстием в упомянутой средней части включает как минимум одно соединенное с рабочей емкостью упомянутого охватываемого сосуда воздухоподводное отверстие, закрытое от внешней среды упомянутой в п.56 сопряженной поверхностью.
58. Тара по любому из пп.54-57, отличающаяся тем, что упомянутый переходник с воздухоподводным отверстием в своей верхней части включает посадочную поверхность для упомянутой пробки, соответствующая сопряженная поверхность которой обеспечивает с указанной посадочной плотное соединение.
59. Тара по п.58, отличающаяся тем, что упомянутое в п.58 плотное соединение выполнено неразъемным.
60. Тара по п.58, отличающаяся тем, что упомянутое в п.58 плотное соединение выполнено герметичным с точки зрения протекания упомянутого вина вовне тары.
61. Тара по п.58, отличающаяся тем, что упомянутая пробка включает фиксатор охватываемого сосуда и переходника, и такой фиксатор включает как минимум одно воздухопроводное отверстие, а упомянутый переходник с воздухоподводным отверстием в верхней и/или нижней части включает посадочную поверхность для указанного фиксатора, соответствующая сопряженная поверхность которого обеспечивает с указанной посадочной неразъемное соединение, при этом указанный фиксатор обеспечивает жесткое неразъемное соединение переходника с пробкой и/или с упомянутым охватываемым сосудом.
62. Тара по п.61, отличающаяся тем, что упомянутое в п.61 неразъемное соединение упомянутого фиксатора охватываемого сосуда и переходника с последним в упомянутой в п.61 верхней части выполнено герметичным с точки зрения протекания упомянутого вина вовне тары.
63. Тара по любому из пп.46-49, отличающаяся тем, что она включает выполненный как конструктивный элемент упомянутой пробки переходник с как минимум одним воздухопроводным отверстием, присоединенный посредством неразъемного соединения к охватываемому сосуду и соединяющий его с упомянутой пробкой.
64. Тара по п.63, отличающаяся тем, что упомянутый переходник с воздухопроводным отверстием включает посадочную поверхность для фиксатора переходника, соответствующая сопряженная поверхность которого обеспечивает с указанной посадочной неразъемное соединение, при этом фиксатор обеспечивает жесткое неразъемное соединение переходника с упомянутой пробкой.
65. Тара по п.64, отличающаяся тем, что упомянутое в п.64 неразъемное соединение выполнено герметичным с точки зрения протекания упомянутого вина вовне тары.
66. Тара по любому из пп.19-65, отличающаяся тем, что упомянутое в п.19 плотное разъемное соединение выполнено герметичным.
67. Тара по п.66, отличающаяся тем, что как минимум один фрагмент упомянутых в п.19 посадочной и сопряженной поверхностей выполнен в виде фрагмента цилиндра или в виде цилиндра.
68. Тара по п.66 или 67, отличающаяся тем, что как минимум один фрагмент упомянутых в п.19 посадочной и сопряженной поверхностей выполнен в виде фрагмента конуса с углом при вершине не более 15 или конусным с таким же углом при вершине.
69. Тара по любому из пп.19-68, отличающаяся тем, что охватывающий сосуд в нижней части в месте упомянутой в п.19 посадочной поверхности включает полость, в которую установлен упругий блокиратору входящий с охватывающим сосудом в упругое соединение, обеспечивающее гарантированное плотное герметичное разъемное соединение охватываемого и охватывающего сосудов.
70. Тара по любому из пп.19-68, отличающаяся тем, что охватывающий сосуд в нижней части в месте упомянутой в п.19 посадочной поверхности включает полость, в которую установлен упругий блокиратору входящий с охватывающим сосудом в упругое соединение, обеспечивающее неразъемное соединение упомянутой посадочной поверхности охватывающего сосуда с упомянутой сопрягаемой поверхностью охватываемого сосуда.
71. Тара по п.69 или 70, отличающаяся тем, что упомянутая установка блокиратора выполнена посредством хотя бы одного фрагмента резьбового соединения.
72. Тара по п.11, отличающаяся тем, что упомянутое в п.71 резьбовое соединение выполнено конусообразным.
73. Тара по пп.70 и 71 или 72, отличающаяся тем, что упомянутый блокиратор выполнен съемным.
74. Тара по п.73, отличающаяся тем, что упомянутый блокиратор включает ухват (ручку).
75. Тара по любому из пп.14-74, отличающаяся тем, что охватываемый сосуд выполнен с возможностью его установки в наполненный водой охватывающий без проникновения воды из рабочей емкости охватывающего в рабочую емкость охватываемого.
76. Тара по п.75, отличающаяся тем, что охватываемый сосуд выполнен герметичным с точки зрения упомянутого проникновения.
77. Тара по п.76, отличающаяся тем, что охватываемый сосуд в нижней части включает донную пробку, препятствующую связыванию упомянутых емкостей и, следовательно, упомянутому проникновению, при этом указанная донная пробка выполнена корковой или алюминиевой с перфорацией, или полиэтиленовой, или в виде кроненпробки, или в виде другого укупорочного средства, разрешенного органами здравоохранения или иными уполномоченными на то органами для контакта с упомянутым вином.
78. Тара по п.76, отличающаяся тем, что охватываемый сосуд в нижней части включает перегородку (в частном случае – пленочную), препятствующую связыванию упомянутых емкостей и, следовательно, упомянутому проникновению или в собранной таре – остатки такой перегородки.
79. Тара по п.76, отличающаяся тем, что охватывающий сосуд выполнен с возможностью нарушения герметичности с упомянутой точки зрения охватываемого сосуда при сборке тары и/или при ее откупоривании.
80. Тара по пп.78 и 79, отличающаяся тем, что охватывающий сосуд включает перфоратор для нарушения целостности и, следовательно, герметичности с упомянутой точки зрения охватываемого сосуда.
81. Тара по пп.77 или 78 и 79, отличающаяся тем, что охватывающей сосуд включает толкатель для смещения упомянутой донной пробки или упомянутой перегородки.
82. Тара по п.81, отличающаяся тем, что охватываемый сосуд включает уступ для препятствования выхода из него упомянутой перегородки.
83. Тара по п.77 или 81, отличающаяся тем, что упомянутый толкатель выполнен с возможностью образовывать с упомянутой донной пробкой неразъемное соединение.
84. Тара по п.83, отличающаяся тем, что упомянутый толкатель содержит разъем, сопрягаемый с ответным разъемом на упомянутой донной пробке.
85. Тара по п.83, отличающаяся тем, что упомянутый толкатель включает штифт, пронизывающий упомянутую донную пробку, который развальцован (или расклепан, или термически оплавлен) в рабочей емкости охватываемого сосуда, для образования упомянутого в п.83 неразъемного соединения.
86. Тара по любому из пп.14-85, отличающаяся тем, что охватывающий и/или охватываемый сосуды выполнен(ы) из материала с показателем преломления для длины волны 555 нм, совпадающим с точностью до десятых долей после стандартного округления с показателем преломления упомянутой воды.
87. Тара по любому из пп.14-85, отличающаяся тем, что охватывающий сосуд выполнен из материала с показателем преломления для длины волны 555 нм, большим показателя преломления упомянутой воды.
88. Тара по любому из пп.14-85, отличающаяся тем, что охватываемый сосуд выполнен из материала с показателем преломления для длины волны 555 нм, меньшим показателя преломления упомянутой воды.
89. Тара по любому из пп.14-85, отличающаяся тем, что охватываемый сосуд выполнен из двухслойной комбинации материала, при этом обращенный к упомянутой воде слой выполнен из материала с показателем преломления для длины волны 555 нм, меньшим показателя преломления упомянутой воды, а обращенный к упомянутому вину слой выполнен из материала с показателем преломления для длины волны 555 нм, большим показателя преломления упомянутого вина.
90. Тара по п.89, отличающаяся тем, что между упомянутыми слоями на удалении, превышающем 20 мм, от места крепления или установки одного из упомянутых сосудов в другом сосуде либо от места сопряжения тел, либо от свободных поверхностей упомянутых компонентов при нормальном положении упомянутой тары, расположена воздушная пленка толщиной не менее 0,1 мм.
91. Тара по любому из пп.14-90, отличающаяся тем, что на охватываемом теле размещена этикетка, идентифицирующая упомянутое вино.
92. Тара по п.91, отличающаяся тем, что упомянутая этикетка размещена как минимум на одном из упомянутых слоев со стороны упомянутой воздушной пленки.
93. Тара по п.91 или 92, отличающаяся тем, что упомянутая этикетка выполнена посредством привнесения макрошероховатости как минимум на одну из поверхностей охватываемого сосуда: граничащую с упомянутой водой, и/или граничащую с упомянутым вином, и/или граничащую с упомянутой воздушной пленкой.
94. Тара по любому из пп.39-43 и по любому из пп.91-93, отличающаяся тем, что упомянутая этикетка размещена как минимум на одном ребре (на области между упомянутыми в пп.22-26 плоскими гранями) охватываемого сосуда.
95. Тара по любому из пп.14-85, отличающаяся тем, что охватывающий или охватываемый сосуд выполнен из непрозрачного для видимого света материала или имеет непрозрачное для такого света покрытие.
96. Тара по п.95, отличающаяся тем, что один из упомянутых сосудов выполнен из отражающего видимый свет материала или имеет отражающее такой свет покрытие.
97. Тара по любому из пп.14-96, отличающаяся тем, что на охватывающем сосуде размещена этикетка с инструкцией.
98. Тара по любому из пп.91-97, отличающаяся тем, что как минимум на одной из упомянутых этикеток расположено изображение виноградной лозы, акцентирующее внимание пользователя на терпкие вкусовые оттенки упомянутой композиции, либо изображение иного, вызывающего такую акцентуацию объекта.
99. Тара по любому из пп.91-97, отличающаяся тем, что как минимум на одной из упомянутых этикеток расположено изображение виноградной ягоды, акцентирующее внимание пользователя на сладкие вкусовые оттенки упомянутой композиции, либо изображение иного, вызывающего такую акцентуацию объекта.
100. Тара по любому из пп.91-97, отличающаяся тем, что как минимум на одной из упомянутых этикеток расположено изображение лимона, акцентирующее внимание пользователя на кислые вкусовые оттенки упомянутой композиции, либо изображение иного, вызывающего такую акцентуацию объекта.
101. Тара по любому из пп.91-97, отличающаяся тем, что как минимум на одной из упомянутых этикеток расположено изображение полыни, акцентирующее внимание пользователя на горькие вкусовые оттенки упомянутой композиции, либо изображение иного, вызывающего такую акцентуацию объекта.
102. Тара по любому из пп.39-43 и по любому из пп.97-101, отличающаяся тем, что упомянутая в пп.44-48 этикетка с инструкцией расположена напротив как минимум одной упомянутой в пп.22-26 плоской грани.
103. Тара по любому из пп.14-102, отличающаяся тем, что охватываемый сосуд включает выступы (лопасти).
РИСУНКИ
|
||||||||||||||||||||||||||

где VW – объем рабочей емкости сосуда, наполненного водой,
– суммарный объем рабочих емкостей сосудов, наполненных вином i-й марки,
n – число марок вин, представленных упомянутой группой сосудов, часть которого
VW, удовлетворяющая условию
занята водой, и изготовлен из полиэтилена или другого материала, разрешенного органами здравоохранения или иными уполномоченными на то органами для контакта с упомянутыми водой и вином или только с водой, либо включает в местах контакта с ними соответствующие покрытия своих поверхностей, а сосуды, наполненные упомянутым вином, выполнены с объемом рабочих емкостей, удовлетворяющим условию
и изготовлены из стекла, или дуба, или титана, или другого материала, разрешенного органами здравоохранения или иными уполномоченными на то органами для контакта с упомянутыми вином и водой, либо включают в местах контакта с ними соответствующие покрытия своих поверхностей, при этом сосуды упомянутых групп выполнены с возможностью доступа в рабочие емкости, наполненные упомянутым вином, без их связывания с рабочими емкостями, наполненными упомянутой водой.
Также заявляемый технический результат достигается при реализации следующих частных отличительных признаков.
Упомянутый сосуд набора, наполненный упомянутой водой, от уровня последней может быть проградуирован в соотношениях объема наполняющей сосуд воды к объему примешиваемой к ней жидкости (вина) при дополнении ею сосуда, и такая градуировка может включать следующие соотношения: 4:1, 6:1, 8:1, 10:1.
Упомянутые группы набора могут включать три сосуда, при этом эти сосуды могут быть выполнены в виде различных тел, одно из которых может быть наполнено упомянутой водой и являться большим по размеру, а два других – упомянутым вином и являться меньшими по размеру, причем сосуд, наполненный упомянутой водой, может быть выполнен с большим как минимум в 1,2 раза по площади выходным отверстием, по сравнению с площадью выходных отверстий сосудов, наполненных упомянутым вином.
Упомянутые группы набора могут включать два сосуда, при этом эти сосуды могут быть выполнены в виде различных тел, одно из которых может быть наполнено упомянутой водой и являться большим по размеру, а другое – упомянутым вином и являться меньшими по размеру, причем сосуд, наполненный упомянутой водой, может быть выполнен с большим как минимум в 1,2 раза по площади выходным отверстием по сравнению с площадью выходного отверстия сосуда, наполненного упомянутым вином.
Упомянутые сосуды набора, наполненные упомянутым вином, могут быть выполнены с объемом рабочей емкости, удовлетворяющим условию
где
– суммарный объем рабочих емкостей сосудов, наполненных вином i-й марки.
Упомянутый сосуд набора, наполненный упомянутой водой, может быть выполнен с объемом рабочей емкости, удовлетворяющим условию
где VW – объем рабочей емкости сосуда, наполненного водой,
– суммарный объем рабочих емкостей сосудов, наполненных вином i-й марки.
Упомянутые тела могут быть объединены посредством общего крепежного элемента или общей упаковки.
Упомянутое тело, наполненное упомянутой водой, дополнительно к упомянутой рабочей емкости может иметь как минимум одну полость, в которой размещено упомянутое тело, наполненное упомянутым вином.
Центр выходного отверстия упомянутого тела, наполненного упомянутой водой, на виде сверху может быть смещен более чем на пять миллиметров относительно центра тяжести упомянутой воды.
Упомянутые тела, наполненные упомянутым вином, в случае с группой, включающей три сосуда, посредством упомянутого крепежного элемента или общей упаковки могут быть сгруппированы с одной стороны от тела, наполненного упомянутой водой.
Упомянутые сосуды упомянутых групп набора, наполненные упомянутым вином, могут быть выполнены с объемом рабочих емкостей, удовлетворяющим условию
где
для j-й группы,
k – число групп в наборе.
Упомянутые сосуды упомянутых групп набора, наполненные упомянутым вином, могут быть выполнены с объемом рабочих емкостей, удовлетворяющим условию
где
для j-й группы,
k – число групп в наборе.
Упомянутые группы набора могут быть объединены посредством общего крепежного элемента или общей упаковки.
В части другого изобретения в объект изобретения потребительская тара, предназначенная для раздельного хранения на стадии продажи конечному потребителю как минимум двух компонентов конечного продукта – композиции таких компонентов, включающая как минимум два сосуда с рабочими емкостями, наполненными такими компонентами, один из которых является охватывающим и включает рабочую емкость как минимум одного из оставшихся, далее – охватываемого сосуда, – введены следующие отличительные признаки: охватывающий и охватываемый сосуды выполнены наполненными соответственно минеральной водой и натуральным сухим вином так, что выполняются следующие условия:
где
– суммарный объем рабочих емкостей сосудов, наполненных вином i-й марки,
n – число марок вин, представленных в упомянутой таре,
где
– площадь поверхности в м2 1-го охватываемого сосуда, контактирующего и с вином, и с водой, контактирующей с упомянутой водой,
где
– площадь поверхности в м2 такого сосуда, контактирующей с упомянутым вином,
m – число охватываемых сосудов, контактирующих и с вином и с водой,
где VW – объем рабочей емкости охватывающего сосуда (сосуда, наполненного упомянутой водой), причем тело, представляющее охватываемый сосуд, изготовлено из стекла, или дуба, или титана, или другого материала, разрешенного органами здравоохранения или иными уполномоченными на то органами для контакта с упомянутыми вином и водой, либо включает в местах контакта с ними соответствующие покрытия своих поверхностей, а тело, представляющее охватывающий сосуд, изготовлено из полиэтилена или другого материала, разрешенного органами здравоохранения или иными уполномоченными на то органами для контакта с упомянутой водой или и с упомянутой водой, и с упомянутым вином, либо включает в местах контакта с ней (с ними) соответствующие покрытия своих поверхностей, при этом упомянутые сосуды выполнены с возможностью доступа в рабочие емкости, содержащие упомянутое вино, без их связывания с рабочими емкостями, содержащими упомянутую воду.
Также заявляемый технический результат достигается при реализации следующих частных отличительных признаков.
Упомянутые сосуды, наполненные упомянутым вином, могут быть выполнены с объемом рабочих емкостей, удовлетворяющим условию
где
– суммарный объем рабочих емкостей сосудов, наполненных вином i-й марки,
n – число марок вин, представленных в упомянутой таре.
Упомянутые сосуды, наполненные упомянутым вином, могут быть выполнены с объемом рабочих емкостей, удовлетворяющим условию
где
– суммарный объем рабочих емкостей сосудов, наполненных вином i-й марки;
n – число марок вин, представленных в упомянутой таре.
Упомянутые сосуды, наполненные упомянутым вином, могут быть выполнены с объемом рабочей емкости, удовлетворяющим условию
где
– суммарный объем рабочих емкостей сосудов, наполненных вином i-й марки.
Упомянутый сосуд, наполненный упомянутой водой, может быть выполнен с объемом рабочей емкости, удовлетворяющим условию
где VW – объем рабочей емкости сосуда, наполненного
– суммарный объем рабочих емкостей сосудов, наполненных вином i-й марки.
Охватывающий сосуд в нижней части может включать посадочную поверхность для охватываемого сосуда, соответствующая сопряженная поверхность которого обеспечивает с указанной посадочной плотное разъемное соединение.
Упомянутые сосуды в верхней части могут быть укупорены общей пробкой, выполненной в виде единого конструктивного элемента (или узла), при этом такая пробка может быть выполнена корковой, или алюминиевой с перфорацией, или полиэтиленовой, или она может быть выполнена в виде кроненпробки, или в виде другого укупорочного средства или из другого материала, разрешенных органами здравоохранения или иными уполномоченными на то органами для контакта с упомянутыми вином и водой, либо в местах контакта с упомянутыми вином и водой она может иметь соответствующее покрытие своих поверхностей.
Упомянутая пробка может сопрягаться с охватывающим сосудом посредством плотного резьбового соединения.
Длина упомянутого плотного разъемного соединения может быть меньше длины упомянутого плотного резьбового соединения.
Упомянутое резьбовое соединение может быть выполнено с отношением длины к шагу резьбы, не меньшим десяти.
Упомянутая пробка может сопрягаться с охватываемым сосудом посредством неразъемного герметичного соединения.
Упомянутая пробка может включать как минимум одно воздухоподводное отверстие, один из торцов которого связан с упомянутой рабочей емкостью охватываемого сосуда, а другой герметично закрыт сопряжением пробки с охватывающим сосудом.
Упомянутая пробка может включать фиксатора обеспечивающий неразъемное герметичное соединение пробки с охватываемым сосудом посредством упругого элемента фиксатора, распирающего либо пробку, либо охватываемый сосуд.
Упомянутые пробка и фиксатор могут быть сопряжены посредством герметичного соединения.
Упомянутый фиксатор может включать как минимум одно воздухопроводное отверстие, связывающее воздухоподводное отверстие с рабочей емкостью охватываемого сосуда.
Упомянутая пробка может соединяться с охватываемым сосудом посредством плотного резьбового соединения.
Упомянутая пробка может включать фиксатор, обеспечивающий блокировку упомянутого в п.29 резьбового соединения, посредством упругого элемента фиксатора, распирающего охватываемый сосуд.
Отношение наибольшего измерения поперечного сечения упомянутой рабочей емкости охватывающего сосуда к наибольшему измерению поперечного сечения упомянутой рабочей емкости охватываемого сосуда может быть не меньше корня квадратного из двух.
Охватываемый сосуд может быть выполнен преимущественно цилиндрическим.
В случае если отношение наибольшего измерения поперечного сечения упомянутой рабочей емкости охватывающего сосуда к наибольшему измерению поперечного сечения упомянутой рабочей емкости охватываемого сосуда меньше двух, охватывающий сосуд может быть выполнен как минимум с одной плоской гранью на своей боковой поверхности.
Площадь упомянутой грани может составлять не менее пяти процентов от площади охватывающего сосуда.
Охватывающий сосуд может быть выполнен с тремя плоскими гранями.
В случае если отношение наибольшего измерения поперечного сечения упомянутой рабочей емкости охватывающего сосуда к наибольшему измерению поперечного сечения упомянутой рабочей емкости охватываемого сосуда больше двух, охватывающий сосуд может быть выполнен преимущественно цилиндрическим.
В случае если отношение наибольшего измерения поперечного сечения упомянутой рабочей емкости охватывающего сосуда к наибольшему измерению поперечного сечения упомянутой рабочей емкости охватываемого сосуда больше трех, то охватываемый сосуд может быть выполнен как минимум с одной плоской гранью на своей боковой поверхности.
Площадь упомянутой грани может составлять не менее пяти процентов от площади охватываемого сосуда.
Охватываемый сосуд может быть выполнен с тремя плоскими гранями.
Упомянутые плоские грани охватывающего и охватываемого сосуда могут быть расположены вертикально.
Упомянутые плоские грани охватывающего и охватываемого сосуда могут иметь одинаковую в пределах погрешности изготовления площадь.
Охватываемый сосуд с точки зрения расположения центров тяжести поперечных сечений сосудов на поперечном сечении тары может быть расположен по центру охватывающего с допуском, определяемым погрешностями изготовления и расположения сосудов.
Упомянутые сосуды могут быть расположены соосно с допуском, определяемым погрешностями изготовления и расположения тел.
Охватывающий сосуд в верхней части может включать посадочную поверхность для охватываемого сосуда, соответствующая сопряженная поверхность которого обеспечивает с указанной посадочной герметичное разъемное соединение.
Как минимум один фрагмент упомянутой посадочной поверхности верхней части и упомянутой сопряженной может быть выполнен в виде фрагмента цилиндра или в виде цилиндра.
Охватываемый сосуд в области упомянутой сопряженной поверхности может иметь как минимум одно воздухоподводное отверстие, герметично закрытое упомянутой посадочной поверхностью с точки зрения проникновения в него наружного воздуха, а также упомянутой воды.
Упомянутые отверстия могут быть выполнены вытянутыми в вертикальном направлении.
Пробка может включать фиксатор охватываемого сосуда, сопрягаемый с ней посредством неразъемного соединения.
Охватываемый сосуд в верхней части может включать посадочную поверхность для пробки, соответствующая сопряженная поверхность которой обеспечивает с указанной посадочной плотное соединение.
Охватываемый сосуд в верхней части может включать посадочную поверхность для фиксатора охватываемого сосуда, соответствующая сопряженная поверхность которого обеспечивает с указанной посадочной неразъемное соединение, при этом указанный фиксатор, распирая охватываемый сосуд, обеспечивает его неразъемное соединение с пробкой.
Пробка может включать посадочную поверхность для фиксатора, соответствующая сопряженная поверхность которого обеспечивает неразъемное соединение фиксатора с пробкой и либо это соединение, либо упомянутое неразъемное соединение упомянутого фиксатора с охватываемым сосудом может быть выполнено герметичным с точки зрения протекания упомянутого вина вовне тары.
Тара может включать переходник с как минимум одним воздухоподводным отверстием, выполненный как конструктивный элемент пробки и соединяющий охватываемый сосуд с упомянутой пробкой и охватывающим сосудом.
Упомянутый переходник с воздухоподводным отверстием в своей нижней части может включать посадочную поверхность для охватываемого сосуда, соответствующая сопряженная поверхность которого обеспечивает с указанной посадочной плотное герметичное соединение.
Упомянутый переходник с воздухоподводным отверстием в своей средней части может включать посадочную поверхность для охватывающего сосуда, соответствующая сопряженная поверхность которого обеспечивает указанной посадочной герметичное соединение.
Упомянутый переходник с воздухоподводным отверстием в упомянутой средней части может включать как минимум одно соединенное с рабочей емкостью упомянутого охватываемого сосуда воздухоподводное отверстие, закрытое от внешней среды упомянутой сопряженной поверхностью.
Упомянутый переходник с воздухоподводным отверстием в своей верхней части может включать посадочную поверхность для упомянутой пробки, соответствующая сопряженная поверхность которой обеспечивает с указанной посадочной плотное соединение.
Упомянутое плотное соединение может быть выполнено неразъемным.
Упомянутое плотное соединение может быть выполнено герметичным с точки зрения протекания упомянутого вина вовне тары.
Упомянутая пробка может включать фиксатор охватываемого сосуда и переходника и такой фиксатор может включать как минимум одно воздухопроводное отверстие, а упомянутый переходник с воздухоподводным отверстием в верхней и/или нижней части может включать посадочную поверхность для указанного фиксатора, соответствующая сопряженная поверхность которого обеспечивает с указанной посадочной неразъемное соединение, при этом указанный фиксатор обеспечивает жесткое неразъемное соединение переходника с пробкой и/или с упомянутым охватываемым сосудом.
Упомянутое здесь неразъемное соединение упомянутого фиксатора охватываемого сосуда и переходника с последним в упомянутой верхней части может быть выполнено герметичным с точки зрения протекания упомянутого вина вовне тары.
Тара может включать выполненный как конструктивный элемент упомянутой пробки переходник с как минимум одним воздухопроводным отверстием, присоединенный посредством неразъемного соединения к охватываемому сосуду и соединяющий его с упомянутой пробкой.
Упомянутый переходник с воздухопроводным отверстием может включать посадочную поверхность для фиксатора переходника, соответствующая сопряженная поверхность которого обеспечивает с указанной посадочной неразъемное соединение, при этом фиксатор обеспечивает жесткое неразъемное соединение переходника с упомянутой пробкой.
Упомянутое в предыдущем абзаце неразъемное соединение может быть выполнено герметичным с точки зрения протекания упомянутого вина вовне тары.
Упомянутое плотное разъемное соединение упомянутой посадочной поверхности охватывающего тела в его упомянутой нижней части с упомянутой соответствующей сопряженной (сопрягаемой) поверхностью охватываемого тела может быть выполнено герметичным.
Как минимум один фрагмент упомянутых посадочной и сопряженной поверхностей может быть выполнен в виде фрагмента цилиндра или в виде цилиндра.
Как минимум один фрагмент упомянутых посадочной и сопряженной поверхностей может быть выполнен в виде фрагмента конуса с углом при вершине не более пятнадцати градусов или конусным с таким же углом при вершине.
Охватывающий сосуд в нижней части в месте упомянутой посадочной поверхности может включать полость, в которую установлен упругий блокиратор, входящий с охватывающим сосудом в упругое соединение, обеспечивающее гарантированное плотное герметичное разъемное соединение охватываемого и охватывающего сосудов.
Охватывающий сосуд в нижней части в месте упомянутой посадочной поверхности может включать полость, в которую установлен упругий блокиратор, входящий с охватывающим сосудом в упругое соединение, обеспечивающее неразъемное соединение упомянутой посадочной поверхности охватывающего сосуда с упомянутой сопрягаемой поверхностью охватываемого сосуда.
Упомянутая установка блокиратора может быть выполнена посредством хотя бы одного фрагмента резьбового соединения.
Упомянутое резьбовое соединение может быть выполнено конусообразным.
Упомянутый блокиратор может быть выполнен съемным.
Упомянутый блокиратор может включать ухват (ручку).
Охватываемый сосуд может быть выполнен с возможностью его установки в наполненный водой охватывающий без проникновения воды из рабочей емкости охватывающего в рабочую емкость охватываемого.
Охватываемый сосуд может быть выполнен герметичным с точки зрения упомянутого проникновения.
Охватываемый сосуд в нижней части может включать донную пробку, препятствующую связыванию упомянутых емкостей и, следовательно, упомянутому проникновению, при этом указанная донная пробка может быть выполнена корковой или алюминиевой с перфорацией, или полиэтиленовой, или в виде кроненпробки, или в виде другого укупорочного средства, разрешенного органами здравоохранения или иными уполномоченными на то органами для контакта с упомянутым вином.
Охватываемый сосуд в нижней части может включать перегородку (в частном случае – пленочную), препятствующую связыванию упомянутых емкостей и, следовательно, упомянутому проникновению. Иначе можно сказать, что охватываемый сосуд в заявляемой таре может включать остатки обсуждаемой перегородки.
Охватывающий сосуд может быть выполнен с возможностью нарушения герметичности с упомянутой точки зрения охватываемого сосуда при сборке тары и/или при ее откупоривании.
Охватывающий сосуд может включать перфоратор для нарушения целостности и, следовательно, герметичности с упомянутой точки зрения охватываемого сосуда.
Охватывающий сосуд может включать толкатель для смещения упомянутой донной пробки или упомянутой перегородки.
Охватываемый сосуд может включать уступ для препятствования выхода из него упомянутой перегородки.
Упомянутый толкатель может быть выполнен с возможностью образовывать с упомянутой донной пробкой неразъемное соединение (пазл, замок).
Упомянутый толкатель может содержать разъем, сопрягаемый с ответным разъемом на упомянутой донной пробке.
Упомянутый толкатель может включать штифт, пронизывающий упомянутую донную пробку, который развальцован (или расклепан, или термически оплавлен) в рабочей емкости охватываемого сосуда, для образования упомянутого неразъемного соединения.
Охватывающий и/или охватываемый сосуды могут быть выполнен(ы) из материала с показателем преломления для длины волны пятьсот пятьдесят пять нанометров, совпадающим с точностью до десятых долей после стандартного округления с показателем преломления упомянутой воды.
Охватывающий сосуд может быть выполнен из материала с показателем преломления для длины волны пятьсот пятьдесят пять нанометров, большим показателя преломления упомянутой воды.
Охватываемый сосуд может быть выполнен из материала с показателем преломления для длины волны пятьсот пятьдесят пять нанометров, меньшим показателя преломления упомянутой воды.
Охватываемый сосуд может быть выполнен из двухслойной комбинации материала, при этом обращенный к упомянутой воде слой может быть выполнен из материала с показателем преломления для длины волны пятьсот пятьдесят пять нанометров, меньшим показателя преломления упомянутой воды, а обращенный к упомянутому вину слой – из материала с показателем преломления для длины волны пятьсот пятьдесят пять нанометров, большим показателя преломления упомянутого вина.
Между упомянутыми слоями на удалении, превышающем двадцать миллиметров от места крепления или установки одного из упомянутых сосудов в другом сосуде либо от места сопряжения тел, либо от свободных поверхностей упомянутых компонентов при нормальном положении упомянутой тары, может быть расположена воздушная пленка, толщиной не менее одной десятой миллиметра.
На охватываемом теле может быть размещена этикетка, идентифицирующая упомянутое вино.
Упомянутая этикетка может быть размещена как минимум на одном из упомянутых слоев со стороны упомянутой воздушной пленки.
Упомянутая этикетка может быть выполнена посредством привнесения макрошероховатости как минимум на одну из поверхностей охватываемого сосуда: граничащую с упомянутой водой и/или граничащую с упомянутым вином, и/или граничащую с упомянутой воздушной пленкой.
Упомянутая этикетка может быть размещена как минимум на одном ребре (на области между упомянутыми плоскими гранями) охватываемого сосуда.
Охватывающий или охватываемый сосуд может быть выполнен из непрозрачного для видимого света материала или иметь непрозрачное для такого света покрытие.
Один из упомянутых сосудов может быть выполнен из отражающего видимый свет материала или иметь отражающее такой свет покрытие.
На охватывающем сосуде может быть размещена этикетка с инструкцией.
Как минимум на одной из упомянутых этикеток может быть расположено изображение виноградной лозы, акцентирующее внимание пользователя на терпкие вкусовые оттенки упомянутой композиции, либо изображение иного вызывающего такую акцентуацию объекта.
Как минимум на одной из упомянутых этикеток может быть расположено изображение виноградной ягоды, акцентирующее внимание пользователя на сладкие вкусовые оттенки упомянутой композиции, либо изображение иного вызывающего такую акцентуацию объекта.
Как минимум на одной из упомянутых этикеток может быть расположено изображение лимона, акцентирующее внимание пользователя на кислые вкусовые оттенки упомянутой композиции, либо изображение иного вызывающего такую акцентуацию объекта.
Как минимум на одной из упомянутых этикеток может быть расположено изображение полыни, акцентирующее внимание пользователя на горькие вкусовые оттенки упомянутой композиции, либо изображение иного вызывающего такую акцентуацию объекта.
Упомянутая этикетка с инструкцией может быть расположена напротив как минимум одной упомянутой плоской грани.
Охватываемый сосуд может включать выступы (лопасти).
Заявляемые изобретения иллюстрируются следующим образом:
– на фиг.1 изображен один из вариантов трехэлементного набора;
– на фиг.2 изображен один из вариантов трехэлементного набора из десяти групп в общей упаковке с 500 ml вина каждого конкретного вида или из пяти групп с 500 ml вина при условии, что каждый сосуд с вином содержит вино одного вида;
– на фиг.3 изображен один из вариантов двухэлементного вложенного набора из четырех комплектов с 200 ml вина;
– на фиг.4 изображен один из вариантов трехэлементного набора со смещенными элементами;
– на фиг.5 изображен один из вариантов тары, предполагающей одновременный залив компонентов;
– на фиг.6 изображен один из вариантов единого конструктивного узла – общей пробки с фиксатором;
– на фиг.7 изображен один из вариантов резьбового соединения пробки с охватываемым сосудом;
– на фиг.8 изображен один из вариантов тары, предполагающей независимый залив компонентов;
– на фиг.9 изображен один из вариантов поперечного сечения тары;
– на фиг.10 изображен один из вариантов поперечного сечения тары, охватывающий сосуд которой выполнен с тремя плоскими гранями;
– на фиг.11 изображен один из вариантов поперечного сечения тары, охватываемый сосуд которой выполнен с тремя плоскими гранями;
– на фиг.12 изображен один из вариантов тары, предполагающей независимый, возможно последовательный залив компонентов;
– на фиг.13 изображен один из вариантов тары, предполагающей независимый, возможно последовательный залив компонентов;
– на фиг.14 изображен один из вариантов тары с переходником с воздухоподводными отверстиями, предполагающей независимый, возможно последовательный залив компонентов;
– на фиг.15 изображен один из вариантов тары с толкателем и смещенной перегородкой;
– на фиг.16 изображен один из вариантов тары с перфоратором и перегородкой, целостность которой нарушена;
– на фиг.17 изображен один из вариантов тары с пронизывающим донную пробку штифтом-заклепкой;
– на фиг.18 изображен один из вариантов тары с донной пробкой;
– на фиг.19 изображен один из вариантов тары с двухслойным охватываемым телом.
На фигурах приняты следующие обозначения:
1 – сосуд, наполненный водой;
2 – градуировка 8:1;
3 – рабочая емкость под воду;
4 – уровень воды;
5 – вода;
6 – сосуды, наполненные вином;
7 – рабочие емкости под вино;
8 – натуральное сухое белое вино;
9 – натуральное сухое красное вино;
10 – полное покрытие всей поверхности;
11 – общая упаковка набора;
12 – крепежный элемент группы;
13 – общая упаковка группы;
14 – сосуд с водой, включающий полость;
15 – вложенный сосуд с вином;
16 – дополнительная полость;
17 – крепежный элемент набора;
18 – правая сторона сосуда с водой;
19 – выходное отверстие сосуда с водой;
20 – центр тяжести воды;
21 – герметически закрытый торец отверстия;
22 – воздухоподводное отверстие;
23 – общая пробка;
24 – плотное резьбовое соединение;
25 – неразъемное герметичное соединение;
26 – герметичное сопряжение пробки с охватывающим сосуда,
27 – верхняя часть тары;
28 – охватывающий сосуд;
29 – посадочная поверхность;
30 – рабочая емкость под вино;
31 – сопрягаемая поверхность;
32 – герметичное соединение;
33 – нижняя часть;
34 – частичное покрытие поверхности;
35 – охватываемый сосуд;
36 – ухват (ручка);
37 – упругий блокиратор;
38 – герметичное соединение фиксатора с пробкой;
39 – фиксатор;
40 – воздухопроводное отверстие (паз);
41 – упругий элемент фиксатора;
42 – плотное резьбовое соединение охватываемого сосуда с пробкой;
43 – одна из плоских граней охватывающего сосуда;
44 – этикетка, идентифицирующая вино;
45 – этикетка с инструкцией;
46 – наружная поверхность охватывающего сосуда;
47 – одна из плоских граней охватываемого сосуда;
48 – выступ (лопасть);
49 – переходник с воздухопроводными отверстиями;
50 – герметичное разъемное соединение сосудов;
51 – фиксатор переходника;
52 – неразъемное соединение переходника с пробкой;
53 – неразъемное соединение переходника с охватываемым сосудом;
54 – воздухопроводное отверстие переходника;
55 – воздухоподводное отверстие охватываемого сосуда;
56 – неразъемное соединение фиксатора охватываемого сосуда с пробкой;
57 – неразъемное соединение фиксатора охватываемого сосуда с последним;
58 – фиксатор охватываемого сосуда;
59 – неразъемное соединение охватываемого сосуда с пробкой;
60 – переходник с воздухоподводным отверстием;
61 – фиксатор охватываемого сосуда и переходника;
62 – верхнее неразъемное соединение фиксатора охватываемого сосуда и переходника с последним;
63 – неразъемное соединение переходника с воздухоподводным отверстием с пробкой;
64 – воздухопроводное отверстие фиксатора охватываемого сосуда и переходника;
65 – воздухоподводное отверстие переходника;
66 – нижнее неразъемное соединение фиксатора охватываемого сосуда и переходника с последним;
67 – неразъемное соединение переходника с охватываемым сосудом;
68 – смещенная толкателем перегородка, взвешенная в вине;
69 – уступ;
70 – толкатель;
71 – посадочная и сопряженная поверхности сосудов, выполненные в виде фрагмента конуса;
72 – посадочная и сопряженная поверхности сосудов, выполненные в виде цилиндра;
73 – конусообразное резьбовое соединение упругого блокиратора с охватывающим сосудом;
74 – перегородка, целостность которой нарушена;
75 – перфоратор;
76 – штифт-заклепка;
77 – донная пробка;
78 – неразъемное соединение (пазл);
79 – толкатель в виде кольцевого разъема;
80 – слой охватываемого тела, обращенный к воде;
81 – воздушная пленка;
82 – слой охватываемого тела, обращенный к вину;
D – диаметр выходного отверстия сосуда, наполненного водой;
d – диаметр выходного отверстия сосуда, наполненного вином;
е – смещение (эксцентриситет);
2R – наибольшее измерение поперечного сечения рабочей емкости охватывающего сосуда;
2r – наибольшее измерение поперечного сечения рабочей емкости охватываемого сосуда.
В возможном варианте исполнения заявляемый набор может включать одну (фиг.1, 4, 5 и след.), четыре (фиг.3), или десять (фиг.2), или другое число групп, состоящих из двух (фиг.3, 5 и след.), трех (фиг.1, 2, 4) и другого числа сосудов с рабочими емкостями 3, 30 или 7, предназначенными для раздельного хранения на стадии продажи конечному потребителю как минимум двух различных жидких компонентов конечного продукта – композиции таких компонентов, причем один из сосудов группы, а именно сосуд 1, 14 (фиг.1, 2) или 28 (фиг.5 и след.) выполнен наполненным минеральной водой 5 (в материалах заявки под минеральной водой подразумевается также и простая питьевая вода, и искусственно минерализованная вода, и т.д.), тогда как другие, например 6, 15 (фиг.1, 2, 4) или 35 (фиг.5 и след.), – натуральным сухим вином 9 (в материалах заявки под натуральным сухим вином можно подразумевать также и другие вина, которые нельзя строго отнести к категории натуральных сухих вин, такие как, например, Херес, Портвейн и проч., однако авторы полагают, что наилучшим образом заявляемый технический результат обеспечивается при использовании именно натурального сухого вина, вследствие чего в формуле изобретения указан именно этот продукт виноделия в качестве компонента конечной композиции вина с водой), причем сосуд, наполненный водой выполнен с объемом рабочей емкости, удовлетворяющим условию
где VW – объем рабочей емкости сосуда, наполненного водой,
– суммарный объем рабочих емкостей сосудов, наполненных вином i-й марки,
n – число марок вин, представленных группой сосудов, часть которого
занята водой, и изготовлен из полиэтилена или другого материала, разрешенного органами здравоохранения или иными уполномоченными на то органами для контакта с водой и вином или только с водой, либо включает в местах контакта с ними соответствующие покрытия полные или частичные (не показаны) своих поверхностей, а сосуды, наполненные вином, выполнены с объемом рабочих емкостей, удовлетворяющим условию
и изготовлены из стекла, или дуба, или титана, или другого материала, разрешенного органами здравоохранения или иными уполномоченными на то органами для контакта с вином и водой, либо включают в местах контакта с ними соответствующие покрытия, например, полные 10 (фиг.1) или частичные 34 (фиг.5 и след.) своих поверхностей, при этом сосуды групп выполнены с возможностью доступа в рабочие емкости, например, 7 или 30, наполненные вином, без их связывания с рабочими емкостями, наполненными водой.
Отчасти, также, отчасти, в полной мере заявляемый технический результат достигается при реализации следующих частных отличительных признаков объекта изобретения Набор.
Так, например (фиг.1), сосуд 1 набора, наполненный водой 5, от уровня последней 4 может быть проградуирован 2 в соотношениях объема наполняющей сосуд воды к объему VW–
где
– суммарный объем рабочих емкостей сосудов, наполненных вином i-й марки.
Сосуд 1 (фиг.1), 14 (фиг.3), 28 (фиг.5 и след.) набора, наполненный водой 5, может быть выполнен с объемом рабочей емкости 3, удовлетворяющим условию
где VW – объем рабочей емкости сосуда, наполненного водой,
– суммарный объем рабочих емкостей сосудов, наполненных вином i-й марки.
Тела (сосуды) 1 и 6, 14 и 15, 28 и 35 (фиг.2, 3, 5 и след.) могут быть объединены посредством общего крепежного элемента (группы) 12 или общей упаковки (группы) 13 (на фиг.5 и след. крепежные элементы группы и общая упаковка группы не показаны).
Тело (сосуд) 14 (фиг.3), наполненное водой, дополнительно к рабочей емкости (не показана) может иметь полость 16, в которой размещено тело 15, наполненное вином. Таких полостей может быть много, например, на каждое тело, наполненное вином.
Центр (фиг.4) выходного отверстия 19 тела (сосуда), наполненного водой, на виде сверху (на проекции на горизонтальную плоскость) может быть смещен (расположен эксцентрично с эксцентриситетом е) более чем на пять миллиметров относительно центра тяжести воды 20, в частном случае совпадающим с центром тяжести поперечного сечения рабочей емкости, наполненной водой,
Тела 6 (фиг.4), наполненные вином (в случае с группой, включающей три и более сосуда), посредством крепежного элемента 12 или общей упаковки (не показана) могут быть сгруппированы с одной стороны 18 от тела, наполненного водой (на фиг.4 расположено слева).
Сосуды 15 (фиг.3) групп набора, наполненные вином, могут быть выполнены с объемом рабочих емкостей (не показаны), удовлетворяющим условию
где
для j-й группы,
k – число групп в наборе.
Сосуды 6 (фиг.2) групп набора, на наполненные вином, могут быть выполнены с объемом рабочих емкостей (не показаны), удовлетворяющим условию
где
для j-й группы,
k – число групп в наборе.
Группы набора, составленные из сосудов 1 и 6 (фиг.2) или 14 и 15 (фиг.3), могут быть объединены посредством общего крепежного элемента (набора) 17 или общей упаковки (набора) 11.
Другой объект изобретения – Потребительская тара, предназначенный для раздельного хранения на стадии продажи конечному потребителю как минимум двух различных компонентов конечного продукта – композиции таких компонентов (упомянутых вина и воды) и включающий, например, два сосуда 28, 35 (фиг.5 и след.) с рабочими емкостями 3 и 30, наполненными такими компонентами, один из которых (сосудов) 28 является охватывающим и включает рабочую емкость 30 другого, охватываемого сосуда 35, – изготовлен следующим образом.
Охватывающий 28 (фиг.5) и охватываемый 35 сосуды выполнены наполненными соответственно минеральной (в упомянутом выше смысле) водой 5 и натуральным сухим (в упомянутом выше смысле) вином, например, 9 так, что выполняются следующие условия:
где
– суммарный объем рабочих емкостей сосудов, наполненных вином i-й марки, например, емкости 30
n – число марок вин, представленных в таре (в случае, изображенном на фиг.5, n=1),
где
– площадь поверхности в м2 l-го охватываемого сосуда, контактирующего и с вином, и с водой, контактирующей с водой,
– площадь поверхности в м2 такого сосуда, контактирующей с вином,
m – число охватываемых сосудов, контактирующих и с вином, и с водой (в случае, изображенном на фиг.5, речь идет об одном сосуде – 35 и, следовательно, о его поверхностях)
где VW – объем рабочей емкости 3 охватывающего сосуда 28 (сосуда, наполненного водой), причем тело, представляющее охватываемый сосуд 35, изготовлено из стекла или дуба, или титана, или другого материала, разрешенного органами здравоохранения или иными уполномоченными на то органами, для контакта с вином и водой, либо включает в местах контакта с ними соответствующие покрытия, например, 34 своих поверхностей, а тело, представляющее охватывающий сосуд 28, изготовлено из полиэтилена или другого материала, разрешенного органами здравоохранения или иными уполномоченными на то органами, для контакта с водой или и с водой, и с вином, либо включает в местах контакта с ней (с ними) соответствующие покрытия (не показано) своих поверхностей, при этом сосуды (и тара в целом) выполнены с возможностью доступа в рабочие емкости 30, содержащие вино, без их связывания с рабочими емкостями 3, содержащими воду.
Отчасти, также, отчасти, в полной мере заявляемый технический результат достигается при реализации в объекте изобретения Потребительская тара следующих частных отличительных признаков.
Сосуды 35 (фиг.5 и след.), наполненные вином, например, 9 могут быть выполнены с объемом рабочих емкостей 30, удовлетворяющим условию
где
– суммарный объем рабочих емкостей сосудов, наполненных вином i-й марки,
n – число марок вин, представленных в таре (в случае, изображенном на фиг.5, n=1 и речь идет об объеме только одной рабочей емкости 30 сосуда 35).
В другом варианте исполнения сосуды 35 (фиг.5 и след.), наполненные вином, например, 9 могут быть выполнены с объемом рабочих емкостей, удовлетворяющим условию
где
– суммарный объем рабочих емкостей сосудов, наполненных вином i-й марки,
n – число марок вин, представленных в таре (в случае, изображенном на фиг.5, n=1 и речь идет об объеме только одной рабочей емкости 30 сосуда 35).
Еще в одном варианте исполнения сосуды 35 (фиг.5 и след.), наполненные вином, могут быть выполнены с объемом рабочей емкости, удовлетворяющим условию
где
– суммарный объем рабочих емкостей сосудов, наполненных вином i-й марки (в случае, изображенном на фиг.5, речь идет об объеме только одной рабочей емкости 30 сосуда 35).
Охватывающий сосуд 28 (фиг.5), наполненный водой, может быть выполнен с объемом рабочей емкости 3, удовлетворяющим условию
где VW – объем рабочей емкости сосуда, наполненного водой,
– суммарный объем рабочих емкостей сосудов, наполненных вином i-ой марки (в случае, изображенном на фиг.5, речь идет об объеме только одной рабочей емкости 30 сосуда 35).
Охватывающий сосуд 28 (фиг.5) в нижней части 33 может включать посадочную поверхность 29 для охватываемого сосуда 35, соответствующая сопряженная (иначе – сопрягаемая) поверхность 31 которого обеспечивает с указанной посадочной плотное разъемное соединение 32 (в частном случае герметичное).
Сосуды 28 и 35 (фиг.5) в верхней части (тары) 27 могут быть укупорены (закрыты) общей пробкой 23, выполненной в виде единого конструктивного элемента (или узла, включающего, например, элементы: 39 и 41 – фиг.6; 49 и 51 – фиг.12; 58 – фиг.13; 60 и 61 – фиг.14), при этом такая пробка может быть выполнена корковой или алюминиевой с перфорацией, или полиэтиленовой, или она может быть выполнена в виде кроненпробки, или в виде другого укупорочного средства или из другого материала, разрешенных органами здравоохранения или иными уполномоченными на то органами для контакта с вином и водой, либо в местах контакта с вином и водой она может иметь соответствующее покрытие своих поверхностей (не показано).
Пробка 23 (фиг.5) может сопрягаться с охватывающим сосудом 28 посредством плотного (в частном случае герметичного или беззазорного) резьбового соединения 24.
Длина плотного разъемного (в частном случае герметичного) соединения 32 (фиг.5) может быть меньше длины плотного резьбового соединения 24.
Резьбовое соединение 24 (фиг.5) может быть выполнено с отношением длины к шагу резьбы, не меньшим десяти.
Пробка 23 (фиг.5) может сопрягаться с охватываемым сосудом 35 посредством неразъемного (в частном случае фрикционного) герметичного соединения 25.
Пробка 23 (фиг.5) может включать, например, восемь воздухоподводных отверстий 22, один из торцов которых (на фиг.5 это правый торец) связан с рабочей емкостью 30 охватываемого сосуда 35, а другой (торец) 21 герметично закрыт герметичным сопряжением 26 пробки с охватывающим сосудом 28.
Пробка 23 (фиг.6, 7) может включать фиксатор 39, обеспечивающий гарантированное неразъемное герметичное соединение 25 (фиг.6) (если такое соединение не обеспечивается геометрией сопрягаемых поверхностей пробки и охватываемого сосуда) или плотное резьбовое (в частном случае неразъемное) – 42 (фиг.7) пробки с охватываемым сосудом 35 посредством упругого элемента фиксатора 41, распирающего либо пробку (фиг.6), либо охватываемый сосуд (фиг.7).
Пробка 23 (фиг.6, 7) и фиксатор 39 могут быть сопряжены посредством герметичного соединения 38 как правило неразъемного.
Фиксатор 39 (фиг.6, 7) может включать, например, восемь воздухопроводных отверстий 40 (на фиг.6, 7 показаны пазы), связывающих воздухоподводные отверстия 22 с рабочей емкостью (не обозначена) охватываемого сосуда 35.
Пробка 23 (фиг.8) может соединяться с охватываемым сосудом 35 посредством плотного резьбового соединения 42 и без фиксатора. Глядя на фиг.8 легко представить, что в рабочей емкости 3 охватывающего сосуда 28 размещено два и более охватываемых сосудов, как бы подвешенными на пробке.
Пробка 23 (фиг.7) может включать фиксатор 39, обеспечивающий в частном случае блокировку резьбового соединения 42, посредством упругого элемента фиксатора 41, распирающего охватываемый сосуд 35. Такая блокировка не позволит без особых усилий (существенно превышающих усилия по разъятию соединения пробки с охватывающим сосудом) разъять пробку и охватываемый сосуд. При этом сила воздействия фиксатора на соответствующее соединение определяется его упругостью и геометрией.
Отношение наибольшего измерения 2R (фиг.9) поперечного сечения рабочей емкости с водой 5 охватывающего сосуда 28 к наибольшему измерению 2r поперечного сечения рабочей емкости с вином, например, 9 охватываемого сосуда 35 должно быть не меньше корня квадратного из двух.
Охватываемый сосуд 35 (например, фиг.5, 8, 9 и проч.) может быть выполнен преимущественно цилиндрическим.
В случае если отношение наибольшего измерения поперечного сечения рабочей емкости с водой 5 (фиг.10) охватывающего сосуда 28 к наибольшему измерению поперечного сечения рабочей емкости с вином, например, 9 охватываемого сосуда 35 меньше двух, охватывающий сосуд может быть выполнен как минимум с одной плоской гранью 43 на своей боковой (в частном случае вертикальной) поверхности.
Площадь такой плоской грани может составлять не менее пяти процентов от всей площади охватывающего сосуда.
Охватывающий сосуд может быть выполнен с тремя плоскими гранями, как и показано на фиг.10.
В случае если отношение наибольшего измерения поперечного сечения рабочей емкости с водой 5 (фиг.9, 11) охватывающего сосуда 28 к наибольшему измерению поперечного сечения рабочей емкости с вином, например, 9 охватываемого сосуда 35 больше двух, охватывающий сосуд может быть выполнен преимущественно цилиндрическим.
В случае если отношение наибольшего измерения поперечного сечения рабочей емкости с водой 5 (фиг.11) охватывающего сосуда 28 к наибольшему измерению поперечного сечения рабочей емкости с вином, например, 9 охватываемого сосуда 35 больше трех, то охватываемый сосуд может быть выполнен как минимум с одной плоской гранью 47 на своей боковой поверхности.
Площадь грани может составлять не менее пяти процентов от площади охватываемого сосуда.
Охватываемый сосуд может быть выполнен с тремя плоскими гранями, как и показано на фиг.11.
Плоские грани охватывающего и охватываемого сосуда могут быть расположены вертикально (фиг.10, 11).
Плоские грани охватывающего и охватываемого сосуда могут иметь одинаковую в пределах погрешности изготовления площадь.
Охватываемый сосуд 35 (фиг.9, 10, 11) с точки зрения расположения центров тяжести поперечных сечений сосудов 28 и 35 на поперечном сечении тары может быть расположен по центру охватывающего 28 с допуском, определяемым погрешностями изготовления и расположения сосудов.
Сосуды 28, 35 (фиг.9) могут быть расположены соосно с допуском, определяемым погрешностями изготовления и расположения тел.
Охватывающий сосуд 28 (фиг.12) в верхней части может включать посадочную поверхность для охватываемого сосуда 35, соответствующая сопряженная поверхность которого обеспечивает с указанной посадочной герметичное разъемное соединение 50. Без обозначения такое соединение показано также на фиг.13 и 15.
Один из фрагментов посадочной поверхности верхней части охватывающего сосуда и соответствующей сопряженной охватываемого может быть выполнен в виде фрагмента цилиндра или в виде цилиндра, как и показано на фиг.12.
Охватываемый сосуд 35 (фиг.12, 13) в области сопряженной поверхности, обеспечивающей соединение 50, может иметь, например, восемь воздухоподводных отверстий 55, герметично закрытых посадочной поверхностью, обеспечивающей соединение 50, с точки зрения проникновения в них наружного воздуха, а также воды.
Отверстия 55 (фиг.13) могут быть выполнены вытянутыми в вертикальном направлении.
Пробка 23 (фиг.13) может включать фиксатор 58 охватываемого сосуда 35, сопрягаемый с ней посредством неразъемного соединения 57.
Охватываемый сосуд в верхней части может включать посадочную поверхность для пробки, соответствующая сопряженная поверхность которой обеспечивает с указанной посадочной плотное соединение (фиг. с таким соединением отсутствует).
Охватываемый сосуд 35 (фиг.13) в верхней части может включать посадочную поверхность для фиксатора 58 охватываемого сосуда, соответствующая сопряженная поверхность которого обеспечивает с указанной посадочной неразъемное соединение 57, при этом фиксатор, распирая охватываемый сосуд, обеспечивает его неразъемное соединение с пробкой 59.
Пробка 23 (фиг.13) может включать посадочную поверхность для фиксатора 58, соответствующая сопряженная поверхность которого обеспечивает неразъемное соединение 56 фиксатора с пробкой и либо это соединение, либо неразъемное соединение 57 фиксатора с охватываемым сосудом может быть выполнено герметичным с точки зрения протекания упомянутого вина вовне тары.
Тара может включать переходник 60 (фиг.14) с как минимум одним воздухоподводным отверстием 65, выполненный как конструктивный элемент пробки 23 и соединяющий охватываемый сосуд 35 с пробкой и охватывающим сосудом 28.
Переходник 60 (фиг.14) с воздухоподводным отверстием 65 в своей нижней части может включать посадочную поверхность для охватываемого сосуда 35, соответствующая сопряженная поверхность которого обеспечивает с указанной посадочной плотное, например, фрикционное герметичное соединение (в частном случае неразъемное) 67.
Переходник 60 (фиг.14) с воздухоподводным отверстием 65 в своей средней части может включать посадочную поверхность для охватывающего сосуда 28, соответствующая сопряженная поверхность которого обеспечивает с указанной посадочной герметичное соединение (не обозначено).
Переходник 60 (фиг.14) в средней части может включать, например, восемь соединенных с рабочей емкостью 30 охватываемого сосуда 35 воздухоподводных отверстия 65, закрытых от внешней среды сопряженной к переходнику поверхностью охватывающего сосуда (на фиг.14 не обозначена, аналогичное решение для воздухоподводных отверстий охватываемого тела представлено на фиг.13).
Переходник с воздухоподводным отверстием в своей верхней части может включать посадочную поверхность для пробки, соответствующая сопряженная поверхность которой обеспечивает с указанной посадочной плотное соединение (фигура с таким соединением отсутствует).
Такое плотное соединение может быть выполнено неразъемным и герметичным с точки зрения протекания вина вовне тары.
Пробка 23 (фиг.14) как узел может включать фиксатор 61 охватываемого сосуда и переходника, и такой фиксатор может включать как минимум одно воздухопроводное отверстие 64 (на фиг.14 такие отверстия показаны в виде пазов), а переходник с воздухоподводным отверстием 60 в верхней и/или нижней части может включать посадочную поверхность для указанного фиксатора, соответствующая сопряженная поверхность которого обеспечивает с указанной посадочной неразъемное соединение – соединения 62 и 66, при этом указанный фиксатор обеспечивает жесткое неразъемное соединение переходника с пробкой -соединение 63 и/или с охватываемым сосудом – соединение 67.
Неразъемное соединение 62 (фиг.14) фиксатора 61 охватываемого сосуда и переходника с последним 60 в верхней части может быть выполнено герметичным с точки зрения протекания упомянутого вина вовне тары.
Тара может включать выполненный как конструктивный элемент пробки 23 (фиг.12) переходник 49 с как минимум одним воздухопроводным отверстием 54 (на фиг.12 показан переходник с восьмью отверстиями), присоединенный посредством неразъемного соединения 53 к охватываемому сосуду 35 и соединяющий его с пробкой.
Переходник с воздухопроводным отверстием 49 может включать посадочную поверхность для фиксатора переходника 51, соответствующая сопряженная поверхность которого обеспечивает с указанной посадочной неразъемное соединение (не обозначено), при этом фиксатор переходника обеспечивает жесткое неразъемное соединение 52 переходника с пробкой.
Неразъемное соединение 52 (фиг.12) может быть выполнено герметичным с точки зрения протекания вина вовне тары.
Здесь следует вновь указать, что плотное разъемное соединение посадочной поверхности 29 (фиг.5) охватывающего тела 28 в его нижней части с соответствующей сопряженной (сопрягаемой) поверхностью 31 охватываемого тела 35 может быть выполнено герметичным соединением 32.
Один из фрагментов 72 (фиг.15) посадочной и сопряженной поверхностей нижней части охватывающего 28 и охватываемого 35 сосудов может быть выполнен в виде фрагмента цилиндра или в виде цилиндра, тогда как другой из фрагментов 71 таких поверхностей может быть выполнен в виде фрагмента конуса с углом при вершине не более пятнадцати градусов или конусным с таким же углом при вершине.
Охватывающий сосуд 28 (фиг.5, 15) в нижней части 33 (фиг.5) в месте посадочной поверхности 29 (фиг.5) либо в месте посадочных поверхностей 71, 72 (фиг.15) может включать полость (не обозначена), в которую установлен упругий блокиратор 37, входящий с охватывающим сосудом в упругое соединение, обеспечивающее гарантированное плотное герметичное разъемное соединение, например, 32 (фиг.5) охватываемого и охватывающего сосудов.
Охватывающий сосуд 28 (фиг.5, 15) в нижней части 33 (фиг.5) в месте посадочной поверхности 29 (фиг.5) либо в месте посадочных поверхностей 71, 72 (фиг.15) может включать полость (не обозначена), в которую установлен упругий блокиратор 37, входящий с охватывающим сосудом в упругое соединение, обеспечивающее неразъемное соединение (не обозначено, хотя таким соединением могло быть соединение 32 (фиг.5) или соединение фрагментов посадочной и сопрягаемой поверхностей 71, 72 (фиг.15) посадочной поверхности охватывающего сосуда с сопрягаемой поверхностью охватываемого сосуда.
Установка блокиратора 37 (фиг.15) может быть выполнена посредством хотя бы одного фрагмента резьбового соединения 73, и такое соединение может быть выполнено конусообразным.
Блокиратор 37 (фиг.5, 15) может быть выполнен съемным и может включать ухват 36 (ручку).
Охватываемый сосуд 35 (фиг.8, 15, 16, 17, 18) может быть выполнен с возможностью его установки в наполненный водой 5 (фиг.8, 17) охватывающий 28 без проникновения воды из рабочей емкости 3 (фиг.8) охватывающего в рабочую емкость 30 (фиг.8) охватываемого.
При этом охватываемый сосуд может быть выполнен герметичным с точки зрения упомянутого проникновения воды (см., например, фиг.8).
Охватываемый сосуд 35 (фиг.17, 18) в нижней части (не обозначена) может включать донную пробку 77, препятствующую связыванию рабочих емкостей сосудов и, следовательно, упомянутому проникновению, при этом указанная донная пробка может быть выполнена корковой или алюминиевой с перфорацией, или полиэтиленовой, или в виде кроненпробки, или в виде другого укупорочного средства, разрешенного органами здравоохранения или иными уполномоченными на то органами для контакта с вином. Пробка также в соответствующих местах может включать защитное покрытие.
Охватываемый сосуд 35 до сборки тары (фиг.15, 16) в нижней части может включать перегородку, в частном случае – пленочную, препятствующую связыванию рабочих емкостей и, следовательно, упомянутому проникновению. На фигурах показана перегородка после сборки тары, представляющая собой смещенную толкателем (см. ниже) перегородку 68 взвешенную в вине (фиг.15) и перегородку 74, целостность которой нарушена (фиг.16). Иначе можно сказать, что охватываемый сосуд в заявляемой таре может включать остатки обсуждаемой перегородки.
Охватывающий сосуд 28 (фиг.15, 16, 17, 18) может быть выполнен с возможностью нарушения герметичности охватываемого сосуда 35 с точки зрения упомянутого проникновения при сборке тары (фиг.15, 16 – имеет место кратковременная разгерметизация) и/или при ее откупоривании (фиг.15, 16, 11, 18).
Охватывающий сосуд 28 (фиг.16) может включать перфоратор 75 для нарушения целостности и, следовательно, герметичности охватываемого сосуда 35 с точки зрения упомянутого проникновения посредством нарушения целостности перегородки (на фиг.16 показана перегородка 74, целостность которой нарушена).
Охватывающий сосуд 28 (фиг.15) может включать толкатель 70 для смещения донной пробки (не показана) или перегородки (показана смещенная толкателем перегородка 68, взвешенная в вине).
Охватываемый сосуд 35 (фиг.15) может включать уступ 69 для препятствования выхода из него при выливании вина после откупоривания тары перегородки 68, смещенной толкателем.
Толкатель (поверхность охватывающего сосуда 28, контактирующая с донной пробкой 77 на фиг.17, 18), например, поз.79 (фиг.18) может быть выполнен с возможностью образовывать с донной пробкой неразъемное соединение 78 (пазл, замок). При этом толкатель может содержать разъем 79, сопрягаемый с ответным разъемом (не обозначен) на донной пробке.
Толкатель (см. выше) может включать штифт 76 (фиг.17), пронизывающий донную пробку 77, который развальцован (или расклепан, или термически оплавлен) в рабочей емкости охватываемого сосуда, предназначенной для заполнения вином 9, для образования неразъемного соединения донной пробки с толкателем – поверхностью охватывающего сосуда 28, контактирующей с донной пробкой.
Охватывающий 28 и/или охватываемый 35 сосуды (см., например, фиг.11) могут быть выполнен(ы) из материала с показателем преломления для длины волны пятьсот пятьдесят пять нанометров, совпадающим с точностью до десятых долей после стандартного округления с показателем преломления воды 5.
Охватывающий сосуд 28 (см., например, фиг.11) может быть выполнен из материала с показателем преломления для длины волны пятьсот пятьдесят пять нанометров, большим показателя преломления воды 5.
Охватываемый сосуд 35 (см., например, фиг.11) может быть выполнен из материала с показателем преломления для длины волны пятьсот пятьдесят пять нанометров, меньшим показателя преломления воды 5.
Охватываемый сосуд 35 (фиг.19) может быть выполнен из двухслойной комбинации материала, при этом обращенный к воде слой 80 может быть выполнен из материала с показателем преломления для длины волны пятьсот пятьдесят пять нанометров, меньшим показателя преломления воды 5, а обращенный к вину слой 82 – из материала с показателем преломления для длины волны пятьсот пятьдесят пять нанометров, большим показателя преломления вина 9.
Между слоями 80 и 82 (фиг.19) на удалении, превышающем двадцать миллиметров от места крепления или установки одного сосуда в другом (например, от поверхности охватывающего сосуда, граничащей с вином 9) либо от места сопряжения тел (такие места не обозначены, вообще их может быть два – в верхней и нижней частях – см. фиг.5, 15, 18, а может только одно – в верхней части – фиг.8), либо от свободных поверхностей (не обозначены) компонентов при нормальном положении тары может быть расположена воздушная пленка 81 толщиной не менее одной десятой миллиметра.
На охватываемом теле 35 (фиг.11, 19) может быть размещена этикетка 44, идентифицирующая вино. Такая этикетка может быть размещена, например, только на одном из слоев 82 со стороны воздушной пленки 81. При этом она может быть выполнена посредством привнесения макрошероховатости, например, только на одну из поверхностей охватываемого сосуда, граничащую с водой 5, и/или граничащую с вином 9, и/или граничащую с воздушной пленкой 81.
Этикетка 44 (фиг.11) может быть размещена, например, на каждом ребре (на областях между плоскими гранями 47) охватываемого сосуда 35.
Охватывающий или охватываемый сосуд может быть выполнен из непрозрачного для видимого света материала или иметь непрозрачное для такого света покрытие.
Один из сосудов может быть выполнен из отражающего видимый свет материала или иметь отражающее такой свет покрытие.
На охватывающем сосуде 28 (фиг.11, 19) может быть размещена этикетка 45 с инструкцией, например, на наружной поверхности 46 (фиг.11) охватывающего тела.
На одной из этикеток 44, 45 (фиг.11, 19), предпочтительно на внешней, может быть расположено изображение виноградной лозы, акцентирующее внимание пользователя на терпкие вкусовые оттенки композиции вода + вино, либо изображение иного вызывающего такую акцентуацию объекта.
На одной из этикеток 44, 45 (фиг.11, 19), предпочтительно на внешней, может быть расположено изображение виноградной ягоды, акцентирующее внимание пользователя на сладкие вкусовые оттенки композиции вода + вино, либо изображение иного вызывающего такую акцентуацию объекта.
На одной из этикеток 44, 45 (фиг.11, 19), предпочтительно на внешней, может быть расположено изображение лимона, акцентирующее внимание пользователя на кислые вкусовые оттенки композиции вода + вино, либо изображение иного вызывающего такую акцентуацию объекта.
На одной из этикеток 44, 45 (фиг.11, 19), предпочтительно на внешней, может быть расположено изображение полыни, акцентирующее внимание пользователя на горькие вкусовые оттенки композиции вода + вино, либо изображение иного вызывающего такую акцентуацию объекта.
Этикетка с инструкцией 45 (фиг.11) может быть расположена, например, напротив каждой плоской грани 47 охватываемого сосуда 35.
Охватываемый сосуд 35 (фиг.11) может включать выступы 48 (лопасти).
Следует отметить, что под неразъемными соединениями с охватываемым сосудом в материалах заявки понимаются не исключительно такие соединения, при попытке разъятия которых произойдет разрушение соединяемых объектов, но и соединения, для разъятия которых потребуется приложить усилие, более чем, например, в два раза превышающее усилие, затрачиваемое на разъятие упоминаемых в материалах заявки разъемных соединений с охватываемым сосудом, которое будет иметь место при вскрытии тары и смешении компонентов. Иными словами, в материалах заявки подразумевается, что неразъемное соединение не может быть разъято при откупоривании тары – для его разъятия потребуются дополнительные манипуляции и только после откупоривания тары. Обратное – неверно. Так, например, плотное резьбовое соединение 42 (фиг.8) подлежит разъятию после откупоривания тары – отсоединения пробки 23 охватывающего сосуда (тела) 28.
Также следует отметить, что под телом (телами) в материалах заявки понимается сосуд (сосуды) и, наоборот, важным является то, что при прочтении материалов заявки тело следует воспринимать как физически самостоятельный объект, например, состоящий из двух сосудов, тогда как в материалах заявки предполагается, что сосуд не может состоять из двух тел.
Заявляемый набор составляют следующим образом. Сначала составляют группы. Для этого берут два или более сосуда и наполняют их компонентами композиции, предназначенной для потребления. Причем как минимум один из сосудов наполняют водой, совместимой с вином (например, умягченной водой) тогда как другие – вином. При этом водой наполняют сосуд, имеющий объем рабочей емкости, удовлетворяющий условию (1).
Вином наполняют сосуды с объемом рабочей емкости, удовлетворяющим условию (4), водой – с объемом рабочей емкости, удовлетворяющим условию (5).
Важно, что водой заполняют лишь часть сосуда, объем которой удовлетворяет условию (2). Для заполнения водой используют сосуд, изготовленный, например, из полиэтилена. Сосуды, наполняемые вином, имеют объем, удовлетворяющий условию (3). Они изготавливаются, например, из стекла.
При необходимости взятия пробы вина ее берут либо из одного сосуда с вином, либо сливают вино из различных сосудов с вином набора для получения требуемого протоколом испытания объема. При этом сливают вино только одного вида (одной марки).
Сосуд, наполненный водой, от уровня последней имеет градуировку в соотношениях объема наполняющей сосуд воды к объему примешиваемого к ней вина при дополнении им сосуда. Такая градуировка может включать следующие соотношения 4:1, 6:1, 8:1, 10:1. Ее используют при добавлении в такой сосуд, наполненный водой, вина до предпочтительного соотношения вода/вино. Вино переливают из сосуда с меньшим по площади выходным отверстием в сосуд с выходным отверстием, большим по площади.
Составляют группы из двух или трех сосудов и при необходимости объединяют их посредством общего крепежного элемента или общей упаковки.
В одном из вариантов изобретения сосуд с вином помещают в полость тела, представляющего сосуд с водой.
Тела, наполненные вином, в случае с группой, включающей три сосуда, посредством крепежного элемента или общей упаковки группируют с одной стороны от тела, наполненного водой, в направлении смещения центра выходного отверстия тела, наполненного водой, относительно центра тяжести воды. При таком расположении сосудов достигается оптимальная устойчивость группы, когда опорой является лишь поверхность тела, представляющего сосуд с водой.
В различных вариантах изобретений сосуды групп набора, наполненные вином, выполняют с объемом рабочих емкостей, удовлетворяющим условиям (6) или (7).
Группы в набор объединяют посредством общего крепежного элемента или общей упаковки.
При использовании набора, выполненного в соответствии с фиг.1, откупоривают сосуды с водой и вином и доливают вино в воду, используя градуировку сосуда с водой для получения желаемой концентрации вина в воде. При этом можно использовать либо только один сосуд с вином, либо оба сразу. Затем сосуд снова закрывают пробкой, и, после взбалтывания, композиция готова к употреблению.
Если набор выполнен из нескольких групп (фиг.2), сначала разрывают общую упаковку набора, затем извлекают из нее группу, после чего удаляют крепежный элемент группы и далее поступают, как описано выше.
Если набор выполнен вложенным двухэлементным, как на фиг.3, после удаления крепежного элемента набора разрывают общую упаковку группы, вынимают сосуд с вином из дополнительной полости в сосуде с водой и далее производят смешивание, как описано выше.
Если набор выполнен трехэлементным со смещенными элементами, после удаления крепежного элемента группы, смешивание производят, как описано выше.
Опустошенные сосуды утилизируют.
В заявляемой потребительской таре охватывающий сосуд наполняют водой, совместимой с вином (например, умягченной), а охватываемые – вином. При этом сосуды наполняют водой и вином, соблюдая условия (8), (9) и (10).
Сосуды изготавливают из материала, разрешенного органами здравоохранения или иными уполномоченными на то органами для контакта с вином и водой, либо выполняют в местах контакта с ними соответствующие покрытия.
При необходимости взятия пробы посредством, например, шприца с заборной иглой проникают в рабочие емкости сосудов, наполненных вином, избегая их связывания с емкостями, наполненными водой.
Вином наполняют сосуды с объемом рабочих емкостей, удовлетворяющим условию (11) или (12), или (13), а водой – с объемом рабочей емкости, удовлетворяющим условию (14).
В одном из вариантов изобретения охватываемый сосуд сажают на посадочное место в охватывающий так, что каждый из сосудов остается доступным для заполнения (фиг.5).
В другом варианте изобретения охватываемый сосуд сажают на посадочное место в охватывающий, уже наполненный водой. Вином охватываемый сосуд наполняют до или после указанной посадки (фиг.15, 18).
Сосуды в верхней части укупоривают общей пробкой.
Используют корковую или алюминиевую с перфорацией, или полиэтиленовую пробку, или пробку, выполненную в виде кроненпробки, или в виде другого укупорочного средства, или из другого материала, разрешенных органами здравоохранения или иными уполномоченными на то органами для контакта с вином и водой, либо в местах контакта с вином и водой выполняют соответствующее покрытие.
Пробку сопрягают с охватывающим сосудом посредством плотного резьбового соединения, длина которого может быть больше длины плотного разъемного соединения охватывающего и охватываемого сосудов в нижней части тары, а отношение длины к шагу резьбы – не меньше десяти.
С охватываемым сосудом пробку сопрягают посредством неразъемного герметичного соединения.
Пробку насаживают на охватывающей сосуд до тех пор, пока не образуется ее герметичное сопряжение с ним, закрывающее от внешней среды воздухоподводные отверстия пробки связанные с рабочей емкостью охватываемого сосуда.
Для распределения функций между различными конструктивными элементами с целью оптимизации используемых материалов пробку дополняют фиксатором, обеспечивающим ее неразъемное герметичное соединение с охватываемым сосудом посредством упругого элемента, распирающего либо пробку, либо охватываемый сосуд.
При этом пробка и фиксатор могут сопрягаться посредством герметичного соединения, а фиксатор может включать воздухопроводные отверстия, связывающее воздухоподводные отверстие с рабочей емкостью охватываемого сосуда.
В другом варианте исполнения пробку соединяют с охватываемым сосудом посредством плотного резьбового соединения. Такая пробка может включать фиксатор для блокировки этого резьбового соединения посредством упругого элемента, распирающего охватываемый сосуд.
В этом случае охватывающий и охватываемый сосуды наполняют соответственно водой и вином независимо – либо последовательно, либо параллельно.
При сборке тары сосуды стараются расположить соосно во избежание заклинивания при ее откупоривании.
Процедура сборки пробки, охватывающего и охватываемого сосудов может быть изменена.
Так сначала может быть осуществлено сопряжение охватывающего сосуда с охватываемым посредством герметичного разъемного соединения. Затем охватываемый сосуд может быть укупорен пробкой, фиксатором которой в завершении сборки тары укупоривают охватываемый сосуд.
Наличие дополнительного элемента пробки-фиксатора позволяет без труда сопрягать пробку одновременно с охватываемым и охватывающим сосудом, оставляя на потом неразъемную блокировку охватываемого сосуда с пробкой, посредством распирания охватываемого сосуда упругим элементом фиксатора.
В другом исполнении применяют пробку с переходником, позволяющим использовать простые по конфигурации охватываемые сосуды, упростить процесс сборки тары, исключая из него трудоемкие операции, а также операции, снижающие процент выхода годной продукции.
И в этом случае эффективно для обеспечения гарантированных неразъемных соединений использование фиксатора.
Для блокировки сопряжения охватывающего сосуда с охватываемым в нижней части тары используют упругий блокиратор, входящий с охватывающим сосудом в упругое соединение.
Установку этого блокиратора выполняют, например, посредством вкручивания, а демонтаж – посредством выкручивания, используя ухват (ручку).
Если охватываемый сосуд выполнен герметичным, для чего, например, в его нижней части устанавливают донную пробку, а процесс смешения компонентов предполагается осуществить одновременно с процессом откупоривания тары, то при сборке тары и/или при ее откупоривании нарушают герметичности охватываемого сосуда, используя перфоратор или толкатель охватывающего сосуда.
Так, например, при сборке тары образовывают неразъемное соединения толкателя охватывающего сосуда с донной пробкой охватываемого. При откупоривании тары донная пробка останется связанной с охватывающим сосудом, а вынутый из него охватываемый окажется открытым.
До сборки тары на охватываемом сосуде размещают этикетку, идентифицирующую вино.
До или после сборки тары на охватывающем сосуде размещают этикетку с инструкцией.
Как минимум на одной из этикеток располагают изображение виноградной лозы, либо виноградной ягоды, либо лимона, либо полыни в зависимости от предпочитаемых вкусовых оттенков композиции – терпких, сладких, кислых или горьких соответственно.
Этикетку с инструкцией располагают напротив как минимум одной плоской грани.
В охватываемом сосуде размещают выступы (лопасти).
При использовании тары, выполненной в соответствии с фиг.5, конечный потребитель сдвигает или удаляет упругий блокиратор при помощи ухвата (ручки). Затем он свинчивает пробку с охватываемого сосуда, при этом начинают открываться воздухоподводные отверстия на пробке, и воздух попадает в сосуд с вином. Одновременно нарушается герметичность соединения охватываемого и охватывающего сосудов. Под действием атмосферного давления вино из охватываемого сосуда, вынимаемого из тары вместе с пробкой, через отверстие в его нижней части вытекает в охватывающий сосуд. Так как длина разъемного герметичного соединения в нижней части сосудов меньше длины резьбового соединения на пробке, вино и вода хорошо перемешиваются, образуя композицию вина и воды. Конечный пользователь может, приложив большее, нежели при откупоривании тары, усилие, разъединить охватываемый сосуд с пробкой и использовать последнюю для укупорки охватывающего сосуда с готовой композицией с целью ее дальнейшего хранения.
При использовании тары, выполненной в соответствии с фиг.8, конечный потребитель свинчивает пробку с охватываемого сосуда и вынимает ее из охватывающего сосуда вместе с охватываемым. Затем он вывинчивает охватываемый сосуд, содержащий вино, из пробки и выливает его содержимое в сосуд с водой, получая композицию вина и воды. Конечный пользователь может использовать пробку для укупорки охватывающего сосуда с готовой композицией с целью ее дальнейшего хранения.
При использовании тары, выполненной в соответствии с фиг.18, конечный потребитель свинчивает пробку с охватываемого сосуда, при этом начинают открываться воздухоподводные отверстия переходника, и воздух попадает в сосуд с вином. Донная пробка, удерживаемая замком с охватывающим сосудом, перемещается вниз относительно охватываемого сосуда, вынимаемого из тары вместе с пробкой. Под действием атмосферного давления вино из охватываемого сосуда через отверстие в его нижней части, образовавшееся при выходе донной пробки из охватываемого сосуда, вытекает в охватывающий. При этом происходит смешивание вина с водой – приготовление в рабочей емкости охватываемого сосуда композиции вина и воды. Конечный пользователь может разъединить охватываемый сосуд с пробкой и использовать последнюю для укупорки охватывающего сосуда с готовой композицией с целью ее дальнейшего хранения.
По мнению авторов более детальное описание практического использования отличительных признаков изобретения является избыточным, поскольку оно раскрывается в других частях описания изобретений.
В заключение данной части описания следует отметить, что по мнению авторов наилучший вариант исполнения изобретений сводится к использованию сосудов для вина (охватываемых сосудов) с объемом рабочих емкостей порядка 0,03 л (более точно 0,033 л) под вино с 12% содержанием алкоголя, при использовании сосудов для воды (охватывающих сосудов) с объемом рабочих емкостей порядка 0,33 л (более точно 0,333 л), при содержании в них воды объемом около 0,3 л. При этом набор должен включать лишь группы, в которые входит только один сосуд с вином одного вида. Охватывающий сосуд также должен включать только один охватываемый сосуд с вином одного вида. Эффект от использования такого соотношения объемов рабочих емкостей сосудов под воду и вино объясняется, что после приготовления композиций вина с водой при полном использовании компонентов сосудов групп (охватываемого и охватывающего сосудов) концентрация химических ингредиентов, активных в отношении окислительных реакций, а также биологических объектов оптимальна с точки зрения кратковременного (в течение нескольких часов) хранения упомянутых композиций при нормальных условиях – при температуре порядка 20
С на свету. Аналогичный результат достигается при использовании сосудов для вина с объемом рабочих емкостей не более 0,028 л под вино с 14% содержанием алкоголя и 0,044 л под вино с 9% содержанием алкоголя, при использовании сосудов для воды с объемом рабочих емкостей порядка 0,33 л, при содержании в них воды объемом около 0,3 л. Для вина с другим содержанием алкоголя предпочтительный объем соответствующего сосуда имеет соответствующее промежуточное значение. По мнению авторов наилучший вариант исполнения набора изображен на фиг.1, а исполнения тары – на фиг.5 при охватываемом теле из пластмассы (из мягкого материала) и на фиг.18 при охватываемом теле из стекла (из твердого материала).
В отношении других условий, упомянутых в разделе сущность изобретения предпочтения авторов, с точки зрения оптимального достижения заявляемого технического результата, в соответствии с последней частью описания изобретений (см. ниже), следующие.
Условие (1) в оптимальном варианте должно выглядеть следующим образом:
условие (3) – следующим:
(4) – следующим:
(5):
(6):
(7):
(8):
(10):
(11):
(12):
(13):
(14):
Отличительный признак изобретений, заключающийся в том, что как минимум один из сосудов группы выполнен наполненным минеральной водой, тогда как другие – натуральным сухим вином, позволяет получить технический результат, выраженный в обеспечении возможностей: использования воды в качестве конструктивного элемента тары, выполняющего функцию оптического фильтра, фильтра ИК и УФ излучения, а также термодемпфера; независимого предоставления сопроводительной документации на каждый из компонентов композиции, предназначенной для конечного потребителя; оценки конечным потребителем органолептических свойств каждого из упомянутых компонентов в отдельности; охране здоровья потребителей в части поддержания высокого уровня качества винодельческого производства, а также защите интересов торговли в части исключения диспропорций в условиях конкуренции и лишения стимулов в торговле низкокачественной винодельческой продукцией; длительного хранения компонентов в потребительской таре без консервантов, без пастеризации (без использования специальных технологических приемов радиационного, барного или прочего воздействия на биологические объекты вина и воды); длительного раздельного хранения компонентов в потребительской таре (в наборе); длительного хранения натурального сухого вина в жидком виде (с защитой от воздействий окружающей среды).
Отличительный признак изобретений, заключающийся в том, что сосуд, наполненный водой, выполнен с объемом рабочей емкости, удовлетворяющим условиям (1) и (2), позволяет получить технический результат, выраженный в обеспечении возможностей: повышении здоровья населения за счет снижения риска заболеваний органов пищеварения и кровеносно-сосудистой системы, а также заболеваний, связанных с нарушением обмена веществ; пропаганде здорового образа жизни, в котором есть место композициям на основе продукции виноделия с низким содержанием алкоголя в том числе безалкогольным композициям; создании на базе композиций, включающих натуральное сухое вино и минеральную воду, продукции, альтернативной пивной и слабоалкогольной газированной и негазированной, полученной посредством смешения спирта или крепких алкогольных напитков с иными ингредиентами, а также альтернативной газированным и негазированным водам и напиткам; совмещения в сосуде с водой функций потребительской тары для хранения воды на стадии продажи конечному потребителю, мерного стакана, емкости для питья; создания новой вкусовой линии, расширения ассортимента утоляющей жажду продукции, не причиняющей вреда здоровью человека.
Отличительные признаки изобретений, заключающиеся в том, что сосуд для воды набора, а также для второго из заявляемых объектов – охватывающий сосуд изготовлены из полиэтилена или другого материала, разрешенного органами здравоохранения или иными уполномоченными на то органами для контакта с водой и вином или только с водой, либо включает в местах контакта с ними соответствующие покрытия полные или частичные своих поверхностей, а сосуды для вина, а также для второго из заявляемых объектов – охватываемые сосуды и пробки, и донные пробки изготовлены из стекла или дуба, или титана, или другого материала, разрешенного органами здравоохранения или иными уполномоченными на то органами для контакта с вином и водой, либо включают в местах контакта с ними соответствующие покрытия, например, полные или частичные своих поверхностей, отчасти по отдельности, отчасти в совокупности позволяют получить технический результат, выраженный в обеспечении возможностей, совмещения в сосуде с водой функций потребительской тары для хранения воды на стадии продажи конечному потребителю, мерного стакана, емкости для питья; использования при изготовлении упомянутой потребительской тары вакуумного формообразования, технологий, основанных на перерабатываемых и неперерабатываемых пластмассах, других технологий массового изготовления потребительской тары для жидких продуктов; минимизации числа деталей и узлов устройства – упомянутой потребительской тары, в которой предполагается раздельное хранение упомянутых компонентов; использования стандартных оборудования и техпроцессов для разлива упомянутых компонентов в упомянутую потребительскую тару с целью последующего раздельного хранения последних; использования широкой номенклатуры материалов при производства тары; использования прессовых посадок при закупорке (закрытии) емкостей упомянутой тары; изъятия проб упомянутых компонентов из упомянутой потребительской тары без применения трудоемких технологических процедур.
Отличительные признаки изобретений, заключающиеся в том, что сосуды групп, а также для второго из заявляемых объектов – охватывающий и охватываемые сосуды выполнены с возможностью доступа в рабочие емкости, наполненные вином, без их связывания с рабочими емкостями, наполненными водой, а также в том, что сосуды, наполненные вином, выполнены с объемом рабочих емкостей, удовлетворяющим условию (3), а также для второго из заявляемых объектов, заключающийся в том, что охватываемый сосуд выполняют наполненным натуральным сухим вином так, что выполняется условие (8), отчасти по отдельности, отчасти в совокупности позволяют получить технический результат выраженный в обеспечении возможностей: гарантированного предоставления для потребления человеком только продуктов, которые подвергались обработке разрешенными методами виноделия, изъятия проб компонентов из потребительской тары без применения трудоемких технологических процедур, применения стандартных методов анализа, а также токсикологических испытаний компонентов конечного продукта, хранящегося на стадии продажи конечному потребителю, оценки органолептических свойств каждого из компонентов в отдельности конечным потребителем; а также в исключении возможности сокрытия последствии применения некачественного сырья или нежелательных методов виноделия. Это становится возможным благодаря тому, что указанного объема достаточно для проведения оценки качества вина в части определения содержания винной, лимонной, молочной, сорбиновой и общей яблочной кислот, L- и D-изомеров яблочной кислоты, L-изомеров аскорбиновой кислоты, рН, в части применения методов атомной абсорбционной спектрофотометрии, например, для определения содержания натрия, калия, кальция, железа, меди, кадмия, серебра, цинка, свинца, фторидов, в части определения содержания диоксида углерода, в части оценки показателя FOLIN-CIOCALTEU, в части определения изотропного отношения 18О/16О воды, содержащейся в вине. Также эти признаки позволяют получить технический результат, выраженный в обеспечении возможностей: предоставления сопроводительной документации на каждый из упомянутых компонентов; повышения здоровья населения (в указанном в разделе сущность изобретений смысле); пропаганды здорового образа жизни, в котором есть место композициям на основе продукции виноделия, создание условий для ведения такого образа жизни; охраны общественного здоровья через охрану здоровья потребителей в части поддержания высокого уровня качества винодельческого производства, а также защита интересов торговли в части исключения диспропорций в условиях конкуренции; удобного, быстрого и безошибочного приготовления упомянутых композиций неподготовленным пользователем.
Отличительный признак изобретений, заключающийся в том, что сосуд набора, наполненный водой, от уровня последней градуируют в соотношениях объема наполняющей сосуд воды к объему примешиваемого к ней вина и такая градуировка включать соотношения 4:1, 6:1, 8:1, 10:1, позволяет получить технический результат, выраженный в обеспечении возможностей: удобного, быстрого и безошибочного приготовления композиций неподготовленным пользователем; однотипного приготовления композиций с различным соотношением компонентов; совмещения в сосуде с водой функций потребительской тары для хранения воды на стадии продажи конечному потребителю, мерного стакана, емкости для питья; создания новой вкусовой линии, расширения ассортимента утоляющей жажду продукции, не причиняющей вреда здоровью человека; точного выбора предпочтительного соотношения компонентов в композиции вино и вода конечным потребителем; использования стандартных способов приема жидких продуктов массового распространения.
Отличительные признаки изобретений, заключаются в том, что в группы набора включают три сосуда, при этом эти сосуды могут быть выполнены в виде различных тел, одно из которых может быть наполнено водой и являться большим по размеру, а два других – вином и являться меньшими по размеру, причем сосуд, наполненный водой, может быть выполнен с большим как минимум в 1,2 раза по площади выходным отверстием по сравнению с площадью выходных отверстий сосудов, наполненных вином, а также в том, что в группы набора включают два сосуда, при этом эти сосуды могут быть выполнены в виде различных тел, одно из которых может быть наполнено водой и являться большим по размеру, а другое – вином и являться меньшими по размеру, причем сосуд, наполненный водой, может быть выполнен с большим как минимум в 1,2 раза по площади выходным отверстием по сравнению с площадью выходного отверстия сосуда, наполненного вином, позволяют получить технический результат выраженный в обеспечении возможностей: предоставления сопроводительной документации на каждый из компонентов; удобного, быстрого и безошибочного приготовления упомянутых композиции неподготовленным пользователем, в том числе в части перелива вина в сосуд с водой; длительного раздельного хранения компонентов в потребительской таре; использования стандартных способов приема жидких продуктов массового распространения; создания новой вкусовой линии, расширения ассортимента утоляющей жажду продукции, не причиняющей вреда здоровью человека, в том числе в части создания композиций на основе смесей вин различного вида (например, белого с красным).
Отличительные признаки изобретений: заключающийся в том, что сосуды набора, наполненные вином, выполняют с объемом рабочей емкости, удовлетворяющим условию (4), а также для второго из заявляемых объектов, заключающийся в том, что сосуды, наполненные вином, выполняют с объемом рабочих емкостей, удовлетворяющим условию (13), позволяют получить технический результат, выраженный в обеспечении возможностей: получения конечным потребителем слабоалкогольного или безалкогольного напитка в объеме 0,2; 0,25; 0,33; 0,4; 0,5; 0,66; 1,0; 1,5 л без потерь составляющих такой композиции; гарантированного предоставления для потребления человеком только продуктов, которые подвергались обработке разрешенными методами виноделия, изъятия проб компонентов из потребительской тары без применения трудоемких технологических процедур, применения стандартных методов анализа, а также токсикологических испытаний компонентов конечного продукта, хранящегося на стадии продажи конечному потребителю, оценки органолептических свойств каждого из компонентов в отдельности конечным потребителем; а также в исключении возможности сокрытия последствий применения некачественного сырья или нежелательных методов виноделия. Это становится возможным благодаря тому, что указанного объема достаточно для проведения оценки качества вина (см. выше). Также этот признак позволяет получить технический результат, выраженный в обеспечении возможностей: создания новой вкусовой линии, расширения ассортимента утоляющей жажду продукции, не причиняющей вреда здоровью человека; предоставления сопроводительной документации на каждый из упомянутых компонентов; повышения здоровья населения; пропаганды здорового образа жизни, в котором есть место композициям на основе продукции виноделия, создание условий для ведения такого образа жизни; охраны общественного здоровья через охрану здоровья потребителей в части поддержания высокого уровня качества винодельческого производства, а также защита интересов торговли в части исключения диспропорций в условиях конкуренции; удобного, быстрого и безошибочного приготовления упомянутых композиций неподготовленным пользователем.
Отличительные признаки изобретений: заключающийся в том, что сосуд набора, наполненный водой, выполняют с объемом рабочей емкости, удовлетворяющим (5), а также для второго из заявляемых объектов, заключающийся в том, что сосуды, наполненные вином, выполняют с объемом рабочих емкостей, удовлетворяющим условию (14), позволяют получить технический результат, выраженный в обеспечении возможностей: получения конечным потребителем слабоалкогольного или безалкогольного напитка в объеме 0,2; 0,25; 0,33; 0,4; 0,5; 0,66; 1,0; 1,5 л без потерь составляющих; создания новой вкусовой линии, расширения ассортимента утоляющей жажду продукции, не причиняющей вреда здоровью человека; точного выбора предпочтительного соотношения компонентов в композиции вино и вода конечным потребителем; повышения здоровья населения; пропаганды здорового образа жизни, в котором есть место композициям на основе продукции виноделия, создание условий для ведения такого образа жизни; охраны общественного здоровья через охрану здоровья потребителей в части поддержания высокого уровня качества винодельческого производства, а также защита интересов торговли в части исключения диспропорций в условиях конкуренции.
Отличительные признаки изобретений, заключающиеся в том, что сосуды групп и сами группы объединяют посредством общих крепежных элементов или общей упаковки, позволяют получить технический результат, выраженный в обеспечении возможностей: минимизации числа деталей и узлов потребительской тары, в которой предполагается раздельное хранение компонентов; качественного высокопроизводительного изготовления потребительской тары для композиций, разлива в нее компонентов, ее транспортировки, хранения и реализации; удобного, быстрого и безошибочного приготовления упомянутых композиций неподготовленным пользователем; однотипного приготовления упомянутых композиций с различным соотношением упомянутых компонентов.
Отличительный признак изобретений, заключающийся в том, что тело, наполненное водой, дополнительно к рабочей емкости имеет как минимум одну полость, в которой размещено тело, наполненное вином, позволяет получить технический результат, выраженный в обеспечении возможностей: использования воды в качестве конструктивного элемента тары, выполняющего функцию оптического фильтра, фильтра ИК и УФ излучений, а также термодемпфера; гарантированного предоставления для непосредственного потребления человеком только продуктов, которые подвергались обработке разрешенными методами виноделия.
Отличительный признак изобретений, заключающийся в том, что центр выходного отверстия тела, наполненного водой, смещают по горизонтали более чем на пять миллиметров относительно центра тяжести воды, позволяет получить технический результат выраженный в обеспечении возможности использования при работе с потребительскими тарами стандартных приемов транспортировки, хранения и реализации (облегчения представления набора конечному потребителю) жидких напитков.
Отличительный признак изобретений, заключающийся в том, что тела, наполненные вином, в случае с группой, включающей три сосуда, посредством крепежного элемента или общей упаковки группируют с одной стороны от тела, наполненного водой, позволяет получить технический результат, выраженный в обеспечении возможностей: использования воды в качестве конструктивного элемента тары, выполняющего функцию оптического фильтра, фильтра ИК и УФ излучений, а также термодемпфера; качественного высокопроизводительного изготовления потребительской тары для упомянутых композиций, разлива в нее упомянутых компонентов, ее транспортировки, хранения и реализации; гарантированного предоставления для непосредственного потребления человеком только продуктов, которые подвергались обработке разрешенными методами виноделия.
Отличительные признаки изобретений: заключающийся в том, что сосуды групп набора, наполненные вином, выполняют с объемом рабочих емкостей, удовлетворяющим условию (6), а также для второго из заявляемых объектов, заключающийся в том, что сосуды, наполненные вином, выполняют с объемом рабочих емкостей, удовлетворяющим условию (11), позволяют получить технический результат выраженный в обеспечении возможностей: гарантированного предоставления для потребления человеком только продуктов, которые подвергались обработке разрешенными методами виноделия, изъятия проб компонентов из потребительской тары без применения трудоемких технологических процедур, применения стандартных методов анализа, а также токсикологических испытании компонентов конечного продукта, хранящегося на стадии продажи конечному потребителю, оценки органолептических свойств каждого из компонентов в отдельности конечным потребителем; а также в исключении возможности сокрытия последствий применения некачественного сырья или нежелательных методов виноделия. Это становится возможным благодаря тому, что указанного объема достаточно для проведения оценки качества вина в упомянутой выше части, а также в части применения методов рефрактометрического анализа, например, для определения содержания натрия, калия, кальция, железа, меди, кадмия, серебра, цинка, свинца, фторидов, в части определения объемной доли этилового спирта, общего количества сухих веществ, редуцирующих сахаров, сахарозы, глюкозы и фруктозы, зольных веществ (и их щелочности), хлоридов, сульфатов, диоксида серы, цианопроизводных, в части оценки содержания летучих кислот и этилового карбоната, общей кислотности. Также эти признаки позволяют получить технический результат, выраженный в обеспечении возможностей: предоставления сопроводительной документации на каждый из упомянутых компонентов; повышения здоровья населения (в указанном в разделе сущность изобретений смысле); пропаганды здорового образа жизни, в котором есть место композициям на основе продукции виноделия, создание условий для ведения такого образа жизни; охраны общественного здоровья через охрану здоровья потребителей в части поддержания высокого уровня качества винодельческого производства, а также защита интересов торговли в части исключения диспропорций в условиях конкуренции; удобного, быстрого и безошибочного приготовления упомянутых композиций неподготовленным пользователем.
Отличительные признаки изобретений: заключающийся в том, что сосуды групп набора, наполненные вином, выполняют с объемом рабочих емкостей, удовлетворяющим условию (7), а также для второго из заявляемых объектов, заключающийся в том, что сосуды, наполненные вином, выполняют с объемом рабочих емкостей, удовлетворяющим условию (12), позволяют получить технический результат, выраженный в обеспечении возможностей: гарантированного предоставления для потребления человеком только продуктов, которые подвергались обработке разрешенными методами виноделия, изъятия проб компонентов из потребительской тары без применения трудоемких технологических процедур, применения стандартных методов анализа, а также токсикологических испытаний компонентов конечного продукта, хранящегося на стадии продажи конечному потребителю, оценки органолептических свойств каждого из компонентов в отдельности конечным потребителем; а также в исключении возможности сокрытия последствий применения некачественного сырья или нежелательных методов виноделия. Это становится возможным благодаря тому, что указанного объема достаточно для проведения оценки качества вина в упомянутых выше частях, а также в части применения методов ядерного магнитного резонанса с использованием дейтерия, в части определения плотности и относительной плотности, в части оценки содержания аллилизотиоцианата. Также эти признаки позволяют получить технический результат, выраженный в обеспечении возможностей: предоставления сопроводительной документации на каждый из упомянутых компонентов; повышения здоровья населения (в указанном в разделе сущность изобретений смысле); пропаганды здорового образа жизни, в котором есть место композициям на основе продукции виноделия, создание условий для ведения такого образа жизни; охраны общественного здоровья через охрану здоровья потребителей в части поддержания высокого уровня качества винодельческого производства, а также защита интересов торговли в части исключения диспропорций в условиях конкуренции; удобного, быстрого и безошибочного приготовления упомянутых композиций неподготовленным пользователем.
Отличительный признак изобретений, заключающийся в том, что охватывающий и охватываемый сосуды потребительской тары выполняют наполненными соответственно минеральной водой и натуральным сухим вином так, что выполняются условия (9) и (10), позволяет получить технический результат, выраженный в обеспечении возможностей: использования одного из упомянутых компонентов в качестве конструктивного элемента упомянутой потребительской тары и длительного хранения натурального сухого вина в жидком виде за счет окружения сосуда с вином защитным слоем воды при установленном соотношении упомянутых в (9) площадей со средней толщиной слоя воды более пяти миллиметров; применения стандартных методов анализа, особенно в части методов и порядка отбора проб и идентификации, а также токсикологических испытаний упомянутых компонентов конечного продукта, хранящегося на стадии продажи конечному потребителю; гарантированного предоставления для непосредственного потребления человеком только продуктов, которые подвергались обработке разрешенными методами виноделия; длительного хранения упомянутых компонентов в упомянутой потребительской таре без консервантов и пастеризации; использования стандартных оборудования и техпроцессов для разлива упомянутых компонентов в упомянутую потребительскую тару с целью последующего раздельного хранения последних; использования при работе с упомянутыми потребительскими тарами стандартных приемов транспортировки и хранения жидких напитков; при визуальном восприятии упомянутой потребительской тары появления оптических спецэффектов и иллюзий восприятия; а также в исключении возможности сокрытия последствий применения некачественного сырья или нежелательных методов виноделия.
Отличительный признак изобретений, заключающийся в том, что охватывающий сосуд в нижней части включает посадочную поверхность для охватываемого сосуда, соответствующая сопряженная поверхность которого обеспечивает с указанной посадочной плотное разъемное соединение, позволяет получить технический результат, выраженный в обеспечении возможностей: длительного раздельного хранения упомянутых компонентов в упомянутой потребительской таре; качественного высокопроизводительного изготовления потребительской тары для упомянутых композиций, разлива в нее упомянутых компонентов, ее транспортировки, хранения и реализации; изъятия проб упомянутых компонентов из упомянутой потребительской тары без применения трудоемких технологических процедур; использования при изготовлении упомянутой потребительской тары вакуумного формообразования, технологий, основанных на перерабатываемых и неперерабатываемых пластмассах, других технологий массового изготовления потребительской тары для жидких продуктов; минимизации числа деталей и узлов устройства – упомянутой потребительской тары, в которой предполагается раздельное хранение упомянутых компонентов; использования при работе с упомянутыми потребительскими тарами стандартных приемов транспортировки и хранения жидких напитков, а также в исключении возможности случайного выделения упомянутых компонентов из упомянутой потребительской тары в чистом виде.
Отличительный признак изобретений, заключающийся в том, что сосуды в верхней части укупоривают общей пробкой, позволяет получить технический результат, выраженный в обеспечении возможностей, использования широкой номенклатуры материалов при производства тары; длительного раздельного хранения упомянутых компонентов в упомянутой потребительской таре; качественного высокопроизводительного изготовления потребительской тары для упомянутых композиций, разлива в нее упомянутых компонентов, ее транспортировки, хранения и реализации; изъятия проб упомянутых компонентов из упомянутой потребительской тары без применения трудоемких технологических процедур; минимизации числа деталей и узлов устройства – упомянутой потребительской тары, в которой предполагается раздельное хранение упомянутых компонентов; использования стандартных способов приема жидких продуктов массового распространения; однотипного приготовления упомянутых композиций с различным соотношением упомянутых компонентов, а также в исключении возможности случайного выделения упомянутых компонентов из упомянутой потребительской тары в чистом виде.
Отличительный признак изобретений, заключающийся в том, что пробка сопрягается с охватывающим сосудом посредством плотного резьбового соединения, позволяет получить технический результат, выраженный в обеспечении возможностей: совмещения по времени процесса открытия тары с процессом смешения компонентов; использования прессовых посадок при закупорке (закрытии) емкостей упомянутой тары; однотипного приготовления упомянутых композиций с различным соотношением упомянутых компонентов.
Отличительные признаки изобретений, заключающиеся в том, что длина плотного разъемного соединения охватывающего и охватываемого сосудов (в нижней части тары) меньше длины плотного резьбового соединения охватывающего сосуда с пробкой (в верхней части) и что такое резьбовое соединение выполнено с отношением длины к шагу резьбы не меньшим десяти, позволяют получить технический результат, выраженный в обеспечении возможностей, качественного перемешивания упомянутых компонентов при откупорке (открытии) упомянутой тары; совмещения по времени процесса откупорки (открытия) упомянутой тары с процессом смешения упомянутых компонентов.
Отличительные признаки изобретений, заключающиеся в том, что пробка сопрягается с охватываемым сосудом посредством неразъемного герметичного соединения, что пробка и фиксатор сопряжены посредством герметичного соединения, что пробка соединяется с охватываемым сосудом посредством плотного резьбового соединения, что пробка включает фиксатор, обеспечивающий блокировку ее резьбового соединения с охватываемым сосудом, посредством упругого элемента фиксатора, распирающего охватываемый сосуд, что пробка включает фиксатор охватываемого сосуда, сопрягаемый с ней посредством неразъемного соединения, что охватываемый сосуд в верхней части включает посадочную поверхность для пробки, соответствующая сопряженная поверхность которой обеспечивает с указанной посадочной плотное соединение, что охватываемый сосуд в верхней части включает посадочную поверхность для фиксатора охватываемого сосуда, соответствующая сопряженная поверхность которого обеспечивает с указанной посадочной неразъемное соединение, при этом указанный фиксатор, распирая охватываемый сосуд, обеспечивает его неразъемное соединение с пробкой, что пробка включает посадочную поверхность для фиксатора, соответствующая сопряженная поверхность которого обеспечивает неразъемное соединение фиксатора с пробкой и либо это соединение, либо неразъемное соединение фиксатора с охватываемым сосудом выполнено герметичным с точки зрения протекания вина вовне тары, что тара включает переходник с как минимум одним воздухоподводным отверстием, выполненный как конструктивный элемент пробки и соединяющий охватываемый сосуд с пробкой и охватывающим сосудом, что переходник с воздухоподводным отверстием в своей нижней части включает посадочную поверхность для охватываемого сосуда, соответствующая сопряженная поверхность которого обеспечивает с указанной посадочной плотное герметичное соединение, что переходник с воздухоподводным отверстием в своей средней части включает посадочную поверхность для охватывающего сосуда, соответствующая сопряженная поверхность которого обеспечивает с указанной посадочной герметичное соединение, что переходник с воздухоподводным отверстием в своей верхней части включает посадочную поверхность для пробки, соответствующая сопряженная поверхность которой обеспечивает с указанной посадочной плотное соединение, что плотное соединение выполняют неразъемным, что плотное соединение выполняют герметичным с точки зрения протекания вина вовне тары, что пробка включает фиксатор охватываемого сосуда и переходника и такой фиксатор включает как минимум одно воздухопроводное отверстие, а переходник с воздухоподводным отверстием в верхней и/или нижней части включает посадочную поверхность для указанного фиксатора, соответствующая сопряженная поверхность которого обеспечивает с указанной посадочной неразъемное соединение, при этом указанный фиксатор обеспечивает жесткое неразъемное соединение переходника с пробкой и/или с охватываемым сосудом, что неразъемное соединение фиксатора охватываемого сосуда и переходника с последним в верхней части выполняют герметичным с точки зрения протекания упомянутого вина вовне тары, что тара включает выполненный как конструктивный элемент пробки переходник с как минимум одним воздухопроводным отверстием, присоединенный посредством неразъемного соединения к охватываемому сосуду и соединяющий его с пробкой, что переходник с воздухопроводным отверстием включает посадочную поверхность для фиксатора переходника, соответствующая сопряженная поверхность которого обеспечивает с указанной посадочной неразъемное соединение, при этом фиксатор обеспечивает жесткое неразъемное соединение переходника с пробкой и такое неразъемное соединение выполняют герметичным с точки зрения протекания вина вовне тары, что плотное разъемное соединение посадочной поверхности охватывающего тела в его нижней части с соответствующей сопряженной (сопрягаемой) поверхностью охватываемого тела выполняют герметичным, что охватывающий сосуд в нижней части в месте посадочной поверхности включает полость, в которую установлен упругий блокиратору входящий с охватывающим сосудом в упругое соединение, обеспечивающее гарантированное плотное герметичное разъемное соединение охватываемого и охватывающего сосудов, что охватывающий сосуд в нижней части в месте посадочной поверхности включает полость, в которую установлен упругий блокиратор, входящий с охватывающим сосудом в упругое соединение, обеспечивающее неразъемное соединение посадочной поверхности охватывающего сосуда с сопрягаемой поверхностью охватываемого сосуда отчасти по отдельности, отчасти в совокупности позволяют получить технический результат, выраженный в обеспечении возможностей, удобного, быстрого и безошибочного приготовления упомянутых композиций неподготовленным пользователем; минимизации числа деталей и узлов устройства – упомянутой потребительской тары, в которой предполагается раздельное хранение упомянутых компонентов; использования стандартных оборудования и техпроцессов для разлива упомянутых компонентов в упомянутую потребительскую тару с целью последующего раздельного хранения последних; длительного раздельного хранения упомянутых компонентов в упомянутой потребительской таре; длительного хранения натурального сухого вина в жидком виде; однотипного приготовления упомянутых композиций с различным соотношением упомянутых компонентов; использования прессовых посадок при закупорке (закрытии) емкостей упомянутой тары; совмещения по времени процесса откупорки (открытия) упомянутой тары с процессом смешения упомянутых компонентов, а также в исключении возможности случайного выделения упомянутых компонентов из упомянутой потребительской тары в чистом виде.
Отличительные признаки изобретений, заключающиеся в том, что пробка включает как минимум одно воздухоподводное отверстие, один из торцов которого связан с рабочей емкостью охватываемого сосуда, а другой герметично закрыт сопряжением пробки с охватывающим сосудом, что фиксатор может включать как минимум одно воздухопроводное отверстие, связывающее воздухоподводное отверстие с рабочей емкостью охватываемого сосуда, что охватываемый сосуд в области сопряженной поверхности имеет как минимум одно воздухоподводное отверстие, герметично закрытое посадочной поверхностью с точки зрения проникновения в него наружного воздуха, а также воды и что такие отверстия выполняют вытянутыми в вертикальном направлении, что тара включает переходник с как минимум одним воздухоподводным отверстием, выполненный как конструктивный элемент пробки и соединяющий охватываемый сосуд с пробкой и охватывающим сосудом, что переходник с воздухоподводным отверстием в средней части включает как минимум одно соединенное с рабочей емкостью охватываемого сосуда воздухоподводное отверстие, закрытое от внешней среды сопряженной поверхностью, что пробка включает фиксатор охватываемого сосуда и переходника и такой фиксатор включает как минимум одно воздухопроводное отверстие, а переходник с воздухоподводным отверстием в верхней и/или нижней части включает посадочную поверхность для указанного фиксатора, соответствующая сопряженная поверхность которого обеспечивает с указанной посадочной неразъемное соединение, при этом указанный фиксатор обеспечивает жесткое неразъемное соединение переходника с пробкой и/или с охватываемым сосудом, что тара включает выполненный как конструктивный элемент пробки переходник с как минимум одним воздухопроводным отверстием, присоединенный посредством неразъемного соединения к охватываемому сосуду и соединяющий его с пробкой отчасти по отдельности, отчасти в совокупности позволяют получить технический результат, выраженный в обеспечении возможностей: совмещения по времени процесса откупорки (открытия) упомянутой тары с процессом смешения упомянутых компонентов; однотипного приготовления упомянутых композиций с различным соотношением упомянутых компонентов; качественного перемешивания упомянутых компонентов при откупорке (открытии) упомянутой тары.
Отличительный признак изобретений, заключающийся в том, что пробка включает фиксатор, обеспечивающий неразъемное герметичное соединение пробки с охватываемым сосудом посредством упругого элемента фиксатора, распирающего либо пробку, либо охватываемый сосуд, позволяет получить технический результат, выраженный в обеспечении возможностей: использования прессовых посадок при закупорке (закрытии) емкостей упомянутой тары; длительного хранения натурального сухого вина в жидком виде; использования стандартных оборудования и техпроцессов для разлива упомянутых компонентов в упомянутую потребительскую тару с целью последующего раздельного хранения последних; использования при изготовлении упомянутой потребительской тары вакуумного формообразования, технологий, основанных на перерабатываемых и неперерабатываемых пластмассах, других технологий массового изготовления потребительской тары для жидких продуктов; использования широкой номенклатуры материалов при производства тары.
Отличительный признак изобретений, заключающийся в том, что отношение наибольшего измерения поперечного сечения рабочей емкости охватывающего сосуда к наибольшему измерению поперечного сечения рабочей емкости охватываемого сосуда может быть не меньше корня квадратного из двух, позволяет получить технический результат, выраженный в обеспечении возможностей: использования при работе с упомянутыми потребительскими тарами стандартных приемов транспортировки и хранения жидких напитков; использования одного из упомянутых компонентов в качестве конструктивного элемента упомянутой потребительской тары; при визуальном восприятии упомянутой потребительской тары появления оптических спецэффектов и иллюзий восприятия; создания новой вкусовой линии, расширения ассортимента утоляющей жажду продукции, не причиняющей вреда здоровью человека; получения конечным потребителем слабоалкогольного или безалкогольного напитка в объеме 0,2; 0,25; 0,33; 0,4; 0,5; 0,66; 1,0; 1,5 л.
Отличительный признак изобретений, заключающийся в том, что охватываемый сосуд выполняют преимущественно цилиндрическим, позволяет получить технический результат, выраженный в обеспечении возможностей: использования при изготовлении упомянутой потребительской тары вакуумного формообразования, технологий, основанных на перерабатываемых и неперерабатываемых пластмассах, других технологий массового изготовления потребительской тары для жидких продуктов; использования стандартных оборудования и техпроцессов для разлива упомянутых компонентов в упомянутую потребительскую тару с целью последующего раздельного хранения последних; использования при работе с упомянутыми потребительскими тарами стандартных приемов транспортировки и хранения жидких напитков; при визуальном восприятии упомянутой потребительской тары появления оптических спецэффектов и иллюзий восприятия.
Отличительные признаки изобретений, заключающиеся в том, что в случае если отношение наибольшего измерения поперечного сечения рабочей емкости охватывающего сосуда к наибольшему измерению поперечного сечения рабочей емкости охватываемого сосуда меньше двух, охватывающий сосуд выполняют как минимум с одной плоской гранью на боковой поверхности, что в случае если отношение наибольшего измерения поперечного сечения рабочей емкости охватывающего сосуда к наибольшему измерению поперечного сечения рабочей емкости охватываемого сосуда больше двух, охватывающий сосуд выполняют преимущественно цилиндрическим, что в случае если отношение наибольшего измерения поперечного сечения рабочей емкости охватывающего сосуда к наибольшему измерению поперечного сечения рабочей емкости охватываемого сосуда больше трех, то охватываемый сосуд выполняют как минимум с одной плоской гранью на своей боковой поверхности отчасти по отдельности, отчасти в совокупности позволяют получить технический результат, выраженный в обеспечении возможностей: использования при работе с упомянутыми потребительскими тарами стандартных приемов транспортировки и хранения жидких напитков; при визуальном восприятии упомянутой потребительской тары появления оптических спецэффектов и иллюзий восприятия; создания новой вкусовой линии, расширения ассортимента утоляющей жажду продукции, не причиняющей вреда здоровью человека; получения конечным потребителем слабоалкогольного или безалкогольного напитка в объеме 0,2; 0,25; 0,33; 0,4; 0,5; 0,66; 1,0; 1,5 л; использования при изготовлении упомянутой потребительской тары вакуумного формообразования, технологий, основанных на перерабатываемых и неперерабатываемых пластмассах, других технологий массового изготовления потребительской тары для жидких продуктов; использования стандартных оборудования и техпроцессов для разлива упомянутых компонентов в упомянутую потребительскую тару с целью последующего раздельного хранения последних.
Отличительные признаки изобретений, заключающиеся в том, что площади граней охватывающего и охватываемого сосудов составляют не менее пяти процентов от площади их поверхностей, что охватывающий и охватываемые сосуды выполняют с тремя плоскими гранями, что плоские грани охватывающего и охватываемого сосуда располагают вертикально, позволяют получить технический результат, выраженный в обеспечении возможностей: использования при изготовлении упомянутой потребительской тары вакуумного формообразования, технологий, основанных на перерабатываемых и неперерабатываемых пластмассах, других технологий массового изготовления потребительской тары для жидких продуктов; использования стандартных оборудования и техпроцессов для разлива упомянутых компонентов в упомянутую потребительскую тару с целью последующего раздельного хранения последних; использования при работе с упомянутыми потребительскими тарами стандартных приемов транспортировки и хранения жидких напитков; при визуальном восприятии упомянутой потребительской тары появления оптических спецэффектов и иллюзий восприятия.
Отличительный признак изобретений, заключающийся в том, что плоские грани охватывающего и охватываемого сосуда имеют одинаковую в пределах погрешности изготовления площадь, позволяет получить технический результат, выраженный в обеспечении возможности при визуальном восприятии упомянутой потребительской тары появления оптических спецэффектов и иллюзий восприятия.
Отличительные признаки изобретений, заключающиеся в том, что охватываемый сосуд с точки зрения расположения центров тяжести поперечных сечений сосудов на поперечном сечении тары располагают по центру охватывающего с допуском, определяемым погрешностями изготовления и расположения сосудов, что сосуды могут располагают соосно с допуском, определяемым погрешностями изготовления и расположения тел, позволяют получить технический результат, выраженный в обеспечении возможностей: использования при работе с упомянутыми потребительскими тарами стандартных приемов транспортировки и хранения жидких напитков; использования стандартных оборудования и техпроцессов для разлива упомянутых компонентов в упомянутую потребительскую тару с целью последующего раздельного хранения последних; использования одного из упомянутых компонентов в качестве конструктивного элемента упомянутой потребительской тары; длительного хранения натурального сухого вина в жидком виде; при визуальном восприятии упомянутой потребительской тары появления оптических спецэффектов и иллюзий восприятия.
Отличительный признак изобретений, заключающийся в том, что охватывающий сосуд в верхней части включает посадочную поверхность для охватываемого сосуда, соответствующая сопряженная поверхность которого обеспечивает с указанной посадочной герметичное разъемное соединение, позволяет получить технический результат, выраженный в обеспечении возможностей: качественного высокопроизводительного изготовления потребительской тары для упомянутых композиций, розлива в нее упомянутых компонентов, ее транспортировки, хранения и реализации; удобного, быстрого и безошибочного приготовления упомянутых композиций неподготовленным пользователем; изъятия проб упомянутых компонентов из упомянутой потребительской тары без применения трудоемких технологических процедур; использования при изготовлении упомянутой потребительской тары вакуумного формообразования, технологий, основанных на перерабатываемых и неперерабатываемых пластмассах, других технологий массового изготовления потребительской тары для жидких продуктов; минимизации числа деталей и узлов устройства – упомянутой потребительской тары, в которой предполагается раздельное хранение упомянутых компонентов; использования стандартных оборудования и техпроцессов для разлива упомянутых компонентов в упомянутую потребительскую тару с целью последующего раздельного хранения последних; использования широкой номенклатуры материалов при производства тары; длительного раздельного хранения упомянутых компонентов в упомянутой потребительской таре; длительного хранения натурального сухого вина в жидком виде; использования стандартных способов приема жидких продуктов массового распространения; однотипного приготовления упомянутых композиций с различным соотношением упомянутых компонентов; совмещения по времени процесса откупорки (открытия) упомянутой тары с процессом смешения упомянутых компонентов; совмещения в сосуде с водой функций потребительской тары для хранения воды на стадии продажи конечному потребителю, мерного стакана, емкости для питья.
Отличительный признак изобретений, заключающийся в том, что как минимум один фрагмент посадочной поверхности верхней части и сопряженной выполняют в виде фрагмента цилиндра или в виде цилиндра позволяет получить технический результат, выраженный в обеспечении возможности использования стандартных оборудования и техпроцессов для розлива упомянутых компонентов в упомянутую потребительскую тару с целью последующего раздельного хранения последних.
Отличительный признак изобретений, заключающийся в том, что как минимум один фрагмент посадочной и сопряженной поверхностей нижней части выполняют в виде фрагмента цилиндра или в виде цилиндра позволяет получить технический результат, выраженный в обеспечении возможностей, использования стандартных оборудования и техпроцессов для разлива упомянутых компонентов в упомянутую потребительскую тару с целью последующего раздельного хранения последних; использования прессовых посадок при закупорке (закрытии) емкостей упомянутой тары.
Отличительный признак изобретений, заключающийся в том, что как минимум один фрагмент посадочной и сопряженной поверхностей выполняют в виде фрагмента конуса с углом при вершине не более пятнадцати градусов или конусным с таким же углом при вершине позволяет получить технический результат, выраженный в обеспечении возможностей: использования стандартных оборудования и техпроцессов для разлива упомянутых компонентов в упомянутую потребительскую тару с целью последующего раздельного хранения последних; использования прессовых посадок при закупорке (закрытии) емкостей упомянутой тары; исключения проникновения воды в сосуд с вином (или в сосуд для вина) на этапе сборки тары.
Отличительные признаки изобретений, заключающиеся в том, что установку блокиратора выполняют посредством хотя бы одного фрагмента резьбового соединения и такое соединение выполняют конусообразным, позволяют получить технический результат, выраженный в обеспечении возможностей, использования стандартных оборудования и техпроцессов для разлива упомянутых компонентов в упомянутую потребительскую тару с целью последующего раздельного хранения последних; длительного раздельного хранения упомянутых компонентов в упомянутой потребительской таре.
Отличительный признак изобретений, заключающийся в том, что блокиратор выполняют съемным и он включает ручку (ухват) позволяет получить технический результат, выраженный в обеспечении возможности удобного, быстрого и безошибочного приготовления упомянутых композиций неподготовленным пользователем.
Отличительные признаки изобретений, заключающиеся в том, что охватываемый сосуд выполняют с возможностью его установки в наполненный водой охватывающий без проникновения воды из рабочей емкости охватывающего в рабочую емкость охватываемого, что охватываемый сосуд выполняют герметичным с точки зрения упомянутого проникновения, что охватываемый сосуд в нижней части включает донную пробку, препятствующую связыванию рабочих емкостей, и, следовательно, упомянутому проникновению, что охватываемый сосуд в нижней части включает перегородку (в частном случае – пленочную), препятствующую связыванию рабочих емкостей и, следовательно, упомянутому проникновению, отчасти по отдельности, отчасти в совокупности позволяют получить технический результат, выраженный в обеспечении возможностей: удобного, быстрого и безошибочного приготовления упомянутых композиций неподготовленным пользователем; длительного хранения упомянутых компонентов в упомянутой потребительской таре без консервантов и пастеризации; длительного раздельного хранения упомянутых компонентов в упомянутой потребительской таре; длительного хранения натурального сухого вина в жидком виде; изъятия проб упомянутых компонентов из упомянутой потребительской тары без применения трудоемких технологических процедур; минимизации числа деталей и узлов устройства – упомянутой потребительской тары, в которой предполагается раздельное хранение упомянутых компонентов; использования стандартных оборудования и техпроцессов для разлива упомянутых компонентов в упомянутую потребительскую тару с целью последующего раздельного хранения последних; использования широкой номенклатуры материалов при производства тары; использования одного из упомянутых компонентов в качестве конструктивного элемента упомянутой потребительской тары; однотипного приготовления упомянутых композиций с различным соотношением упомянутых компонентов; использования прессовых посадок при закупорке (закрытии) емкостей упомянутой тары; исключения проникновения воды в сосуд с вином (или в сосуд для вина) на этапе сборки тары.
Отличительные признаки изобретений, заключающиеся в том, что охватывающий сосуд выполняют с возможностью нарушения герметичности с упомянутой точки зрения охватываемого сосуда при сборке тары и/или при ее откупоривании, что охватывающий сосуд включает перфоратор для нарушения целостности и, следовательно, герметичности с упомянутой точки зрения охватываемого сосуда, что охватывающий сосуд включает толкатель для смещения донной пробки или перегородки, что толкатель выполняют с возможностью образовывать с донной пробкой неразъемное соединение (пазл, замок), которое будет оставаться таковым и при извлечении охватываемого сосуда из рабочей емкости охватывающего, что толкатель содержит разъем, сопрягаемый с ответным разъемом на донной пробке, что толкатель включает штифт, пронизывающий донную пробку, который развальцован (или расклепан, или термически оплавлен) в рабочей емкости охватываемого сосуда, для образования неразъемного соединения позволяют получить технический результат, выраженный в обеспечении возможностей: удобного, быстрого и безошибочного приготовления упомянутых композиций неподготовленным пользователем; совмещения по времени процесса откупорки (открытия) упомянутой тары с процессом смешения упомянутых компонентов.
Отличительный признак изобретений, заключающийся в том, что охватываемый сосуд включает уступ для препятствования выхода из него перегородки, позволяет получить технический результат, выраженный в обеспечении возможности удобного, быстрого и безошибочного приготовления упомянутых композиций неподготовленным пользователем.
Отличительные признаки изобретений, заключающиеся в том, что охватывающий и/или охватываемый сосуды выполняют из материала с показателем преломления для длины волны пятьсот пятьдесят пять нанометров, совпадающим с точностью до десятых долей после стандартного округления с показателем преломления воды, что охватывающий сосуд выполняют из материала с показателем преломления для длины волны пятьсот пятьдесят пять нанометров большим показателя преломления воды, что охватываемый сосуд выполняют из материала с показателем преломления для длины волны пятьсот пятьдесят пять нанометров меньшим показателя преломления воды, что охватываемый сосуд выполняют из двухслойной комбинации материала, при этом обращенный к воде слой выполняют из материала с показателем преломления для длины волны пятьсот пятьдесят пять нанометров меньшим показателя преломления воды, а обращенный к вину слой – из материала с показателем преломления для длины волны пятьсот пятьдесят пять нанометров большим показателя преломления вина, что между слоями на удалении, превышающем двадцать миллиметров от места крепления или установки одного сосуда в другом либо от места сопряжения тел, либо от свободных поверхностей компонентов при нормальном положении тары, располагают воздушную пленку толщиной не менее одной десятой миллиметра, позволяют получить технический результат, выраженный в обеспечении возможности при визуальном восприятии упомянутой потребительской тары появления оптических спецэффектов и иллюзий восприятия.
Отличительный признак изобретений, заключающийся в том, что охватываемый сосуд выполняют из двухслойной комбинации материала, позволяет получить технический результат, выраженный в обеспечении возможностей: использования при изготовлении упомянутой потребительской тары вакуумного формообразования, технологий, основанных на перерабатываемых и неперерабатываемых пластмассах, других технологий массового изготовления потребительской тары для жидких продуктов; минимизации числа деталей и узлов устройства – упомянутой потребительской тары, в которой предполагается раздельное хранение упомянутых компонентов; использования стандартных оборудования и техпроцессов для разлива упомянутых компонентов в упомянутую потребительскую тару с целью последующего раздельного хранения последних; использования широкой номенклатуры материалов при производства тары; использования прессовых посадок при закупорке (закрытии) емкостей упомянутой тары; изъятия проб упомянутых компонентов из упомянутой потребительской тары без применения трудоемких технологических процедур.
Отличительный признак изобретений, заключающийся в том, что на охватываемом теле размещают этикетку, идентифицирующую вино позволяет получить технический результат, выраженный в обеспечении возможностей: предоставления сопроводительной документации на каждый из упомянутых компонентов; индуцирования ассоциативной связи соответствующего заявляемым изобретения объекта розничной продажи при его визуальном восприятии с высококачественной винодельческой продукцией.
Отличительные признаки изобретений, заключающиеся в том, что этикетку, идентифицирующую вино, размещают как минимум на одном из слоев со стороны воздушной пленки, что ее выполняют посредством привнесения макрошероховатости как минимум на одну из поверхностей охватываемого сосуда: граничащую с водой и/или граничащую с вином, и/или граничащую с воздушной пленкой, что размещают как минимум на одном ребре (на области между плоскими гранями) охватываемого сосуда, позволяют получить технический результат, выраженный в обеспечении возможностей: индуцирования ассоциативной связи соответствующего заявляемым изобретения объекта розничной продажи при его визуальном восприятии с высококачественной винодельческой продукцией; при визуальном восприятии упомянутой потребительской тары появления оптических спецэффектов и иллюзий восприятия.
Отличительные признаки изобретений, заключающиеся в том, что охватывающий или охватываемый сосуд выполняют из непрозрачного для видимого света материала или иметь непрозрачное для такого света покрытие, что один из сосудов выполняют из отражающего видимый свет материала или иметь отражающее такой свет покрытие, позволяют получить технический результат, выраженный в обеспечении возможностей: длительного хранения упомянутых компонентов в упомянутой потребительской таре без консервантов и пастеризации; использования широкой номенклатуры материалов при производства тары; длительного раздельного хранения упомянутых компонентов в упомянутой потребительской таре; длительного хранения натурального сухого вина в жидком виде.
Отличительный признак изобретений, заключающийся в том, что на охватывающем сосуде размещают этикетку с инструкцией, позволяет получить технический результат, выраженный в обеспечении возможности индуцирования ассоциативной связи соответствующего заявляемым изобретения объекта розничной продажи при его визуальном восприятии с высококачественной винодельческой продукцией.
Отличительные признаки изобретений, заключаются в том, что как минимум на одной из этикеток располагают изображение виноградной лозы, акцентирующее внимание пользователя на терпкие вкусовые оттенки композиции, либо в том, что как минимум на одной из этикеток располагают изображение виноградной ягоды, акцентирующее внимание пользователя на сладкие вкусовые оттенки упомянутой композиции, либо в том, что как минимум на одной из этикеток располагают изображение лимона, акцентирующее внимание пользователя на кислые вкусовые оттенки упомянутой композиции, либо в том, что как минимум на одной из этикеток располагают изображение полыни, акцентирующее внимание пользователя на горькие вкусовые оттенки упомянутой композиции, позволяют получить технический результат, выраженный в индуцировании ассоциативной связи соответствующего заявляемым изобретений объекта розничной продажи при его визуальном восприятии с высококачественной винодельческой продукцией, а также в обеспечении возможности выделения из многообразия вкусовых оттенков композиции вино с водой предпочтительного.
Отличительный признак изобретений, заключающийся в том, что этикетку с инструкцией располагают напротив как минимум одной плоской грани позволяет получить технический результат, выраженный в обеспечении возможности при визуальном восприятии упомянутой потребительской тары появления оптических спецэффектов и иллюзий восприятия.
Отличительный признак изобретений, заключающийся в том, что охватываемый сосуд включает лопасти, позволяет получить технический результат, выраженный в обеспечении возможности качественного перемешивания компонентов при откупорке упомянутой тары, позволяет получить технический результат, выраженный в обеспечении возможности качественного перемешивания упомянутых компонентов при откупорке (открытии) упомянутой тары.
В остальном по мнению авторов связь отличительных признаков представляемых изобретений с заявляемым техническим результатом очевидна.
где VW – объем рабочей емкости сосуда, наполненного водой;
– суммарный объем рабочих емкостей сосудов, наполненных вином i-й марки;
n – число марок вин, представленных упомянутой группой сосудов,
часть которого
занята водой, и изготовлен из полиэтилена или другого материала, разрешенного органами здравоохранения или иными уполномоченными на то органами для контакта с упомянутыми водой и вином или только с водой, либо включает в местах контакта с ними соответствующие покрытия своих поверхностей, а сосуды, наполненные упомянутым вином, выполнены с объемом рабочих емкостей, удовлетворяющим условию
и изготовлены из стекла, или дуба, или титана, или другого материала, разрешенного органами здравоохранения или иными уполномоченными на то органами для контакта с упомянутыми вином и водой, либо включают в местах контакта с ними соответствующие покрытия своих поверхностей, при этом сосуды упомянутых групп выполнены с возможностью доступа в рабочие емкости, наполненные упомянутым вином, без их связывания с рабочими емкостями, наполненными упомянутой водой.
2. Набор по п.1, отличающийся тем, что упомянутый сосуд, наполненный упомянутой водой, от уровня последней проградуирован в соотношениях объема наполняющей сосуд воды к объему примешиваемой к ней жидкости (вина) при дополнении ею сосуда, и такая градуировка включает следующие соотношения 4:1, 6:1, 8:1, 10:1.
3. Набор по п.1 или 2, отличающийся тем, что упомянутые группы включают три сосуда, при этом эти сосуды выполнены в виде различных тел, одно из которых наполнено упомянутой водой и является большим по размеру, а два других – упомянутым вином и являются меньшими по размеру, причем сосуд, наполненный упомянутой водой, выполнен с большим как минимум в 1,2 раза по площади выходным отверстием, по сравнению с площадью выходных отверстий сосудов, наполненных упомянутым вином.
4. Набор по п.1 или 2, отличающийся тем, что упомянутые группы включают два сосуда, при этом эти сосуды выполнены в виде различных тел, одно из которых наполнено упомянутой водой и является большим по размеру, а другое – упомянутым вином и являются меньшими по размеру, причем сосуд, наполненный упомянутой водой, выполнен с большим как минимум в 1,2 раза по площади выходным отверстием по сравнению с площадью выходного отверстия сосуда, наполненного упомянутым вином.
5. Набор по любому из пп.1-4, отличающийся тем, что упомянутые сосуды, наполненные упомянутым вином, выполнены с объемом рабочей емкости, удовлетворяющим условию
где
– суммарный объем рабочих емкостей сосудов, наполненных вином i-й марки.
6. Набор по любому из пп.1-5, отличающийся тем, что упомянутый сосуд, наполненный упомянутой водой, выполнен с объемом рабочей емкости, удовлетворяющим условию
где VW – объем рабочей емкости сосуда, наполненного водой;
– суммарный объем рабочих емкостей сосудов, наполненных вином i-й марки.
7. Набор по любому из пп.3-6, отличающийся тем, что упомянутые тела объединены посредством общего крепежного элемента или общей упаковки.
8. Набор по п.1, отличающийся тем, что упомянутое тело, наполненное упомянутой водой, дополнительно к упомянутой рабочей емкости имеет как минимум одну полость, в которой размещено упомянутое тело, наполненное упомянутым вином.
9. Набор по п.7, отличающийся тем, что центр выходного отверстия упомянутого тела, наполненного упомянутой водой, на виде сверху смещен более чем на пять миллиметров относительно центра тяжести упомянутой воды.
10. Набор по п.9, отличающийся тем, что упомянутые тела, наполненные упомянутым вином, в случае с группой, включающей три сосуда, посредством упомянутого крепежного элемента или общей упаковки сгруппированы с одной стороны от тела, наполненного упомянутой водой.
11. Набор по любому из пп.1-10, отличающийся тем, что упомянутые сосуды упомянутых групп, наполненные упомянутым вином, выполнены с объемом рабочих емкостей, удовлетворяющим условию
где
для j-й группы;
k – число групп в наборе.
12. Набор по любому из пп.1-10, отличающийся тем, что упомянутые сосуды упомянутых групп, наполненные упомянутым вином, выполнены с объемом рабочих емкостей, удовлетворяющим условию
где
для j-ой группы,
k – число групп в наборе.
13. Набор по п.11 или 12, отличающийся тем, что упомянутые группы объединены посредством общего крепежного элемента или общей упаковки.
14. Потребительская тара, предназначенная для раздельного хранения на стадии продажи конечному потребителю как минимум двух компонентов конечного продукта – композиции таких компонентов, включающая как минимум два сосуда с рабочими емкостями, наполненными такими компонентами, один из которых является охватывающим и включает рабочую емкость как минимум одного из оставшихся, далее – охватываемого сосуда, отличающаяся тем, что охватывающий и охватываемый сосуды выполнены наполненными соответственно минеральной водой и натуральным сухим вином так, что выполняются следующие условия
где
– суммарный объем рабочих емкостей сосудов, наполненных вином i-й марки;
n – число марок вин, представленных в упомянутой таре,
где
– площадь поверхности в м2 l-го охватываемого сосуда, контактирующего и с вином, и с водой, контактирующей с упомянутой водой;
– площадь поверхности в м2 такого сосуда, контактирующей с упомянутым вином;
m – число охватываемых сосудов, контактирующих и с вином, и с водой,
где VW – объем рабочей емкости охватывающего сосуда (сосуда, наполненного упомянутой водой),
причем тело, представляющее охватываемый сосуд, изготовлено из стекла, или дуба, или титана, или другого материала, разрешенного органами здравоохранения или иными уполномоченными на то органами для контакта с упомянутыми вином и водой, либо включает в местах контакта с ними соответствующие покрытия своих поверхностей, а тело, представляющее охватывающий сосуд, изготовлено из полиэтилена или другого материала, разрешенного органами здравоохранения или иными уполномоченными на то органами для контакта с упомянутой водой или и с упомянутой водой, и с упомянутым вином, либо включает в местах контакта с ней (с ними) соответствующие покрытия своих поверхностей, при этом упомянутые сосуды выполнены с возможностью доступа в рабочие емкости, содержащие упомянутое вино, без их связывания с рабочими емкостями, содержащими упомянутую воду.
15. Тара по п.14, отличающаяся тем, что упомянутые сосуды, наполненные упомянутым вином, выполнены с объемом рабочих емкостей, удовлетворяющим условию
где
– суммарный объем рабочих емкостей сосудов, наполненных вином i-й марки;
n – число марок вин, представленных в упомянутой таре.
16. Тара по п.14, отличающаяся тем, что упомянутые сосуды, наполненные упомянутым вином, выполнены с объемом рабочих емкостей, удовлетворяющим условию
где
– суммарный объем рабочих емкостей сосудов, наполненных вином i-й марки;
n – число марок вин, представленных в упомянутой таре.
17. Тара по п.14, отличающаяся тем, что упомянутые сосуды, наполненные упомянутым вином, выполнены с объемом рабочей емкости, удовлетворяющим условию
где
– суммарный объем рабочих емкостей сосудов, наполненных вином i-й марки.
18. Тара по любому из пп.14-17, отличающаяся тем, что упомянутый сосуд, наполненный упомянутой водой, выполнен с объемом рабочей емкости, удовлетворяющим условию
где VW – объем рабочей емкости сосуда, наполненного водой;
– суммарный объем рабочих емкостей сосудов, наполненных вином i-й марки.
19. Тара по любому из пп.14-18, отличающаяся тем, что охватывающий сосуд в нижней части включает посадочную поверхность для охватываемого сосуда, соответствующая сопряженная поверхность которого обеспечивает с указанной посадочной плотное разъемное соединение.
20. Тара по любому из пп.14-19, отличающаяся тем, что упомянутые сосуды в верхней части укупорены общей пробкой с выполненной в виде единого конструктивного элемента (или узла), при этом такая пробка выполнена корковой или алюминиевой с перфорацией, или полиэтиленовой, или она выполнена в виде кроненпробки, или в виде другого укупорочного средства или из другого материала, разрешенных органами здравоохранения или иными уполномоченными на то органами для контакта с упомянутыми вином и водой, либо в местах контакта с упомянутыми вином и водой она имеет соответствующее покрытие своих поверхностей.
21. Тара по п.20, отличающаяся тем, что упомянутая пробка сопрягается с охватывающим сосудом посредством плотного резьбового соединения.
22. Тара по пп.19, 21, отличающаяся тем, что длина упомянутого в п.19 плотного разъемного соединения меньше длины упомянутого в п.21 плотного резьбового соединения.
23. Тара по п.21 или 22, отличающаяся тем, что упомянутое резьбовое соединение выполнено с отношением длины к шагу резьбы, не меньшим десяти.
24. Тара по п.20, отличающаяся тем, что упомянутая пробка сопрягается с охватываемым сосудом посредством неразъемного герметичного соединения.
25. Тара по п.20, отличающаяся тем, что упомянутая пробка включает как минимум одно воздухоподводное отверстие, один из торцов которого связан с упомянутой рабочей емкостью охватываемого сосуда, а другой герметично закрыт сопряжением пробки с охватывающим сосудом.
26. Тара по любому из пп.20-23, 25 отличающаяся тем, что упомянутая пробка включает фиксатор, обеспечивающий неразъемное герметичное соединение пробки с охватываемым сосудом посредством упругого элемента фиксатора, распирающего либо пробку, либо охватываемый сосуд.
27. Тара по п.26, отличающаяся тем, что упомянутые пробка и фиксатор сопряжены посредством герметичного соединения.
28. Тара по п.27, отличающаяся тем, что упомянутый фиксатор включает как минимум одно воздухопроводное отверстие, связывающее воздухоподводное отверстие с рабочей емкостью охватываемого сосуда.
29. Тара по п.20, отличающаяся тем, что упомянутая пробка соединяется с охватываемым сосудом посредством плотного резьбового соединения.
30. Тара по п.29, отличающаяся тем, что упомянутая пробка включает фиксатор, обеспечивающий блокировку упомянутого в п.29 резьбового соединения, посредством упругого элемента фиксатора, распирающего охватываемый сосуд.
31. Тара по любому из пп.1-30, отличающаяся тем, что отношение наибольшего измерения поперечного сечения упомянутой рабочей емкости охватывающего сосуда к наибольшему измерению поперечного сечения упомянутой рабочей емкости охватываемого сосуда не меньше корня квадратного из двух.
32. Тара по п.31, отличающаяся тем, что охватываемый сосуд выполнен преимущественно цилиндрическим.
33. Тара по п.31 или 32, отличающаяся тем, что если упомянутое в п.31 отношение меньше двух, то охватывающий сосуд выполнен как минимум с одной плоской гранью на своей боковой поверхности.
34. Тара по п.33, отличающаяся тем, что площадь упомянутой грани составляет не менее пяти процентов от площади охватывающего сосуда.
35. Тара по п.33 или 34, отличающаяся тем, что охватывающий сосуд выполнен с тремя плоскими гранями.
36. Тара по любому из пп.33-35, отличающаяся тем, что упомянутые плоские грани расположены вертикально.
37. Тара по любому из пп.33-36, отличающаяся тем, что упомянутые плоские грани имеют одинаковую в пределах погрешности изготовления площадь.
38. Тара по п.31 или 32, отличающаяся тем, что если упомянутое в п.31 отношение больше двух, то охватывающий сосуд выполнен преимущественно цилиндрическим.
39. Тара по п.31, отличающаяся тем, что если упомянутое в п.31 отношение больше трех, то охватываемый сосуд выполнен как минимум с одной плоской гранью на своей боковой поверхности.
40. Тара по п.39, отличающаяся тем, что площадь упомянутой грани составляет не менее пяти процентов от площади охватываемого сосуда.
41. Тара по п.39 или 40, отличающаяся тем, что охватываемый сосуд выполнен с тремя плоскими гранями.
42. Тара по любому из пп.39-41, отличающаяся тем, что упомянутые плоские грани расположены вертикально.
43. Тара по любому из пп.39-42, отличающаяся тем, что упомянутые плоские грани имеют одинаковую в пределах погрешности изготовления площадь.
44. Тара по любому из пп.31-43, отличающаяся тем, что охватываемый сосуд с точки зрения расположения центров тяжести поперечных сечений сосудов на поперечном сечении тары расположен по центру охватывающего с допуском, определяемым погрешностями изготовления и расположения сосудов.
45. Тара по пп.32, 38, отличающаяся тем, что упомянутые сосуды расположены соосно с допуском, определяемым погрешностями изготовления и расположения тел.
46. Тара по любому из пп.1-24, или 29, или 31-45, отличающаяся тем, что охватывающий сосуд в верхней части включает посадочную поверхность для охватываемого сосуда, соответствующая сопряженная поверхность которого обеспечивает с указанной посадочной герметичное разъемное соединение.
47. Тара по п.46, отличающаяся тем, что как минимум один фрагмент упомянутой в п.46 посадочной поверхности верхней части и упомянутой в п.46 сопряженной выполнен в виде фрагмента цилиндра или в виде цилиндра.
48. Тара по п.46 или 47, отличающаяся тем, что охватываемый сосуд в области упомянутой в п.46 сопряженной поверхности имеет как минимум одно воздухоподводное отверстие, герметично закрытое упомянутой в п.46 посадочной поверхностью с точки зрения проникновения в него наружного воздуха, а также упомянутой воды.
49. Тара по п.48, отличающаяся тем, что упомянутые отверстия выполнены вытянутыми в вертикальном направлении.
50. Тара по любому из пп.46-49, отличающаяся тем, что пробка включает фиксатор охватываемого сосуда, сопрягаемый с ней посредством неразъемного соединения.
51. Тара по п.50, отличающаяся тем, что охватываемый сосуд в верхней части включает посадочную поверхность для пробки, соответствующая сопряженная поверхность которой обеспечивает с указанной посадочной плотное соединение.
52. Тара по п.51, отличающаяся тем, что охватываемый сосуд в верхней части включает посадочную поверхность для фиксатора охватываемого сосуда, соответствующая сопряженная поверхность которого обеспечивает с указанной посадочной неразъемное соединение, при этом указанный фиксатор, распирая охватываемый сосуд, обеспечивает его неразъемное соединение с пробкой.
53. Тара по п.52, отличающаяся тем, что пробка включает посадочную поверхность для фиксатора, соответствующая сопряженная поверхность которого обеспечивает неразъемное соединение фиксатора с пробкой, и либо это соединение, либо упомянутое в п.52 неразъемное соединение упомянутого фиксатора с охватываемым сосудом выполнено герметичным с точки зрения протекания упомянутого вина вовне тары.
54. Тара по любому из пп.46-49, отличающаяся тем, что она включает переходник с как минимум одним воздухоподводным отверстием, выполненный как конструктивный элемент пробки и соединяющий охватываемый сосуд с упомянутой пробкой и охватывающим сосудом.
55. Тара по п.54, отличающаяся тем, что упомянутый переходник с воздухоподводным отверстием в своей нижней части включает посадочную поверхность для охватываемого сосуда, соответствующая сопряженная поверхность которого обеспечивает с указанной посадочной плотное герметичное соединение.
56. Тара по п.54 или 55, отличающаяся тем, что упомянутый переходник с воздухоподводным отверстием в своей средней части включает посадочную поверхность для охватывающего сосуда, соответствующая сопряженная поверхность которого обеспечивает с указанной посадочной герметичное соединение.
57. Тара по п.56, отличающаяся тем, что упомянутый переходник с воздухоподводным отверстием в упомянутой средней части включает как минимум одно соединенное с рабочей емкостью упомянутого охватываемого сосуда воздухоподводное отверстие, закрытое от внешней среды упомянутой в п.56 сопряженной поверхностью.
58. Тара по любому из пп.54-57, отличающаяся тем, что упомянутый переходник с воздухоподводным отверстием в своей верхней части включает посадочную поверхность для упомянутой пробки, соответствующая сопряженная поверхность которой обеспечивает с указанной посадочной плотное соединение.
59. Тара по п.58, отличающаяся тем, что упомянутое в п.58 плотное соединение выполнено неразъемным.
60. Тара по п.58, отличающаяся тем, что упомянутое в п.58 плотное соединение выполнено герметичным с точки зрения протекания упомянутого вина вовне тары.
61. Тара по п.58, отличающаяся тем, что упомянутая пробка включает фиксатор охватываемого сосуда и переходника, и такой фиксатор включает как минимум одно воздухопроводное отверстие, а упомянутый переходник с воздухоподводным отверстием в верхней и/или нижней части включает посадочную поверхность для указанного фиксатора, соответствующая сопряженная поверхность которого обеспечивает с указанной посадочной неразъемное соединение, при этом указанный фиксатор обеспечивает жесткое неразъемное соединение переходника с пробкой и/или с упомянутым охватываемым сосудом.
62. Тара по п.61, отличающаяся тем, что упомянутое в п.61 неразъемное соединение упомянутого фиксатора охватываемого сосуда и переходника с последним в упомянутой в п.61 верхней части выполнено герметичным с точки зрения протекания упомянутого вина вовне тары.
63. Тара по любому из пп.46-49, отличающаяся тем, что она включает выполненный как конструктивный элемент упомянутой пробки переходник с как минимум одним воздухопроводным отверстием, присоединенный посредством неразъемного соединения к охватываемому сосуду и соединяющий его с упомянутой пробкой.
64. Тара по п.63, отличающаяся тем, что упомянутый переходник с воздухопроводным отверстием включает посадочную поверхность для фиксатора переходника, соответствующая сопряженная поверхность которого обеспечивает с указанной посадочной неразъемное соединение, при этом фиксатор обеспечивает жесткое неразъемное соединение переходника с упомянутой пробкой.
65. Тара по п.64, отличающаяся тем, что упомянутое в п.64 неразъемное соединение выполнено герметичным с точки зрения протекания упомянутого вина вовне тары.
66. Тара по любому из пп.19-65, отличающаяся тем, что упомянутое в п.19 плотное разъемное соединение выполнено герметичным.
67. Тара по п.66, отличающаяся тем, что как минимум один фрагмент упомянутых в п.19 посадочной и сопряженной поверхностей выполнен в виде фрагмента цилиндра или в виде цилиндра.
68. Тара по п.66 или 67, отличающаяся тем, что как минимум один фрагмент упомянутых в п.19 посадочной и сопряженной поверхностей выполнен в виде фрагмента конуса с углом при вершине не более 15