|
(21), (22) Заявка: 2002132366/06, 03.12.2002
(24) Дата начала отсчета срока действия патента:
03.12.2002
(45) Опубликовано: 10.05.2004
(15) Информация о коррекции:
Версия коррекции № 1 (
Взрывозащищенный электромеханизм трубопроводной арматуры относится к области арматуростроения и предназначен для управления однооборотными запорными кранами в магистралях газопроводов, нефтепроводов, в системах подачи топлива (природного газа или мазута), а также запорной арматурой для химических цехов тепловых электростанций (ТЭС).
Известен привод запорно-регулирующей арматуры РЮД, содержащий электродвигатель, ручной привод, редуктор (патент РФ № 2108513, МПК 6 F 16 K 31/05).
Недостатками этого привода являются низкая надежность и невысокие эксплуатационные возможности.
Известен также серийно выпускаемый отечественной промышленностью механизм типа МЭО-91 (Механизм исполнительный электрический однооборотный МЭО-91. Техническое описание и инструкция по эксплуатации 3.092.093. Чебоксары. Завод исполнительных механизмов, 1991).
Этот механизм как наиболее близкий по технической сущности и достигаемому результату принят за ближайший аналог (прототип).
Механизм состоит из электродвигателя, ручного привода и редукторов.
Недостатками известного механизма являются низкая надежность и ограниченные эксплуатационные возможности.
Кроме того, известный механизм имеет большие габаритные размеры и, соответственно, высокую материалоемкость. Одна из причин указанных недостатков обусловлена конструктивными особенностями механизма.
Задачей заявляемого изобретения является повышение надежности, расширение эксплуатационных возможностей при одновременном снижении габаритных размеров и, соответственно, уменьшении материалоемкости.
Для решения поставленной задачи взрывозащищенный электромеханизм трубопроводной арматуры, содержащий электродвигатель, ручной привод и редукторы, снабжен необратимой муфтой, состоящей из обоймы, внутри которой расположены поводки, кинематически связанные с редукторами, роликов, расположенных в одном из поводков таким образом, что их ось находится ниже основной оси вращения необратимой муфты, шарика с пружиной, расположенной в пазу другого поводка, силовым редуктором, кинематически связанным с выходным валом, устройством ограничения предельного момента, состоящим из червяка, поджатого двумя рейками, находящимися во внешнем зацеплении с двумя зубчатыми колесами, внутри которых находятся в зацеплении шлицами торсионы – с одной стороны закрепленные кулачками и поджатые к корпусу, а с другой стороны – предварительно закрученные рычагами, и микропереключателей, жестко установленных на корпусе электромеханизма с возможностью взаимодействия с выступами кулачков.
Кроме того, силовой редуктор содержит два корончатых колеса: одно подвижное, другое неподвижное и три сателлита и представляет собой редуктор 3К (по классификации В.Н. Кудрявцева).
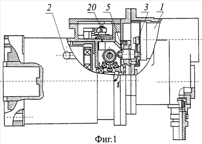
На фиг.1 схематически изображен взрывозащищенный электромеханизм трубопроводной арматуры;
на фиг.2 – принципиальная кинематическая схема;
на фиг.3 – необратимая муфта;
на фиг.4 – устройство ограничения предельного момента.
Электромеханизм содержит электродвигатель 1, ручной привод 2, редукторы 3, 4, необратимую муфту 5, состоящую из обоймы 6, двух поводков 7, 8, двух роликов 9, шарика 10 и пружины 11, расположенной в пазу поводка 8, редуктор 17, состоящий из солнечного колеса 13 и трех сателлитов 14, силовой редуктор 15, состоящий из трех сателлитов 16 и двух корончатых колес: 17 – неподвижное колесо; 18 – подвижное колесо; при этом подвижное корончатое колесо 18 жестко связано с выходным валом 19, устройство ограничения предельного момента 20, состоящее из червяка 21, двух реек 22, находящихся в зацеплении с двумя зубчатыми колесами 23, торсионов 24, кулачков 25 и микропереключателей 26.
Работа взрывозащищенного электромеханизма трубопроводной арматуры происходит следующим образом. Для закрытия (открытия) трубопроводной арматуры включается электродвигатель 1. Вращение вала электродвигателя 1 через редуктор 3 передается на поводок 7 необратимой муфты 5, в поводке 7 которой два ролика 9, прижатые шариком 10 с помощью пружины 11 к цилиндрической поверхности обоймы 6, приводят в движение второй поводок 8. Вращение с поводка 8 необратимой муфты 5 передается на солнечное колесо 13 редуктора 12. Три сателлита 14 обегают внутренний зубчатый венец наружного колеса редуктора 12. Усилие от солнечного колеса 13 передается на силовой редуктор 15. Силовой редуктор 15, имеющий передаточное отношение i=115,294, производит дальнейшее редуцирование и передает вращение на выходной вал 19. Вращение выходного вала 19 передается исполнительному органу трубопроводной арматуры.
При достижении на выходном валу 19 номинального момента червяк 21 перемещается вдоль оси в зависимости от направления вращения выходного вала 19 в одну из сторон (открытие закрытие), при этом одна из реек 22 через зубчатое колесо 23 начинает закручивать соответствующий предварительно закрученный рычагом (не показан) торсион 24. В результате закрутки торсиона 24 один из кулачков 25 отходит от корпуса и вместе с тем поворачивается и своим выступом нажимает на кнопку микропереключателя 26.
При уменьшении момента на выходном валу 19 торсион 24, а вместе с ним червяк 21, кулачок 25 приходят в исходное положение.
После отключения электродвигателя 1 от сети происходит стопорение системы со стороны поводка 8. Ролики 9 клинят между поверхностью обоймы 6 и поверхностью поводка 7, так как ось роликов расположена ниже основной оси вращения муфты 5.
Таким образом, необратимая муфта 5 фиксирует выходной вал 19 от внешних возмущающих факторов, что значительно повышает надежность, долговечность (средний срок службы не менее 15 лет безотказной работы), а также ведет к повышению эксплуатационных возможностей электромеханизма.
Итак, введение в электромеханизм необратимой муфты, устройства ограничения предельного момента, силового редуктора 3К повышает надежность, расширяет эксплуатационные возможности, а также уменьшает габаритные размеры и снижает материалоемкость, что делает применение электромеханизма желательным и предпочтительным в различных производственных процессах.
Формула изобретения
1. Взрывозащищенный электромеханизм трубопроводной арматуры, содержащий электродвигатель, ручной привод и редукторы, отличающийся тем, что снабжен необратимой муфтой, состоящей из обоймы, внутри которой расположены поводки, кинематически связанные с редукторами, роликов, расположенных в одном из поводков таким образом, что их ось находится ниже основной оси вращения необратимой муфты, шарика с пружиной, расположенной в пазу другого поводка, силовым редуктором, кинематически связанным с выходным валом, устройством ограничения предельного момента, состоящим из червяка, поджатого двумя рейками, находящимися во внешнем зацеплении с двумя зубчатыми колесами, внутри которых находятся в зацеплении шлицами торсионы, с одной стороны закрепленные кулачками и поджатые к корпусу, а с другой стороны предварительно закрученные рычагами, и микропереключателей, жестко установленных на корпусе электромеханизма с возможностью взаимодействия с выступами кулачков.
2. Взрывозащищенный электромеханизм по п.1, отличающийся тем, что силовой редуктор содержит два корончатых колеса, подвижное и неподвижное, и три сателлита и представляет собой редуктор.
РИСУНКИ
TH4A – Переиздание описания изобретения к патенту Российской Федерации
Причина переиздания: Коррекция библиографической части
Извещение опубликовано: 10.05.2007 БИ: 13/2007
TK4A Поправки к публикациям сведений об изобретениях в бюллетенях “Изобретения (заявки и патенты)” и “Изобретения. Полезные модели”
Напечатано: (62) 2001100334 04.01.2001
Следует читать: (62) опубликовано ошибочно
Номер и год публикации бюллетеня: 13-2004
Код раздела: FG4A
Извещение опубликовано: 10.05.2007 БИ: 13/2007
|