|
|
(21), (22) Заявка: 2009131236/28, 17.08.2009
(24) Дата начала отсчета срока действия патента:
17.08.2009
(46) Опубликовано: 20.09.2010
(56) Список документов, цитированных в отчете о поиске:
RU 2098856 C1, 10.12.1997. RU 2168193 C2, 27.05.2001. RU 2001123063 A, 20.07.2003. RU 93009523 A, 27.05.1995.
Адрес для переписки:
620083, г.Екатеринбург, ул. Ленина, 51, УрГУ, проректору по инновационной деятельности, В.В.Кружаеву
|
(72) Автор(ы):
Иванов Владимир Елизарович (RU)
(73) Патентообладатель(и):
Государственное образовательное учреждение высшего профессионального образования “Уральский государственный университет им. А.М.Горького” (RU)
|
(54) МАГНИТООПТИЧЕСКИЙ ПРЕОБРАЗОВАТЕЛЬ, СПОСОБ ИЗГОТОВЛЕНИЯ МАГНИТООПТИЧЕСКОГО ПРЕОБРАЗОВАТЕЛЯ И СПОСОБ ВИЗУАЛИЗАЦИИ НЕОДНОРОДНОГО МАГНИТНОГО ПОЛЯ
(57) Реферат:
Изобретение относится к области прикладной магнитооптики. Для достижения технического результата в магнитооптическом преобразователе, выполненном в виде нанесенной на прозрачную подложку магнитной пленки, последняя выполнена в виде одного или нескольких слоев 3-d металлов, преимущественно Fe и Со, общая толщина пленки составляет 1000±100 А, металлы в пленке находятся в поликристаллическом или аморфном виде, причем в состав пленки 3-d металлы входят в индивидуальном виде или в виде смесей, преимущественно в виде смеси Fe-Со, при соотношении по весу указанных элементов соответственно 1:1. Магнитная пленка выполнена с добавкой редкоземельных элементов, преимущественно Gd, в количестве 15-25% от атомного состава пленки, причем преимущественной является пленка, содержащая смесь Gd-Co-Fe в аморфном виде. Подложка выполнена из стекла с толщиной 0,1-2 мм или в виде полированной монокристаллической пластины кремния с преимущественной ориентацией (100). Технический результат состоит в повышении чувствительности при визуализации неоднородного магнитного поля, в снижении стоимости магнитооптического преобразователя и в упрощении способа его получения. 3 н. и 3 з.п. ф-лы, 5 ил.
Изобретение относится к области прикладной магнитооптики и может быть использовано для контроля производства магнитотвердых материалов, контроля магнитной записи на магнитных носителях, включая магнитные сигналограммы и т.д.
Известен способ неразрушающего контроля ферромагнитных изделий и материалов при использовании магнитооптического преобразователя, выполненного на основе магнитной пленки с управляемой доменной структурой (см. а.с. СССР 1698733, опубликовано 15.12.91 года).
Известен способ визуализации и топографирования неоднородного магнитного поля путем размещения в нем магнитооптического преобразователя, выполненного из висмутсодержащей монокристаллической пленки феррит-граната, нанесенной на прозрачную подложку из немагнитного граната (см. патент РФ 2017182, опубликовано 30.07.1994 года). Доменную структуру в пленке наблюдают с помощью поляризационного микроскопа в режиме “на отражение”. При этом на пленку воздействуют импульсным магнитным полем от катушек и постоянным магнитным полем от соленоида.
Известен магнитооптический элемент (преобразователь), выполненный из феррит-граната и содержащий по крайней мере один быстрорелаксирующий редкоземельный ион (см. патент РФ 2098856, опубликовано 10.12.1997 года).
Основным недостатком приведенных выше магнитооптических преобразователей является сложность изготовления и высокая стоимость, что ограничивает сферу их применения.
Наиболее близким к настоящему изобретению является магнитооптический преобразователь, выполненный в виде нанесенной на прозрачную подложку монокристаллической пленки феррит-граната, содержащего висмут и по крайней мере один редкоземельный элемент в додекаэдрической подрешетке, а также по крайней мере один элемент в тетра- и октаэдрической подрешетках, включая железо (см. патент РФ N 2098856, опубликован 10.12.1997 года). Недостатком этого преобразователя также является сложность изготовления и высокая стоимость.
Известен способ получения Cu (In, Ga)(S, Se)2 тонких пленок, осуществляемый в двухстадийном процессе, причем на первой стадии процесса на подложке методом вакуумного напыления формируют базовый слой металлических компонент, а на второй проводят сульфиризацию и селенизацию полученной структуры (см. патент РФ 2347298, опубликовано 20.02.2009 года).
Известен способ нанесения металлического покрытия на диэлектрическую подложку и устройство для его осуществления (см. патент РФ 2285742, опубликовано 20.10.2006 года). Способ заключается в катодном распылении материала помещенной в плазму мишени. Устройство содержит вакуумную камеру, средства откачки и напуска рабочего газа, генератор плазмы в рабочей камере, металлическую мишень, состоящую из напыляемого материала, подключенную к источнику напряжения, создающему отрицательное смещение на мишени, диэлектрическую подложку, на которую производится напыление.
Приведенные выше аналоги решают частные задачи, исходя из цели, поставленной перед техническим решением.
Наиболее близким к настоящему изобретению является способ вакуумного ионно-плазменного нанесения многослойных композитов, содержащих сложные карбиды (см. патент РФ 2272088, опубликовано 20.03.2006 года). Осаждение слоев толщиной менее 100 нм осуществляют из плазмы, генерируемой электродуговыми испарителями, расположенными в вакуумной камере. Нанесение слоев осуществляют в условиях дополнительной ионной бомбардировки ионами аргона с использованием электродуговых испарителей, содержащих катоды из титана и графита, легированного кремнием.
В указанном прототипе также решается определенная частная задача.
Известен способ неразрушающего контроля ферромагнитных изделий и материалов, в котором на зону размещения преобразователя воздействуют неоднородным магнитным полем, а обнаружение дефектов осуществляют посредством визуализации магнитных полей рассеяния дефектов магнитной пленкой преобразователя, освещаемой поляризационным светом и наблюдаемой в отраженном свете через анализатор поляризации (см. а.с. СССР 1698733, опубликовано 15.12.1991 года).
Известен способ визуализации и топографирования неоднородного магнитного поля, заключающийся в том, что в неоднородное магнитное поле от его источника помещают висмутсодержащую монокристаллическую пленку феррит-граната, нанесенную на прозрачную подложку из немагнитного граната (см. патент РФ 2017182, опубликовано 30.07.1994 года). Доменную структуру в пленке наблюдают с помощью поляризационного микроскопа в режиме “на отражение”. На пленку воздействуют импульсным магнитным полем от катушек и постоянным магнитным полем от соленоида. Длительность и/или амплитуда импульсного магнитного поля такова, что в момент окончания импульса поля в пленке сохраняется доменная структура. Внешние поля прикладывают перпендикулярно плоскости пленки в одном и том же направлении. Неоднородное магнитное поле создает магнитостатистические ловушки, где закрепляется доменная структура.
Основным недостатком вышеприведенных аналогов является применение сложных в изготовлении и, соответственно, достаточно дорогих магнитооптических преобразователей.
Наиболее близким к настоящему изобретению является способ визуализации магнитного поля, включающий помещение в это поле магнитооптического преобразователя, выполненного в виде нанесенной на прозрачную подложку висмутсодержащей монокристаллической пленки феррит-граната, и регистрацию распределения векторов намагниченности по ее площади с помощью магнитооптического эффекта Фарадея (см. патент РФ 2168193, опубликовано 27.01.2001). При этом в визуализируемое магнитное поле помещают магнитооптический преобразователь, в котором пленка выполнена с такой магнитной анизотропией, что вектора намагниченности в пленке в отсутствие магнитного поля отклоняются от ее плоскости на угол не более 25°. В частности, при регистрации распределения векторов намагниченности по площади висмутсодержащей монокристаллической пленки феррит-граната с помощью магнитооптического эффекта Фарадея плоскополяризованный свет можно направлять перпендикулярно плоскости пленки.
Основной недостаток данного технического решения также состоит в сложности изготовления и высокой цене магнитооптического преобразователя неоднородного магнитного поля.
Задача, решаемая настоящим изобретением, состоит в создании магнитооптического преобразователя нового типа, соответственно, в модернизации способа получения преобразователя и способа визуализации неоднородного магнитного поля.
Достигаемый технический результат состоит в снижении стоимости магнитооптического преобразователя, упрощении способа получения определенного типа магнитооптического преобразователя и упрощении способа визуализации неоднородного магнитного поля, т.е. суммарно в реализации известных задач, связанных с необходимостью визуализации неоднородного магнитного поля, более простым и экономичным путем.
Для достижения указанного технического результата в магнитооптическом преобразователе, выполненном в виде нанесенной на подложку магнитной пленки, магнитная пленка выполнена в виде одного или нескольких слоев 3-d металлов, преимущественно Fe и Co, общая толщина пленки составляет 1000±100 А, металлы в пленке находятся в поликристаллическом или аморфном виде, причем в состав пленки 3-d металлы входят в индивидуальном виде или в виде смесей, преимущественно в виде смеси Fe-Co, при соотношении по весу указанных элементов соответственно 1:1. Магнитная пленка выполнена с добавкой редкоземельных элементов, преимущественно Gd, в количестве 15-25% от атомного состава пленки, причем преимущественной является пленка, содержащая смесь Gd-Co-Fe в аморфном виде. Подложка выполнена из стекла с толщиной 0,1-2 мм. Подложка выполнена в виде полированной монокристаллической пластины кремния с преимущественной ориентацией (100).
В способе изготовления магнитооптического преобразователя в виде нанесенной на подложку аморфной пленки, содержащей смесь Gd-Co-Fe, включающем наращивание пленки в ходе ионно-плазменного напыления, магнитооптический преобразователь после наращивания пленки помещают в замкнутую оболочку и подвергают термической обработке при температуре от 300 до 450°C в атмосфере водорода при давлении от 0,5 до 1 атм, причем замкнутую оболочку в ходе термической обработки помещают в магнитное поле напряженностью, большей, чем поле анизотропии пленки.
В способе визуализации неоднородного магнитного поля, включающем помещение в это поле магнитооптического преобразователя и регистрацию распределения векторов намагниченности по площади магнитной пленки, для визуализации используют магнитооптический преобразователь по любому из п.1-4, причем магнитооптический преобразователь с аморфной пленкой, содержащей смесь Gd-Co-Fe, изготавливают по п.5, на магнитооптический преобразователь воздействуют лучом в состоянии s-поляризации, а затем лучом в состоянии p-поляризации с фиксацией в том и другом случае магнитооптических изображений неоднородного поля, после чего производят сложение и вычитание полученных изображений с получением двух картин, соответствующих распределению нормальной и горизонтальной к плоскости преобразователя компонент намагниченности пленки.
Сущность настоящего изобретения состоит в следующем.
Для визуализации неоднородного магнитного поля, в принципе, достаточно наблюдать в микроскоп или на экране компьютера магнитооптическое изображение, возникающее в индикаторной магнитной пленке, которое отображает картину полей рассеяния. Такое изображение несет качественную (опосредованную) информацию о распределении (рисунке) магнитного поля и может применяться для идентификации магнитных меток, рисунков по принципу «есть-нет».
На сегодняшний день известны и уже успешно применяются для визуализации неоднородного магнитного поля Bi-содержащие пленки ферритов-гранатов. Bi обеспечивает большое магнитооптическое вращение плоскости поляризации (эффект Фарадея) и, соответственно, высокий контраст изображения. Кроме того, благодаря сложному химическому составу и разнообразию магнитных свойств удается получать пленки с перпендикулярной (ось легкого намагничивания ориентирована перпендикулярно поверхности пленки) и плоскостной анизотропией (квазиизотропные пленки), ось легкого намагничивания которых ориентирована параллельно плоскости пленки, а также невысокую намагниченность насыщения (Js). При этом минимизация константы анизотропии (Ku) и намагниченности ( ) повышает чувствительность к магнитному полю.
В пленках с перпендикулярной анизотропией существует собственная магнитная доменная структура. Визуализация неоднородного магнитного поля осуществляется наблюдением характерного рисунка доменной структуры, возникающего под действием неоднородного поля. Можно выделить два типа характерных картин.
В пленках с плоскостной анизотропией доменная структура, как правило, отсутствует. Под действием неоднородного магнитного поля происходит вращение намагниченности из плоскости к нормали, причем нормальная компонента намагниченности в первом приближении пропорциональна нормальной компоненте неоднородного поля. Возникает аналоговое магнитооптическое изображение, причем при некоторых условиях интенсивность отраженного от индикаторной пленки света пропорциональна нормальной компоненте неоднородного поля. При этих специальных условиях появляется возможность топографирования неоднородного магнитного поля.
В настоящем изобретении рассматриваются магнитооптические преобразователи с магнитными пленками, обладающими магнитной плоскостной анизотропией, причем для визуализации неоднородного магнитного поля используют эффект Керра.
Следует отметить, что использование эффекта Керра принципиально известно (см., например, патент РФ 2128372, опубликовано 27.03.1999 года). Данное изобретение относится к информатике и вычислительной технике и может быть использовано в магнитооптических запоминающих устройствах внешней памяти электронно-вычислительных машин и в бытовых приборах. Магнитный носитель информации содержит подложку и нанесенные на нее чередующиеся диэлектрические и магнитоактивные слои, обладающие перпендикулярной магнитной анизотропией. В качестве приподложечного и промежуточного слоев введены слои GeO, а в качестве отражающего слоя – магнитный слой DyFeCo. Техническим результатом при осуществлении изобретения является увеличение полярного магнитооптического эффекта Керра и увеличение магнитооптической добротности в области длин волн =0,78-0,82 нм при считывании со стороны подложки.
Недостатком магнитных пленок на основе ферритов-гранатов является сложность технологии и дороговизна. Технологическая цепочка их получения включает в себя выращивание немагнитных монокристаллов гранатов, распиливание, шлифовка монокристаллических подложек, нанесение магнитного монокристаллического слоя методом жидкофазной эпитаксии.
Возможность применения магнитных 3-d металлических поликристаллических и аморфных пленок с плоскостной магнитной анизотропией для визуализации связана с наличием в них полярного магнитооптического эффекта Керра и меридионального эффекта Керра. Эти эффекты осуществляются в геометрии “на отражение”. В качестве базовых составов для пленок, входящих в состав магнитооптических преобразователей по настоящему изобретению, следует выделить пленки, содержащие Fe и Co в индивидуальном виде или смеси Fe-Co и Gd-Co-Fe.
Переходные металлы Fe, Co обеспечивают сравнительно высокое магнитооптическое вращение. Смесь Gd-Co является перспективной благодаря своему ферримагнитному упорядочению и поэтому небольшому значению намагниченности. Технология нанесения пленок сравнительно проста и гораздо дешевле технологии изготовления монокристаллических пленок ферритов-гранатов. Нанесение пленок осуществляется обычно методом радиочастотного распыления на стеклянные подложки, в частности на покровные стекла толщиной 0,13-0,17 мм. Суммарная толщина пленок составляет ~ 1000 А. При такой толщине и обычных условиях нанесения намагниченность лежит в плоскости пленок, содержащих Fe, Co и смесь Fe-Co, причем, как правило, одновременно дополнительно наводится анизотропия в плоскости пленок, что является мешающим фактором для высокой чувствительности. Кроме того, основной вклад в анизотропию вносит так называемая анизотропия формы: K=2 Js 2. Здесь K – константа анизотропии формы, Js – намагниченность насыщения магнитной пленки.
Характеристикой чувствительности индикаторной пленки к неоднородному полю (Hz-компоненте) может служить отношение этого поля к полю анизотропии:

где Hz – вертикальная компонента неоднородного магнитного поля,
Ha=2Kэфф/Js – поле анизотропии,
Ku – константа наведенной в плоскости анизотропии,
Кэфф=Ku+2 Js 2 – эффективная (суммарная) константа анизотропии.
В пленках Fe, Co и Fe-Co Js~1400 Гс, На~10000 Э. Это означает, что достаточный для регистрации Hz-компоненты контраст будет создаваться, полем у которого Hz по порядку величины сравним с На. Поэтому необходимо уменьшать Js, чему соответствуют ферримагнитные пленки, содержащие смесь Gd-Co-Fe и являющиеся наиболее перспективными в свете настоящего изобретения. Количество Gd в оптимальном варианте составляет 15-25% от атомного состава пленки. Кроме того, чувствительность анизотропных свойств этих пленок к термическим обработкам позволяет минимизировать и Ku.
Согласно настоящему изобретению магнитооптический преобразователь после наращивания пленки помещают в замкнутую оболочку и подвергают термической обработке при температуре от 300 до 450°C в атмосфере водорода при давлении от 0,5 до 1 атм, причем замкнутую оболочку в ходе термической обработки помещают в магнитное поле напряженностью, большей, чем поле анизотропии пленки. Термическая обработка в атмосфере водорода приводит к релаксации перпендикулярной анизотропии, что дает необходимое свойство ориентации намагниченности в плоскости пленок. Наличие внешнего поля, перпендикулярного поверхности пленки, в процессе термической обработки (термомагнитная обработка) препятствует наведению анизотропии в плоскости пленки, что также приводит к решению поставленной задачи.
Магнитооптическое вращение Керра в металлических пленках значительно меньше, чем вращение Фарадея в гранатах. С целью значительного повышения вращения Керра известны технологии нанесения антиотражающих покрытий, а также и технологии многослойных сэндвичей.
Ниже приведен пример реализации способа изготовления магнитооптического преобразователя в виде нанесенной на подложку аморфной пленки, содержащей смесь Gd-Co-Fe.
ПРИМЕР 1.
Для получения магнитооптического преобразователя в виде нанесенной на подложку аморфной пленки, содержащей смесь Gd-Co-Fe, использовали ионно-плазменное напыление, основанное на бомбардировке материала-мишени ионами инертного газа. Магнитооптический преобразователь с аморфной пленкой из смеси Gd-Co-Fe получали на модернизированной отечественной установке вакуумного напыления (тип установки – УРМЗ.279.13) методом высокочастотного ионно-плазменного распыления.
К мишени от высокочастотного генератора прикладывали высокое переменное напряжение радиочастотного диапазона (13,56 МГц). Стандартная эффективная величина напряжения составляла 1 кВ (при необходимости возможно изменение данного параметра в пределах 0,3÷1,5 кВ). При этом достигали горения тлеющего разряда при сравнительно низких давлениях аргона (~1,3·10-1-1,3·10-2 Па). Охлаждение подложек, находящихся на подложкодержателе, осуществляли путем пропускания проточной воды через подложкодержатель, что, как правило, приводит к получению аморфного состояния.
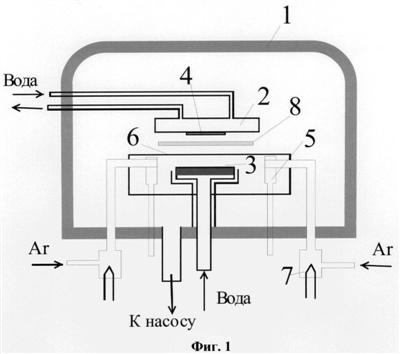
Схематический чертеж напылительной ионно-плазменной установки изображен на фиг.1. Установка включает в себя колпак 1, водоохлаждаемый подложкодержатель 2, водоохлаждаемый стол 3 мишени, подложку 4, аноды 5, рабочую камеру 6, катоды 7 и шторку 8.
В ходе работы использовали дисковые мишени, диаметр которых при наличии дополнительных съемных экранов варьировали в пределах 30÷100 мм. В плоскости подложки создавали однородное магнитное поле напряженностью 8 кА/м и при необходимости изменяли его направление во время напыления. Магнитное поле использовали для формирования одноосной магнитной анизотропии. В то же время магнитное поле существенно повышало плотность плазмы и скорость напыления. Разрежение в вакуумной камере создавали с помощью стандартной схемы, включающей форвакуумный и паромасленный насосы. Остаточное давление газов поддерживали на уровне 1,3·10-4 Па. В качестве рабочего газа использовали аргон чистоты (99,987%). Напыление пленок проводили при динамическом давлении аргона ~ 0,13 Па.
Контроль за давлением осуществлялся с помощью магниторазрядного вакуумметра.
Для получения пленочных образцов применяли два основных типа подложек: покровные стекла и полированные монокристаллические пластины кремния преимущественно с ориентацией (100). Перед использованием подложки подвергали химической и ионной очистке. После достижения предельного вакуума из подложки, как правило, предварительно удаляли газы путем нагрева до 350-400°C, а затем охлаждали до требуемой температуры. Кремниевые подложки в ряде случаев имели дополнительные покрытия в виде слоев SiO2 и/или TiN.
Необходимую толщину пленок получали путем регулирования времени напыления при известных скоростях осаждения. Скорость осаждения пленки зависела от напряжения на мишени, давления аргона, расстояния между мишенью и подложкой, наличия магнитного поля и др. Скорость осаждения поддерживали в пределах 0,05-0,2 нм/сек и предварительно устанавливали при использовании специальных реперных образцов. Толщина последних составляла ~ 100 нм и определялась с помощью интерференционной методики (методом Таланского). Систематическая погрешность в определении скоростей осаждения по нашим оценкам составляла 5%. Тот же порядок имела величина случайной погрешности. Пленку Gd-Co-Fe изготавливали с использованием сплавных мишеней. Следует отметить, что проведенные выборочно микрорентгеновский, масс-спектральный и Оже-спектральный анализы показали, что соотношение Fe, Co и Gd в полученных пленках практически воспроизводит составы соответствующих мишеней. Суммарное содержание примесей, среди которых отмечены кислород, углерод, азот и аргон, в объеме образцов не превышало 2%. Осаждение пленок проводили при разных температурах в интервале 10÷15°C.
После изготовления магнитооптического преобразователя с пленкой состава Gd-Co-Fe его помещали в замкнутую оболочку (например, трубу из нержавеющей стали) и подвергли термической обработке при температуре от 300 до 450°C в атмосфере водорода при давлении от 0,5 до 1 атм, причем замкнутую оболочку в ходе термической обработки помещали в магнитное поле напряженностью, большей, чем поле анизотропии пленки. В итоге получают магнитооптический преобразователь, чувствительный к неоднородному магнитному полю.
При визуализации неоднородного магнитного поля магнитооптический преобразователь помещают в анализируемое поле. Объективно регистрируемой характеристикой магнитооптического изображения является интенсивность света.
Имеются различные способы визуализации неоднородного магнитного поля, соответственно, имеются и различные типы устройств для реализации этого процесса.
В настоящем изобретении визуализацию (регистрацию) неоднородного магнитного поля проводят в геометрии, традиционно называемой геометрией меридионального эффекта Керра, поскольку в этой схеме (если намагниченность Js лежит в плоскости) контраст создается компонентами Js, параллельными плоскости падения.
Если Js выходит из плоскости пленки, то контраст создается и плоскостной и перпендикулярной компонентой Js (смешанный магнитооптический контраст). Очевидно, что смешанный контраст несет информацию о распределении как вертикальной, так и горизонтальной компонент Js в индикаторной магнитной пленке, которые, в свою очередь, связаны с распределением вертикальной и горизонтальной компонент неоднородного поля.
Оптическая схема такой установки для визуализации неоднородного магнитного поля представлена на фиг.2.
Установка содержит источник света (светодиод) 1, конденсор 2, поляризатор 3, магнитную пленку 4, постоянные магниты 5 магнитной системы, создающие неоднородное магнитное поле, четвертьволновую пластинку 6, анализатор 7, объектив 8 и телекамеру 9. Если распределение намагниченности в пленке носит сложный характер, т.е. имеется распределение нормальной и горизонтальной компонент намагниченности (по существу, это и представляет собой микромагнитную структуру), то этому распределению соответствует смешанное магнитооптическое изображение. Эту картину можно наблюдать при s-поляризации падающего пучка света и при p-поляризации. Картины будут различаться, поскольку интенсивность отраженного пучка, прошедшего через анализатор, определяется соотношением

для s-поляризации и

для p-поляризации.
Здесь I0 – интенсивность фоновой засветки, mx, mz – компоненты намагниченности, Амер, Апол – магнитооптические параметры для меридионального и полярного эффектов Керра. Интенсивности и, соответственно, картины в “чистом” виде, отражающие распределение вертикальной и горизонтальной компоненты намагниченности, получаем вычитанием и сложением этих интенсивностей (магнитооптических изображений):


При этом получаем картины, соответствующие “чистому полярному контрасту” и “чистому меридиональному контрасту”. Полученные картины можно подвергнуть оцифровке в единицах относительной интенсивности. При некоторых условиях mz~Hz и, следовательно, Hz(x)~I(x). При этом появляется возможность для топографирования распределения Hz(x). Обычно для горизонтальной компоненты Hх(x) можно только указать координаты смены знака напряженности горизонтальной компоненты магнитного поля.
ПРИМЕР 2.
Для визуализации неоднородного магнитного поля, создаваемого магнитной системой из двух постоянных магнитов, использовали магнитооптический преобразователь в виде нанесенной на покровное стекло пленки из смеси Fe-Co толщиной 960 А с плоскостной магнитной анизотропией. Настоящая магнитная система была выбрана на основании дальнейшей возможности сопоставления экспериментальных данных с теоретическим расчетом, который для данного случая может быть проведен.
Пленку приводили в контакт с магнитной системой, наблюдение осуществляли через стеклянную подложку. Для наблюдения смешанного магнитооптического контраста, соответствующего распределению неоднородного поля, использовали стандартную оптическую схему в геометрии меридионального эффекта Керра (см. фиг.2). В качестве источника света служил светодиод. Ось пропускания поляризатора устанавливали на пропускание s-поляризованного света, а затем на пропускание р-поляризованного света. Угол падения луча на магнитооптический преобразователь составлял ~25°. После отражения плоскополяризованного света от индикаторной пленки луч проходил через компенсатор (четвертьволновая пластинка) для устранения эллиптичности. Далее свет, прошедший через анализатор, регистрировали телекамерой с выводом изображения на монитор. Полученная информация представлена на фиг.3.
На фиг.3 представлена одномерная зависимость пространственного распределения вертикальной (Hz) и горизонтальной (Hх) компоненты неоднородного магнитного поля над магнитной системой (верхняя часть) и аналоговая магнитооптическая визуализация (эксперимент) при применении пленки из смеси Fe-Co, соответствующая “смешанному” (s-поляризация) магнитооптическому контрасту (а), “смешанному” (р-поляризация) магнитооптическому контрасту (b), “полярному” (с) и “меридиональному” (d) магнитооптическому контрастам. Иными словами, после освещения s-поляризованным светом получена картина, несущая информацию о двух компонентах намагниченности в индикаторной пленке (фиг.3,a) согласно формуле (2). После освещения р-поляризованным светом получена картина, несущая информацию также о двух компонентах намагниченности в магнитной пленке (фиг.3,b) согласно формуле (3). Вычитание второй картины из первой согласно формуле (4) дает изображение, соответствующее распределению mz-компоненты намагниченности в магнитной пленке (фиг.3,c). Сложение второй картины и первой согласно формуле (5) дает изображение, соответствующее распределению mx – компоненты намагниченности (фиг.3,d). Операцию сложения и вычитания производили в прикладном пакете MathCad. На фиг.4 представлена та же одномерная зависимость Hz и Hx, что и на фиг.3, и оцифровка магнитооптических изображений в единицах относительной яркости для “полярной” чувствительности (средняя часть фиг.4) и “меридиональной” чувствительности (нижняя часть фиг.4).
Данные для фиг.4 получены при оцифровке изображений фиг.3, проведенной также с использованием программы MathCad. Видно, что при данных условиях визуализации интенсивность I(x), соответствующая “полярной” чувствительности, пропорциональна Hz-компоненте исследуемого поля, а интенсивность I(x), соответствующая “меридиональной” чувствительности, “похожа” на зависимость Нx-компоненты исследуемого поля. Сплошными линиями показан теоретический расчет.
На фиг.5 приведена картина визуализации неоднородного поля реальной сигналограммы (магнитный ключ) с применением пленки из Со с плоскостной анизотропией. Здесь магнитооптический контраст создается только mx-компонентой индикаторной пленки (“чистый” меридиональный эффект Керра) и показывает смену знака Hх-компоненты исследуемого поля (на границах между “белыми” и “черными” областями).
Таким образом, настоящим изобретением определен новый тип экономически целесообразных магнитооптических преобразователей, возможность их реализации в практической деятельности, устанавливается способ получения наиболее перспективного из них на сегодняшний день и обосновывается практический способ визуализации неоднородных магнитных полей при использовании магнитооптических преобразователей нового типа, подтвержденный теоретическими расчетами для неоднородных магнитных полей в случае, когда таковой возможен.
Формула изобретения
1. Магнитооптический преобразователь, выполненный в виде нанесенной на подложку магнитной пленки, отличающийся тем, что магнитная пленка выполнена в виде одного или нескольких слоев 3-d металлов, преимущественно Fe и Со, общая толщина пленки составляет (1000±100) Å, металлы в пленке находятся в поликристаллическом или аморфном виде, причем в состав пленки 3-d металлы входят в индивидуальном виде или в виде смесей, преимущественно в виде смеси Fe-Co, при соотношении по весу указанных элементов соответственно 1:1.
2. Магнитооптический преобразователь по п.1, отличающийся тем, что магнитная пленка выполнена с добавкой редкоземельных элементов, преимущественно Gd, в количестве 15-25% от атомного состава пленки, причем преимущественной является пленка, содержащая смесь Gd-Co-Fe в аморфном виде.
3. Магнитооптический преобразователь по п.1, отличающийся тем, что подложка выполнена из стекла толщиной 0,1-2 мм.
4. Магнитооптический преобразователь по п.1, отличающийся тем, что подложка выполнена в виде полированной монокристаллической пластины кремния с преимущественной ориентацией (100).
5. Способ изготовления магнитооптического преобразователя в виде нанесенной на подложку аморфной пленки, содержащей смесь Gd-Co-Fe, включающий наращивание пленки в ходе ионно-плазменного напыления, отличающийся тем, что магнитооптический преобразователь после наращивания пленки помещают в замкнутую оболочку и подвергают термической обработке при температуре от 300 до 450°С в атмосфере водорода при давлении от 0,5 до 1 атм, причем замкнутую оболочку в ходе термической обработки помещают в магнитное поле напряженностью, большей, чем поле анизотропии пленки.
6. Способ визуализации неоднородного магнитного поля, включающий помещение в это поле магнитооптического преобразователя и регистрацию распределения векторов намагниченности по площади магнитной пленки, отличающийся тем, что для визуализации используют магнитооптический преобразователь по любому из пп.1-4, причем магнитооптический преобразователь с аморфной пленкой, содержащей смесь Gd-Co-Fe, изготавливают по п.5, на магнитооптический преобразователь воздействуют лучом в состоянии s-поляризации, а затем – лучом в состоянии р-поляризации с фиксацией в том и другом случае магнитооптических изображений неоднородного поля, после чего производят сложение и вычитание полученных изображений с получением двух картин, соответствующих распределению нормальной и горизонтальной к плоскости преобразователя компонент намагниченности пленки.
РИСУНКИ
|
|