|
|
(21), (22) Заявка: 2007132446/28, 16.11.2005
(24) Дата начала отсчета срока действия патента:
16.11.2005
(30) Конвенционный приоритет:
28.01.2005 DE 102005004248.1
(43) Дата публикации заявки: 10.03.2009
(46) Опубликовано: 20.09.2010
(56) Список документов, цитированных в отчете о поиске:
DE 4028969 A1, 04.04.1991. GB 465406 A, 03.05.1937. US 4145608 A, 20.03.1979. US 5506681 A, 09.04.1996. US 4246478 A, 20.01.1981. US 4838696 А, 13.06.1989. SU 1186470 A1, 23.10.1985. SU 536107 A1, 25.11.1976.
(85) Дата перевода заявки PCT на национальную фазу:
28.08.2007
(86) Заявка PCT:
EP 2005/012267 20051116
(87) Публикация PCT:
WO 2006/079377 20060803
Адрес для переписки:
129090, Москва, ул.Б.Спасская, 25, стр.3, ООО “Юридическая фирма Городисский и Партнеры”, А.В.Миц
|
(72) Автор(ы):
КЛЕММЕР Детлеф (DE), ХУКК Андреас (DE)
(73) Патентообладатель(и):
ТИССЕНКРУПП КРАУЗЕ ГМБХ (DE)
|
(54) СПОСОБ ОПРЕДЕЛЕНИЯ, ПО МЕНЬШЕЙ МЕРЕ, ПОЛОЖЕНИЯ ПОДВИЖНОГО КОМПОНЕНТА ПРИВОДНОГО АГРЕГАТА, НАПРИМЕР ДВИГАТЕЛЯ ВНУТРЕННЕГО СГОРАНИЯ, КОРОБКИ ПЕРЕДАЧ ИЛИ ТОМУ ПОДОБНОГО
(57) Реферат:
Изобретение относится к испытательной технике и может быть использовано, в частности, для испытания и/или контроля двигателей внутреннего сгорания. Согласно изобретению способ определения положения клапана (10) при холодном запуске невключенного, проворачиваемого двигателя внутреннего сгорания характеризуется тем, что во время движения клапана (10) определяют имеющие отношение к его положению параметры за счет того, что клапан (10) освещают или подвергают воздействию света и определяют прохождение света и/или прерывание прохождения света между клапаном (10) и согласованным с ним седлом (25) клапана, причем определение попадания света и/или прерывания попадания света в камеру (13) сгорания осуществляют, по меньшей мере, через одно отверстие (16) для установки свечи зажигания и/или через отверстие для установки клапанной форсунки. Благодаря этому, обеспечивается требуемая точность измерения положения клапана двигателя внутреннего сгорания в условиях его ограниченной доступности. 11 з.п. ф-лы, 1 ил.
Изобретение относится к способу определения, по меньшей мере, положения подвижного компонента приводного агрегата, например двигателя внутреннего сгорания, коробки передач или тому подобного, согласно ограничительной части формулы изобретения.
Для испытания и/или контроля двигателей внутреннего сгорания, коробок передач или прочих приводных агрегатов необходимо установить положения определенных подвижных компонентов. Регистрируются определенные положения таких подвижных компонентов и/или непрерывные по времени режимы движения. Известно, что положение подвижных компонентов можно, например, определить емкостными средствами, магнитными средствами, с помощью камер или даже лазера. Каждый их этих известных методов измерения привязан к возможным условиям их применения, например, к свободной доступности компонента или к свойствам материала.
Таким образом, в основу изобретения положена задача создания способа определения, по меньшей мере, положения подвижного компонента приводного агрегата, в частности двигателя внутреннего сгорания, коробки передач или т.п., который универсально применим и предоставляет точные результаты измерения.
Способ решения этой задачи включает мероприятия согласно пункту 1 формулы изобретения. В соответствии с этим, предпочтительно, для определения положения подвижного компонента используется свет, для чего регистрируется прохождение света и/или даже прерывание прохождения света между подвижным компонентом и согласованным с ним неподвижным или тоже подвижным компонентом. Прохождение света является надежным индикатором положения подвижного компонента. Таким образом, положение компонента надежно определяется простейшими средствами. Кроме того, благодаря использованию света способ согласно изобретению в значительной мере не зависит от контролируемого компонента. В частности, надежно и просто можно определить положение любых компонентов независимо от их материала и от отрицательного воздействия побочных факторов.
Предпочтительно, положение подвижного компонента определяется в тот момент, когда он займет такое положение, при котором может определяться отсутствие или почти отсутствие прохождения света и/или может устанавливаться максимальное прохождение света. Особенно определение положения компонента при полном или почти полном отсутствии прохождения света позволяет поразительно точно фиксировать положение подвижного компонента, поскольку существует, по меньшей мере, одно определенное положение подвижного компонента по отношению к другому подвижному или даже неподвижному компоненту, при котором за счет частичного прилегания, по меньшей мере, к одному соответствующему компоненту имеется препятствующее в данный момент прохождению света положение подвижного компонента.
В предпочтительном способе одна сторона компонента освещается или выставляется на свет, в то время как с другой стороны, предпочтительно, с теневой, обнаруживается прохождение света, допущенное подвижным компонентом, или его прерывание. Свет на одну из сторон компонента может поступать, по меньшей мере, от одного внешнего источника света, или может быть использован окружающий свет. В последнем случае необходимость во внешнем источнике света отпадает. Благодаря этому может непрерывно или, по меньшей мере, в течение определенного времени определяться позиция или положение даже труднодоступного подвижного компонента. Особенно хорошие результаты измерения достигаются даже без внешних источников света, когда сторона подвижного компонента, противолежащая освещенной стороне, находится в сильно затененном, затемненном или даже темном пространстве. Тогда даже самый слабый свет может быть использован для надежного определения позиции или положения подвижного компонента. В то же время любое даже самое малое изменение расстояния подвижного компонента относительно другого (подвижного или неподвижного) компонента надежно и точно определяется из темного, затемненного или затененного пространства.
Особенно хорошие результаты измерения достигаются с помощью способа согласно изобретению, когда подвижный компонент, положение или позиция которого определяется, ограничивает, по меньшей мере, относительно темное пространство или, по меньшей мере, частично находится в нем. Когда затем этот компонент по меньшей мере в одной своей части плотно прилегает к другому (подвижному или неподвижному) компоненту, свет мгновенно перекрывается, так что подвижный компонент полностью погружает ограничиваемое им пространство в темноту. Таким образом, с особой надежностью определяется по меньшей мере одно конкретное положение или позиция подвижного компонента.
Способ согласно изобретению может применяться таким образом, что прохождение света, включая его прерывание, постоянно определяется во времени, а именно, предпочтительно, в течение нескольких циклов движения компонента, положение которого предстоит определить. Таким образом, непрерывно определяется временная зависимость движения компонента. Отсюда можно достоверно определить характерные положения, например, положение компонента, при котором свет не проходит, или устанавливается его максимальное прохождение. Однако через временную зависимость изменений в прохождении света или его прерывания можно, наряду с отмеченными положениями и позициями, определить также скорости движения компонента и/или его нежелательные движения.
В качестве альтернативы положение подвижного компонента можно целенаправленно определить лишь в том случае, когда свет не проходит совсем или он едва заметен, или если устанавливается его максимальное прохождение. Таким образом надежно определяются конкретные положения подвижного компонента. Определение этого конкретного положения может осуществляться и с привязкой ко времени, так что из полученных значений можно почерпнуть дальнейшую информацию, например, относительно числа оборотов двигателя или коробки передач, в частности автоматической коробки передач.
Способ особенно хорошо подходит для определения положения, по меньшей мере, одного клапана двигателя внутреннего сгорания. Здесь прохождение света прерывается, когда клапан находится в закрытом положении. Поэтому способ согласно изобретению позволяет особенно надежно определять закрытое положение соответствующего клапана.
Свет, необходимый для осуществления способа, падает на соответствующий клапан, предпочтительно, со стороны, обращенной к стержню клапана. Для этого особенно хорошо подходят воздухозасасывающий канал и/или канал для отработавших газов. У двигателей внутреннего сгорания с косвенным впрыском для альтернативного или дополнительного освещения стороны клапанной тарелки, обращенной к стержню клапана, можно использовать также седло и проходное сечение отсутствующей клапанной форсунки. В смысле света речь может идти об окружающем свете или, по меньшей мере, одном дополнительном источнике света, благодаря чему достигается особенно интенсивное (сильное) освещение верхней стороны клапана.
Кроме того, в соответствии со способом прохождение света или его прерывание при закрытом клапане определяются из надпоршневой цилиндрической камеры, а именно камеры сгорания. В частности, при закрытом клапане в камере сгорания темно. Благодаря этому можно с большой точностью установить, закрыт ли клапан.
Определение попадания света и/или его прохождения, а также его прерывания осуществляется с помощью соответствующего датчика, в частности, с помощью светочувствительного датчика, подающего сигнал измерения, изменяющийся, предпочтительно, пропорционально силе падающего света. В случае определения положения клапанов светочувствительный датчик (в отсутствие свечи зажигания) может быть пропущен через соответствующее отверстие для установки свечи зажигания или даже только вставлен в это отверстие. При этом датчик может быть выполнен таким образом, чтобы он во вставленном положении светонепроницаемо закрывал отверстие для установки свечи зажигания, так чтобы через него в камеру сгорания не проникал никакой свет. У двигателей внутреннего сгорания с непосредственным впрыском топлива в камеру сгорания датчик в качестве альтернативы может быть также пропущен или вставлен через отверстие для установки топливной форсунки (при ее отсутствии). Это может быть сделано и таким образом, чтобы предотвратить прохождение света между отверстием для установки топливной форсунки и датчиком. В этом случае отверстие для установки свечи зажигания, предпочтительно, уже светонепроницаемо закрыто установленной свечой зажигания.
Способ согласно изобретению осуществляется при проворачивании двигателя внутреннего сгорания, когда число оборотов невелико и составляет, например, 200-500 мин-1, в частности 100 мин-1. Тем самым у результатов измерения может быть достигнуто очень хорошее разрешение, причем измерение проводится в или при холодном запуске двигателя.
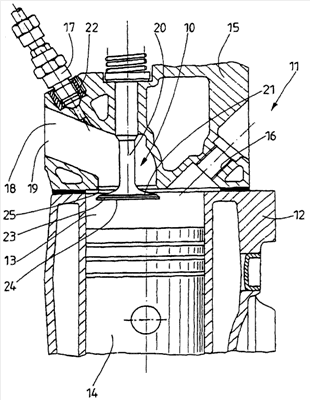
Ниже предпочтительный вариант осуществления изобретения более подробно поясняется на основе чертежа. На единственном чертеже изображено поперечное сечение верхней части двигателя внутреннего сгорания.
В дальнейшем изобретение поясняется на примере определения положения клапана 10 двигателя внутреннего сгорания 11, частично изображенного на чертеже. На чертеже изображена верхняя часть блока 12 двигателя в осевом сечении камеры 13 сгорания и верхняя часть поршня 14, находящегося вблизи верхней мертвой точки. Нижняя часть двигателя 11 внутреннего сгорания, в частности шатун, коленчатый вал и поддон картера, не показаны. Кроме того, на чертеже показано поперечное сечение головки 15 цилиндра, смонтированной на блоке 12 двигателя. Сечение головки 15 цилиндра проходит через седло клапана 10, установленного здесь уже в рабочем состоянии. На чертеже справа рядом с клапаном 10 показано отверстие 16 для установки свечи зажигания, которое при пока еще не установленной свече зажигания предоставляет внешний доступ камеры 13 сгорания.
В случае двигателя 11 внутреннего сгорания речь идет о двигателе с косвенным впрыском. Поэтому в головку 15 цилиндра ввинчена клапанная форсунка 17. Клапанная форсунка 17 находится на стороне головки 15 цилиндра, противоположной отверстию 16 для установки свечи зажигания. Со стороны клапанной форсунки 17 (на чертеже она показана слева) головка 15 цилиндра имеет воздухозасасывающий канал 18. К нему еще не подключено никакого воздухозасасывающего колена, так что отверстие 19 для подачи воздуха воздухозасасывающего канала 18 открыто снаружи.
Через открытое отверстие 19 воздухозасасывающего канала 18 свет снаружи может падать на верхнюю часть 21 клапана 10, соединенную с его стержнем 20. Однако предпочтительно устанавливать поблизости от отверстия 19 для подачи воздуха воздухозасасывающего канал 18 или даже в этом канале, по меньшей мере, один дополнительный источник света, например галогенную лампу (не показана). Галогенная лампа может иметь мощность до нескольких сотен ватт. Предпочтительно, мощность галогенной лампы находится в пределах 20-75 Вт.
В качестве альтернативы или дополнения при отсутствии клапанной форсунки 17 свет может падать на верхнюю часть 21 клапана 10 через в данном случае открытое отверстие 22 для установки клапанной форсунки. При этом достаточно окружающего света. Однако, предпочтительно, лампа согласуется с отверстием 22 для установки клапанной форсунки. Тогда для отверстия 19 для подачи воздуха не понадобится никакой лампы, так что здесь уже можно подключать воздухозасасывающее колено.
В еще свободном отверстии 16 для установки свечи зажигания в головке 15 цилиндра устанавливается светочувствительный орган. При этом, предпочтительно, имеется в виду светочувствительный датчик (не показан). Светочувствительный датчик может быть выполнен таким образом, чтобы он проходил через отверстие 16 для установки свечи зажигания и уплотнял его относительно прохождения света, так что светочувствительный датчик препятствует прохождению света через отверстие 16 для установки свечи. Светочувствительный датчик может быть вставлен в отверстие 16 для установки свечи зажигания таким образом, что его детекторная головка находится в области отверстия 16 для установки свечи зажигания. Однако светочувствительный датчик, предпочтительно, выполняется в виде стержня и вставляться в отверстие 16 для установки свечи зажигания настолько, чтобы светочувствительный элемент датчика располагался в верхней области камеры 13 сгорания, до которой сам поршень 14 даже в своем самом верхнем положении (в верхней мертвой точке) не достает. Благодаря этому светочувствительный датчик с его светочувствительной измерительной частью может регистрировать прохождение света поблизости от клапанной тарелки 23 клапана 10, в частности, с нижней стороны 24 клапанной тарелки 23.
Способ согласно изобретению для определения положения, предпочтительно, любого клапана 10, в частности, его соответствующего положения, осуществляется следующим образом.
Двигатель 11 внутреннего сгорания предварительно монтируется настолько, чтобы он при выключенном зажигании мог приводиться с проворачиванием. Таким образом, способ согласно изобретению осуществляется во время, так называемого, холодного запуска двигателя. В частности, смонтирована головка 15 цилиндра с клапанами 10. Клапаны также приводятся в действие с помощью кулачкового вала, двигаясь в головке 15 цилиндра вверх-вниз таким образом, как это происходило бы в двигателе 11 внутреннего сгорания при его обычном запуске. В приведенном примере выполнения только колено для подачи воздуха еще не подключено к воздухозасасывающему каналу 18, и нет еще свечей зажигания в отверстиях 16.
Через отверстие 19 для подачи воздуха в воздухозасасывающий канал 18 попадает свет, предпочтительно, от отдельной лампы. Свет направлен на верхнюю сторону 21 клапанной тарелки 23 и при полностью или частично открытом клапане 10 через промежуток между клапанной тарелкой 23 и седлом 25 клапана с нижней стороны головки 15 цилиндра попадает в камеру 13 сгорания.
Через отверстие 16 для установки свечи зажигания или в него вставлен светочувствительный датчик или какое-либо другое светочувствительное средство. При этом предпочтительно достигается такая светонепроницаемость, что между светочувствительным датчиком и отверстием 16 для установки свечи зажигания свет пройти не может. В результате свет даже при полностью или частично открытом клапане 10 может попасть в камеру 13 сгорания только через воздухозасасывающий канал 18.
С увеличением отверстия клапана 10 увеличивается поступление света в камеру 13 сгорания по мере того, как все больше света проходит в эту камеру 13 между клапанной тарелкой 23 и седлом 25 клапана. При полностью закрытом клапане 10 прохождение света между клапанной тарелкой 23 и седлом 25 клапана, и тем самым прохождение света в камеру 13 сгорания на короткое время полностью прекращается, так что камера 13 сгорания оказывается в полной темноте. В результате этого при полностью закрытом клапане 10 светочувствительный датчик получает четкий сигнал. Другой четкий сигнал светочувствительный датчик получает при полностью открытом клапане 10, когда поступление света в камеру 13 сгорания достигает максимума.
Определение положения соответствующего клапана 10 двигателя 11 внутреннего сгорания осуществляется при его проворачивании при числе оборотов до 200 мин-1, предпочтительно около 100 мин-1. При этом процесс определения является непрерывным, безостановочным независимо от того, проходит ли свет в камеру 13 сгорания между клапанной тарелкой 23 и седлом 25 клапана, и насколько много его проходит. Измерение силы света в камере 13 сгорания или ее полное затемнение производятся, предпочтительно, с учетом времени, благодаря чему в результате пропорциональности между силой света в камере 13 сгорания и ее кратковременным затемнением определяется положение или позиция соответствующего клапана 10 в рабочем цикле двигателя 11 внутреннего сгорания. В частности, благодаря полному затемнению камеры 13 сгорания при полностью закрытых клапанах 10 делаются достоверные заключения относительно закрытого положения клапанов 10.
Предпочтительно, в соответствии со способом согласно изобретению положение каждого клапана 10 двигателя 11 внутреннего сгорания само по себе определяется непрерывно, причем, в частности, на основе определяемых закрытых положений клапанов 10 устанавливаются порядок зажигания и временной интервал между полным закрытием отдельных клапанов 10.
В качестве альтернативы вышеописанному способу соответствующий клапан 10 может также освещаться через канал для отработавших газов, или свет поступает на соответствующий клапан 10 через канал для отработавших газов и воздухозасасывающий канал 18.
Альтернативно при косвенном впрыске, как это происходит в случае двигателя 11 внутреннего сгорания, изображенного на чертеже, свет может поступать также дополнительно или только через отверстие 22 для установки клапанной форсунки при ее отсутствии.
В случае двигателей внутреннего сгорания с непосредственным впрыском, когда отверстие для установки клапанной форсунки оканчивается прямо в камере 13 сгорания, светочувствительный датчик может определять силу света в камере 13 сгорания и через отверстие для установки клапанной форсунки, так что в этом случае свечи зажигания могут быть установлены.
Способ согласно изобретению пригоден также для определения, по меньшей мере, положения других подвижных компонентов двигателей внутреннего сгорания, коробок передач или других приводных агрегатов. У двигателей внутреннего сгорания могут быть, например, определены положения кулачковых и коленчатых валов или т.п. При этом необязательно необходимо, чтобы прохождение света определялось в темной или в почти темной камере 13 сгорания. Прохождение света может фиксироваться даже со стороны компонента, обращенной от источника света, на которую падает окружающий свет.
Способ согласно изобретению можно применять для коробок передач любого типа, в том числе и автоматических. В случае автоматических коробок передач способ согласно изобретению можно, например, использовать для определения положения кулис переключения передач.
Перечень ссылочных позиций
10 клапан
11 двигатель внутреннего сгорания
12 блок двигателя
13 камера сгорания
14 поршень
15 головка цилиндра
16 отверстие для установки свечи зажигания
17 клапанная форсунка
18 воздухозасасывающий канал
19 отверстие для подачи воздуха
20 стержень клапана
21 верхняя сторона
22 отверстие для установки клапанной форсунки
23 клапанная тарелка
24 нижняя сторона
25 седло клапана
Формула изобретения
1. Способ определения положения клапана (10) при холодном запуске невключенного, проворачиваемого двигателя внутреннего сгорания, причем во время движения клапана (10) определяют имеющие отношение к его положению параметры за счет того, что клапан (10) освещают или подвергают воздействию света и определяют прохождение света и/или прерывание прохождения света между клапаном (10) и согласованным с ним седлом (25) клапана, причем определение попадания света и/или прерывания попадания света в камеру (13) сгорания осуществляют, по меньшей мере, через одно отверстие (16) для установки свечи зажигания и/или через отверстие для установки клапанной форсунки.
2. Способ по п.1, отличающийся тем, что положение клапана (10) определяют в тот момент, когда не определено никакого или почти никакого прохождения света и/или определено максимальное прохождение света.
3. Способ по п.1, отличающийся тем, что освещают или подвергают воздействию света одну сторону клапана (10), а прохождение света и/или прерывание прохождения света определяют с другой стороны клапана (10).
4. Способ по п.3, отличающийся тем, что одна сторона клапана (10) освещается, по меньшей мере, одним источником света, причем освещение, предпочтительно, осуществляется с той стороны, которая является легко доступной.
5. Способ по п.1, отличающийся тем, что прохождение света определяют с той стороны клапана (10), которая находится на относительно темной стороне, предпочтительно, располагается в относительно темном пространстве и/или ограничивает это пространство.
6. Способ по п.1, отличающийся тем, что прохождение света, в частности его прерывание, определяют непрерывно, предпочтительно, на протяжении нескольких циклов движения соответствующего клапана (10).
7. Способ по п.1, отличающийся тем, что целенаправленно непрерывно определяют лишь отсутствие света или максимальное прохождение света.
8. Способ по п.1, отличающийся тем, что определяют закрытое положение, по меньшей мере, одного клапана (10), предпочтительно всех клапанов (10).
9. Способ по п.8, отличающийся тем, что свет поступает на соответствующий клапан (10) со стороны, обращенной к стержню (20) клапана, предпочтительно, через воздухозасасывающий канал (18), канал для отработавших газов и/или отверстие для установки клапанной форсунки.
10. Способ по п.8, отличающийся тем, что прерывание прохождения света определяют при соответствующем закрытом клапане (10), предпочтительно, из камеры (13) сгорания.
11. Способ по п.1, отличающийся тем, что для определения силы прохождения света и/или его прерывания применяют, по меньшей мере, один светочувствительный измерительный орган, в частности, по меньшей мере, один светочувствительный датчик.
12. Способ по п.1, отличающийся тем, что двигатель (11) внутреннего сгорания при определении, по меньшей мере, положения клапана (10) приводят проворачиванием с числом оборотов до 200 мин-1, в частности около 100 мин-1.
РИСУНКИ
|
|