|
|
(21), (22) Заявка: 2009120901/28, 02.06.2009
(24) Дата начала отсчета срока действия патента:
02.06.2009
(46) Опубликовано: 20.09.2010
(56) Список документов, цитированных в отчете о поиске:
US 4240640 А, 23.12.1980. FR 2485181 A1, 24.12.1981. RU 2279035 C1, 27.06.2006. Златин Н.А. Баллистические установки и их применения в экспериментальных исследованиях. – М.: Наука, 1974, с.125-130.
Адрес для переписки:
123557, Москва, ул. Малая Грузинская, 52, генеральному директору ЗАО НПФ ПерфоТех Р.А. Шакирову
|
(72) Автор(ы):
Драчев Александр Николаевич (RU), Сильвачев Виктор Владимирович (RU), Шакиров Рустам Анисович (RU)
(73) Патентообладатель(и):
Закрытое акционерное общество Научно-техническая фирма “ПерфоТех” (RU)
|
(54) СПОСОБ ИЗМЕРЕНИЯ ПАРАМЕТРОВ ПРОБИТИЯ ПРЕГРАДЫ МЕТАЕМЫМ ЭЛЕМЕНТОМ, НАПРИМЕР ПУЛЕЙ ЛИБО АРТИЛЛЕРИЙСКИМ СНАРЯДОМ, ЛИБО КУМУЛЯТИВНОЙ СТРУЕЙ, И УСТРОЙСТВО, РЕАЛИЗУЮЩЕЕ ЭТОТ СПОСОБ
(57) Реферат:
Изобретение относится к области исследований быстропротекающих процессов, а конкретно к регистрации движения кумулятивных струй в преграде-мишени. Техническим результатом является упрощение процесса регистрации скорости движения кумулятивной струи, упрощение конструкции устройства и повышение помехоустойчивости. Способ измерения параметров пробития преграды метаемым элементом: пулей, или артиллерийским снарядом, или кумулятивной струей заключается в том, что измеряют интервалы времени прохождения блокирующих плоскостей преграды, находящихся на заданном расстоянии, и определяют скорость прохождения метаемого элемента между ними. Блокирующие плоскости представляют собой внедренные через заданное расстояние первичные измерительные преобразователи, выполненные в виде двух взаимно перпендикулярных рамок. Каждая рамка содержит параллельно выполненные с выбранным шагом изолированные проводники. В каждой рамке одни концы проводников объединены между собой и подключены к выходу источника питания, а противоположные концы – через соответствующие резисторы объединены и связаны с соответствующим входом устройства обработки и регистрации. По разрыву проводников фиксируют в каждой блокирующей плоскости координаты деформации преграды метаемым элементом. 2 н.п. ф-лы, 2 ил.
Изобретение относится к области исследований быстропротекающих процессов, а конкретно к регистрации движения кумулятивных струй в преграде-мишени.
Известен способ определения времени полета потока частиц (см. В.А.Одинцов, 1988, Конструкции и действие. Методические указания по выполнению лабораторных работ. М., стр.18, рис.24), включающий метание частиц зарядом взрывчатого вещества и регистрацию продолжительности процесса полета потока частиц.
Известен способ определения пространственных координат объекта испытаний в момент его подрыва (см. ГОСТ Р51271-99. Изделия пиротехнические. Методы сертификационных испытаний, раздел 6.4, 6.5), предусматривающий скоростную фотосъемку с нескольких позиций объекта испытаний в процессе его движения по траектории и срабатывания.
В известном способе устанавливают на разных позициях не менее двух фотокамер и реперных знаков таким образом, чтобы при стрельбе было обеспечено попадание объекта испытаний в угол обзора фотокамер и видимость всеми фотокамерами всех реперных знаков и обеспечении начала процесса фотосъемки до момента подрыва объекта испытаний. Затем по снимкам с разных фотокамер, содержащим изображения реперных знаков и взрыв объекта испытаний в один и тот же момент времени, по заданному алгоритму определяются координаты точки подрыва объекта испытаний, что позволяет определить пространственные координаты и положение объекта испытаний в нескольких точках траектории полета и координаты точки срабатывания.
Однако ограниченный угол обзора камер требует привязки к ожидаемой области срабатывания изделия, а ограниченная длительность фотосъемки – точной синхронизации с моментом срабатывания изделия, что в некоторых случаях обеспечить невозможно. Кроме того, погодные условия (недостаточная освещенность объекта съемки, туман, запыленность атмосферы, осадки и пр.) сильно влияют на точность и возможность применения этого способа.
Известен способ фоторегистрации кумулятивной струи (см. патент RU 2248602, МПК G03B 39/00, G03B 41/00, опубл. 2005.03.20), заключающийся в том, что соосно с кумулятивным зарядом устанавливают лазер и перед формированием кумулятивной струи определяют траекторию ее движения к мишени по положению лазерного луча в пространстве, после чего фокусируют оптическую систему фоторегистратора на выбранное место траектории, причем лазерный луч направляют от основания кумулятивного заряда к мишени, а положение лазерного луча в пространстве определяют при помощи нити путем соединения следа луча на мишени с местом выхода луча из лазера.
Известен способ и устройство фоторегистрации кумулятивной струи (см. М. Held. The Orthogonal Synchro-Streak Technique as a Diagnostic Tool, Particularly for Shaped Charge Jets, Propellants, Explosives, Pyrotechnics, p.p.11, 170-175, 1986), включающий в себя установку лазера, соосно кумулятивному заряду, и перед формированием кумулятивной струи определение траектории ее движения к мишени по положению лазерного луча в пространстве, причем устройство содержит кумулятивный заряд, соосно которому установлен источник лазерного излучения, мишень, расположенную на заданном расстоянии от заряда, и фоторегистратор.
Недостатки известного технического решения: по лучу лазера, который направлен от мишени в центр основания заряда, не представляется возможным установить ось кумулятивного заряда соосно лучу лазера, вследствие чего нельзя определить реальную траекторию струи в пространстве. В результате возможны отклонения струи в плоскости регистрации, что повлияет на качественные и количественные характеристики фоторегистрации. В высокоскоростной фоторегистрации используются светосильные объективы с полностью открытыми диафрагмами. При этом глубина резкости оптической системы минимальная. Поэтому небольшие отклонения (~30-40 мм) траектории струи в плоскости, определяемой лучом лазера и осью оптической системы, приводит к размытию изображения кумулятивной струи на фотопленке. При отклонении луча в плоскости, перпендикулярной указанной выше, струя будет зарегистрирована не параллельной краям фотопленки, что приводит, во-первых, к затруднению обработки полученного изображения и, во-вторых, к потере части изображения струи, которая может оказаться за пределами фотопленки. Поскольку луч лазера невидим, возникают затруднения как при определении расстояния от основания кумулятивного заряда до плоскости фоторегистрации, так и при фокусировке оптического фоторегистратора на траекторию струи в предположении, что эта траектория совпадает с лучом лазера. В случае, когда траектория струи не совпадает с лучом, определение указанных величин может быть только приблизительным, ориентировочным.
Известно устройство для радиационного контроля (см. патент US 3445655, МПК G01N 23/00, опубл. 1969; С.В.Румянцев, 1974. Радиационная дефектоскопия. М., Атомиздат, стр.260-262), содержащее источник излучения и регистратор теневого изображения контрольного объекта, реализованной в виде рентгеновской пленки.
Известно неразрушающее рентгенографирование кумулятивной струи в свободном полете и в преграде – мишени – алюминий (см. Прикладная механика и техническая физика. 2004, 2, т.45, стр.147-155, Г.А.Швецов, А.Д.Матросов. Разрушение кумулятивных струй импульсным током) с помощью рентгеновской импульсной установки ПИР – 100/240 с экспозицией 100 нс.
На рентгенограмме виден процесс внедрения кумулятивной струи в стальную преграду на скорости движения струи 7 км/с, причем видна полностью обжатая облицовка (пест), приближающийся к преграде, и продолжающая истекать струя, которая имеет четкие границы и распространяется на расстояние трем длинам песта, а также виден взрывообразный процесс при соприкосновении струи с преградой, материал которой разбрасывается на входе и выходе из пробитого канала. Диаметр отверстия приблизительно в 10 раз превышает диаметр струи, а часть струи, прошедшая через первую преграду, по существу, без помех, начинает внедрение во вторую преграду.
Известно устройство для регистрации результатов стрельбы при определении координат пролета пули (см. патент RU 2068538, МПК F41J 05/02, опубл. 27.10.1996), содержащее раму, первую и вторую группу фотоприемников, установленных по двум смежным сторонам рамы, причем каждый из фотоприемников включает фотодиод, усилитель и формирователь импульса, а также устройство обработки и индикации, первая группа входов которого соединена с выходами первой и второй групп фотоприемников соответственно, кроме того, третья и четвертая группы фотоприемников, установленные на двух других смежных сторонах рамы, напротив первой и второй группы фотоприемников, причем выходы фотоприемников третьей и четвертой группы соединены соответственно со второй группой входов устройства обработки индикации, два ненаправленных источника света, первый из которых расположен на углу смежности третьей и четвертой групп фотоприемников, второй на углу смежности первой и второй групп фотоприемников, при этом фотодиоды первой и второй групп фотоприемников направлены на первый источник света, а фотодиоды третьей и четвертой групп фотоприемников направлены на второй источник света.
Известно проволочное блокирующее устройство стрелковой баллистической измерительной установки (см. ГОСТ 28653-90 Оружие стрелковое. Термины и определения), содержащее контактное блокирующее устройство, выполненное в виде натянутой либо наклеенной на изолирующую подложку проволоки, вырабатывающее электрический сигнал в результате разрыва проволоки метаемым элементом.
Известна рама-мишень (см. Н.А.Златин, 1974. Баллистические установки и их применения в экспериментальных исследованиях. М., Наука, стр.125-130), содержащая соединенные между собой основой расположенные друг против друга планки, размещенные на планках с заданным шагом фиксаторы датчиков попаданий.
Известно устройство регистрации скорости метаемых поражающих элементов (см. заявка FR 2485181, МПК F41J 05/00, опубл. 1981), содержащее твердую мишень, блок регистрации и обработки информации. Чувствительным элементом блока запуска является пробиваемая мишень, устанавливаемая перед твердой мишенью.
Известно устройство (см. патент US 4240640, МПК F41J 05/04, опубл. 1980), содержащее датчик в виде сеточных электродов, изолированных прокладкой, и блок обработки сигналов датчика. Конструкция датчика в виде двух параллельных сеточных электродов обеспечивает надежную регистрацию пробития мишени снарядом.
Задачей, на решение которой направлено большинство разработок в рассматриваемой области техники, является повышение качества регистрации и устранение негативного влияния продуктов взрыва на качество изображения.
Техническим результатом является получение новой информации и повышение достоверности данных путем фиксации (измерения) параметров прохождения кумулятивной струи через преграду при упрощении процесса регистрации скорости ее движения, а также простота конструкции, низкая стоимость и высокая помехоустойчивость.
Технический результат достигается тем, что в способе измерения параметров пробития преграды метаемым элементом, например пулей либо артиллерийским снарядом, либо кумулятивной струей, предусматривающий измерение интервалов времени прохождения блокирующих плоскостей преграды, находящихся на заданном расстоянии, с последующим определением скорости прохождения метаемого элемента между ними, причем в местах разделения блокирующих плоскостей размещены две взаимно перпендикулярные рамки с параллельно выполненными изолированными проводниками, по разрыву которых фиксируют в каждой плоскости координаты деформации преграды метаемым элементом.
Технический результат достигается тем, что в устройство для измерения параметров пробития преграды метаемым элементом, содержащее преграду, в которую внедрен через заданный дискрет (величина измерительной базы) первичный измерительный преобразователь, реализованный в виде двух взаимно перпендикулярных рамок из параллельно выполненных изолированных проводников заданного шага, начало которых каждой рамки объединены между собой и подключены к выходу источника постоянного тока, а противоположные концы каждой рамки через соответствующие резисторы объединены и связаны с соответствующими входами устройства обработки и регистрации.
Сущностью предлагаемого технического решения является электрический способ измерения, имеющий ряд достоинств: точность, удобство в эксплуатации, легкость в исполнении, компактность, возможность сопряжения с электронно-вычислительной машиной за счет использования первичных измерительных преобразователей, выполненные из двух вертикальной и горизонтальной рамок, в которых параллельно друг другу с заданным шагом размещены изолированные проводники, подключенные к источнику питания и нагруженные на заданные резисторы, связанные измерительной цепью с устройством обработки и регистрации, причем после аналого-цифрового преобразования результат измерения представляется в цифровой форме, что позволило реализовать решение простой конструкцией низкой стоимости и при высокой помехоустойчивости.
Причем скорость V прохождения метаемого элемента через каждый дискрет преграды может быть определена по разнице времени dT между первичными измерительными преобразователями и известному расстоянию S между ними, как V=S/dT.
Сравнение предлагаемого решения с известными техническими решениями показывает, что оно обладает новой совокупностью существенных признаков, которые совместно с известными признаками позволяют успешно реализовать поставленную цель.
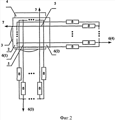
Сущность технического решения поясняется чертежами, на фиг.1 изображена блок-схема устройства, на фиг.2 – первичный измерительный преобразователь.
Состав устройства:
1 – метаемый элемент;
2 – блокирующая плоскость;
3 – преграда (горная порода) – мишень;
4 – первичный измерительный преобразователь;
5 – изолированный проводник;
6(1), 6(2) – вертикальная и горизонтальная рамки;
6(3), 6(4) – выходы вертикальных и горизонтальных рамок первичного измерительного преобразователя;
7 – источник питания;
8 – резисторы;
9 – устройство обработки и регистрации.
Устройство, реализующее данный способ, работает следующим образом.
Устройство, блокирующее траекторию метаемого элемента 1, представляет собой преграду 3, условно разделенную рядом блокирующих плоскостей 2, размещенных относительно друг друга на заданном расстоянии, представляющих собой первичные измерительные преобразователи 4 в виде двух вертикальной и горизонтальной рамок 6(1), 6(2), в которых параллельно друг другу с заданным шагом расположены изолированные проводники 5 (выполненные из тонкой проволоки либо из металлической фольги), площадь которых перекрывает площадь поперечного сечения преграды 3, и перпендикулярна траектории движения регистрируемого метаемого элемента 1.
При прохождении метаемого элемента 1 через блокирующую плоскость 2 рам 6(1), 6(2) происходит разрыв как горизонтальных, так и вертикальных изолированных проводников 5, причем в точках съема сигналов первичного измерительного преобразователя 4 возникают броски потенциала, которые соответственно связанные измерительной цепью с устройством обработки и регистрации, который формирует сигнал, регистрируемый устройством обработки и регистрации 9, по которым определяют точки траектории движения кумулятивной струи в каждом дискрете блокирующих плоскостей 2 преграды 3.
Техническо-экономическим эффектом является получение новой информации и повышение достоверности данных путем фиксации (измерения) параметров прохождения кумулятивной струи через преграду при упрощении процесса регистрации скорости ее движения.
Формула изобретения
1. Способ измерения параметров пробития преграды метаемым элементом: пулей или артиллерийским снарядом, или кумулятивной струей, заключающийся в том, что измеряют интервалы времени прохождения блокирующих плоскостей преграды, находящихся на заданном расстоянии, и определяют скорость прохождения метаемого элемента между ними, причем упомянутые блокирующие плоскости представляют собой две взаимно перпендикулярные рамки, каждая из которых содержит параллельно выполненные изолированные проводники, по разрыву которых фиксируют в каждой блокирующей плоскости координаты деформации преграды метаемым элементом.
2. Устройство для измерения параметров пробития преграды метаемым элементом: пулей или артиллерийским снарядом, или кумулятивной струей, содержащее преграду, в которую внедрены через заданное расстояние первичные измерительные преобразователи, выполненные в виде двух взаимно перпендикулярных рамок, каждая из которых содержит параллельно выполненные с выбранным шагом изолированные проводники, в каждой рамке начала которых объединены между собой и подключены к выходу источника питания, а концы – через соответствующие резисторы объединены и связаны с соответствующим входом устройства обработки и регистрации.
РИСУНКИ
|
|