|
|
(21), (22) Заявка: 2009102670/06, 27.01.2009
(24) Дата начала отсчета срока действия патента:
27.01.2009
(46) Опубликовано: 20.09.2010
(56) Список документов, цитированных в отчете о поиске:
RU 2331022 C1, 10.08.2008. RU 2300703 C1, 10.06.2007. RU 2196939 C2, 20.01.2003. GB 1038141 A, 10.08.1966.
Адрес для переписки:
356236, Ставропольский край, Шпаковский р-н, с. Верхнерусское, ул. Батайская, 35, ООО “Научное Производственное Объединение Верхнерусские Коммунальные Системы”, ген. директору
|
(72) Автор(ы):
Сердюков Алексей Алексеевич (RU), Сердюков Алексей Максимович (RU)
(73) Патентообладатель(и):
Общество с ограниченной ответственностью “Научное Производственное Объединение Верхнерусские Коммунальные Системы” (RU)
|
(54) ЭНЕРГОНЕЗАВИСИМЫЙ ГАЗОВЫЙ КЛАПАН
(57) Реферат:
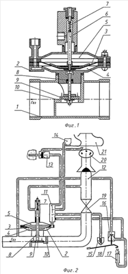
Изобретение относится к энергетике, в частности к энергонезависимым газовым клапанам, используемым в устройствах для сжигания газообразного топлива, и может быть использовано в газогорелочных устройствах паровых и водогрейных котлов наружного и внутреннего размещения и других аппаратах для включения – выключения подачи газообразного топлива по сигналу датчиков температуры, тяги, пламени при нарушении целостности импульсных трубок, падении давления газа. Энергонезависимый газовый клапан состоит из корпуса 1 с установленным на его резьбе мембранным устройством 2, которое содержит мембрану 3 с подмембранной полостью 4 и надмембранной полостью 5, шток 6, который выполнен общим для надмембранной полости 5 и подмембранной полости 4, при этом шток 6 снабжен регулируемой пружиной 7 с возможностью подпружинивания в надмембранной полости 5, а в подмембранной полости 4 содержит уплотнитель 8 с закрепленным на штоке 6 подвижным клапаном 9 с седлом 10, запирающим седло 10 подвижного клапана 9, при этом подмембранная полость 4 соединена с помощью импульсной трубки (на фиг. не обозначена) с управляющим каналом 11, а надмембранная полость 5 соединена импульсной трубкой с газораспределительной трубой 12. Пневматическая схема управления автоматикой также содержит датчик температуры 13, датчик тяги 14, датчик пламени 15, датчик сетевого газа 16, запальную горелку 17, термобиметаллическую пластину 18 датчика пламени 15, газовый кран 19 с подводящим газопроводом (на фиг. не показан), горелку 20, топку 21, при этом подмембранная полость 4 с помощью импульсных трубок соединена с датчиками тяги 14, температуры 13, пламени 15 с возможностью обеспечения давлением газа посредством датчика сетевого газа 16 и жиклера (на фиг. не показан) управляющего канала 11, а надмембранная полость 5 соединена с помощью импульсных трубок с газораспределительной трубой 12 горелки 20. Технический результат, который может быть получен с помощью предлагаемого изобретения, сводится к упрощению конструкции, повышению надежности клапана. 2 ил.
Область техники, к которой относится изобретение
Изобретение относится к энергетике, в частности к энергонезависимым газовым клапанам, используемым в устройствах для сжигания газообразного топлива, и может быть использовано в газогорелочных устройствах паровых и водогрейных котлов наружного и внутреннего размещения и других аппаратах для включения-выключения подачи газообразного топлива по сигналу датчиков температуры, тяги, пламени при нарушении целостности импульсных трубок, падении давления газа.
Уровень техники
Известен сопловый узел горелки, содержащий корпус с установленной за его пределами направляющей пластиной с отогнутым на заданный угол относительно ее плоскости навстречу потоку концам, при этом пластина со стороны, противоположной отогнутому концу, снабжена перпендикулярной продольной оси корпуса поворотной осью, а ее конец отогнут на угол 10-15° (см. а.с. SU 989244, кл. F23D 13/26).
Недостатком данного соплового узла горелки является недостаточные смешение газа с первичным воздухом и соответственно качество сгорания.
Известна атмосферная газовая горелка, содержащая газовый регулятор, состоящий из блока регулирования, соединенного с датчиком температуры с помощью канала регулирования, блока контроля, соединенного с датчиками пламени, тяги каналом контроля, при этом она снабжена вторым газовым регулятором, состоящим из блока регулирования, соединенного с датчиками температуры и наружного воздуха, блока контроля, при этом второй газовый регулятор установлен с возможностью параллельного подключения полостей блоков контроля и датчика температуры наружного воздуха путем соединения с блоком регулирования второго газового регулятора, причем процентное соотношение подачи газа в горелку обоими регуляторами устанавливается кранами (см. пат. RU 2196939, кл. F23N 1/10, F23D 14/60).
Недостатком данной атмосферной газовой горелки является сложность конструкции.
Наиболее близким по технической сущности и достигаемому положительному эффекту и принятый авторами за прототип является энергонезависимый газовый клапан, состоящий из корпуса с установленным на его резьбе мембранным устройством, последнее содержит мембрану с подмембранной и надмембранной полостью, шток, причем подмембранная полость содержит уплотнитель с закрепленным на штоке подвижным клапаном с седлом, управляющий канал, при этом энергонезависимый газовый клапан с помощью импульсных трубок соединен с датчиками температуры, тяги, пламени, сетевого газа, запальной горелкой с термобиметаллической пластиной, газовым краном, газораспределительной трубой горелки (см. Энергонезависимый газовый клапан. РГУ – M1 руководство по эксплуатации Са 2. 574.023. РЭ ОАО «Завод Староруссприбор», 175200, г.Старая Русса, Новгородская область, ул. Минеральная, 24).
Недостатком данного клапана является сложность конструкции, невысокая надежность и экономичность.
Раскрытие изобретения
Задачей предлагаемого изобретения является разработка энергонезависимого газового клапана, обладающего упрощением конструкции, повышением надежности клапана.
Технический результат, который может быть получен с помощью предлагаемого изобретения, сводится к упрощению конструкции, повышению надежности клапана.
Технический результат достигается с помощью энергонезависимого газового клапана, содержащего корпус с установленным на его резьбе мембранным устройством, последнее содержит мембрану с подмембранной и надмембранной полостью, шток, а подмембранная полость содержит уплотнитель с закрепленным на штоке подвижным клапаном с седлом, управляющий канал, причем энергонезависимый газовый клапан с помощью импульсных трубок соединен с датчиками температуры, тяги, пламени, сетевого газа, запальной горелкой с термобиметаллической пластиной, газовым краном, газораспределительной трубой горелки, при этом шток выполнен общим для надмембранной и подмембранной полостей и снабжен регулируемой пружиной с с возможностью подпружинивания, причем подмембранная полость соединена с помощью импульсных трубок с датчиками тяги, температуры, пламени с возможностью обеспечения давлением газа посредством датчика сетевого газа и жиклера управляющего канала, а надмембранная полость с помощью импульсных трубок соединена с газораспределительной трубой горелки.
Таким образом, технический результат достигается за счет того, что шток выполнен общим для надмембранной и подмембранной полостей и снабжен регулируемой пружиной, при этом подмембранная полость сообщается с датчиками температуры, тяги, пламени с помощью импульсных трубок и обеспечивается давлением газа через датчик сетевого газа и жиклер управляющего канала, а надмембранная полость сообщается с газораспределительной трубой горелки, на общий шток в надмембранной полости воздействует регулируемая пружина, а на подвижный клапан – увеличенное давление газа в подводящем газопроводе, что обеспечивает дополнительную функцию автоматического снижения давления газа до установленной величины, при внезапном увеличении давления газа в подводящем газопроводе.
Краткое описание чертежей
На фиг.1 дан энергонезависимый газовый клапан, общий вид. На фиг.2 – то же, пневматическая схема управления автоматикой горелки энергонезависимым газовым клапаном.
Осуществление изобретения
Энергонезависимый газовый клапан состоит из корпуса 1 с установленным на его резьбе мембранным устройством 2, которое содержит мембрану 3 с подмембранной полостью 4 и надмембранной полостью 5, шток 6, который выполнен общим для надмембранной полости 5 и подмембранной полости 4, при этом шток 6 снабжен регулируемой пружиной 7 с возможностью подпружинивания в надмембранной полости 5, а в подмембранной полости 4 содержит уплотнитель 8 с закрепленным на штоке 6 подвижным клапаном 9 с седлом 10, запирающим седло 10 подвижного клапана 9, при этом подмембранная полость 4 соединена с помощью импульсной трубки (на фиг. не обозначена) с управляющим каналом 11, а надмембранная полость 5 соединена импульсной трубкой с газораспределительной трубой 12. Пневматическая схема управления автоматикой также содержит датчик температуры 13, датчик тяги 14, датчик пламени 15, датчик сетевого газа 16, запальную горелку 17, термобиметаллическую пластину 18 датчика пламени 15, газовый кран 19 с подводящим газопроводом (на фиг. не показан), горелку 20, топку 21, при этом подмембранная полость 4 с помощью импульсных трубок соединена с датчиками тяги 14, температуры 13, пламени 15 с возможностью обеспечения давлением газа посредством датчика сетевого газа 16 и жиклера (на фиг. не показан) управляющего канала 11, а надмембранная полость 5 соединена с помощью импульсных трубок с газораспределительной трубой 12 горелки 20.
Энергонезависимый газовый клапан работает следующим образом.
Поднимают термобиметаллическую пластину 18 и зажигают запальную горелку 17, газ из подводящего газопровода поступает по импульсной трубке в датчик сетевого газа 16 и в жиклер канала управления 11, а далее в подмембранную полость 4, одновременно по импульсным трубкам газ поступает к датчикам температуры 13, тяги 14, пламени 15, при этом после нагрева термобиметаллической пластины 18 пламенем запальной горелки 17 термобиметаллическую пластину 18 отпускают, датчик сетевого газа 16 будет поддерживаться в открытом состоянии термобиметаллической пластиной 18 во все время работы запальной горелки 17. При закрытых датчиках пламени 15, тяги 14, температуры 13 газ надтекает в подмембранную полость 4, а так как подмембранная полость 4 изолирована от корпуса 1 энергонезависимого газового клапана уплотнителем 8, давлением газа на мембрану 3 создается усилие подъема штока 6, преодолевающего сопротивление подвижного клапана 9, усилия регулируемой пружины 7, в результате чего подвижный клапан 9 поднимается над седлом 10 подвижного клапана 9, газ заполняет трубное пространство до газового крана 19, медленно открывают газовый кран 19, загорается горелка 20, отработанные дымовые газы поступают в топку 21 и удаляются в дымовую трубу (на фиг. не показана), омывая при этом датчик тяги 14. В газораспределительной трубе 12 возникает давление газа, которое по импульсной трубке заполняет надмембранную полость 5, при этом возникающее усилие от давления газа в надмембранной полости 5 суммируется с усилием регулируемой пружины 7 и усилием от давления газа на подвижный клапан 9 перемещает подвижный клапан 9 вниз, до достижения равновесного состояния, при повышении давления газа в подводящем газопроводе одновременно повышается давление газа в газораспределительной трубе 12 и надмембранной полости 5, подвижный клапан 9 приближается к седлу 10 подвижного клапана 9, расход газа через зазор между седлом 10 корпуса 1 и подвижным клапаном 9 уменьшается, давление в газораспределительной трубе 12 после газового крана 19 снижается, уменьшается давление газа и в надмембранной полости 5, подвижный клапан 9 приподнимается над седлом 10 подвижного клапана 9, таким образом осуществляется автоматическое снижение давления газа при его внезапном увеличении, при этом при открытии сопла любого из датчиков температуры 13, тяги 14, пламени 15 давление газа в подмембранной полости 4 скачкообразно уменьшается и под действием усилия от давления газа в надмембранной полости 5 усилия регулируемой пружины 7, усилия от воздействия давления газа на подвижный клапан 9, шток 6 мгновенно в течение 1-2 сек перемещается вниз, подвижный клапан 9 опускается на седло 10 клапана 9, подача газа на горелку 20 прекращается, при этом исчезает давление газа в газораспределительной трубе 12 и соответственно в надмембранной полости 5, подвижный клапан 9 удерживается в закрытом состоянии за счет усилия регулируемой пружины 7 и усилия от воздействия давления сетевого газа на подвижный клапан 9. При остывании теплоносителя, например, сопло датчика температуры 13 закрывается, газ через управляющий канал 11 поступает в подмембранную полость 4, создается усилие подъема штока 6, преодолевающего сопротивление подвижного клапана 9, усилия регулируемой пружины 7, в результате чего подвижный клапан 9 поднимается над седлом 10 клапана 9, газ поступает в горелку 20, которая загорается, возникает давление газа в газораспределительной трубе 12 и надмембранной полости 5, при этом энергонезависимый газовый клапан одновременно будет автоматически снижать давление газа при его внезапном увеличении, то же самое произойдет и при срабатывании датчика тяги 14, если же погаснет запальная горелка 17, откроется сопло датчика пламени 15, подвижный клапан 9 опустится на седло 10 клапана 9, подача газа в горелку 20 прекратится, для запуска горелки 20 вновь в работу необходимо произвести розжиг запальной горелки 17 при закрытом газовом кране 19, как описано выше.
Предлагаемое изобретение по сравнению с прототипом и другими известными техническими решениями имеет следующие преимущества:
– упрощение конструкции;
– повышение надежности в работе;
– возможность включения – выключения подачи газообразного топлива по сигналу датчиков температуры, тяги, пламени при нарушении целостности импульсных трубок, падении давления газа.
Формула изобретения
Энергонезависимый газовый клапан, содержащий корпус с установленным на его резьбе мембранным устройством, последнее содержит мембрану с подмембранной и надмембранной полостью, шток, а подмембранная полость содержит уплотнитель с закрепленным на штоке подвижным клапаном с седлом, управляющий канал, причем энергонезавимый газовый клапан с помощью импульсных трубок соединен с датчиками температуры, тяги, пламени, сетевого газа, запальной горелкой с термобиметаллической пластиной, газовым краном, газораспределительной трубой горелки, отличающийся тем, что шток выполнен общим для надмембранной и подмембранной полостей и снабжен регулируемой пружиной с возможностью подпружинивания, при этом подмембранная полость соединена с помощью импульсных трубок с датчиками тяги, температуры, пламени с возможностью обеспечения давлением газа посредством датчика сетевого газа и жиклера управляющего канала, а надмембранная полость с помощью импульсных трубок соединена с газораспределительной трубой горелки.
РИСУНКИ
|
|