|
|
(21), (22) Заявка: 2007119282/06, 25.10.2005
(24) Дата начала отсчета срока действия патента:
25.10.2005
(30) Конвенционный приоритет:
04.11.2004 US 60/625,521
(43) Дата публикации заявки: 10.12.2008
(46) Опубликовано: 20.09.2010
(56) Список документов, цитированных в отчете о поиске:
US 2002/0072020 А1, 13.06.2002. US 6065528 А, 23.05.2000. US 4646871 А, 03.03.1987. RU 2107667 С1, 27.03.1998. SU 1779880 А1, 07.12.1992. SU 84773 А, 14.11.1964.
(85) Дата перевода заявки PCT на национальную фазу:
04.06.2007
(86) Заявка PCT:
CA 2005/001643 20051025
(87) Публикация PCT:
WO 2006/047857 20060511
Адрес для переписки:
191186, Санкт-Петербург, а/я 230, “АРС-ПАТЕНТ”, пат.пов. В.М.Рыбакову, рег. 90
|
(72) Автор(ы):
СИМАР Клод (CA), МЕНАР Стефан (CA), СТИВЕНС Уэсли Дональд (CA), УИЛСОН Эдвард Дж. (US), БЭНКС Пол (US), БЕЛЛЕЙ Люк (CA), БАРРИДЖ Брэд Д. (US), ФЕЛПС Тони И. (US)
(73) Патентообладатель(и):
НОВЕЛИС ИНК. (CA)
|
(54) РЕГЕНЕРАТИВНАЯ ГОРЕЛКА, УСТРОЙСТВО ФИЛЬТРАЦИОННОГО СЛОЯ, ОЧИСТИТЕЛЬНОЕ УСТРОЙСТВО ДЛЯ ФИЛЬТРАЦИОННОГО СЛОЯ И СПОСОБ ОЧИСТКИ ФИЛЬТРАЦИОННОГО СЛОЯ РЕГЕНЕРАТИВНОЙ ГОРЕЛКИ
(57) Реферат:
Изобретение относится к регенеративным горелкам, используемым для нагревательных печей. Регенеративное горелочное устройство для печи содержит горелку для периодического введения тепла и отработанного газа в печь в процессе воспламенения, когда подводится топливо и газ для горения; фильтрационный слой, содержащий огнеупорные частицы фильтрующей среды; канал для подачи газа для горения к горелке в процессе воспламенения и для вытяжки отработанного газа из печи по завершении указанного воспламенения, причем указанный канал обеспечивает последовательное пропускание газа для горения и отработанного газа через фильтрационный слой; и средства для периодической подачи импульса очищающего газа в фильтрационный слой, причем указанный импульс имеет силу, достаточную для вытеснения загрязняющих веществ, собранных в фильтрационном слое от отработанного газа. Указанные средства содержат источник очищающего газа, трубопровод для передачи очищающего газа от указанного источника к фильтрационному слою и средства для выпуска импульса очищающего газа от источника через трубопровод. Трубопровод имеет, по меньшей мере, один выпуск, расположенный рядом с фильтрационным слоем. Фильтрационный слой покоится на газопроницаемой опоре, установленной над камерой, в которой расположен, по меньшей мере, один выпуск таким образом, что он обращен к газопроницаемой опоре. Источник очищающего газа выполнен в виде резервуара, содержащего очищающий газ под давлением, а средства для выпуска импульса очищающего газа выполнены в виде двухпозиционного клапана для по существу мгновенного выпуска газа из резервуара в трубопровод. По меньшей мере, один выпуск имеет площадь поперечного сечения, по существу равную площади поперечного сечения трубопровода, подведенного к указанному выпуску. Изобретение позволяет решить проблему, связанную с загрязнением фильтрующей среды регенеративных горелок. 4 н. и 20 з.п. ф-лы, 5 ил.
Область техники, к которой относится изобретение
Настоящее изобретение относится к области техники, связанной с регенеративными горелками, используемыми для нагревательных печей, которые предназначены для плавления металлов, например скрапа алюминия, стекла и других материалов. Более конкретно, изобретение относится к фильтрационным слоям, используемым для таких горелок, а также к способам, позволяющим поддерживать максимальный поток воздуха через такие фильтрационные слои.
Уровень техники
Регенеративные горелки, которые в течение многих лет используются для нагревательных печей, предназначены для повышения эффективности использования топлива, поскольку они вторично используют (рециркулируют) тепло, которое в противном случае тратилось бы впустую. Как правило, используются две совместно работающие горелки, связанные с двумя регенеративными фильтрационными слоями. Каждый фильтрационный слой состоит из огнеупорных частиц, которые могут впитывать тепло от газа, проходящего через фильтрационный слой, или же сообщать тепло газу в зависимости от относительных температур газа и фильтрационного слоя в данный момент. Горелки вырабатывают тепло посредством сжигания топлива в газе для горения (обычно в воздухе), вырабатывая таким образом горячий газ, который направляется в печь и, в конечном счете, удаляется из печи как горячий отработанный газ. Во время работы первой из двух горелок отработанный газ, который она вырабатывает, отводится из печи и пропускается через второй из двух фильтрационных слоев с целью нагрева фильтрующей среды.
Газ для горения, предназначенный для первой горелки, пропускается через первый фильтрационный слой, в котором он нагревается фильтрующей средой, нагретой после предшествующего цикла горелки. После истечения периода времени, предназначенного для того, чтобы получить максимальную эффективность (часто он составляет от 30 секунд до трех минут), первая горелка выключается, а вторая горелка зажигается. Газ для горения, предназначенный для второй горелки, пропускается через второй фильтрационный слой (слой, ранее нагретый отработанным газом от первой горелки), а отработанный газ второй горелки отводится из печи и пропускается через первый фильтрационный слой, так что этот слой нагревается еще раз. Благодаря использованию такой циркуляции горелок отработанное тепло в значительной степени улавливается и перенаправляется обратно печь с тем, чтобы повысить эффективность ее эксплуатации. Понятно, что можно использовать и более двух горелок на одну печь при условии, что отработанные газы одной группы горелок будут использоваться для предварительного нагрева газов для горения другой группы посредством регенеративных фильтрационных слоев.
Недостаток применяемых таким способом регенеративных горелок заключается в том, что связанные с ними фильтрационные слои обычно загрязняются компонентами отработанных газов, полученных из печи и пропущенных через фильтрационные слои. Характер загрязняющих веществ зависит от материала, нагреваемого в печи. Например, в случае использования печи для переплавки алюминиевого скрапа загрязнителями могут являться соляные флюсы. Загрязнение принимает форму отложений твердых веществ, или в некоторых случаях жидкостей, которые накапливаются в слое и, в конечном счете, уменьшают поток газа через слой. Обычно в горячих отработанных газах эти загрязнители находятся в газообразном или жидком состоянии, однако, по мере остывания газа в регенеративном фильтрационном слое, они конденсируются. В некоторых других случаях загрязняющие вещества могут быть в виде пыли или других твердых веществ, присутствующих в отработанных газах и улавливаемых в фильтрующей среде слоя. Со временем загрязняющие вещества образуют засорение, которое трудно удалить. Эта проблема является вполне осознанной в уровне техники, и попытки решить данную проблему путем удаления загрязняющих отложений тем или иным путем предпринимались неоднократно.
Опубликованная патентная заявка США 2002-0072020 (Крейн и др., публикация от 13 июня 2002 г.) раскрывает комбинацию типовой горелки и фильтрационного слоя типа, который применяется в металлоплавильных печах. Публикация раскрывает удобный способ замены всего фильтрационного слоя при его загрязнении до недопустимого уровня. Удаленный таким образом фильтрационный слой заменяется с минимальной затратой времени запасным фильтрационным слоем, который содержит новую, восстановленную или обработанную иным образом фильтрующую среду.
Патент США 4944670 (Ватсон, выданный 31 июля 1990 г.) описывает печь с двумя горелками, имеющими регенеративные слои, которую можно применять при плавлении алюминия. В патенте отмечается, что фильтрационные слои подвергаются загрязнению солями и т.п. и раскрывается система управления, которая периодически позволяет нагревать слои до повышенной температуры для плавления поглощенных солей, которые затем можно собрать и удалить в отходы.
Патент США 4807695 (Ворд, выданный 28 февраля 1989 г.) раскрывает проект регенератора, предназначенного для использования в системе регенеративной горелки для плавления стекла или цветных металлов. Изобретение предусматривает впускное отверстие для добавления чистых огнеупорных шариков (частиц фильтрующей среды фильтрационного слоя) на одном конце слоя и средств для удаления загрязненных шариков на другом конце слоя. Таким способом происходит удаление загрязняющих веществ и обновление фильтрационного слоя.
Патент США 4923391 (Гитман, выданный 8 мая 1990 г.) раскрывает систему управления регенеративной горелкой для плавления алюминия, в которой можно обеспечить обход регенеративного слоя на некоторых стадиях цикла нагревания, когда уровни загрязнений особенно высоки. Таким способом возможно уменьшить загрязнение фильтрационного слоя.
Патентная заявка GB 2209386 А (Вилле, и др., опубликованная 10 мая 1989 г.) раскрывает систему регенеративной горелки, предназначенную для плавления стекла, в которой предусматривается использование промежуточной ступени охлаждения (между двумя регенеративными слоями), чтобы загрязняющие вещества могли конденсироваться на участке воздуховода, который легко чистить.
Патентная заявка GB 2192264 А (Гудфеллоу, опубликованная 6 января 1988 г.) раскрывает систему регенеративной горелки, в которой регенеративный слой расположен на двух участках таким образом, что газ проходит вниз через первый участок, а затем вверх через второй участок. Профиль распределения температур организован так, что загрязненная зона расположена рядом с самым нижним слоем первого участка фильтрационного слоя, вследствие чего относительно небольшие изменения в температурном профиле вызывают перемещение засоряющего материала с первого участка фильтрационного слоя в расплавленном состоянии. Загрязняющие вещества собирают и удаляют.
Хотя эти решения проблемы могут быть в некотором роде эффективными, у них, тем не менее, имеются недостатки, такие как потребность в дорогостоящей модификации устройства или необходимость частой замены фильтрующей среды. Таким образом, существует потребность в других подходах к вопросу загрязнения фильтрующей среды, которое уменьшает поток газа через регенеративные слои.
Раскрытие изобретения
Настоящее изобретение, по меньшей мере в одном варианте осуществления, использует быстрый поток газа, действующий в течение короткого периода времени, для удаления загрязняющих веществ из регенеративного фильтрационного слоя, используемого с регенеративными горелками, предназначенными для печей различного типа, в особенности тех, которые применяют для переплавки алюминия и алюминиевых сплавов.
Быстрый поток газа за короткий период времени можно назвать газовым “импульсом”, и он должен создавать достаточную силу и иметь достаточный объем для того, чтобы вытеснить загрязняющие вещества из фильтрационного слоя. В одном из вариантов изобретения импульс вызывает относительное перемещение частиц в слое, и пробка из загрязнителей разрушается или вытесняется из частиц и удаляется импульсом газа и/или под действием силы тяжести, выходя из слоя и создавая улучшенную пористость для обеспечения хорошего потока газа во время последующих регенеративных циклов. Загрязняющее вещество превращается в порошок, который либо вдувается через фильтрующую среду обратно в печь, либо проходит через фильтрующую среду в сборочный отсек устройства. Наиболее предпочтительно, чтобы импульс газа подавался таким образом, при котором сила распределяется по существу равномерно по всему слою или же по заранее определенному участку слоя с тем, чтобы вытеснение загрязняющих веществ было повсеместным, а не ограничивалось небольшой областью слоя.
В некоторых вариантах осуществления изобретения (хотя возможны и другие варианты размещения) фильтрационный слой покоится на горизонтальной пористой пластине, например на перфорированной пористой пластине или металлической просечно-вытяжной пластине, над камерой, и импульс газа подается из камеры на фильтрующий слой через пористую пластину. Наиболее предпочтительно, чтобы газ подавался от соответствующего источника через трубопровод, проходящий в камеру и имеющий, по меньшей мере, одно отверстие, обращенное к фильтрационному слою через опору. Трубопровод и отверстие (отверстия) предназначены для подачи очищающего газа симметрично и относительно равномерно через слой или предварительно заданную область слоя без уменьшения силы, создаваемой газом.
Сила, создаваемая потоком газа, сталкивающимся с поверхностью, такой как низ регенеративного слоя, зависит от массового расхода и скорости газа. Массовый расход и скорость потока газа, необходимые для обеспечения силы, достаточной для перемещения фильтрационного слоя требуемым образом, значительны, и использование такого потока газа через слой в течение длительного периода времени будет мешать работе горелки. Однако было замечено, что желаемое воздействие на фильтрационный слой можно получить, если направить на него высокоскоростной поток газа в течение короткого временного промежутка, который достаточно мал для того, чтобы произошло вмешательство в работу горелки. Одним из способов создания необходимой силы является использование короткого, фактически мгновенного импульса газа, имеющего высокую скорость и массовый расход. Такой тип потока газа может быть создан при помощи нескольких видов оборудования, но предпочтительными являются так называемая газовая пушка или газовый генератор (бластер). Этот тип оборудования использует относительно большой резервуар, который может быть заполнен газом под значительным давлением. Если нужно, газ можно выпустить в трубопровод с помощью быстрого открытия клапана, и возникающий поток или импульс газа подается через трубопровод на фильтрационный слой. Расход газа быстро падает до нуля либо когда резервуар исчерпан, либо когда клапан быстро закрывают. Типовая газовая пушка, пригодная для настоящего изобретения, имеет резервуар с емкостью в диапазоне от приблизительно 20 литров до 200 литров, заполняемый газом (предпочтительно воздухом) до давления в диапазоне от 90 до 95 фунтов на квадратный дюйм, которое может быть сброшено менее чем за 1 секунду, предпочтительно менее чем за 0,1 секунды. Газ обычно доставляется через трубопровод, имеющий диаметр в диапазоне от 2,5 до 6 дюймов. Сила, создаваемая таким быстрым массовым расходом и скоростью, находится в диапазоне от 1 до 6 килоньютонов.
В качестве альтернативы газовой пушке вышеописанного типа можно использовать цилиндро-поршневое устройство, включающее двигатель для фактически мгновенного продвижения поршня через цилиндр, благодаря чему происходит выталкивание воздуха из цилиндра в виде импульса.
Трубопровод и отверстие (отверстия), используемые для подачи газового импульса на фильтрационный слой, предпочтительно имеют конструкцию, исключающую перепад давления, который бы существенно ослаблял или «размазывал» импульс и уменьшал бы максимальный массовый расход и скорость, а также обеспечивающую равномерную подачу газа. Предпочтительной конструкцией является конструкция, в которой применяются трубопровод с «широко раскрытым» выпуском и выпуски, имеющие одинаковые площади поперечного сечения для воздействующего газового импульса. Иначе говоря, когда трубопровод имеет только одно отверстие, то площадь этого отверстия, по меньшей мере, такая же, как площадь поперечного сечения трубопровода, ведущего к отверстию. Если по длине трубопровода предусматривается два или более отверстий, то в трубопроводе рядом с каждым отверстием предпочтительно предусмотреть перегородки для отвода некоторого количества газа на соответствующий выпуск без уменьшения расхода оставшегося газа и подачи последнего к оставшемуся выпуску (выпускам). Такие системы можно назвать «распределителями с малой потерей давления».
Следует отметить, что возможно использовать один источник газового импульса с «распределителем с малой потерей давления» с тем, чтобы подавать газ на один или более выпусков для одного фильтрационного слоя, или же использовать множественные источники импульса газа и распределители для одного слоя так, чтобы все распределители обеспечивали импульс на разные участки слоя одновременно или в предварительно заданной последовательности. Возможно также использовать один источник газового импульса, чтобы запитать две или более распределительные системы одну за другой, применяя соответствующую клапанную систему, при условии, что по своему типу клапанная система также будет иметь малую потерю давления.
Поток газа от предусмотренных отверстий предполагается высокоориентированным и образующим струю газа, направленную с помощью ориентированных концов труб и ограниченную в основном тем же поперечным сечением, что и у отверстий, предусмотренных на концах труб. Когда такая струя газа ударяет в нижнюю или боковую часть фильтрационного слоя, сила газовой струи передается на начальную прослойку материала фильтрационного слоя (обычно шарики), которая находится «на линии» струи газа. Далее материал фильтрационного слоя передает эту силу на материал слоя, соприкасающийся с начальной прослойкой; благодаря чему сила быстро и равномерно распределяется по большей площади фильтрационного слоя. Если сила достаточна, то она может заставить фильтрующую среду фильтрационного слоя «скакать» (то есть довольно быстро двигаться вверх, а затем вниз), что в результате позволяет энергично вытряхивать любые загрязняющие вещества из фильтрующей среды фильтрационного слоя и разбивать любые комки или скопления загрязняющих веществ. Предпочтительно, чтобы отверстия, используемые для подачи газа к фильтрационному слою, были симметрично распределены ниже передвигаемого участка фильтрационного слоя. Расстояние от отверстий до низа слоя может (в случае труб, которые устанавливаются под углом к вертикали) быть использовано также и для регулирования этого распределения.
Настоящее изобретение может применяться с регенеративными фильтрационными системами и печами всех видов. Регенеративные фильтрационные слои могут быть составлены, например, из огнеупорных керамических шариков или частиц подобной формы, уложенных слоем толщиной от 4 до 16 дюймов (более предпочтительно толщиной от 12 до 14 дюймов). Площадь фильтрационного слоя может колебаться значительно, однако типовой слой может иметь площадь приблизительно в диапазоне от 2500 до 2700 квадратных дюймов.
Очищающий импульс может применяться на любой стадии работы печи. Например, импульс может быть применен при проходе через слой холодного газа для горения или, в качестве альтернативы, при проходе через него горячего отработанного газа. Фильтрационный слой может быть организован, например, так, чтобы газ для горения проходил через слой по направлению вверх, а отработанный газ проходил вниз, или же наоборот. Очищающий импульс в одном из вариантов изобретения применяется во время прохождения газа для горения через фильтрационный слой, так что удаленные загрязнители выметаются через слой в печь, где они улавливаются в садке нагреваемого материала.
Предпочтительно, чтобы операция очистки осуществлялась достаточно часто. Например, ее можно выполнять один раз за один цикл горелки или один раз за два цикла горелки. Это означает, что в типовой установке газовый импульс объемом газа 50 литров (или около этого) при давлении 95 фунт/кв.дюйм (первоначальное давление) пропускается через слой каждые три минуты. Газовый импульс может использоваться и чаще, например, несколько раз за цикл горелки, но при этом в газ для горения могут попадать значительные количества газа, образующего газовый импульс, что будет отрицательно воздействовать на ее работу.
В соответствии с первым аспектом настоящего изобретения предложено регенеративное горелочное устройство для печи, содержащее горелку для периодического введения тепла и отработанного газа в печь в процессе воспламенения, когда подводится топливо и газ для горения; фильтрационный слой, содержащий огнеупорные частицы фильтрующей среды; канал для подачи газа для горения к горелке в процессе воспламенения и для вытяжки отработанного газа из печи по завершении указанного воспламенения, причем указанный канал обеспечивает последовательное пропускание газа для горения и отработанного газа через фильтрационный слой; и средства для периодической подачи импульса очищающего газа в фильтрационный слой, причем указанный импульс имеет силу, достаточную для вытеснения загрязняющих веществ, собранных в фильтрационном слое от отработанного газа. Указанные средства для периодической подачи импульса очищающего газа содержат источник очищающего газа, трубопровод для передачи очищающего газа от указанного источника к фильтрационному слою и средства для выпуска импульса очищающего газа от источника через трубопровод. Источник очищающего газа выполнен в виде резервуара, содержащего очищающий газ под давлением, а средства для выпуска импульса очищающего газа выполнены в виде двухпозиционного клапана для по существу мгновенного выпуска газа из резервуара в трубопровод.
Согласно предпочтительному варианту осуществления изобретения трубопровод имеет, по меньшей мере, один выпуск, расположенный рядом с фильтрационным слоем. Указанный фильтрационный слой покоится на газопроницаемой опоре, установленной над камерой, в которой расположен, по меньшей мере, один выпуск таким образом, что он обращен к газопроницаемой опоре. Указанный выпуск имеет площадь поперечного сечения, по существу равную площади поперечного сечения трубопровода, подведенного к указанному выпуску.
Согласно одному варианту конец трубопровода снабжен концевым выпуском, удаленным от указанного источника, и предусмотрен, по меньшей мере, один промежуточный выпуск между концевым выпуском и источником. Промежуточный выпуск снабжен перегородкой, установленной в трубопроводе, выполненной с возможностью отвода части потока очищающего газа в трубопроводе к, по меньшей мере, одному промежуточному выпуску, и обеспечения протекания другой части потока очищающего газа через трубопровод к концевому выпуску, причем размеры перегородок и площади поперечного сечения выпусков выбраны из условия подачи по существу равных объемов указанного потока через все выпуски.
Согласно другому варианту трубопровод имеет основной участок, примыкающий к указанному источнику, и, по меньшей мере, два патрубка, отходящих от основного участка, причем каждый патрубок имеет, по меньшей мере, один выпуск, расположенный рядом с фильтрационным слоем. При этом патрубки и выпуски расположены с возможностью одновременной подачи потока очищающего газа на различные участки фильтрационного слоя.
Сила импульса очищающего газа предпочтительно достаточна, чтобы заставить фильтрующую среду фильтрационного слоя совершать движение вверх и вниз скачкообразным образом.
Согласно второму аспекту изобретения предложено устройство фильтрационного слоя для регенеративной горелки печи, содержащее фильтрационный слой с огнеупорными частицами; канал для последовательного пропускания газа для горения и отработанного газа через фильтрационный слой к горелке и из печи; и средства для подачи импульса очищающего газа в фильтрационный слой, причем указанный импульс имеет силу, достаточную для вытеснения загрязняющих веществ, собранных в фильтрационном слое от отработанного газа. Указанные частицы покоятся на газопроницаемой опоре, а указанные средства расположены с возможностью подачи импульса газа через указанную опору. При этом изобретение предусматривает, что средства для подачи импульса очищающего газа имеют мощность и продолжительность действия, достаточные для обеспечения относительного перемещения указанных частиц. Согласно предпочтительному варианту указанные средства содержат источник газа под давлением и подающий трубопровод, предназначенный для подачи указанного газа под давлением от источника в точку, расположенную рядом с фильтрационным слоем.
В предпочтительном варианте осуществления изобретения подающий трубопровод имеет один выпуск, расположенный рядом с фильтрационным слоем. Указанный выпуск имеет площадь поперечного сечения, по существу равную площади поперечного сечения трубопровода, подведенного к указанному выпуску.
Согласно третьему аспекту изобретения предложен способ очистки фильтрационного слоя регенеративной горелки печи, включающий периодическое приложение импульса газа к указанному фильтрационному слою, причем указанный импульс имеет силу, достаточную для вытеснения загрязняющих веществ, собранных в фильтрационном слое от отработанного газа. Сила прикладываемого к фильтрационному слою импульса газа предпочтительно находится в диапазоне между 1 и 6 килоньютонами.
Согласно четвертому аспекту изобретения предложено очистительное устройство для фильтрационного слоя регенеративной горелки, содержащее средства для создания импульса газа, и трубопровод для приема и передачи импульса газа, по меньшей мере, к одному выпуску трубопровода, причем указанный, по меньшей мере, один выпуск имеет площадь поперечного сечения, по существу равную площади поперечного сечения трубопровода, подведенного к указанному, по меньшей мере, одному выпуску, при этом средства для создания импульса газа выполнены с возможностью создания импульса такой силы, которая достаточна для вытеснения загрязняющих веществ, собранных в фильтрационном слое регенеративной горелки. Предпочтительно, чтобы средства для создания импульса газа были выполнены в виде газовой пушки.
Настоящее изобретение, по меньшей мере, в примерах его осуществления, позволяет поддерживать эффективный поток газа для горения и/или отработанного газа через регенеративный фильтрационный слой в течение более длительного периода времени, чем это имело место прежде. Регенеративный фильтрационный слой обычно заменяют, когда загрязнение достигает точки, при которой поток газа через фильтрационный слой либо уменьшается до неприемлемого уровня, либо когда газ проходит через слой проскоком (т.е. обходя существенные участки слоя). Использование настоящего изобретения позволяет значительно увеличить промежутки между заменами фильтрационного слоя (в некоторых случаях в 14-21 раз).
Несмотря на то, что настоящее изобретение описано в связи с регенеративным горелочным устройством, предназначенным для использования с плавильной печью для металла, стекла или подобных материалов, оно также может быть использовано для очистки фильтрационных слоев, используемых и с другими видами устройств, у которых фильтрационные слои со временем частично или полностью засоряются загрязняющими веществами.
Краткое описание чертежей
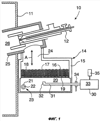
Фиг.1 представляет собой упрощенное вертикальное поперечное сечение регенеративного горелочного устройства, которое содержит устройство фильтрационного слоя, соответствующее одному предпочтительному варианту осуществления настоящего изобретения;
Фиг.2 представляет собой перспективный вид с частичным разрезом одного конца трубопровода для подачи газового импульса по альтернативному варианту осуществления изобретения;
Фиг.3а представляет собой вид сверху делителя импульсов, используемого в другом варианте осуществления изобретения;
Фиг.3b представляет собой вид сбоку делителя импульсов по Фиг.3а; и
Фиг.4 представляет собой перспективный вид, показывающий газовый генератор с трубопроводом для подачи газового импульса, используемый в еще одном варианте осуществления изобретения.
Осуществление изобретения
Регенеративное горелочное устройство 10 в соответствии с одним предпочтительным вариантом осуществления настоящего изобретения показано на Фиг.1. Это устройство крепится к наружной стенке печи 11 (показана только часть).
Оно имеет топливную горелку 12, направленную в печь, и связанное с ней устройство 14 фильтрационного слоя, содержащее фильтрационный слой 16, помещенный внутри замкнутого корпуса 15. Фильтрационный слой 16 состоит из нескольких слоев огнеупорных частиц 17 фильтрующей среды, которые обычно представляют собой керамические шарики 18, способные выдерживать высокую температуру и имеющие хорошую теплоемкость и незначительную тенденцию вступать в химическую реакцию с газами, которые проходят через слой. Слой имеет пористую структуру благодаря наличию промежутков между керамическими шариками и позволяет свободное прохождение газов, обеспечивая при этом хороший контакт между газами и поверхностями керамических шариков.
Фильтрационный слой 16 покоится на газопроницаемой опоре, выполненной в виде по существу горизонтальной пористой пластины 19, над свободным пространством или камерой 20. Камера имеет газовый впуск 21 и газовый выпуск 22, объединенные в коаксиальной конструкции 23. В других конструкциях могут быть использованы раздельные газовые впуски и газовые выпуски, или же может быть предусмотрена одна труба с клапанами для подачи или удаления газа за пределы камеры.
Показанное горелочное устройство 10 (именуемое в дальнейшем первое горелочное устройство) используется совместно с идентичным или другим подобным горелочным устройством, предусмотренным для той же печи 11 (идентичное или подобное горелочное устройство специально не показано, но здесь и в дальнейшем оно именуется как второе горелочное устройство). При эксплуатации печи горелка 12 первого горелочного устройства 10 зажигается и горит в течение предварительно заданного периода времени. Газ для горения (воздух), необходимый для поддерживания сжигания топлива горелкой, входит в камеру 20 через газовый впуск 21 и затягивается вверх через фильтрационный слой 16, а затем через канал 24 в корпус 25, окружающий горелку 12. После предыдущего цикла частицы фильтрующей среды фильтрационного слоя 16 становятся горячими, и газ для горения нагревается до того, как он смешивается с топливом на выпуске 26 горелки. Образующееся пламя сообщает тепло печи 11 и горячему отработанному газу сгорания, который направляется во внутреннюю часть печи. Благодаря предварительному нагреву воздуха для горения посредством фильтрационного слоя, для достижения желаемого теплового эффекта внутри печи требуется меньше топлива. Горячий отработанный газ в конечном итоге выпускается из печи через второе горелочное устройство (не показано), которое зажигается не на данном этапе. По аналогии с конструкцией проиллюстрированного первого горелочного устройства, отработанный газ направляется через выпуск 26 горелки второго горелочного устройства и далее вниз через канал 24 и фильтрационный слой 16, вызывая нагрев частиц фильтрующей среды данного слоя. После попадания в камеру 20 отработанный газ (теперь гораздо более холодный) выходит из устройства через газовый выпуск 22. Начиная с этого момента, газ предпочтительно направляется на вспомогательное оборудование по контролю загрязнения (не показано) или просто выбрасывается в атмосферу.
В соответствии с вышеприведенным объяснением в процессе работы второго горелочного устройства 10 небольшое количество загрязняющего вещества из печи захватывается отработанным газом и конденсируется или оседает в фильтрационном слое второго горелочного устройства. Тип загрязняющего вещества зависит от характера нагреваемого в печи 11 материала, и если, находясь в потоке отработанного газа, оно бывает газообразным, жидким или твердым, то при осаждении в фильтрационном слое 16 оно становится твердым или жидким.
Через некоторое время первая горелка гаснет, а вторая горелка (не показана) зажигается. Когда это происходит, отработанный газ из печи входит в первое горелочное устройство 10 и нагревает фильтрационный слой 16 этого устройства описанным выше способом. В слое снова появляются отложения загрязняющего вещества. Одновременно фильтрационный слой второго горелочного устройства контактирует с газом для горения, подаваемым на горелку этого устройства, и предварительно нагревает его. Этот цикл работы (поочередное использование сначала одной горелки, а затем другой) повторяется в течение необходимого для печи времени нагрева, поэтому в ходе одного цикла сгорания (для каждого горелочного устройства) холодный газ для горения протекает через корпус 15 и фильтрационный слой 16 в одном направлении (предпочтительно вверх), а затем на следующем цикле сгорания горячий отработанный газ протекает через корпус в противоположном направлении, как это показано с помощью двухконечной стрелки А на Фиг.1.
Осаждения загрязняющего вещества в конечном итоге снижают пористость фильтрационного слоя 16, уменьшая тем самым требуемый поток газа через слой. Это явление понижает эффективность устройства и в чрезвычайных случаях может привести к его полному засорению. Для обеспечения возможности периодического технического обслуживания и очистки фильтрационного слоя 16 корпус 15 обычно имеет один или более смотровых люков. Несмотря на то, что такие люки на Фиг.1 не показаны, предпочтительно, чтобы они были предусмотрены и в горелочном устройстве по изобретению, поскольку, в конечном итоге, необходимо чистить или заменять фильтрационный слой. Однако горелочное устройство по изобретению имеет средство периодической очистки фильтрационного слоя с помощью быстрого потока (импульса) очищающего газа, подаваемого в фильтрационный слой и имеющего силу, которая достаточна для вытеснения накопившихся в слое загрязняющих веществ.
В варианте осуществления по Фиг.1 средство для подачи быстрого потока очищающего газа включает в себя газовую пушку 30 (которую иногда называют газовым бластером), подсоединенную к подающему трубопроводу 31, проходящему в камеру 20 и имеющему одиночный выпуск 32, обращенный к противоположной стороне пористой пластины 19, поддерживающей фильтрационный слой 16. Газовая пушка имеет резервуар 33, заполненный воздухом или другим газом, находящимся под высоким давлением, например от 85 до 95 фунт/кв.дюйм, который выпускается в подающий трубопровод 31 фактически мгновенно после открытия электромагнитного двухпозиционного клапана 34. Открытие клапана 34 обеспечивает поток газа в виде импульса, т.е. быструю волну газа под давлением, которое поднимается от нуля до высокого уровня, а затем после короткого периода времени быстро падает обратно к нулевому значению. В этом случае импульс имеет по существу квадратный профиль (на графике давление-время). Газовая пушка 30 имеет связанный с ней насос 35, приводимый в действие электричеством или другими средствами, который, после того как клапан снова закроется, перезаряжает резервуар газом. Подходящие газовые пушки могут быть получены, например, от компании Global Manufacturing, Inc. из Литтл Рок, штат Арканзас (например, модели 6400-40-50, работающей под давлением 90 фунт/кв. дюйм, или модели 6400-40-150, работающей под давлением от 60 до 90 фунтов/кв. дюйм).
Предпочтительно, чтобы выпуск 32 подающего трубопровода 31 был ориентирован под прямым углом к оси подающей трубы (как это показано), что позволяет направить его непосредственно на нижнюю сторону поддерживающей пластины 19 на некотором расстоянии от нее. Предпочтительно, чтобы это расстояние было более 5 дюймов. Максимальный зазор обычно регулируется размером камеры, который в свою очередь регулируется общим взаимным расположением горелки и печи. Как правило, расстояние меньше 15 дюймов. Поскольку поток газа является направленным, то зазор в пределах этого диапазона будет обеспечивать поступление импульса воздуха на фильтрационный слой без существенного уменьшения силы. Предпочтительно, чтобы и сама поддерживающая пластина 19 имела достаточно открытую конструкцию. Другими словами, обычно лучше использовать металлическую просечно-вытяжную пластину (пластину, имеющую удлиненные прорези, расположенные в близко расположенных друг от друга поперечных рядах, которые затем вытягивают так, чтобы прорези раскрылись в виде увеличенных отверстий), а не сплошную пластину, в которой просверлены небольшие отверстия. Разумеется, что отверстия в пластине должны быть достаточно малы, чтобы не допустить потерь частиц фильтрующей среды, но достаточно велики для того, чтобы избежать существенного ослабления газового импульса до его вхождения в фильтрационный слой.
Возможно наличие более одного выпуска 32 и/или более одного подающего трубопровода 31 с тем, чтобы можно было подавать импульс на большую площадь фильтрационного слоя, или для того, чтобы разные части фильтрационного слоя обрабатывались в разное время.
Фиг.2 показывает один конец подающего трубопровода 31, а именно тот конец, который подает газовый импульс на фильтрационный слой. Трубопровод имеет два выпуска, а именно концевой выпуск 32 и промежуточный выпуск 32′, причем каждый выпуск ориентирован относительно продольной оси трубы под углом 90 градусов. Как можно видеть, промежуточный выпуск 32′ имеет элемент 36, проходящий внутрь трубопровода 31. Этот элемент образует перегородку 37, которая закрывает приблизительно 50% внутреннего поперечного сечения трубопровода и отводит (направляет) приблизительно такой же процент газового импульса в промежуточный выпуск 32′. Остальная часть поперечного сечения трубопровода (ниже перегородки) остается открытой для прохождения оставшейся части газового импульса для его подачи через концевой выпуск 32. Подобным образом, по длине трубопровода может быть предусмотрено большее количество выпусков, причем каждый из них может иметь перегородку, аналогичную перегородке 37, которая будет направлять соответствующий процент газового импульса в соединенный с ней выпуск, так чтобы от каждого выпуска подавались газовые импульсы приблизительно равной силы и объема.
Фиг.3а и 3b показывают делитель 40 импульсов, который может быть использован для того, чтобы направить один газовый импульс в несколько (в этом случае в пять) подающих труб, каждая из которых имеет один или несколько выпусков (не показаны). Делитель 40 импульсов имеет основную трубу 31′ для приема газового импульса от газовой пушки (не показана) вышеописанного типа, причем центральная ветвь 41 находится на одной оси с основной трубой 31′, а также четыре патрубка 42, 43, 44 и 45, которые отходят от основной трубы под углом приблизительно 135 градусов к продольной оси основной трубы. Патрубки расположены вокруг периферии основной трубы через равные промежутки, т.е под углом 90 градусов друг к другу. Диаметры патрубков одинаковы, при этом они меньше диаметра основной трубы, поскольку из-за того, что в точке деления происходит разделение газового потока приблизительно на четыре равные части, объем газа, который нужно пропустить через каждый патрубок, будет меньше. Во избежание каких-либо перепадов давления отверстия на концах каждой трубы будут такими же, как и подведенные к ним трубы.
Фиг.4 показывает дополнительный тип устройства (иллюстрируя только газовую пушку 30, трубопровод и камеру 20), в котором делитель 40′ импульсов использован для разделения трубопровода на две подающих трубы 31′, 31” различной длины. Концевой участок 39 короткой трубы 31′ имеет диаметр, меньший (3 дюйма) чем у концевого участка 39′ более длинной трубы 31” (4 дюйма) с тем, чтобы сбалансировать и уравнять поток через две трубы. Чтобы избежать каких-либо дополнительных скачков давления вверх по потоку от выпусков, концевые отверстия 32” и 32”’ двух труб имеют диаметр такой же, как у труб, подведенных к соответствующим выпускам.
Пример
Система, выполненная в соответствии с настоящим изобретением, была испытана в регенеративной горелочной системе, имевшей фильтрационный слой, который состоял из глиноземных шариков толщиной 3/4 дюйма. Глубина слоя была от 12 до 13 дюймов, а его площадь составляла 2520 квадратных дюймов. Для подачи импульса газа через каждые 3 минуты от резервуара 33, имеющего объем 50 литров и заряженного до давления 95 фунтов на кв. дюйм, использовался один подающий трубопровод с двумя выпусками, который проиллюстрирован на Фиг.4. Использование такой системы позволило увеличить время между сменами фильтрационного слоя в 22 раза.
Формула изобретения
1. Регенеративное горелочное устройство для печи, содержащее горелку для периодического введения тепла и отработанного газа в печь в процессе воспламенения, когда подводится топливо и газ для горения; фильтрационный слой, содержащий огнеупорные частицы фильтрующей среды; канал для подачи газа для горения к горелке в процессе воспламенения и для вытяжки отработанного газа из печи по завершении указанного воспламенения, причем указанный канал обеспечивает последовательное пропускание газа для горения и отработанного газа через фильтрационный слой; и средства для периодической подачи импульса очищающего газа в фильтрационный слой, причем указанный импульс имеет силу, достаточную для вытеснения загрязняющих веществ, собранных в фильтрационном слое от отработанного газа.
2. Устройство по п.1, отличающееся тем, что указанные средства содержат источник очищающего газа, трубопровод для передачи очищающего газа от указанного источника к фильтрационному слою и средства для выпуска импульса очищающего газа от источника через трубопровод.
3. Устройство по п.2, отличающееся тем, что трубопровод имеет, по меньшей мере, один выпуск, расположенный рядом с фильтрационным слоем.
4. Устройство по п.3, отличающееся тем, что фильтрационный слой покоится на газопроницаемой опоре, установленной над камерой, в которой расположен, по меньшей мере, один выпуск таким образом, что он обращен к газопроницаемой опоре.
5. Устройство по п.2, отличающееся тем, что источник очищающего газа выполнен в виде резервуара, содержащего очищающий газ под давлением, а средства для выпуска импульса очищающего газа выполнены в виде двухпозиционного клапана для по существу мгновенного выпуска газа из резервуара в трубопровод.
6. Устройство по п.3, отличающееся тем, что, по меньшей мере, один выпуск имеет площадь поперечного сечения, по существу равную площади поперечного сечения трубопровода, подведенного к указанному выпуску.
7. Устройство по п.2, отличающееся тем, что конец трубопровода снабжен концевым выпуском, удаленным от указанного источника, и предусмотрен, по меньшей мере, один промежуточный выпуск между концевым выпуском и источником.
8. Устройство по п.7, отличающееся тем, что, по меньшей мере, один промежуточный выпуск снабжен перегородкой, установленной в трубопроводе, выполненной с возможностью отвода части потока очищающего газа в трубопроводе к, по меньшей мере, одному промежуточному выпуску, и обеспечения протекания другой части потока очищающего газа через трубопровод к концевому выпуску, причем размеры перегородок и площади поперечного сечения выпусков выбраны из условия подачи по существу равных объемов указанного потока через все выпуски.
9. Устройство по п.2, отличающееся тем, что трубопровод имеет основной участок, примыкающий к указанному источнику, и, по меньшей мере, два патрубка, отходящих от основного участка, причем каждый патрубок имеет, по меньшей мере, один выпуск, расположенный рядом с фильтрационным слоем.
10. Устройство по п.9, отличающееся тем, что патрубки и выпуски расположены с возможностью одновременной подачи потока очищающего газа на различные участки фильтрационного слоя.
11. Устройство по п.1, отличающееся тем, что сила указанного импульса достаточна, чтобы заставить фильтрующую среду фильтрационного слоя совершать движение вверх и вниз скачкообразным образом.
12. Устройство фильтрационного слоя для регенеративной горелки печи, содержащее фильтрационный слой с огнеупорными частицами фильтрующей среды; канал для последовательного пропускания газа для горения и отработанного газа через фильтрационный слой к горелке и из печи; и средства для подачи импульса очищающего газа в фильтрационный слой, причем указанный импульс имеет силу, достаточную для вытеснения загрязняющих веществ, собранных в фильтрационном слое от отработанного газа.
13. Устройство по п.12, отличающееся тем, что указанные частицы покоятся на газопроницаемой опоре, а указанные средства расположены с возможностью подачи импульса очищающего газа через указанную опору.
14. Устройство по п.12, отличающееся тем, что средства для подачи импульса очищающего газа имеют мощность и продолжительность действия, достаточные для обеспечения относительного перемещения указанных частиц.
15. Устройство по п.12, отличающееся тем, что указанные средства содержат источник газа под давлением и подающий трубопровод, предназначенный для подачи указанного газа под давлением от источника в точку, расположенную рядом с фильтрационным слоем.
16. Устройство по п.15, отличающееся тем, что подающий трубопровод имеет один выпуск, расположенный рядом с фильтрационным слоем.
17. Устройство по п.16, отличающееся тем, что указанный выпуск имеет площадь поперечного сечения, по существу равную площади поперечного сечения трубопровода, подведенного к указанному выпуску.
18. Устройство по п.12, отличающееся тем, что сила указанного импульса достаточна, чтобы заставить фильтрующую среду фильтрационного слоя совершать движение вверх и вниз скачкообразным образом.
19. Способ очистки фильтрационного слоя регенеративной горелки печи, включающий периодическое приложение импульса очищающего газа к указанному фильтрационному слою, причем указанный импульс имеет силу, достаточную для вытеснения загрязняющих веществ, собранных в фильтрационном слое от отработанного газа.
20. Способ по п.19, отличающийся тем, что сила прикладываемого к фильтрационному слою импульса газа находится в диапазоне между 1 и 6 кН.
21. Способ по п.19, отличающийся тем, что сила указанного импульса достаточна, чтобы заставить фильтрующую среду фильтрационного слоя совершать движение вверх и вниз скачкообразным образом.
22. Очистительное устройство для фильтрационного слоя регенеративной горелки, содержащее средства для создания импульса очищающего газа и трубопровод для приема и передачи импульса очищающего газа, по меньшей мере, к одному выпуску трубопровода, причем указанный, по меньшей мере, один выпуск имеет площадь поперечного сечения, по существу равную площади поперечного сечения трубопровода, подведенного к указанному, по меньшей мере, одному выпуску, при этом средства для создания импульса очищающего газа выполнены с возможностью создания импульса такой силы, которая достаточна для вытеснения загрязняющих веществ, собранных в фильтрационном слое регенеративной горелки.
23. Устройство по п.22, отличающееся тем, что средства для создания импульса газа выполнены в виде газовой пушки.
24. Устройство по п.22, отличающееся тем, что сила указанного импульса достаточна, чтобы заставить фильтрующую среду фильтрационного слоя совершать движение вверх и вниз скачкообразным образом.
РИСУНКИ
|
|