|
|
(21), (22) Заявка: 2008146015/28, 24.11.2008
(24) Дата начала отсчета срока действия патента:
24.11.2008
(43) Дата публикации заявки: 27.05.2010
(46) Опубликовано: 20.09.2010
(56) Список документов, цитированных в отчете о поиске:
US 2008144316 A1, 19.06.2008. US 2006028814 A1, 09.02.2006. US 5890794 А, 06.04.1999. WO 2004070266 A1, 19.08.2004. RU 2329433 C1, 20.07.2008.
Адрес для переписки:
123056, Москва, ул. Красина, 3, ООО “Светорезерв”
|
(72) Автор(ы):
Смолин Евгений Владимирович (RU)
(73) Патентообладатель(и):
Общество с Ограниченной Ответственностью “Светорезерв” (RU)
|
(54) СВЕТИЛЬНИК СВЕТОДИОДНЫЙ
(57) Реферат:
Изобретение относится к светотехнике, а именно к устройствам для освещения помещений, таких как читальные залы, библиотеки и др., а также для уличного освещения. Светильник светодиодный содержит соединенный со стандартным цоколем корпус, выполненный в форме четырехгранного стакана, помещенного в защитный оптически прозрачный колпак, выполненный с условием входа и выхода из него наружу воздуха. Гранями стакана являются секции светодиодов, в которых к каждому светодиоду параллельно подключен стабилитрон с размещением внутри стакана сетевого дросселя и блока питания, состоящего из преобразователя и трансформатора. В нижней и верхней частях корпуса выполнены отверстия, обеспечивающие эффективное охлаждение светодиодов и других элементов устройства благодаря воздушной тяге в стакане за счет нагревающегося в нем воздуха. Технический результат – повышение надежности работы светильника, равномерное и качественное освещение территории вокруг светильника. 3 з.п. ф-лы, 2 ил.
1. Область техники
Изобретение относится к светотехнике, а именно, к устройствам для освещения помещений, таких как читальные залы, библиотеки и др., а также для уличного освещения.
2. Уровень техники
Известно устройство включения светового прибора со светодиодами в сеть переменного тока, содержащее по крайней мере одну электрическую лампу накаливания с диодным мостом, электронный преобразователь питающей сети, включающий выпрямительный диодный мост, балластный терморезистор, емкостной фильтр и параллельно-последовательные цепочки светодиодов, подключенных в сеть переменного шока последовательно с электрической лампой накаливания (RU 2151473, кл. H05B 37/00, 2000 г.).
Недостаток известного устройства – возможные скачки высокого напряжения на выпрямителе и емкостном фильтре, что отрицательно сказывается на надежности их работы, в частности, на сроке их службы.
Наиболее близким аналогом заявленного предложения, принятого в качестве прототипа, является светодиодный осветитель, содержащий понижающий преобразователь напряжения, который через выпрямительный диодный мост и элемент для управления подачей энергии соединен с, по меньшей мере, одним светодиодом, а между выпрямительным диодным мостом и светодиодом параллельно с ними включен емкостной фильтр, при этом понижающий преобразователь напряжения выполнен из параллельно соединенных, по меньшей мере, одного шунтирующего резистора и, по меньшей мере, одного конденсатора, а также, по меньшей мере, одного токоограничивающего резистора (RU 2329619, кл. H05B 37/02, 2006 г.).
Недостатком прототипа является недостаточное охлаждение светодиодов и других элементов, нагреваемых электрическим током.
3. Раскрытие изобретения
Задачей изобретения является повышение надежности работы светильника, в частности повышение срока его службы, снижение потребляемой мощности от стационарной сети переменного тока, а также равномерное и качественное освещение территории вокруг светильника.
Выполнение поставленной задачи обеспечивается тем, что светильник светодиодный содержит соединенный со стандартным цоколем корпус, выполненный в форме четырехгранного стакана, помещенного в защитный оптически прозрачный колпак, выполненный с условием входа и выхода из него наружу воздуха, и гранями которого являются секции светодиодов, в которых к каждому светодиоду параллельно подключен стабилитрон, с размещением внутри стакана блока питания, состоящего из сетевого дросселя и преобразователя тока, в нижней и верхней частях корпуса выполнены отверстия, обеспечивающие эффективное охлаждение светодиодов и других элементов устройств благодаря воздушной тяге в стакане за счет нагревающегося в нем воздуха.
Стакан выполнен трехгранным.
Стакан выполнен шестигранным.
4. Осуществление изобретения
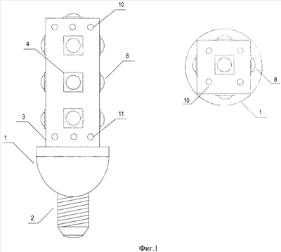
Изобретение поясняется чертежами, где на фиг.1 представлена конструктивная, а на фиг.2 – электрическая схема заявленного светильника, включающего следующие позиции: 1 – корпус, прикрепленный к стандартному цоколю 2, 3 – четырехгранный стакан, гранями которого являются секции 4 светодиодов, 5 – блок питания, включающий в себя сетевой дроссель 6 и блок 7, состоящий из стабилизатора тока и выпрямителя, 8 – светодиод, 9 – стабилитрон, 10 и 11 – отверстия соответственно в верхней и нижней частях корпуса 1. Стакан 3 может быть трехгранным или шестигранным. Светодиоды 8 установлены на секциях светодиодов 4 своей излучающей частью наружу стакана 3, что обеспечивает равномерное и качественное освещение территории вокруг светильника.
Стандартный цоколь 2 с вводом электропитания, обеспечивающего работу сетевого дросселя 6 с преобразователем тока 7 блока питания 5 вовнутрь корпуса 1, имеющего форму четырехгранного стакана 3, стенками которого являются секции 4 светодиодов 8, каждый из которых имеет параллельно подключенный стабилитрон 9. Стакан 3 помещен в защитный оптически прозрачный колпак, выполненный с условием входа и выхода из него наружу воздуха через отверстия 10 и 11 стакана 3, с прохождением воздуха внутри колпака, например по трубкам, пропущенным через цоколь и купол плафона (для избежания попадания пыли вовнутрь колпака).
Работает устройство следующим образом.
Работающий светильник освещает окрестности вокруг себя. При этом светодиоды 8, сетевой дроссель 6 и преобразователь тока 7 блока питания 5 нагревают воздух внутри корпуса 1, цоколя 2 и стакана 3 с секциями светодиодов 4, создавая тягу, обеспечивающую втягивание в стакан 3 холодного воздуха через отверстия 11 корпуса 1 с выходом теплого воздуха из стакана 3 через отверстия 10, обеспечивая охлаждение секций светодиодов 4. В случае выхода из строя какого-либо светодиода 8 электрическая цепь не нарушается и светильник продолжает работать благодаря параллельно включенным стабилитронам 9.
В отличие от прототипа, охлаждение светодиодов в котором основано лишь на конвенции воздуха, в заявленном предложении эффективное охлаждение светодиодов обеспечивается воздушной тягой, что значительно повышает надежность светодиодов (качество свечения и долговечность).
Формула изобретения
1. Светильник светодиодный, содержащий соединенный со стандартным цоколем корпус, имеющий форму граненого стакана, помещенного в защитный оптически прозрачный колпак, выполненный с условием входа и выхода из него наружу воздуха, и гранями которого являются секции светодиодов, в которых к каждому светодиоду параллельно подключен стабилитрон, с размещением внутри стакана блока питания, состоящего из сетевого дросселя и преобразователя тока, в нижней и верхней частях корпуса выполнены отверстия, обеспечивающие эффективное охлаждение светодиодов и других элементов устройств, благодаря воздушной тяге в стакане за счет нагревающегося в нем воздуха.
2. Светильник по п.1, отличающийся тем, что стакан выполнен трехгранным.
3. Светильник по п.1, отличающийся тем, что стакан выполнен четырехгранным.
4. Светильник по п.1, отличающийся тем, что стакан выполнен шестигранным.
РИСУНКИ
|
|