|
|
(21), (22) Заявка: 2008134914/06, 26.01.2007
(24) Дата начала отсчета срока действия патента:
26.01.2007
(30) Конвенционный приоритет:
30.01.2006 DE 102006004457.6 03.02.2006 DE 102006005411.3
(43) Дата публикации заявки: 10.03.2010
(46) Опубликовано: 20.09.2010
(56) Список документов, цитированных в отчете о поиске:
DE 4427846 А1, 15.02.1996. SU 1326815 А1, 30.07.1987. SU 1768818 А1, 06.10.1988. DE 10336916 А1, 03.03.2005. DE 1709747 U, 27.10.1955. ЕР 0354427 А2, 14.02.1990.
(85) Дата перевода заявки PCT на национальную фазу:
01.09.2008
(86) Заявка PCT:
DK 2007/000037 20070126
(87) Публикация PCT:
WO 2007/085261 20070802
Адрес для переписки:
191002, Санкт-Петербург, а/я 5, ООО “Ляпунов и партнеры”, пат.пов. Е.Г.Ильмеру, рег. 1144
|
(72) Автор(ы):
МЕЛЬБЕК Енс Йерген (DK)
(73) Патентообладатель(и):
ДАНФОСС А/С (DK)
|
(54) КЛАПАН
(57) Реферат:
Изобретение относится к области арматуростроения, в частности к регулирующим клапанам, и предназначено для использования регулирующего клапана в первичном контуре теплообменника для регулирования потока в зависимости от температуры в другом месте, например во вторичном контуре. Клапан содержит седло клапана, запорный элемент и демпфер. Запорный элемент взаимодействует с седлом клапана и имеет возможность перемещаться в корпусе клапана на заранее заданное расстояние. Демпфер действует на запорный элемент, по меньшей мере, на части пути его перемещения. Демпфер (22) содержит, по меньшей мере, один элемент (23, 24) из эластомерного материала. Этот элемент (23, 24) имеет возможность сжиматься между первым упором (16), соединенным с запорным элементом, и вторым упором (28), соединенным с корпусом (11) клапана. Указанный элемент (23, 24), по меньшей мере, с одной стороны прилегает к поверхности (26, 27), которая в направлении, перпендикулярном пути перемещения запорного элемента, имеет заданный профиль, такой что указанная поверхность отклоняется от плоскости, перпендикулярной направлению перемещения запорного элемента. Изобретение направлено на обеспечение точности управления потоком жидкости даже при малых расходах. 13 з.п. ф-лы, 2 ил.
Изобретение относится к клапану с седлом клапана, запорным элементом, который взаимодействует с седлом клапана и может перемещаться в корпусе клапана на заранее заданное расстояние, и демпфером, действующим на запорный элемент, по меньшей мере, на части пути его перемещения.
Такой клапан известен, например, из DE 10336916 А1. Здесь демпфер образован конической пружиной; незадолго перед тем, как запорный элемент достигает седла клапана, с пружиной соприкасается соединенный с запорным элементом упор. Напротив, на большем удалении пружина никакого действия на перемещение запорного элемента не оказывает. При помощи пружины незадолго перед достижением седла клапана увеличивается сила, которая необходима для перемещения запорного элемента. Посредством этого можно достичь более точного регулирования при низких значениях расхода.
Изобретение, в частности, относится к регулирующему клапану. Предпочтительной целью применения изобретения является эксплуатация такого регулирующего клапана в первичном контуре теплообменника для регулирования потока жидкого теплоносителя в первичном контуре в зависимости от температуры в другом месте, например, во вторичном контуре.
В основе изобретения лежит задача – достичь устойчивого регулирования жидкости при низких значениях расхода.
В случае клапана вышеназванного типа эта задача решается благодаря тому, что демпфер имеет по меньшей мере один элемент из эластомерного материала, который может сжиматься между первым упором, соединенным с запорным элементом, и вторым упором, соединенным с корпусом клапана.
Итак, в качестве демпфера, который можно также назвать устройством для создания противодействующей силы или тормозным устройством , применяют уже не обычную пружину, а эластомерный элемент. Пружинное или восстанавливающее действие этого элемента получается благодаря эластомерному материалу, из которого состоит элемент. Самое позднее тогда, когда запорный элемент уже приблизился на заранее заданное расстояние к седлу клапана, первый упор, соединенный с запорным элементом, соприкасается с элементом из эластомерного материала и при дальнейшем движении запорного элемента к седлу начинает сжимать эластомерный элемент. Чем сильнее сжимается эластомерный элемент, тем большая сила необходима для сжатия. При этом увеличение силы находится в нелинейной зависимости от пути перемещения запорного элемента. Благодаря этому можно достичь прогрессивной характеристики клапана. При незначительных расходах жидкости, то есть при небольшом расстоянии между запорным элементом и седлом клапана, силы, необходимые для хода закрывания запорного элемента, нарастают непропорционально. Благодаря этому можно достичь сравнительно стабильного регулирования расхода. При низких значениях расхода для изменения расхода необходимо большее изменение температуры.
При этом данный элемент предпочтительно выполнить в виде кольца, охватывающего шток клапана, на котором расположен запорный элемент. Благодаря этому создается, так сказать, стопорение, предохраняющее крепление элемента из эластомерного материала. Шток может перемещаться относительно кольца, но отходить от штока в направлении, перпендикулярном направлению движения штока, кольцо не может.
Предпочтительно элемент имеет поперечное сечение, ширина которого меняется в направлении, параллельном пути перемещения запорного элемента. Это приводит к тому, что с увеличением сжатия элемента из эластомерного материала, в сущности, необходимо сжимать все больше материала, поэтому силы, необходимые для сжатия эластомерного материала, растут непропорционально.
Это имеет место, в частности, тогда, когда поперечное сечение имеет круглую или эллиптическую форму. При использовании круглого поперечного сечения круг при сжатии элемента, так сказать, расплющивается. Понятно, что в этом случае сила увеличивается не пропорционально пути перемещения запорного элемента, а в большей степени.
Предпочтительно элемент по меньшей мере с одной стороны прилегает к поверхности, имеющей заданный профиль в направлении, перпендикулярном пути перемещения. Указанная поверхность отклоняется от плоскости, перпендикулярной направлению движения запорного элемента. Благодаря профилированию поверхности создается еще одна возможность, позволяющая деформировать элемент из эластомерного материала, чтобы при приближении запорного элемента к седлу клапана достичь непропорционального увеличения силы.
Предпочтительно поверхность выполнена на шайбе, охватывающей шток клапана. Благодаря этому в направлении движения шток может свободно перемещаться относительно поверхности. Несмотря на это поверхность удерживается у той позиции, где она должна взаимодействовать с элементом из эластомерного материала.
Предпочтительно поверхность образована двумя наклонными участками, которые соединяются впритык вдоль линии пересечения ( конька ). Таким образом, поверхность выполнена в виде двускатной крыши. В этом случае элемент из эластомерного материала при нагружении давлением не только сжимается, но и смещается в поперечном направлении. Участки поверхности могут иметь одинаковый угол наклона.
Альтернативно поверхность может быть выполнена в виде конуса. В частности, если в качестве элемента из эластомерного материала применяется кольцо, это приводит к тому, что кольцо не только сжимается, но и деформируется в радиальном направлении. Итак, кольцо не только сжимается, но и растягивается или плющится в радиальном направлении. Необходимые для этого силы должны также быть приложены при движении штока клапана и запорного элемента.
Предпочтительно конус своим острым концом вдается в кольцо. Это дает дополнительное преимущество: кольцо центрируется относительно поверхности. Таким образом, силы, которые в районе штока клапана создаются элементом из эластомерного материала в виде сил реакции, сравнительно равномерно распределяются по периметру.
В предпочтительном варианте реализации изобретения предусмотрено, что шайба помещена между двумя элементами из эластомерного материала. Благодаря этому удваивается, так сказать, пружинный запас элемента, поэтому получается более длинный участок пути перемещения, на котором запорный элемент взаимодействует с демпфером. Однако при этом нужна лишь одна шайба, поэтому затраты, необходимые для увеличения прогиба, не удваиваются.
Это имеет место, в частности, если поперек пути перемещения шайба для каждого элемента имеет определенный профиль. В этом случае профиль действует на оба элемента из эластомерного материала.
Предпочтительно второй упор в корпусе клапана может регулироваться. Посредством регулировки упора, во-первых, определяется точка, в которой запорный элемент начинает взаимодействовать с демпфером. Во-вторых, определяется сила, необходимая для того, чтобы привести запорный элемент в соприкосновение с седлом клапана. Эта сила тем больше, чем дальше перемешается второй упор от седла клапана.
Предпочтительно второй упор взаимодействует с втулкой, которая охватывает шток клапана и посредством резьбового соединения соединена с корпусом клапана. В этом случае регулировка второго упора весьма упрощается. Для этого достаточно повернуть втулку в корпусе. Второй упор может быть прочно соединен с втулкой. Однако в большинстве случаев будет достаточно, если второй упор будет поддерживаться втулкой в направлении движения запорного элемента к седлу клапана. Это упрощает конструкцию.
Предпочтительно предусмотрено, что шток клапана имеет многоугольное поперечное сечение, соответствующее внутреннему сечению втулки. Втулка может поворачиваться в корпусе при повороте штока клапана в корпусе.
Также является предпочтительным, чтобы запорный элемент имел возможность регулировки под действием приводного устройства с зависимостью температура-давление . В этом случае положение запорного элемента определяется равновесием сил, причем на действующие силы также влияет демпфер, по меньшей мере, на части пути перемещения запорного элемента, предпочтительно на участке непосредственно перед закрытием клапана. Зависимость температура-давление может быть реализована, например, при помощи термостата с газовым наполнением.
Далее изобретение раскрыто на основе предпочтительного примера реализации. Описание сопровождается чертежами.
На чертежах показано следующее:
Фиг 1. – Схематичное изображение регулирующего клапана.
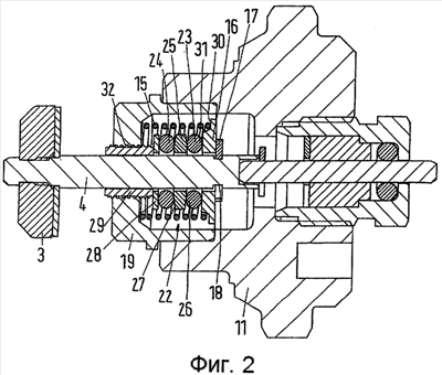
Фиг.2. – Увеличенная деталь регулирующего клапана.
На фиг.1 в схематичном виде изображен разрез регулирующего клапана 1, который может быть использован, например, в первичном контуре теплообменника (подробно не показан), чтобы регулировать поток жидкого теплоносителя в первичном контуре.
Регулирующий клапан 1 имеет седло 2 клапана, с которым взаимодействует запорный элемент 3. Расстояние между запорным элементом 3 и седлом 2 клапана влияет на количество жидкости, которое может протекать через клапан 1. Когда запорный элемент 3 прилегает к седлу 2 клапана, то поток жидкости прерван.
Запорный элемент 3 закреплен на штоке 4 клапана. Посредством приводного штока 5 шток 4 клапана соединен под давлением с толкателем 6, который, в свою очередь, приводится в действие сильфоном 7. Сильфон 7 посредством капилляра 8 соединен с температурным датчиком 9. Температурный датчик 9, капилляр 8 и сильфон 7 имеют наполнение, давление которого меняется при изменении температуры, например газовое наполнение. В частности, с повышением температуры увеличивается давление наполнения. Увеличение давления приводит к тому, что толкатель 6 дальше выдавливается из сильфона 7, а запорный элемент 3 подвигается ближе к седлу 2 клапана. Обычно такое свойство возникает благодаря газовому наполнению. Заданное значение температуры, которая может регулироваться при помощи сильфона посредством термостатического регулирования, может быть изменено ручкой 10, навинченной на корпус 11 клапана. В этом случае запорный элемент 3 принимает положение, при котором сила, прилагаемая со стороны сильфона 7, уравновешена всеми прочими силами, которые вызываются, например, пружинами и действуют в противоположном направлении. Итак, поток через регулирующий клапан 1 является функцией температуры, действующей у температурного датчика.
Приводной шток 5 проведен через сальник 12. Элемент 13 корпуса, в котором расположен сильфон 7, при помощи накидной гайки 14 прикреплен к корпусу 11 клапана.
Как, в частности, видно из фиг.2, на шток 4 клапана в направлении открытия действует дополнительная пружина 15, выполненная в виде винтовой пружины сжатия. Для этого на штоке 4 клапана помещено упорное кольцо 16, взаимодействующее с пружинным кольцом 17, которое вставлено в паз 18 на штоке 4 и к которому прилегает дополнительная пружина 15. Дополнительная пружина 15 опирается на вставку 19, ввинченную в корпус 11 клапана, которая с целью упрощения рассматривается в качестве составной части корпуса 11.
Толкатель 6 (фиг.1) охвачен пружиной 20, опирающейся на опору 21 пружины, опора закреплена в элементе 13 корпуса так, что она не может вращаться, но в то же время может перемещаться в аксиальном направлении. Опора 21 пружины может быть перемещена посредством поворота ручки 10. При этом перемещении меняется сила, с которой пружина 10 действует на сильфон 7. Благодаря перемещению опоры 21 пружины можно устанавливать вышеупомянутое заданное значение, что само по себе известно.
Шток 4 клапана, приводной шток 5 и толкатель 6 лишь прилегают друг к другу, то есть они могут нагружать друг друга посредством давления. Если сила пружины 20 превышает давление в сильфоне 7, то шток 4 клапана под действием дополнительной пружины 15 может следовать за толкателем 6 и отодвигать запорный элемент 3 от седла 2 клапана.
Как, в частности, видно из фиг.2, на части своей длины шток 4 клапана охвачен демпфером 22. Демпфер 22 можно назвать так же, как устройство для создания противодействующей силы” или “тормозное устройство .
Демпфер 22 имеет два уплотнительных кольца 23, 24, оба этих кольца помещены так, что они с небольшим радиальным зазором охватывают шток 4 клапана. Между парой колец 23, 24 помещена шайба 25, которая также с зазором охватывает шток 4 клапана.
Шайба 25 имеет профиль. Посредине она имеет большую толщину, чем у края. Это может быть реализовано различными способами. В одном из вариантов реализации изобретения оба торца 26, 27 выполнены в виде усеченного конуса, причем конец конуса в каждом случае вдается в оба уплотнительных кольца 23, 24. В другом предпочтительном варианте каждый из обоих торцов 26, 27 образован двумя ровными поверхностями, которые пересекаются вдоль линии пересечения. Таким образом, в зависимости от направления, с которого рассматривается шайба 25, можно увидеть ромб, составленный из двух треугольников, или прямоугольник.
Параллельно продольной оси штока 4 клапана, то есть параллельно направлению движения штока 4, расширение демпфера 22 ограничено. Если шток 4 клапана вместе с запорным элементом (см. фиг.2) перемещается дальше вправо, то упорное кольцо 16 отходит от правого уплотнительного кольца 23, но аксиальная длина демпфера 22 при этом больше не увеличивается. Итак, демпфер 22 воздействует на шток 4 клапана, а вместе с тем и на запорный элемент 3 только на части пути перемещения запорного элемента 3.
Со стороны, противоположной упорному кольцу 16, уплотнительное кольцо 24 удерживается упорной шайбой 28, прилегающей к втулке 29, которая охватывает шток 4 клапана и ввинчена в корпус 11 клапана, точнее, во вставку 19. Соответствующая резьба 32 изображена схематично. Если втулку 29 вращают относительно корпуса 11 клапана, то положение упорной шайбы 28, а вместе с тем и сила, необходимая для перемещения запорного элемента 3 до соприкосновения с седлом 2 клапана, меняется. Чем глубже втулка 29 ввинчена в корпус 11 клапана, тем сильнее должен быть сжат демпфер 22, чтобы привести запорный элемент 3 в соприкосновение с седлом 2 клапана.
Шток 4 клапана имеет многоугольную, например шестиугольную, форму. Втулка 29 имеет внутреннее поперечное сечение, соответствующее этой форме, так что хотя шток 4 клапана может сдвигаться во втулке 29, вращаться относительно втулки 29 он не может. Если шток 4 клапана вращают, то вместе со штоком вращается и втулка 29, таким образом, аксиальное положение втулки в корпусе 11 клапана меняется. Шток 4 могут поворачивать, например, если удаляют сальник 12. Затем корпус 11 клапана вместе со штоком 4 клапана и демпфером 22 могут поместить в испытательный стенд и при вращении штока 4 клапана измерить силу реакции, развиваемую демпфером 22, чтобы установить правильное положение втулки 29.
При сжатии демпфера 22 необходимо не только сжать уплотнительные кольца 23, 24 в аксиальном направлении (относительно оси штока 4 клапана). Из-за профилирования шайбы 25 кольца 23, 24 при их сжатии также немного растягиваются в радиальном направлении. Итак, чтобы запорный элемент 3 можно было приблизить к седлу 2 клапана, необходимо также приложить силу, необходимую для растягивания колец 23, 24.
Упорное кольцо 16 имеет первую упорную поверхность 30, к которой прилегает дополнительная пружина 15, и вторую упорную поверхность 31, с которой взаимодействует демпфер 22. Таким образом, дополнительная пружина 15 охватывает демпфер 22 и предназначена для поддержки хода открывания запорного элемента 3.
В направлении закрытия на запорный элемент 3, по существу, действует только сила, развиваемая сильфоном 7, то есть сила, которая возникает вследствие изменения давления наполнения сильфона 7 в зависимости от температуры.
В направлении открытия действует несколько сил. При этом речь идет о силе, развиваемой пружиной 20, о силе, возникающей вследствие собственной эластичности материала сильфона 7, и о силе, развиваемой через седло 2 клапана, находящейся рядом жидкостью. Кроме того, в закрытом состоянии действует сила, которую создали благодаря незначительному сжатию запорного элемента 3.
Пока упорное кольцо 16 взаимодействует с демпфером 22, в направлении открытия действует также восстанавливающая сила, производимая демпфером 22. Однако если упорное кольцо 16 отошло от демпфера 22, эта сила в направлении открытия отпадает.
Восстанавливающую или демпфирующую силу, вызываемую демпфером 22, можно менять различными способами. Одним из влияющих факторов является выбор эластомерного материала, из которого выполнены уплотнительные кольца 23, 24. Второй влияющий фактор – это наклон конуса или наклонной поверхности на торцах 26, 27 шайбы 25. Играет роль также толщина уплотнительных колец 23, 24 в направлении, которое параллельно направлению движения штока 4 клапана.
Поперечное сечение уплотнительных колец 23, 24 не обязательно должно быть круглым, хотя такая форма является самой простой. Однако целесообразным и предпочтительным является вариант, когда кольца 23, 24 имеют одинаковую толщину не вдоль всей их радиальной протяженности, что весьма просто достигается благодаря выбору круглого поперечного сечения.
Формула изобретения
1. Клапан с седлом клапана, запорным элементом, взаимодействующим с седлом клапана и имеющим возможность перемещаться в корпусе клапана на заранее заданное расстояние, и демпфером, действующим на запорный элемент по меньшей мере на части пути его перемещения, причем демпфер (22) содержит по меньшей мере один элемент (23, 24) из эластомерного материала, имеющий возможность сжиматься между первым упором (16), соединенным с запорным элементом, и вторым упором (28), соединенным с корпусом (11) клапана, отличающийся тем, что указанный элемент (23, 24) из эластомерного материала по меньшей мере с одной стороны прилегает к поверхности (26, 27), которая в направлении, перпендикулярном пути перемещения запорного элемента, имеет заданный профиль, такой что указанная поверхность отклоняется от плоскости, перпендикулярной направлению перемещения запорного элемента.
2. Клапан по п.1, отличающийся тем, что элемент (23, 24) выполнен в виде кольца, охватывающего шток (4) клапана, на котором расположен запорный элемент (3).
3. Клапан по п.1, отличающийся тем, что элемент (23, 24) имеет поперечное сечение, ширина которого меняется в направлении, параллельном пути перемещения запорного элемента (3).
4. Клапан по п.3, отличающийся тем, что указанное поперечное сечение имеет форму круга или овала.
5. Клапан по любому из пп.1-4, отличающийся тем, что поверхность (26, 27) выполнена на шайбе (25), охватывающей шток (4) клапана.
6. Клапан по любому из пп.1-4, отличающийся тем, что поверхность (26, 27) образована двумя наклонными участками, которые соединяются впритык вдоль линии конька/линии пересечения.
7. Клапан по любому из пп.1-4, отличающийся тем, что поверхность (26, 27) выполнена в виде конуса.
8. Клапан по п.7, отличающийся тем, что конус своим острым концом вдается в кольцо.
9. Клапан по п.8, отличающийся тем, что шайба (25) расположена между двумя элементами (23, 24) из эластомерного материала.
10. Клапан по п.9, отличающийся тем, что шайба (25) для каждого элемента (23, 24) поперек пути перемещения имеет заранее заданный профиль.
11. Клапан по любому из пп.1-4, 8 или 9, отличающийся тем, что второй упор (28) выполнен с возможностью регулировки посредством перемещения в корпусе (11) клапана.
12. Клапан по п.11, отличающийся тем, что второй упор (28) взаимодействует с охватывающей шток (4) клапана втулкой (29), которая посредством резьбового соединения (32) соединена с корпусом (11) клапана.
13. Клапан по п.12, отличающийся тем, что шток (4) клапана имеет многоугольное поперечное сечение, соответствующее внутреннему сечению втулки (29).
14. Клапан по любому из пп.1-4, 8, 9, 12 или 13, отличающийся тем, что запорный элемент (3) выполнен с возможностью перемещения под действием приводного устройства (7) с зависимостью “температура-давление”.
РИСУНКИ
|
|