|
|
(21), (22) Заявка: 2008104401/11, 15.08.2006
(24) Дата начала отсчета срока действия патента:
15.08.2006
(30) Конвенционный приоритет:
15.08.2005 US 11/203.706
(43) Дата публикации заявки: 10.10.2009
(46) Опубликовано: 20.09.2010
(56) Список документов, цитированных в отчете о поиске:
DE 2902893 A1, 31.07.1980. US 4813306 A, 21.03.1989. RU 2191303 C2, 20.10.2002. SU 1213291 A1, 23.02.1986.
(85) Дата перевода заявки PCT на национальную фазу:
17.03.2008
(86) Заявка PCT:
US 2006/031885 20060815
(87) Публикация PCT:
WO 2007/022209 20070222
Адрес для переписки:
117342, Москва, ул. Миклухо-Маклая, 65, корп.4, кв.34, пат.пов. И.Л.Стояченко, рег. 23
|
(72) Автор(ы):
МакКРЭРИ Поль Т. (US)
(73) Патентообладатель(и):
БОРГ-ВАРНЕР ИНК. (US)
|
(54) БЕССТУПЕНЧАТАЯ ТРАНСМИССИЯ
(57) Реферат:
Изобретение относится к планетарным коробкам передач и их использованию в бесступенчатых трансмиссиях с гидравлическими системами. Планетарная коробка передач (14) включает в себя первую солнечную шестерню (22), соединенную с источником (16) энергии, вторую солнечную шестерню (34) и общее водило (28), соединяющее и удерживающее первую планетарную шестерню (24), вторую планетарную шестерню (26) и первую шестерню (30) передней передачи. При этом первая солнечная шестерня (22) находится в зацеплении с одной планетарной шестерней (24), вторая солнечная шестерня (34), находится в зацеплении с одной планетарной шестерней (26). Гидравлическая система (12) имеет вторую шестерню (32) передней передачи и выходную шестерню (36). При этом вторая шестерня (32) передней передачи приводится в действие первой шестерней (30) передней передачи. Гидростатическая система (12) обеспечивает реактивный момент на планетарной коробке передач (14). Механизм (40) переключения размещен на выходном вале (42) и выполнен с возможностью сцепления либо с первой шестерней (30) передней передачи, либо со второй солнечной шестерней (34) с целью функционирования транспортного средства в направлении переднего хода, направлении заднего хода и для создания механической нейтрали. Достигается повышение надежности устройства. 3 н. и 18 з.п. ф-лы, 2 ил.
Область техники
Настоящее изобретение относится к планетарным коробкам передач и их использованию в бесступенчатых трансмиссиях.
Уровень техники
Гидравлические системы представляют собой общепринятый способ обеспечения бесступенчатой трансмиссии для использования в автомобиле. Бесступенчатые трансмиссии весьма желательны, поскольку они позволяют выполнить плавное регулирование в широком диапазоне и могут обеспечить большую эффективность в компоновке и экономии топлива. Общепринятый способ получения бесступенчатого переключения передач заключается в использовании гидравлической системы. Гидравлические системы состоят из насоса с переменным рабочим объемом и из мотора, который приводится в действие насосом, имеющим либо фиксированный, либо переменный рабочий объем. Источник энергии, подключенный к трансмиссии, обеспечивает мощность на планетарной коробке передач, которая, в свою очередь, распределяет мощность между гидравлической системой и отдаваемой мощностью.
Одна из проблем, которые существуют в современных бесступенчатых трансмиссиях, использующих гидравлические системы, заключается в том, что отсутствует “механическая нейтраль”, т.е. в случае, когда необходимо нейтральное положение, отсутствует полное разъединение источника энергии и трансмиссии. В большинстве современных конструкций нейтраль обеспечивается путем регулировки наклонной шайбы насоса в гидравлической системе таким образом, чтобы мощность к двигателю не передавалась. Первый существенный недостаток, присущий данной конструкции, заключается в том, что остаточный тормозной момент в трансмиссии может все-таки выдавать на выходе незначительный момент, не позволяя таким образом добиться настоящего нейтрального положения; кроме того, любое отклонение в допуске рабочих объемов в гидравлической системе тоже может привести к передаче небольшого момента через трансмиссию, что также может делать нейтральное положение транспортного средства неэффективным.
Другая проблема в современных конструкциях, использующих гидравлическую систему, касается реализации передачи заднего хода. Это осуществляется путем обращения функционирования гидравлической системы. В обращенной конфигурации мотор работает как насос, а насос работает как мотор. Недостаток этого способа получения заднего хода проистекает из того, что рабочие объемы насоса и двигателя в гидравлической системе выполняются так, чтобы обеспечить надлежащую величину момента в случае, когда транспортное средство двигается вперед. При заднем ходе на коробку передач через гидравлическую систему передается очень небольшой момент, приводя к тому, что транспортное средство двигается очень медленно и с малой мощностью. Кроме того, при заднем ходе из-за рабочих объемов в гидравлической системе двигателю, чтобы осуществить движение задним ходом с использованием этого способа, приходится работать на очень больших оборотах, что делает такое движение очень неэффективным.
Сущность изобретения
Настоящее изобретение направлено на то, чтобы преодолеть эти и другие проблемы, связанные с использованием гидравлической системы в бесступенчатой трансмиссии. Настоящее изобретение позволяет получить “механическую нейтраль,” а также более эффективную реализацию заднего хода. Настоящее изобретение представляет собой бесступенчатую трансмиссию, имеющую планетарную коробку передач с двумя солнечными шестернями, которая включает в себя первую солнечную шестерню, соединенную с источником энергии, при этом первая солнечная шестерня находится в зацеплении с по меньшей мере одной первой планетарной шестерней, вторую солнечную шестерню, находящуюся в зацеплении с по меньшей мере одной второй планетарной шестерней, и общее водило, соединяющее и удерживающее первую планетарную шестерню, вторую планетарную шестерню и первую шестерню передней передачи. Настоящее изобретение включает в себя также гидравлическую систему, имеющую вторую шестерню передней передачи и выходную шестерню, при этом вторая шестерня передней передачи приводится в действие первой шестерней передней передачи, причем гидравлическая система обеспечивает реактивный момент на планетарной коробке передач, а также механизм переключения, размещенный на выходном вале с возможностью сдвига и выполненный с возможностью избирательного сцепления либо с первой шестерней передней передачи, либо со второй солнечной шестерней, с целью функционирования транспортного средства в направлении переднего хода, направлении заднего хода, и для создания механической нейтрали, когда механизм переключения не соединен ни с первой шестерней передней передачи, ни со второй солнечной шестерней.
Дополнительные области применения настоящего изобретения будут понятны из подробного описания, которое приводится далее. Следует понимать, что подробное описание и конкретные примеры при том, что указывают предпочтительные варианты осуществления изобретения, предназначены только для иллюстрации и не ограничивают объем охраны изобретения.
Краткое описание чертежей
Настоящее изобретение будет более понятным из подробного описания и прилагаемых чертежей, на которых:
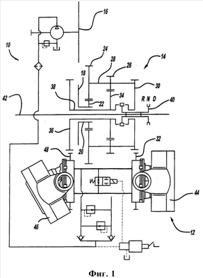
Фигура 1 представляет собой схему бесступенчатой трансмиссии, имеющей гидравлическую систему и планетарную коробку передач с двумя солнечными шестернями в соответствии с настоящим изобретением.
Фигура 2 представляет собой поперечное сечение бесступенчатой коробки передач, имеющей гидравлическую систему в соответствии с настоящим изобретением.
Подробное описание предпочтительных вариантов осуществления изобретения
Нижеследующее описание предпочтительного варианта(ов) осуществления изобретения по своему характеру является иллюстративным, и никоим образом не направлено на то, чтобы как-то ограничить изобретение, его применение или использование.
Принципиальная схема бесступенчатой трансмиссии в соответствии с настоящим изобретением показана на Фигуре 1 под общим обозначением 10. Настоящее изобретение имеет гидравлическую систему 12, функционирующую совместно с планетарной коробкой передач 14 с двумя солнечными шестернями. К планетарной коробке передач 14 подводится мощность от источника энергии или двигателя 16, который приводит в действие входную шестерню 18. Входная шестерня 18 устанавливается на первом вале 20 с первой солнечной шестерней 22. Первая солнечная шестерня 22 находится в зацеплении по меньшей мере с одной планетарной шестерней или первым комплектом планетарных шестерен 24. Первый комплект планетарных шестерен 24 и по меньшей мере одна планетарная шестерня или второй комплект планетарных шестерен 26 устанавливаются на общем водиле 28. Первый комплект планетарных шестерен 24 и второй комплект планетарных шестерен 26 соединены друг с другом, образуя ступенчатую планетарную передачу, при этом они могут свободно вращаться на общем водиле 28. Водило 28 соединено с ведущей шестерней или первой шестерней 30 передней передачи, которая приводит в действие вторую шестерню передней передачи или шестерню 32 насоса гидравлической системы 12. Второй комплект планетарных шестерен 26 находится в зацеплении со второй солнечной шестерней 34. Вторая солнечная шестерня 34 и выходная шестерня 36 устанавливаются на втором вале 38. Как вторая солнечная шестерня 34, так и водило 28 (как показано, через первую шестерню 30 передней передачи) соединены с механизмом переключения, таким как кулачковая муфта 40, который устанавливается с возможностью сдвига на выходном вале 42. Выходной вал 42 надлежащим образом соединен с набором колес (не показаны) с тем, чтобы вращать колеса для передвижения транспортного средства вперед или назад. Кулачковая муфта 40 может соединяться либо с водилом 28 через первую шестерню 30 передней передачи, или же со второй солнечной шестерней 34 по отдельности, но не в одно и то же время. Кулачковая муфта 40 может быть расположена и таким образом, чтобы она не находилась в зацеплении с водилом 28 или со второй солнечной шестерней 34, полностью отсоединяя тем самым планетарную коробку передач 14 с двумя солнечными шестернями от выходного вала 42 и создавая нейтральное положение или механическую нейтраль.
Гидравлическая система 12 имеет тип, который хорошо известен в данной области техники и широко используется. Гидравлическая система 12 имеет насос 44, который гидравлически приводит в действие мотор 46; мотор 46 соединен с шестерней 48 мотора. Шестерня 48 мотора находится в зацеплении с выходной шестерней 36. Насос 44 перекачивает жидкость взад-вперед между насосом 44 и мотором 46, заставляя мотор 46 вращаться. Бесступенчатое переключение передач достигается благодаря использованию мотора 46 в гидравлической системе 12. Двигатель включает в себя наклонную шайбу, которая используется для изменения количества жидкости, перекачиваемой между мотором 46 и насосом 44. По мере того, как изменяется угол наклонной шайбы в моторе 46 относительно шестерни 48 мотора, соответственно изменяются также и величина момента и мощность, передаваемая через гидравлическую систему 12. Изменение этого угла влияет также и на конечное передаточное число планетарной коробки передач 14. Когда наклонная шайба в гидравлической системе 12 имеет максимальный угол относительно шестерни 48 мотора, то в результате планетарная коробка передач 14 будет вести себя аналогично первой передаче в обычной автоматической или ручной трансмиссии. По мере того, как наклонная шайба в моторе 46 двигается в направлении к параллельному положению по отношению к шестерне 48 мотора, создается меньший момент, и планетарная коробка передач 14 будет иметь на выходе эффект ведущей передачи или повышающей передачи в обычной автоматической или ручной трансмиссии. Изменение положения наклонной шайбы в моторе 46 позволит планетарной коробке передач 14 и гидравлической системе 12 обеспечить плавное изменение передаточного числа.
Далее будет описан путь мощностного потока для различных положений кулачковой муфты 40. Когда кулачковая муфта 40 сдвигается в первом направлении, или располагается таким образом, что при этом она соединяется с первой шестерней 30 передней передачи и, в силу этого, с водилом 28, планетарная коробка передач 14 будет обеспечивать крутящий момент на выходном вале 42, так что выходной вал 42 будет двигать транспортное средство вперед. Первая солнечная шестерня 22 приводит в действие первый комплект планетарных шестерен 24, которые, в свою очередь, поворачивают водило 28. Водило 28 соединено с первой шестерней 30 передней передачи, а первая шестерня 30 передней передачи приводит в действие шестерню 32 насоса и также сцеплена с кулачковой муфтой 40, которая приводит в движение выходной вал 42. Гидравлическая система 12 обеспечивает возврат мощности в планетарную коробку передач 14, а также обеспечивает бесступенчатое изменение передаточного числа посредством шестерни 48 мотора, находящейся в зацеплении с выходной шестерней 36. Шестерня 36 функционально соединена со второй солнечной шестерней 34, которая находится в зацеплении со вторым комплектом планетарных шестерен 26. Второй комплект планетарных шестерен 26 устанавливается на водиле 28, которое, как ранее указано, приводит в действие первую шестерню 30 передней передачи. Конечный результат заключается в том, что мощность от двигателя 16, передаваемая на первую шестерню 30 передней передачи, распределяется между планетарной коробкой передач 14 и гидравлической системой 12, а гидравлическая система 12 обеспечивает возврат мощности в планетарную коробку передач 14, наряду с бесступенчатым изменением передаточного числа, сравнимым с изменением передаточного числа обычных пятискоростных и шестискоростных трансмиссий.
Направление движения задним ходом реализуется с помощью сдвига кулачковой муфты 40 во втором направлении или в положение, в котором она соединяется со второй солнечной шестерней 34. Мощность от двигателя 16 все еще распределена между планетарной коробкой передач 14 и гидравлической системой 12. Однако мощность передается от первой солнечной шестерни 22 к первому комплекту планетарных шестерен 24 и на водило 28. Второй комплект планетарных шестерен 26 сцеплен с водилом 28 и принимает от него мощность. Вторая солнечная шестерня 34 находится в зацеплении со вторым комплектом планетарных шестерен 26 и передает мощностной поток на кулачковую муфту 40, и, наконец, на выходной вал 42. Из-за того, что кулачковая муфта 40 сцеплена со второй солнечной шестерней 34 вместо первой шестерни 30 передней передачи, планетарная коробка передач 14 приводит в движение выходной вал 42, так что выходной вал 42 двигает транспортное средство в обратном направлении, позволяя при этом гидравлической системе 12 функционировать по-прежнему так, как будто транспортное средство двигается вперед. Это обеспечивает необходимую величину момента, требуемую для того, чтобы передвигать транспортное средство задним ходом, и работает аналогично задней передаче в обычных автоматических и ручных трансмиссиях.
Из предшествующего описания специалистам в данной области техники будет понятно, что имеющие широкое применение идеи настоящего изобретения могут быть реализованы различным образом. Поэтому, несмотря на то, что данное изобретение было описано на его конкретных примерах, истинный объем охраны изобретения не должен ими ограничиваться, поскольку квалифицированному практику после изучения чертежей, спецификации и последующей формулы изобретения станут очевидными и другие модификации изобретения.
Формула изобретения
1. Бесступенчатая трансмиссия, имеющая планетарную коробку передач с двумя солнечными шестернями, содержащая: первую солнечную шестерню, соединенную с источником энергии, причем указанная первая солнечная шестерня находится в зацеплении с, по меньшей мере, одной первой планетарной шестерней; вторую солнечную шестерню, находящуюся в зацеплении с, по меньшей мере, одной второй планетарной шестерней, причем указанная первая планетарная шестерня соединена с указанной второй планетарной шестерней; общее водило, соединяющее и удерживающее указанную, по меньшей мере, одну первую планетарную шестерню, находящуюся в зацеплении с указанной первой солнечной шестерней, указанную, по меньшей мере, одну вторую планетарную шестерню, находящуюся в зацеплении с указанной второй солнечной шестерней, и первую шестерню передней передачи; гидравлическую систему, имеющую вторую шестерню передней передачи и выходную шестерню, причем указанная вторая шестерня передней передачи приводится в действие указанной первой шестерней передней передачи, при этом указанная гидравлическая система обеспечивает реактивный момент на указанной планетарной коробке передач; и механизм переключения, размещенный на выходном валу с возможностью сдвига и выполненный с возможностью сцепления по выбору либо с указанной первой шестерней передней передачи, с целью функционирования транспортного средства в направлении переднего хода, либо с указанной второй солнечной шестерней, с целью функционирования указанного транспортного средства в направлении заднего хода, а также с возможностью нахождения в положении механической нейтрали, когда указанный механизм переключения не соединен ни с указанной первой шестерней передней передачи, ни с указанной второй солнечной шестерней.
2. Бесступенчатая трансмиссия по п.1, отличающаяся тем, что сцепление указанного механизма переключения с указанной первой шестерней передней передачи обеспечивает передачу мощности через указанную первую солнечную шестерню, указанную, по меньшей мере, одну первую планетарную шестерню, находящуюся в зацеплении с указанной первой солнечной шестерней, указанное общее водило, указанную первую шестерню передней передачи и через указанный выходной вал.
3. Бесступенчатая трансмиссия по п.1, отличающаяся тем, что сцепление указанного механизма переключения с указанной второй солнечной шестерней обеспечивает передачу мощности через указанную первую солнечную шестерню, указанную, по меньшей мере, одну первую планетарную шестерню, находящуюся в зацеплении с указанной первой солнечной шестерней, указанное общее водило, указанную, по меньшей мере, одну вторую планетарную шестерню, находящуюся в зацеплении с указанной второй солнечной шестерней, указанную вторую солнечную шестерню, указанный механизм переключения и через указанный выходной вал.
4. Бесступенчатая трансмиссия по п.1, отличающаяся тем, что указанная механическая нейтраль дополнительно включает разъединение указанного механизма переключения с указанной первой шестерней передней передачи и указанной второй солнечной шестерней, тем самым обеспечивая отсоединение указанного выходного вала от указанной второй солнечной шестерни и указанной первой шестерни передней передачи.
5. Бесступенчатая трансмиссия по п.1, отличающаяся тем, что мощность разделена между указанной гидравлической системой и указанной планетарной коробкой передач.
6. Бесступенчатая трансмиссия по п.1, отличающаяся тем, что указанная гидравлическая система дополнительно содержит насос и мотор, при этом указанная гидравлическая система обеспечивает бесступенчатое изменение передаточного числа путем изменения угла указанного мотора относительно указанного насоса.
7. Бесступенчатая трансмиссия по п.1, отличающаяся тем, что указанная гидравлическая система функционирует одинаково при функционировании указанной планетарной коробки передач как в указанном направлении переднего хода, так и в указанном направлении заднего хода.
8. Бесступенчатая трансмиссия по п.1, отличающаяся тем, что указанная гидравлическая система передает крутящий момент на указанную выходную шестерню при сцеплении указанного механизма переключения с указанной первой шестерней передней передачи или с указанной второй солнечной шестерней, увеличивая тем самым выходную мощность указанной планетарной коробки передач.
9. Бесступенчатая трансмиссия, имеющая планетарную коробку передач с двумя солнечными шестернями, содержащая: первую солнечную шестерню, находящуюся в зацеплении с первым комплектом планетарных шестерен и установленную на первом валу; вторую солнечную шестерню, находящуюся в зацеплении со вторым комплектом планетарных шестерен и установленную на втором валу; водило, на котором установлены с возможностью свободного вращения указанный первый комплект планетарных шестерен и указанный второй комплект планетарных шестерен; первую шестерню передней передачи, соединенную с указанным водилом и приводимую им в действие; гидравлическую систему, приводимую в действие указанной первой шестерней передней передачи; приводную шестерню, приводимую в действие указанной гидравлической системой и установленную на указанном втором валу для вращения с указанной второй солнечной шестерней; и механизм переключения, выполненный с возможностью избирательного сцепления либо с указанной первой шестерней передней передачи с целью функционирования транспортного средства в направлении переднего хода, либо с указанной второй солнечной шестерней, с целью функционирования указанного транспортного средства в направлении заднего хода, установленный с возможностью сдвига на выходном валу.
10. Бесступенчатая трансмиссия по п.9, отличающаяся тем, что указанная гидравлическая система состоит из насоса, приводимого в действие указанной первой шестерней передней передачи, прокачивающего жидкость через указанную гидравлическую систему, и мотора, приводимого в действие указанным насосом и приводящего в действие указанную приводную шестерню, увеличивая выходную мощность указанной планетарной коробки передач.
11. Бесступенчатая трансмиссия по п.9, отличающаяся тем, что указанная планетарная коробка передач сообщает движение вперед указанному транспортному средству при передвижении указанного механизма переключения в первое положение.
12. Бесступенчатая трансмиссия по п.9, отличающаяся тем, что указанная планетарная коробка передач сообщает движение назад указанному транспортному средству при передвижении указанного механизма переключения во второе положение.
13. Бесступенчатая трансмиссия по п.9, отличающаяся тем, что направление переднего хода реализуется путем сцепления указанного механизма переключения с указанной первой шестерней передней передачи, передачи мощности и момента через указанную первую солнечную шестерню, указанный первый комплект планетарных шестерен, через указанное водило, через указанную первую шестерню передней передачи, через указанный механизм переключения и через указанный выходной вал.
14. Бесступенчатая трансмиссия по п.9, отличающаяся тем, что указанное направление заднего хода реализуется путем сцепления указанного механизма переключения с указанной второй солнечной шестерней, передачи мощности и момента через указанную первую солнечную шестерню, указанный первый комплект планетарных шестерен, указанное водило, через указанный второй комплект планетарных шестерен, указанную вторую солнечную шестерню, через указанный механизм переключения и на указанный выходной вал.
15. Бесступенчатая трансмиссия по п.9, отличающаяся тем, что дополнительно включает механическую нейтраль, создаваемую при передвижении указанного механизма переключения в положение, в котором указанный механизм переключения не соединен ни с указанной первой шестерней передней передачи, ни с указанной второй солнечной шестерней, а указанный выходной вал отсоединен от указанной планетарной коробки передач и указанной гидравлической системы, в результате чего отсутствует передача мощности на указанный выходной вал.
16. Способ обеспечения бесступенчатого переключения передач в бесступенчатой трансмиссии, содержащий следующие шаги: обеспечение первой солнечной шестерни, устанавливаемой на первом валу; обеспечение второй солнечной шестерни, устанавливаемой на втором валу; обеспечение водила, имеющего первый комплект планетарных шестерен, находящихся в зацеплении с указанной первой солнечной шестерней, и второй комплект планетарных шестерен, находящихся в зацеплении с указанной второй солнечной шестерней, при этом каждая планетарная шестерня из указанного первого комплекта планетарных шестерен соединена с планетарной шестерней из указанного второго комплекта планетарных шестерен; обеспечение первой шестерни передней передачи, соединяемой с указанным водилом; обеспечение приводной шестерни, устанавливаемой на указанном втором валу; обеспечение механизма переключения, устанавливаемого с возможностью сдвига на выходном валу; обеспечение насоса, имеющего шестерню насоса, находящуюся в зацеплении с указанной первой шестерней передней передачи; обеспечение мотора, имеющего шестерню мотора, находящуюся в зацеплении с указанной приводной шестерней; сцепление указанного механизма переключения с указанной первой шестерней передней передачи путем передвижения указанного механизма переключения в первое положение; сцепление указанного механизма переключения с указанным вторым валом путем передвижения указанного механизма переключения во второе положение; обеспечение механической нейтрали путем расцепления указанного механизма переключения и указанного второго вала и расцепления указанного механизма переключения и указанной приводной шестерни.
17. Способ обеспечения бесступенчатого переключения передач в бесступенчатой трансмиссии по п.16, отличающийся тем, что дополнительно содержит следующие шаги: сцепление указанного механизма переключения с указанной первой шестерней передней передачи; и передача мощности от указанного источника энергии на указанную входную шестерню, на указанный первый вал, на указанную первую солнечную шестерню, на указанный первый комплект планетарных шестерен, на указанное водило, на указанную первую шестерню передней передачи, через указанный механизм переключения, и на указанный выходной вал.
18. Способ обеспечения бесступенчатого переключения передач в бесступенчатой трансмиссии по п.17, отличающийся тем, что дополнительно содержит следующие шаги: передача мощности от указанной первой шестерни передней передачи на указанную шестерню насоса; приведение в действие указанного насоса с помощью указанной шестерни насоса, передавая мощность на указанный мотор; и передача мощности от указанного мотора на указанную шестерню мотора, на указанную приводную шестерню, через указанный второй вал, через вторую солнечную шестерню, на указанный второй комплект планетарных шестерен, через указанное водило, через указанную первую шестерню передней передачи, через указанный механизм переключения, и на указанный выходной вал.
19. Способ обеспечения бесступенчатого переключения передач в бесступенчатой трансмиссии по п.16, отличающийся тем, что дополнительно содержит следующие шаги: сцепление указанного механизма переключения с указанным вторым валом; и передача мощности от указанного источника энергии на указанную входную шестерню, на указанный первый вал, на указанную первую солнечную шестерню, на указанный первый комплект планетарных шестерен, на указанное водило, на указанный второй комплект планетарных шестерен, на указанную вторую солнечную шестерню, через указанный второй вал, через указанный механизм переключения, и на указанный выходной вал.
20. Способ обеспечения бесступенчатого переключения передач в бесступенчатой трансмиссии по п.19, отличающийся тем, что дополнительно содержит следующие шаги: передача мощности от указанной первой шестерни передней передачи на указанную шестерню насоса; приведение в действие указанного насоса с помощью указанной шестерни насоса, передавая мощность на указанный мотор; передача мощности от указанного мотора на указанную шестерню мотора, на указанную приводную шестерню, через указанный второй вал, через указанную вторую солнечную шестерню, на указанный второй комплект планетарных шестерен, через указанное водило, на указанный второй комплект планетарных шестерен, на указанную вторую солнечную шестерню, через указанный второй вал, через указанный механизм переключения, и на указанный выходной вал.
21. Способ обеспечения бесступенчатого переключения передач в бесступенчатой трансмиссии по п.16, отличающийся тем, что дополнительно содержит шаги передачи мощности от указанного насоса на указанный мотор при сцеплении указанного механизма переключения либо с указанной первой шестерней передней передачи, либо с указанным вторым валом.
РИСУНКИ
|
|