|
(21), (22) Заявка: 2009124395/11, 23.06.2009
(24) Дата начала отсчета срока действия патента:
23.06.2009
(46) Опубликовано: 20.09.2010
(56) Список документов, цитированных в отчете о поиске:
Артоболевский И.И. «Механизмы в современной технике» Т.III. – М.: Наука, 1979, с.321-323. DE 19808211 A1, 25.11.1999. RU 2194203 C2, 10.12.2002. RU 2303183 C1, 20.07.2007.
Адрес для переписки:
190103, Санкт-Петербург, Рижский пр., 26, Учреждение Российской академии наук Институт аналитического приборостроения РАН
|
(72) Автор(ы):
Юровский Сергей Михайлович (RU)
(73) Патентообладатель(и):
Учреждение Российской академии наук Институт аналитического приборостроения Российской академии наук (ИАП РАН) (RU), ООО “Лабораторные технологии и системы” (RU)
|
(54) СПОСОБ ПРЕОБРАЗОВАНИЯ ВОЗВРАТНО-ПОСТУПАТЕЛЬНОГО ДВИЖЕНИЯ И УСТРОЙСТВО ДЛЯ ЕГО РЕАЛИЗАЦИИ
(57) Реферат:
Изобретение относится к области машиностроения и предназначено для преобразования возвратно-поступательного движения ведущего звена в прерывистое, однонаправленное движение ведомого звена. Механизм преобразования движения содержит ведущее и ведомое звенья. Ведущее звено выполнено в виде блока из двух встречно направленных и жестко связанных между собой клиньев. Ведомое звено выполнено в виде планки с установленными на одинаковом расстоянии друг от друга и жестко связанными с планкой элементами зацепления. Указанные клинья смещены относительно друг друга на половину расстояния между элементами зацепления. Ведомое звено перемещают прерывисто путем поочередного воздействия скосов двух встречно направленных клиньев ведущего звена. При этом указанное перемещение производят на одинаковое расстояние при прямом и обратном ходе. Решение направлено на упрощение конструкции и повышение надежности в эксплуатации механизма. 2 н. и 9 з.п. ф-лы, 4 ил.
Изобретение относится к области машиностроения и предназначено для преобразования возвратно-поступательного движения ведущего звена в прерывистое, однонаправленное движение ведомого звена ортогонально направлению возвратно-поступательного движения и может применяться в различных станках-автоматах, например в многопозиционном прессе-автомате, для перемещения матрицы и фиксации ее на время рабочего хода пуансона.
Для осуществления прерывистых движений в механике широко применяются шаговые механизмы, в которых ведомые звенья движутся в одну сторону с периодическими остановками, при этом известно, что в механизмах с возвратным движением ведущего звена происходит разрыв кинематической связи при обратном ходе ведущего звена. При этом не обеспечивается фиксация ведомого звена во время выстоя. Поэтому их применяют в сочетании с другими самотормозящимися механизмами, например винтовыми, либо предусматривают специальные тормозные устройства.
Известен способ преобразования возвратно-поступательного движения в прерывистое поступательное, реализованный в механизме (а.с. 639305, Заявка 2432076/28, МПК F16H 27/02 «Механизм для преобразования возвратно-поступательного движения в прерывистое поступательное», опубликовано 1999.09.27), где передача движения ведущего звена ведомому (рабочему органу) и его фиксация осуществляются на основе изменения коэффициента трения.
Однако этот способ и механизм обеспечивают преобразование возвратно-поступательного движения ведущего звена в прерывистое поступательное движение ведомого звена вдоль одной и той же оси, что делает невозможным их непосредственное использование для задач, требующих преобразования движения ведомого звена в направлении, ортогональном движению ведущего звена. Кроме этого, использование для преобразования движения и фиксации ведомого звена на время остановки трения неизбежно сопровождается проскальзыванием, что снижает точность позиционирования ведомого звена.
Известен также способ преобразования возвратно-поступательного движения во вращательное, как, например, поршневой двигатель (см., патент РФ 2303183, МПК F16H 39/42 «Способ преобразования возвратно-поступательного движения во вращательное и устройство для его реализации», опубл. 2007, 07.20.), в котором возвратно-поступательное движение поршней преобразуется в однонаправленное вращательное движение рабочего вала.
Однако данный способ и устройство обеспечивают преобразование возвратно-поступательного движения ведущего звена в однонаправленное вращательное движение ведомого звена, что делает невозможным их непосредственное использование для задач, преобразование движения ведущего звена в прерывистое движение ведомого звена, и требуется дополнительный механизм для дальнейшего преобразования вращательного движения в прерывистое, однонаправленное движение, а также тормозной механизм, что значительно усложняет применение этого способа для решения поставленной задачи.
Ближайшим из известных способов и устройств по принципу преобразования движения является способ преобразования в клиновом механизме, выбранный в качестве прототипа (Артоболевский И.И. «Механизмы в современной технике» Т.III., стр.321-323, М.: Наука, 1979), согласно которому прямолинейное поступательное движение ведущего звена-клина преобразуют в прямолинейное поступательное движение ведомого звена в ортогональном направлении путем воздействием скоса клина на ведомое звено. Способ реализуется с помощью трехзвенного механизма.
Однако и эти известные способ и устройства не решают задачу преобразования возвратно-поступательного движения ведущего звена в прерывистое, однонаправленное движение ведомого звена.
Задачей настоящего изобретения является создание способа и реализующего его устройства, обеспечивающих прямое (без промежуточных звеньев и дополнительных механизмов) преобразование возвратно-поступательного движения ведущего звена в прерывистое, однонаправленное движение в ортогональном направлении ведомого звена, простых в исполнении и надежных в эксплуатации.
Указанная задача решается за счет того, что возвратно-поступательное движение ведущего звена преобразуют ортогонально в прерывистое, однонаправленное движение ведомого звена по принципу клинового механизма способом, в котором ведущее звено путем поочередного воздействия скосов двух встречно направленных клиньев на один и тот же элемент зацепления ведомого звена, перемещает ведомое звено – каждый клин на полшага; за два хода ведущего звена, прямого и обратного, ведомое звено перемещается на один шаг ортогонально направлению движения ведущего звена, при этом следующий элемент зацепления ведомого звена передвигается в зону действия клиньев в следующем цикле. После каждого перемещения ведомого звена соответствующий клин вводят между элементами зацепления и фиксируют ведомое звено при дальнейшем ходе ведущего звена.
В заявленном способе возвратно-поступательное движение ведущего звена может быть преобразовано ортогонально в:
– прерывисто-прямолинейное движение ведомого звена;
– прерывисто-вращательное движение ведомого звена, ось вращения которого параллельна направлению движения ведущего звена;
– прерывисто-вращательное движение ведомого звена, ось вращения которого перпендикулярна направлению движения ведущего звена.
В устройстве для реализации заявленного способа, состоящем из клиновой передачи с ведущим и ведомым звеньями, ведущее звено выполнено в виде блока из двух встречно направленных и жестко связанных между собой клиньев, ведомое звено выполнено в виде планки или колеса с установленными и жестко связанными с ней элементами зацепления (роликами), при этом клинья смещены относительно друг друга на половину расстояния между элементами зацепления.
Способ преобразования возвратно-поступательного движения и устройство для его реализации иллюстрируется чертежами и схемами:
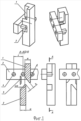
на фиг.1 представлена конструкция устройства, состоящего из двух клиньев 1 и 2, жестко связанных между собой, планки 3, элементов зацепления 4 и упора 5. На разрезе А-А обозначены:
t – расстояние между элементами зацепления,
H – толщина клина,
d – диаметр элементов зацепления,
t/2 – половина расстояния между элементами зацепления,
h – расстояние между клиньями, обеспечивающее проход элементов зацепления, как правило, h=1.05-1.2 d;
на фиг.2 (а-ж) представлена схема работы устройства за один цикл возвратно-поступательного движения ведущего звена;
на фиг.3 представлена конструкция устройства, где ведомое звено выполнено в виде колеса 6, ось вращения которого параллельна направлению движения ведущего звена;
на фиг.4 представлена конструкция устройства, где ведомое звено выполнено в виде колеса 7, ось вращения которого перпендикулярна направлению движения ведущего звена.
В устройстве для преобразования возвратно-поступательного движения в прерывисто-поступательное (фиг.1) ведущее звено – блок клиньев, состоит из двух встречно направленных клиньев, клин 1 и клин 2, жестко связанных между собой, которые смещены относительно друг друга на половину расстояния между элементами зацепления t/2. Каждый клин выполнен в виде многоугольной призме, в конкретном случае в виде прямой пятиугольной призмы, и имеет толщину H=0,9-1,0(t-d), где t – расстояние между элементами зацепления, d – диаметр элементов зацепления, при этом клинья смещены на минимальное расстояние (h), зависящее от размеров элементов зацепления. Минимальная длина каждого клина соответствует величине его хода вдоль элементов зацепления.
Упор 5 обеспечивает контакт ведущего звена с ведомым звеном при обратном ходе клиньев, что необходимо для сохранения кинематической связи. На планке 3 установлены в ряд с постоянным шагом t и жестко связаны с ней элементы зацепления 4 (ролики), оси которых перпендикулярны направлению хода клиньев.
Ведомое звено может быть выполнено в виде колеса 6, где ось вращения колеса параллельна направлению движения клиньев (фиг.3), или колеса 7, где ось вращения колеса перпендикулярна направлению движения клиньев (фиг.4).
Устройство согласно способу преобразования возвратно-поступательного движения работает следующим образом; за один цикл возвратно-поступательного движения ведущего звена – блока клиньев (фиг.2 а-ж):
1) первый элемент зацепления (ролик), упираясь во второй клин, находится в рабочей зоне первого клина (а),
2) при прямом ходе блока клиньев первый клин входит в контакт с первым элементом зацепления (б),
3) при дальнейшем движении первый клин, воздействуя своим скосом на первый ролик, передвигает планку (в),
4) передвинув планку на половину расстояния между элементами зацепления, первый клин фиксирует планку и выставляет первый ролик в рабочую зону второго клина (г),
5) при обратном ходе блока клиньев первый ролик входит в контакт с упором 5, а затем со вторым клином (д),
6) при дальнейшем движении второй клин, воздействуя своим скосом на первый ролик, передвигает планку (е),
7) передвинув планку на вторую половину расстояния между элементами зацепления, второй клин фиксирует планку и выставляет второй элемент зацепления в рабочую зону первого клина (ж) – конец цикла.
В следующих циклах движение планке передается контактом блока клиньев с соответствующими элементами зацепления.
Достоинством предложенного способа является непосредственное (без использования дополнительных звеньев и механизмов) преобразование возвратно-поступательного движения в прерывистое. Кроме того, изобретением обеспечивается сохранение кинематической связи ведущего и ведомого звеньев при обратном ходе ведущего звена, а также фиксация ведомого звена на время остановки. В результате чего удалось добиться значительного упрощения конструкции за счет исключения дополнительных передач и механизмов, что повышает надежность в эксплуатации, снижает стоимость и трудоемкость его изготовления.
Формула изобретения
1. Способ преобразования возвратно-поступательного движения, заключающийся в преобразовании движения ведущего звена-клина в ортогональное однонаправленное перемещение ведомого звена путем воздействия скосом клина на ведомое звено, отличающийся тем, что ведомое звено перемещают прерывисто путем поочередного воздействия скосов двух встречно-направленных клиньев ведущего звена на элементы зацепления ведомого звена, при этом перемещение производят на одинаковое расстояние при прямом и обратном ходе ведущего звена.
2. Способ по п.1, отличающийся тем, что после каждого перемещения ведомого звена соответствующий клин вводят между элементами зацепления и фиксируют ведомое звено при дальнейшем ходе ведущего звена.
3. Способ по п.1, отличающийся тем, что возвратно-поступательное движение ведущего звена преобразуют ортогонально в прерывисто-вращательное движение ведомого звена, ось вращения которого параллельна направлению движения ведущего звена.
4. Способ по пп.1 и 2, отличающийся тем, что возвратно-поступательное движение ведущего звена преобразуют ортогонально в прерывисто-вращательное движение ведомого звена, ось вращения которого перпендикулярна направлению движения ведущего звена.
5. Устройство для преобразования возвратно-поступательного движения, состоящее из клиновой передачи, содержащей ведущее и ведомое звенья, отличающееся тем, что ведущее звено выполнено в виде блока из двух встречно-направленных и жестко связанных между собой клиньев, ведомое звено выполнено в виде планки с установленными на одинаковом расстоянии друг от друга и жестко связанными с планкой элементами зацепления, при этом клинья смещены относительно друг друга на половину расстояния между элементами зацепления.
6. Устройство по п.5, отличающееся тем, что каждый клин выполнен в виде многоугольной призмы, толщиной H=0,9-1,0(t-d), где t – расстояние между элементами зацепления; d – диаметр элементов зацепления.
7. Устройство по п.5, отличающееся тем, что элементы зацепления ведомого звена имеют цилиндрическую форму (роликов).
8. Устройство по п.5, отличающееся тем, что ведомое звено выполнено в виде колеса, ось вращения которого параллельна направлению движения ведущего звена.
9. Устройство по пп.5 и 6, отличающееся тем, что ведомое звено выполнено в виде колеса, ось вращения которого перпендикулярна направлению движения ведущего звена.
10. Устройство по п.7, отличающееся тем, что ролики на планке выполнены в виде подшипников качения.
11. Устройство по п.7, отличающееся тем, что ролики на планке выполнены в виде сферических подшипников качения.
РИСУНКИ
|