|
|
(21), (22) Заявка: 2009139302/11, 26.10.2009
(24) Дата начала отсчета срока действия патента:
26.10.2009
(46) Опубликовано: 20.09.2010
(56) Список документов, цитированных в отчете о поиске:
RU 2300032 С1, 27.05.2007. SU 1772006 А1, 30.10.1992. US 2841019 А, 01.07.1958. ЕР 0459234 А1, 04.12.1991.
Адрес для переписки:
121165, Москва, Г-165, а/я 15, ООО “ППФ-ЮСТИС”
|
(72) Автор(ы):
Лебедьков Владимир Михайлович (RU), Лебедьков Константин Владимирович (RU)
(73) Патентообладатель(и):
Лебедьков Владимир Михайлович (RU), Лебедьков Константин Владимирович (RU)
|
(54) БЕССТУПЕНЧАТАЯ ТРАНСМИССИЯ, ВАРИАТОР, ОГРАНИЧИТЕЛЬ ДИАПАЗОНА ПЕРЕДАТОЧНЫХ ЧИСЕЛ И САТЕЛЛИТ
(57) Реферат:
Группа изобретений относится к машиностроению и касается бесступенчатой трансмиссии транспортных средств с фрикционным вариатором. Бесступенчатая трансмиссия содержит входной (3) и выходной (26) валы, планетарный многодисковый фрикционный вариатор, механизм реверсирования и управляемый ограничитель диапазона передаточных чисел. Вариатор включает установленный в корпусе эпицикл, выполненный в виде пакета попарно расположенных дисков (1) с внутренним касанием, пакет попарно расположенных солнечных дисков (2) с внешним касанием, водило, соединенное с выходным валом вариатора и включающее два диска, связанные с дисками оси с размещенными на них сателлитами в виде промежуточных дисков. Солнечные диски (2) размещены на выходном валу вариатора, соединенном с входным валом механизма реверсирования. Диски водила имеют фигурные пазы по числу осей сателлитов, а оси сателлитов связаны с фигурными пазами с возможностью изменения их положения и взаимодействия промежуточными дисками с солнечными дисками и дисками эпицикла. Каждый из солнечных дисков и дисков эпицикла имеет поперечное сечение формы, выбранной из ряда: Z-образная, неравнополочный уголок, тавр, двутавр, швеллер. Сателлиты имеют двояковыпуклую чечевичную форму. Механизм реверсирования содержит многопоточные повышающий редуктор и реверс-редуктор с общими промежуточными валами. Ограничитель диапазона передаточных чисел выполнен в виде кольцевого элемента с внутренней конусной поверхностью, установленного в корпусе с возможностью осевого перемещения и взаимодействия с роликами, связанными с балансирами. Достигается снижение массы, габаритов, увеличение срока службы и снижение требований к материалам трансмиссии и ее частей. 4 н. и 16 з.п. ф-лы, 10 ил.
Группа изобретений относится к машиностроению и касается бесступенчатой трансмиссии транспортных средств с фрикционным вариатором, а также ее частей – вариатора, управляемого ограничителя диапазона передаточных чисел и сателлита.
Существующие автоматические трансмиссии транспортных средств являются, в основном, гидравлическими и имеют очень низкий КПД. Механические же трансмиссии не являются автоматическими, имеют разрыв потока мощности к ведущему мосту в момент переключения передач и создают большую психомоторную нагрузку на водителя (в особенности в условиях городского движения).
От обоих недостатков свободна трансмиссия, построенная с использованием многодискового фрикционного вариатора. Наилучшими характеристиками среди вариаторов для данной области применения обладают многодисковые планетарные фрикционные вариаторы.
Из уровня техники известна адаптивная бесступенчатая передача (патент России 2138710 С1), содержащая входной и выходной валы, адаптивный дисковый планетарный фрикционный вариатор, механизм изменения жесткости характеристики. Планетарный фрикционный вариатор может быть и многодисковым (патент России 2140028 С1).
Приведенные аналоги обладают рядом недостатков: невозможность управления непосредственно передаточным числом, невысокая надежность пружин или большой отбор мощности для создания прижима с помощью сред под давлением, применение узлов вариатора для обеспечения реверсирования, что неоправданно увеличивает габариты конструкции и ее сложность в целом, сложность и ненадежность механизма адаптации, невозможность применения совместно с высокочастотными ДВС.
Так, передаточное число вариатора по RU 2140028 может быть либо больше 1 (в режиме редуцирования), либо меньше (в режиме мультиплицирования), при этом зависимость крайнего передаточного числа диапазона асимптотически стремится к 1, вариатор никогда в нормальных условиях работы не может обеспечивать «прямой ход», столь необходимый для автомобилей. Передаточное число 1 возможно либо при заклинивании внутренней пары трения, либо при стопорении водила относительно подвижного эпицикла. В таких случаях происходит аварийный износ тел качения, при этом включение прямого хода происходит рывком, что нежелательно для транспортных средств.
Механизм адаптации в этом вариаторе предназначен для изменения жесткости вариатора, а не для ограничения диапазона передаточных чисел, поэтому ничто не помешает автомобилю буксовать на льду или в иных дорожных условиях с низким коэффициентом сцепления колес с дорожным полотном вне зависимости от жесткости вариатора.
Известна бесступенчатая трансмиссия (патент России 2166138 С2), содержащая корпус, входной и выходной валы, планетарную передачу, многодисковый планетарный вариатор и механизм регулирования. Эта конструкция обладает следующим рядом недостатков:
отсутствие адаптивности, недостаточная надежность. /Суммирование двух потоков мощности, движущихся с разными скоростями, будет приводить к преждевременному износу пятен контакта. Особенно данный недостаток будет изнашивать диски в положении передачи «нейтраль» и «реверс», когда один поток мощности должен быть остановлен другим потоком до полной остановки выходного вала (положение «нейтраль»), либо когда выходной вал должен начать свое движение в противоположную сторону входному валу (положение «реверс»)/;
– недостаточная мощность /недостаточная суммарная площадь пятен контактов во фрикционных дисках на удельный объем вариатора, даже при усилии прижатия фрикционных дисков 1500 МПа/.
Наиболее близкой к предложенной является бесступенчатая трансмиссия (RU 2300032, опубл. 27.05 2007), содержащая входной и выходной валы, фрикционный вариатор и механизм реверсирования, причем она снабжена планетарным редуктором, солнечная шестерня которого закреплена на входном валу, его эпицикл закреплен на корпусе трансмиссии, фрикционный вариатор выполнен планетарным многодисковым, образует с планетарным редуктором модуль варьирования и включает установленный в корпусе трансмиссии эпицикл, выполненный в виде пакета дисков с внутренним касанием, солнечные диски, также выполненные в виде пакета дисков с внешним касанием, размещенных на выходном валу модуля варьирования, соединенного с входным валом механизма реверсирования, водило, соединенное с водилом планетарного редуктора и состоящее из двух дисков, соединенных друг с другом, осей с размещенными на них сателлитами в виде промежуточных дисков, диски водила имеют фигурные прорези по числу осей, и оси установлены в фигурных прорезях с возможностью изменения положения и взаимодействия промежуточными дисками с солнечными дисками и дисками эпицикла, пружины для прижатия друг к другу солнечных дисков и дисков эпицикла, и управляемый ограничитель диапазона передаточных чисел, при этом планетарный редуктор, планетарный многодисковый фрикционный вариатор и механизм реверсирования соосны друг другу. Наиболее близким к предложенному вариатору является фрикционный вариатор, являющийся частью известной бесступенчатой трансмиссии (см. там же).
Недостатком известных трансмиссии и вариатора является наличие толстостенных дисков с пружинными гнездами под винтовые пружины в солнечных и эпицикловых дисках, имеющих высокую массу и концентраторы напряжений на пружинных гнездах. При этом необходимо большое число винтовых пружин. Кроме того, имеет место высокий износ двоякоконических сателлитов.
Известен также управляемый ограничитель диапазона передаточных чисел, также являющийся частью известной трансмиссии (см. там же), состоящий из рычага, закрепленного на диске водила планетарного многодискового вариатора, двух упоров, каждый из которых установлен с возможностью перемещения в фигурном пазу диска водила, гидроцилиндра с рабочей жидкостью, которую перемещают между дисками водила посредством его пустотелых стяжных болтов. Ограничитель снабжен датчиком положения рычага.
Недостатком такого ограничителя является значительное число гидроцилиндров, сложность в изготовлении, требует большого числа деталей, изготовленных с высокой точностью.
Задачей предлагаемой группы изобретений является снижение массы, габаритов, увеличение срока службы и снижение требований к материалам трансмиссии и ее частей,
Технический результат, достигаемый предложенной трансмиссией и вариатором, является снижение массы, уменьшение числа пружин и повышение срока службы. Кроме того, обеспечение более эффективной редуцирующей кинематической схемы вариатора, позволяющей обойтись без входного редуктора. Массогабаритные характеристики трансмиссии улучшены также за счет применения многопоточного редуктора, не имеющего внутреннего зацепления, объединенного с реверс-редуктором, также не имеющего внутреннего зацепления.
Техническим результатом, достигаемым предложенным ограничителем диапазона передаточных чисел, является упрощение конструкции ограничителя.
Технический результат достигается тем, что в бесступенчатой трансмиссии, содержащей входной и выходной валы, планетарный многодисковый фрикционный вариатор, механизм реверсирования и управляемый ограничитель диапазона передаточных чисел, при этом указанный вариатор включает установленный в корпусе эпицикл, выполненный в виде пакета попарно расположенных дисков с внутренним касанием, пакет попарно расположенных солнечных дисков с внешним касанием, размещенных на входном валу вариатора, водило, соединенное с выходным валом вариатора, соединенным с входным валом механизма реверсирования, и включающее два диска, соединенных друг с другом, связанные с дисками оси с размещенными на них сателлитами в виде промежуточных дисков, диски водила имеют фигурные пазы по числу осей сателлитов, а оси сателлитов связаны с фигурными пазами с возможностью изменения их положения и взаимодействия промежуточными дисками с солнечными дисками и дисками эпицикла, пружины для прижатия солнечных дисков и дисков эпицикла к промежуточным дискам, установленные между дисками каждой пары, отличающейся тем, что каждый из солнечных дисков и дисков эпицикла имеет поперечное сечение формы, выбранной из ряда: Z-образная, неравнополочный уголок, тавр, двутавр, швеллер.
Предпочтительно пружины представляют собой диафрагменные пружины, которые установлены между дисками каждой пары пакетом из четного числа диафрагменных пружин, причем в каждом пакете лепестки пружин направлены в разные стороны к соседним сателлитам.
Кроме того, сателлиты имеют предпочтительно двояковыпуклую чечевичную форму.
Кроме того, каждая ось сателлитов установлена каждым своим концом на плече соответствующего поворотного рычага посредством подшипниковых опор, а на другом плече поворотного рычага установлен балансир с возможностью изменения его положения в соответствующем фигурном пазу, выполненном в соответствующем диске водила. При этом каждый диск водила состоит из двух шайб, связанных с возможностью углового смещения друг относительно друга, а каждый поворотный рычаг закреплен на одной из шайб, а в другой выполнены указанные фигурные пазы.
Кроме того, подшипниковые опоры выполнены в виде подшипников скольжения из углерод-углеродного материала, а именно композитного материала, в котором углерод присутствует в двух различных фазовых состояниях – в виде углеродной нити, обеспечивающей прочность и несущую способность, и графита, обеспечивающего антифрикционные свойства подшипника скольжения.
В трансмиссии механизм реверсирования содержит многопоточные повышающий редуктор и реверс-редуктор с общими промежуточными валами.
В трансмиссии ограничитель диапазона передаточных чисел выполнен в виде кольцевого элемента с внутренней конусной поверхностью, установленного в корпусе с возможностью осевого перемещения и взаимодействия с роликами, связанными с балансирами.
Технический результат достигается также в планетарном многодисковом фрикционном вариаторе, содержащем установленный в корпусе эпицикл, выполненный в виде пакета попарно расположенных дисков с внутренним касанием, пакет попарно расположенных солнечных дисков с внешним касанием, размещенных на входном валу вариатора, водило, соединенное с выходным валом вариатора и включающее два диска, соединенных друг с другом, связанные с дисками оси с размещенными на них сателлитами в виде промежуточных дисков, диски водила имеют фигурные пазы по числу осей сателлитов, а оси сателлитов связаны с фигурными пазами с возможностью изменения их положения и взаимодействия промежуточными дисками с солнечными дисками и дисками эпицикла, пружины для прижатия солнечных дисков и дисков эпицикла к промежуточным дискам, установленные между дисками каждой пары, отличающемся тем, что каждый из солнечных дисков и дисков эпицикла имеет поперечное сечение Z-образной формы,
Предпочтительно пружины представляют собой диафрагменные пружины, которые установлены между дисками каждой пары пакетом из четного числа диафрагменных пружин, причем в каждом пакете лепестки пружин направлены в разные стороны к соседним сателлитам.
Кроме того, сателлиты имеют двояковыпуклую чечевичную форму.
Кроме того, каждая ось сателлитов установлена каждым своим концом на плече поворотного рычага посредством подшипниковых опор, а на другом плече поворотного рычага установлен балансир с возможностью изменения его положения в соответствующем фигурном пазу, выполненном в соответствующем диске водила. При этом каждый диск водила состоит из двух шайб, связанных с возможностью углового смещения друг относительно друга, а каждый поворотный рычаг закреплен на одной из шайб, а в другой выполнены указанные фигурные пазы.
Кроме того, ограничитель диапазона передаточных чисел выполнен в виде кольцевого элемента с внутренней конусной поверхностью, установленного в корпусе с возможностью осевого перемещения и взаимодействия с роликами, связанными с балансирами.
Кроме того, подшипниковые опоры выполнены в виде подшипников скольжения из углерод-углеродного материала.
Технический результат достигается также ограничителем диапазона передаточных чисел планетарного многодискового фрикционного вариатора, выполненным в виде кольцевого элемента с внутренней конусной поверхностью, установленного в корпусе с возможностью осевого перемещения и взаимодействия с роликами, связанными с балансирами, установленными в фигурных пазах дисков водила и связанными посредством поворотных рычагов с осями сателлитов.
Технический результат достигается также выполнением сателлита для планетарного многодискового фрикционного вариатора двояковыпуклой чечевичной формы предпочтительно с нанесенным на его поверхность направленным хоном.
Предлагаемая группа изобретения иллюстрируется чертежами.
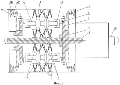
На фиг.1 показана принципиальная схема бесступенчатой трансмиссии (механизм реверсирования не изображен); на фиг.2 – принципиальная схема вариатора; на фиг.3 – принципиальная схема механизма реверсирования; на фиг.4 показано поперечное сечение диска эпицикла; на фиг.5 (а, б, в) изображен двояковыпуклый сателлит: а – поперечное сечение, б – фронтальный вид с канавками, в – то же, с одной канавкой; на фиг.6 – схема контакта сателлита с дисками; на фиг.7-10 показан ограничитель диапазона передаточных чисел в выключенном состоянии (фиг.7 и 8) и во включенном состоянии (фиг.9 и 10) в двух различных положениях осей сателлитов и для соответствующих передаточных чисел.
Трансмиссия состоит из вариатора по редукторной схеме и механизма реверсирования, включающего повышающий редуктор (мультипликатор) и реверс-редуктор.
В трансмиссии применен планетарный многодисковый фрикционный вариатор, который устроен следующим образом.
Вариатор (фиг.2) содержит установленный в корпусе трансмиссии эпицикл, выполненный в виде пакета дисков 1 с внутренним касанием, солнечные диски, также выполненные в виде пакета солнечных дисков 2 с внешним касанием, размещенных на входном валу 3 вариатора. Водило 4 вариатора соединено с выходным валом вариатора и состоит из двух дисков 5, соединенных стяжными болтами. Диски 5 водила 4 вариатора состоят каждый из двух шайб 6 и 7 каждый, связанных между собой с возможностью углового смещения. При этом на одной из шайб 6 закреплены посредством подшипников поворотные рычаги 8, а вторая шайба 7 имеет фигурные пазы 9. В каждом диске 5 выполнено от трех до шести фигурных пазов 9 по числу осей 10 сателлитов 11 вариатора. Оси 10 сателлитов посредством подшипниковых опор 12 закреплены на поворотных рычагах 8. Кроме того, на поворотных рычагах 8 установлены балансиры 13 с возможностью изменения их положения в фигурных пазах 9 в зависимости от соотношения частоты вращения и крутящего момента. Сателлиты 11 выполнены в виде промежуточных двояковыпуклых дисков чечевичной формы, закрепленных на осях 10, и взаимодействуют с солнечными дисками 2 и дисками 1 эпицикла. Диски 1 и 2 пакетов в данном случае выполнены с Z-образным поперечным сечением. Между тыльными сторонами попарно установленных дисков 1 эпицикла и между тыльными сторонами попарно установленных солнечных дисков 2 установлены пакеты пружин 14. Пружины 14 выполнены диафрагменными. Для разжатия пары дисков требуется пакет пружин 14 с лепестками, направленными в разные стороны. Каждый пакет диафрагменных пружин 14 создает усилие прижатия на двух фрикционных дисках пары.
Отличительные особенности предлагаемой конструкции от ближайшего аналога перечислены ниже.
1. Солнечные и эпицикловые диски 1 и 2 имеют в поперечном сечении Z-образную форму или иную профильную форму из ряда: неравнополочный уголок, тавр, двутавр, швеллер. Такая форма сечения диска уменьшает упругие деформации, которые по условиям работы детали являются переменными, а значит ведущими к усталостному износу и разрушению, и таким образом, повышает ресурс вариатора. Кроме того, данная форма диска, в отличие от толстостенного диска с пружинными гнездами, лишена концентраторов напряжений, которыми являются те самые пружинные гнезда и сильное негативное влияние которых было выявлено при изготовлении, сборке и испытаниях трансмиссии по патенту 2300032. По массе же диск такой формы близок к тонкостенному отбортованному и в заготовке может быть получен методами штамповки или литья. При разработке данной конструкции вариатора были построены эпюры напряжений и деформаций таких дисков, а также сделаны расчеты наиболее оптимальных углов конических поверхностей. Схема воспринимаемых нагрузок при работе диска показана на фиг.4 на примере диска Z-образной формы. F – сила прижима, обеспечиваемая пружинами. N – нормальная реакция со стороны поверхности конического диска, которая и обеспечивает силы трения, необходимые для работы вариатора.
2. Пружины 14, создающие усилие прижатия, выполнены диафрагменными (подобно пружине корзины сцепления автомобиля с ручной коробкой переключения передач). Диафрагменные пружины 14 не требуют выполнения пружинных гнезд в дисках 1 и 2.
Данные пружины отличаются значительно большим сроком службы – 106 циклов нагружения, чем тарельчатые – 104 циклов нагружения, и таких пружин требуется значительно меньше, чем винтовых (до 8 листов на пакет в отличие от 12 пружин на пакет).
Кроме того, диафрагменные пружины позволяют при наименьшей себестоимости (при доступных на сегодняшний день высокоточных методах обработки металла, таких как лазерная и гидроабразивная резка) реализовать пружины переменной жесткости, что позволяет избегать пережима при максимальных и минимальных передаточных числах вариатора.
Кроме того, требуется значительно меньшее число диафрагменных пружин по сравнению с винтовыми.
Кроме того, пакет диафрагменных пружин создает более равномерное прижимное усилие.
Диафрагменные пружины 14 расположены пакетами из нескольких листов, числом, кратным 2, при этом каждый пакет состоит из 2-х частей, расположенных опорными сторонами друг к другу. В каждой части минимум один лист пружин.
Пакеты диафрагменных пружин расположены между каждыми двумя фрикционными Z-образными дисками 1 или 2, расположенными тыльными сторонами друг к другу.
2. Сателлитные диски (сателлиты 11) имеют двояковыпуклую (чечевичную) форму (фиг.5). Основным местом износа вариатора являются пятна контакта дисков и основными причинами износа – высокая доля трения верчения, а также осушение поверхностей трения на высоких частотах под действием центробежных сил.
Известны попытки посредством формы сателлита модифицировать форму пятна контакта, например, патент 2091636, в которых сателлит имеет вогнутую коническую поверхность. Данное решение увеличивает площадь пятна контакта, позволяя передавать большее усилие на каждом пятне, но имеет существенный минус в том, что пятно контакта имеет заметно некруглую форму и с увеличением размеров становится все более вытянутым. Чем более вытянуто пятно, тем выше момент сопротивления, создаваемый трением верчения, и износ, вызванный этим же трением. Вытянутое пятно контакта начинает работать подобно двухперой фрезе, срезая материал рабочей поверхности. По этой причине предпочтительнее, чтобы сателлит имел выпуклые рабочие поверхности, что повышает КПД и срок службы вариатора.
Двояковыпуклые (чечевицеобразные) сателлиты обеспечивают повышенный ресурс дорожки качения. При нелинейной образующей рабочей поверхности сателлита, т.е. при сателлите, имеющем выпуклую или вогнутую форму, происходит распределение износа по разным дорожкам качения солнечных и эпицикловых дисков. Но наиболее изношенной будет дорожка, соответствующая наиболее часто используемому передаточному числу. На остальные придется лишь 20% износа. Для примера возьмем многополосную автодорогу – выкатана всегда крайняя левая полоса как наиболее часто используемая. С другой стороны, вариатор с вогнутыми дисками имеет повышенную долю трения верчения, ведущего к износу и можно предположить, что выигрыш в ресурсе составляет не двадцать, а лишь несколько процентов. В то время как для двояковыпуклых сателлитов сохраняется распределение износа, ведущее к понижению износа на единицу поверхности дорожки качения, но уменьшено трение верчения, съедающее полезный эффект.
И наконец, последний пункт преимуществ – повышенный диапазон варьирования. По сути, это уже упомянутое преимущество – уменьшенный радиальный ход при том же диапазоне варьирования. Так, при сохранении радиального хода постоянным возрастет диапазон варьирования. Но опять же выигрыш составляет менее 1%, и столь же незначительна потеря при повышении ресурса.
Основное же достоинство двояковыпуклой формы сателлита – снижение размеров пятна контакта на величины порядка 15%, но что более значительно – уменьшение идет в первую очередь по более вытянутому направлению пятна – окружному направлению рабочих дисков. Такое изменение несколько снижает пропускаемое усилие на каждом пятне контакта, на 2-3%, но повышает ресурс рабочих тел на 15-20%.
Кроме того, для работы вариатора в области высоких частот существенным является эффект осушения рабочих пятен. Если это происходит, появляется сухое трение с переходом к эффекту сверхскольжения, и возникает очень быстрый износ, в какой-то момент пропускная мощность стремительно падает до 0. Происходит это вследствие того, что вращающиеся диски (солнечные диски и сателлиты) скидывают с себя масло действием центробежных сил. Для предотвращения этого на поверхности дисков требуется нанести направленный хон – микрошероховатости и риски, которые при вращении будут играть роль центростремительного насоса, препятствующего разлетанию масла под действием центробежных сил. Соответственно, направление рисок (канавок) хона должно быть противоположно вращению дисков. В этом случае вариатор становится нереверсивным, т.е. может работать только в одном направлении, но обретает возможность работы в области высоких частот, что снижает массу и габариты.
3. Подшипниковые опоры 12 осей сателлитов.
Применение подшипников скольжения из углерод-углеродных материалов позволяет реализовать вариатор по редукторной схеме для двигателей с достаточно большими частотами вращения (до 6-8 тыс. об/мин), чего не удалось достичь даже с применением двухрядных игольчатых подшипников качения.
Основным ограничением для вариаторов такого типа являлась очень высокая нагрузка от центробежных сил, при частоте вращения входного вала 6000 об/мин частота вращения водила составляет более 4000 об/мин, а таким образом нагрузка от центробежных сил значительно превышает нагрузку от крутящего момента, которая сама по себе превышает допустимую для другого типа подшипников качения, кроме игольчатых. Это и послужило причиной разработки трансмиссии по патенту 2300032. Однако на сегодняшний день доступны подшипники скольжения, способные выдерживать нагрузки свыше 25 МПа при линейных скоростях более 15 м/с, что позволяет реализовать вариатор по редукторной схеме.
Предложенный вариатор по редукторной схеме является более высокочастотным при той же частоте вращения выходного звена, а значит более легким и компактным, ведь при равной пропускаемой мощности передаваемый крутящий момент тем меньше, чем выше частота. А именно от передаваемого момента зависит необходимая суммарная площадь пятен контакта, а значит и число рабочих тел вариатора, следовательно – габариты и масса.
При данной конструкции трансмиссии модуль варьирования может включать в себя только сам вариатор и входной редуктор. Но для большинства существующих ДВС и электромоторов входной редуктор не требуется, в этом случае модуль варьирования включает в себя только вариатор, как в предложенной трансмиссии.
Механизм реверсирования (фиг.3) включает в себя выходной редуктор и реверс-редуктор. При вариаторе, исполненном по редукторной схеме, выходной редуктор является повышающим, т.е. мультипликатором.
Выходной вал 15 вариатора и входной вал 16 механизма реверсирования соединены шлицевым соединением. Входной вал 3 вариатора является входным валом трансмиссии, а выходной вал 17 механизма реверсирования – ее выходным валом.
В предлагаемой конструкции реверсирование осуществляется с применением паразитных зубчатых колес, что снижает массогабаритные показатели по сравнению с реверс-редуктором с внутренним зацеплением. Повышающий редуктор и реверс-редуктор выполнены многопоточными с общими промежуточными валами. При этом, в частном случае, для реверс-редуктора реализован только один из потоков, так как по условиям применения при реверсивном режиме работы пропускаемая мощность значительно меньше.
С входным валом 16 механизма реверсирования связана шестерня 18 многопоточного редуктора, передающая крутящий момент на зубчатые колеса 19, связанные с промежуточными валами 20, на которые также установлены зубчатые колеса 21 и шестерни 22. Зубчатые колеса 21 передают крутящий момент на шестерню 23, а шестерни 22 передают крутящий момент на зубчатые колеса 24 через паразитные зубчатые колеса 25. Шестерни 23 и зубчатые колеса 24 могут быть связаны с выходным валом 26 посредством синхронизатора 27, тем самым можно выбирать передний либо задний ход.
Для применения на автомобиле заранее известно, что задним ходом автомобиль движется со значительно меньшей скоростью и потому требует значительно меньшей мощности для движения. Поэтому для реверс-редуктора реализован только один поток мощности, в то время как для мультипликатора – три потока.
Многопоточная схема позволяет уменьшить нагрузку на зубчатые колеса и подшипниковые опоры, тем самым снижая требования к свойствам материалов и позволяя применять более технологичные и дешевые материалы, т.е. снижать стоимость изделия.
Переключение направления вращения осуществляется переключением синхронизатора при выключенном сцеплении с двигателем автомобиля. Сцепление может быть дисковым, но более перспективным является применение гидромуфты или гидротрансформатора.
Перевод синхронизатора между положениями «передний ход», «нейтраль» и «задний ход» может быть осуществлен вручную с помощью переводного механизма. Однако в целях безопасности предпочтительнее использовать электроуправляемый привод с защитой от переключения при включенном сцеплении либо высоких оборотах двигателя (при гидравлическом сцеплении).
Предлагаемый ограничитель диапазона передаточных чисел представляет собой установленный в корпусе вариатора конусный кольцевой элемент 28 с внутренней конусной поверхностью и набор роликов 29. При этом ролики 29 связаны с балансирами 13 вариатора (либо являются их частью) и имеют возможность вращаться на собственных осях. Конусный кольцевой элемент 28 имеет возможность перемещаться вдоль оси вариатора и расположен соосно оси вращения вариатора. В процессе работы ролики 29 совершают движение по направляющим линиям конуса либо по окружностям меньшего радиуса, так как конус ограничивает только максимальное удаление от центра или приближение к нему. Таким образом, при ограничении «сверху» конус предотвращает движение роликов 29 по окружности свыше заданного радиуса, но не запрещает им передвинуться на любую меньшую окружность, тем самым ролики 29 отодвигаются от конуса и образуется зазор. Соответственно, установленный в заданное положение конусный кольцевой элемент 28 ограничивает диапазон передаточных чисел требуемой величиной, однако непосредственный контакт рабочих поверхностей происходит только при достижении этого передаточного числа, при меньших передаточных числах присутствует зазор, что уменьшает износ и увеличивает срок службы узла.
Таким образом, перемещая конусный кольцевой элемент 28 в осевом направлении, можно ограничивать максимальное верхнее либо максимальное нижнее положения балансиров 13 осей 10 вариатора, т.е. контролировать максимальное и минимальное передаточные числа.
Конусный кольцевой элемент 28 при этом имеет привод от линейного актуатора с гидравлическим или электромеханическим приводом и снабжен системой обратной связи, позволяющей контролировать положение конусного кольцевого элемента 28, а значит и предел диапазона передаточных чисел.
Предлагаемый ограничитель диапазона передаточных чисел напрямую ограничивает диапазоны передаточных чисел наибольшими величинами, что не позволяет колесу автомобиля развить максимальную частоту вращения при плохом коэффициенте сцепления колеса с дорожным полотном и начать пробуксовывать.
В предложенной трансмиссии предпочтительно использовать систему смазки картерного типа, при этом масло к трущимся поверхностям подается с помощью электромаслонасоса и посредством форсунок, установленных на центральном валу вариатора, а также на корпусе трансмиссии.
Подача масла с помощью электромаслонасоса является наиболее эффективной схемой, позволяющей не только подавать смазывающие вещества в достаточном количестве вне зависимости от частоты оборотов вала двигателя, но и даже избегать сухого пуска на старте, являющегося основной причиной износа любых механических систем с маслонасосом с приводом от главного вала.
Бесступенчатая трансмиссия работает следующим образом. Вращение от двигателя передается на входной вал 3 фрикционного вариатора, который передает усилие на солнечные диски 1. От солнечных дисков усилие передается на сателлиты 11, которые, отталкиваясь от эпициклов 2, передают усилие на оси 10 сателлитов 11. Оси 10 сателлитов 11 передают усилие на водило 4 посредством коромысел и балансиров 13. При этом под действием центробежных сил и сил от крутящего момента балансиры 13 стремятся занять равновесное положение, обеспечивающее такое положение осей 10 сателлитов 11 и самих сателлитов 11, при котором передаточное отношение оптимально. Солнечные диски 1 и диски 2 эпицикла прижаты пружинами 14. Таким образом, фрикционный контакт обеспечивается силами вязкого жидкостного трения в жидкости с высоким тяговым коэффициентом, применяемой в качестве смазки, силы прижатия обеспечиваются пружинами 14, при этом каждая пружина 14 создает усилие прижатия на два фрикционных диска, расположенных попарно. При этом передаточное число зависит от положения подшипниковых опор 12 осей 10 сателлитов 11, которое, в свою очередь, определяется соотношением центробежной силы и крутящего момента.
Таким образом, ось 10 сателлитов стремится занять то равновесное положение, которое в данный конкретный момент соответствует оборотам двигателя и скорости автомобиля в зависимости от загруженности автомобиля и дорожных условий. При покоящемся автомобиле с заглушенным двигателем оси 10 сателлитов 11 находятся по центру возможного диапазона передаточных отношений, определяемого фигурным пазом 9 в точке равновесия при равных нулю центробежной силе и силе от крутящего момента.
При страгивании, при малой частоте вращения входного вала сила от крутящего момента больше центробежной силы и перемещает оси 10 сателлитов по фигурному пазу 9 к центру, увеличивая передаточное число вариатора вплоть до максимально необходимых для страгивания передаточных чисел, нарастает передаточное число при этом практически мгновенно.
При разгоне после страгивания, по мере увеличения скорости автомобиля уменьшается сопротивление вращению со стороны выходного вала, значит уменьшается крутящий момент. Соотношение частоты оборотов водила 4 и крутящего момента изменяется, оси 10 сателлитов 11 постепенно удаляются от центра, передаточное число плавно уменьшается, стремясь к равновесному.
При нажатии на педаль газа происходит увеличение числа оборотов двигателя, увеличивается передаваемая мощность, но сильнее увеличивается крутящий момент, вызывая перемещение к центру осей 10 сателлитов 11 и увеличивая тем самым передаточное число. Данный момент аналогичен процессу страгивания. Далее следуют процессы, характерные для разгона.
При сбросе газа происходит уменьшение частоты вращения и передаваемой мощности.
Наиболее используемыми являются передаточные числа, близкие к 1. Большие передаточные числа используются, в основном, при разгоне, меньшие – при высокоскоростных либо очень экономичных режимах, а значит редко. Таким образом, наиболее используемый режим можно поместить подбором чисел редукторов практически в центр передаточного числа, где минимален пережим, а значит КПД наиболее высок. При частоте вращения входного вала от 800 до 6000 оборотов в минуту при мощности двигателя до 118 кВт (например, двигатели ЗМЗ 405, 406, 409) диапазон передаточных чисел вариатора от 4,17 до 0,81.
После рассмотренной выше ситуации видно, что адаптивность (самоприспосабливаемость) вариатора автоматическая и нет необходимости управлять передаточными числами вариатора. Если же по дорожным условиям есть необходимость ограничить передаточное число, включается управляемый ограничитель диапазона передаточных чисел.
При необходимости ограничения диапазона передаточных чисел предлагаемый ограничитель передаточных чисел напрямую ограничивает диапазоны передаточных чисел наибольшими величинами, что не позволяет колесу автомобиля развить максимальную частоту вращения при плохом коэффициенте сцепления колеса с дорожным полотном и начать буксовать.
Механизм реверсирования работает следующим образом.
Крутящий момент от выходного вала 15 вариатора передается входному валу 16 объединенного мультипликатора и реверс-редуктора. С входным валом 16 связана шестерня 18, передающая крутящий момент на зубчатые колеса 19 промежуточных валов 20. По промежуточным валам 20 крутящий момент передается на зубчатые колеса 21 второй ступени мультипликатора и шестерни 22 второй ступени реверс-редуктора. Зубчатые колеса 21 второй ступени мультипликатора передают крутящий момент на выходную шестерню 23 мультипликатора, которая может быть посредством синхронизатора 27 связана с выходным валом 26. Шестерни 22 второй ступени реверс-редуктора передают крутящий момент на паразитные зубчатые колеса 25, обеспечивающие реверсирование направления движения и передающие крутящий момент на выходное зубчатое колесо 24 реверс-редуктора, которое может быть посредством синхронизатора 27 связано с выходным валом 26. Таким образом, положение синхронизатора 27 определяет, связан ли выходной вал 26 с выходной шестерней 23 мультипликатора или с выходным зубчатым колесом 24 реверс-редуктора, либо же ни с одним из них и находится в положении «нейтраль». При этом мультипликатор и реверс-редуктор имеют общую первую ступень (16, 18, 19, 20), но различные вторые ступени.
При разгоне после страгивания, по мере увеличения скорости автомобиля, передаточное число плавно уменьшается, стремясь к наименьшему при равновесном состоянии осей сателлитов (при очень хороших дорожных условиях равному 0,81 0,85).
При сбросе оборотов двигателя автомобиля уменьшение частоты вращения и передаваемой мощности и, как следствие, переход осей сателлитов в другое равновесное состояние с увеличением передаточного числа.
Формула изобретения
1. Бесступенчатая трансмиссия, содержащая входной и выходной валы, планетарный многодисковый фрикционный вариатор, механизм реверсирования и управляемый ограничитель диапазона передаточных чисел, при этом указанный вариатор включает установленный в корпусе эпицикл, выполненный в виде пакета попарно расположенных дисков с внутренним касанием, пакет попарно расположенных солнечных дисков с внешним касанием, размещенных на входном валу вариатора, водило, соединенное с выходным валом вариатора и включающее два диска, соединенных друг с другом, связанные с дисками оси с размещенными на них сателлитами в виде промежуточных дисков, диски водила имеют фигурные пазы по числу осей сателлитов, а оси сателлитов связаны с фигурными пазами с возможностью изменения их положения и взаимодействия промежуточными дисками с солнечными дисками и дисками эпицикла, пружины для прижатия солнечных дисков и дисков эпицикла к промежуточным дискам, установленные между дисками каждой пары, при этом каждый из солнечных дисков и дисков эпицикла имеет поперечное сечение формы, выбранной из ряда: Z-образная, неравнополочный уголок, тавр, двутавр, швеллер.
2. Трансмиссия по п.1, отличающаяся тем, что пружины представляют собой диафрагменные пружины, которые установлены между дисками каждой пары пакетом из четного числа диафрагменных пружин, причем в каждом пакете лепестки пружин направлены в разные стороны к соседним сателлитам.
3. Трансмиссия по п.1, отличающаяся тем, что сателлиты имеют двояковыпуклую чечевичную форму.
4. Трансмиссия по п.1, отличающаяся тем, что сателлиты выполнены с поверхностью, на которую нанесен направленный хон.
5. Трансмиссия по п.1, отличающаяся тем, что каждая ось сателлитов установлена каждым своим концом на плече соответствующего поворотного рычага посредством подшипниковых опор, а на другом плече поворотного рычага установлен балансир с возможностью изменения его положения в соответствующем фигурном пазе, выполненном в соответствующем диске водила.
6. Трансмиссия по п.5, отличающаяся тем, что каждый диск водила состоит из двух шайб, связанных с возможностью углового смещения относительно друг друга, а каждый поворотный рычаг закреплен на одной из шайб, а в другой выполнены указанные фигурные пазы.
7. Трансмиссия по п.5, отличающаяся тем, что подшипниковые опоры выполнены в виде подшипников скольжения из углерод-углеродного материала.
8. Трансмиссия по п.1, отличающаяся тем, что механизм реверсирования содержит многопоточные повышающий редуктор и реверс-редуктор с общими промежуточными валами.
9. Трансмиссия по п.5, отличающаяся тем, что ограничитель диапазона передаточных чисел выполнен в виде кольцевого элемента с внутренней конусной поверхностью, установленного в корпусе с возможностью осевого перемещения и взаимодействия с роликами, связанными с балансирами.
10. Планетарный многодисковый фрикционный вариатор, содержащий установленный в корпусе эпицикл, выполненный в виде пакета попарно расположенных дисков с внутренним касанием, пакет попарно расположенных солнечных дисков с внешним касанием, размещенных на входном валу вариатора, соединенном с входным валом механизма реверсирования, водило, соединенное с выходным валом вариатора и включающее два диска, соединенных друг с другом, связанные с дисками оси с размещенными на них сателлитами в виде промежуточных дисков, диски водила имеют фигурные пазы по числу осей сателлитов, а оси сателлитов связаны с фигурными пазами с возможностью изменения их положения и взаимодействия промежуточными дисками с солнечными дисками и дисками эпицикла, пружины для прижатия солнечных дисков и дисков эпицикла к промежуточным дискам, установленные между дисками каждой пары, при этом каждый из солнечных дисков и дисков эпицикла имеет поперечное сечение формы, выбранной из ряда: Z-образная, неравнополочный уголок, тавр, двутавр, швеллер.
11. Вариатор по п.10, отличающийся тем, что пружины представляют собой диафрагменные пружины, которые установлены между дисками каждой пары пакетом из четного числа диафрагменных пружин, причем в каждом пакете лепестки пружин направлены в разные стороны к соседним сателлитам.
12. Вариатор по п.10, отличающийся тем, что сателлиты имеют двояковыпуклую чечевичную форму.
13. Вариатор по п.10, отличающийся тем, что сателлиты выполнены с поверхностью, на которую нанесен направленный хон.
14. Вариатор по п.10, отличающийся тем, что каждая ось сателлитов установлена каждым своим концом на плече поворотного рычага посредством подшипниковых опор, а на другом плече поворотного рычага установлен балансир с возможностью изменения его положения в соответствующем фигурном пазу, выполненном в соответствующем диске водила.
15. Вариатор по п.14, отличающийся тем, что каждый диск водила состоит из двух шайб, связанных с возможностью углового смещения относительно друг друга, а каждый поворотный рычаг закреплен на одной из шайб, а в другой выполнены указанные фигурные пазы.
16. Вариатор по п.14, отличающийся тем, что ограничитель диапазона передаточных чисел выполнен в виде кольцевого элемента с внутренней конусной поверхностью, установленного в корпусе с возможностью осевого перемещения и взаимодействия с роликами, связанными с балансирами.
17. Вариатор по п.11, отличающийся тем, что подшипниковые опоры выполнены в виде подшипников скольжения из углерод-углеродного материала.
18. Ограничитель диапазона передаточных чисел планетарного многодискового фрикционного вариатора, выполненный в виде кольцевого элемента с внутренней конусной поверхностью, установленного в корпусе с возможностью осевого перемещения и взаимодействия с роликами, связанными с балансирами, установленными в фигурных пазах дисков водила и связанными посредством поворотных рычагов с осями сателлитов.
19. Сателлит планетарного многодискового фрикционного вариатора, имеющий двояковыпуклую чечевичную форму.
20. Сателлит по п.19, отличающийся тем, что его поверхность имеет нанесенный на нее хон.
РИСУНКИ
|
|