|
|
(21), (22) Заявка: 2009127464/11, 16.07.2009
(24) Дата начала отсчета срока действия патента:
16.07.2009
(46) Опубликовано: 20.09.2010
(56) Список документов, цитированных в отчете о поиске:
SU 1551898 А1, 23.03.1990. US 5470283 А, 28.11.1995. GB 1265557 А, 01.03.1972. US 1748907 А, 25.02.1930.
Адрес для переписки:
427622, Удмуртия, г. Глазов, ул. Кирова, д. 36 (филиал ИжГТУ), Ф.И.Плеханову
|
(72) Автор(ы):
Плеханов Федор Иванович (RU), Овсянников Алексей Владимирович (RU)
(73) Патентообладатель(и):
Государственное образовательное учреждение высшего профессионального образования “Ижевский государственный технический университет” (RU)
|
(54) ПЛАНЕТАРНАЯ ПЕРЕДАЧА
(57) Реферат:
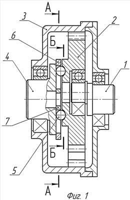
Изобретение относится к машиностроению, в частности к механическим передачам. Планетарная передача содержит ведущее эксцентриковое водило (1), сателлит (2) с внешними зубьями, неподвижное центральное колесо (3) с внутренними зубьями и ведомый вал (4). Сателлит (2) выполнен с косыми пазами на торцовой поверхности. Ведомый вал (4) выполнен с радиально расположенными пазами на торцовой поверхности. Шарики (5), расположены в пазах сателлита (2) и ведомого вала (4). Изобретение позволяет упростить конструкцию планетарной передачи. 3 ил.
Изобретение относится к области машиностроения, в частности к механическим передачам, и может быть использовано во всех отраслях народного хозяйства.
Известна планетарная передача, содержащая ведущее эксцентриковое водило, сателлит с внешними зубьями, неподвижное центральное колесо с внутренними зубьями, ведомый вал и соединительные звенья, связывающие сателлит с ведомым валом [1] (прототип).
Недостатком этой передачи является ее сложность из-за большого количества сложных в изготовлении соединительных звеньев, выполненных в виде дисков и изогнутых осей.
Целью данного изобретения является упрощение конструкции передачи.
Для достижения этой цели в планетарной передаче, содержащей ведущее эксцентриковое водило, сателлит с внешними зубьями, неподвижное центральное колесо с внутренними зубьями, ведомый вал и соединительные звенья, сателлит с внешними зубьями выполнен с косыми пазами на торцовой поверхности, ведомый вал выполнен с радиально расположенными пазами на торцовой поверхности, а соединительные звенья выполнены в виде шариков, расположенных в пазах сателлита с внешними зубьями и ведомого вала.
Упрощение конструкции достигается за счет использования стандартных шариков в качестве соединительных звеньев.
На фиг.1 показан общий вид передачи в разрезе, на фиг.2 – вид по А-А на фиг.1, на фиг.3 – сечение Б-Б на фиг.1.
Передача содержит ведущее эксцентриковое водило 1, сателлит с внешними зубьями 2, неподвижное центральное колесо с внутренними зубьями 3, ведомый вал 4, соединительные звенья – шарики 5, ограничительные кольца 6, 7.
Ведомый вал 4 выполнен с радиальными пазами на торцовой поверхности, расположенными равномерно и имеющими цилиндрическую поверхность (фиг.2). Сателлит с внешними зубьями 2 выполнен с косыми пазами на торцовой поверхности, причем пазы расположены равномерно под углом к радиусам и имеют цилиндрическую форму (фиг.3).
Соединительные звенья – шарики 5 расположены в пазах сателлита с внешними зубьями 2 и ведомого вала 4. Сателлит с внешними зубьями 2 установлен подвижно на ведущем эксцентриковом водиле 1 и входит в зацепление с неподвижным центральным колесом с внутренними зубьями 3.
Планетарная передача работает следующим образом.
Вращательное движение от ведущего эксцентрикового водила 1 передается сателлиту с внешними зубьями 2, а от него через соединительные звенья – шарики 5 – ведомому валу 4. Смещение оси сателлита с внешними зубьями 2 относительно оси ведомого вала 4 в процессе работы передачи обеспечивается тем, что пазы на поверхности сателлита с внешними зубьями 2 расположены под углом к радиальным пазам ведомого вала 4.
Источники информации
1. Кудрявцев В.Н. Планетарные передачи. М.-Л.: Машиностроение, 1966. – с.11, рис.6 в, г (прототип).
Формула изобретения
Планетарная передача, содержащая ведущее эксцентриковое водило, сателлит с внешними зубьями, неподвижное центральное колесо с внутренними зубьями, ведомый вал и соединительные звенья, отличающаяся тем, что сателлит с внешними зубьями выполнен с косыми пазами на торцовой поверхности, ведомый вал выполнен с радиально расположенными пазами на торцовой поверхности, а соединительные звенья выполнены в виде шариков, расположенных в пазах сателлита с внешними зубьями и ведомого вала.
РИСУНКИ
|
|