|
| На основании пункта 1 статьи 1366 части четвертой Гражданского кодекса Российской Федерации патентообладатель обязуется заключить договор об отчуждении патента на условиях, соответствующих установившейся практике, с любым гражданином Российской Федерации или российским юридическим лицом, кто первым изъявил такое желание и уведомил об этом патентообладателя и федеральный орган исполнительной власти по интеллектуальной собственности. |
|
(21), (22) Заявка: 2009133991/11, 11.09.2009
(24) Дата начала отсчета срока действия патента:
11.09.2009
(46) Опубликовано: 20.09.2010
(56) Список документов, цитированных в отчете о поиске:
SU 1594326 A1, 23.09.1990. RU 2279587 C1, 10.07.2006. GB 411343 A, 07.06.1934. JP 11218186 A, 10.08.1999.
Адрес для переписки:
123458, Москва, ул. Твардовского, 11, кв.92, О.С. Кочетову
|
(72) Автор(ы):
Кочетов Олег Савельевич (RU), Баранов Евгений Федорович (RU)
(73) Патентообладатель(и):
Кочетов Олег Савельевич (RU)
|
(54) ВИБРОИЗОЛЯТОР ДЛЯ СУДОВОЙ ЭНЕРГЕТИЧЕСКОЙ УСТАНОВКИ
(57) Реферат:
Изобретение относится к транспортному машиностроению и может быть использовано для виброизоляции судовых энергетических установок. Виброизолятор содержит основание, упругие и демпфирующие элементы. Основание посредством крепежных элементов соединяется с перегородкой судна через вибродемпфирующий элемент, жесткость которого больше жесткости упругого элемента. Упругий элемент состоит из пружины, ось которой перпендикулярна основанию, и нижнего и верхнего ограничителей хода пружины, выполненных из эластомера. Пружина взаимодействует с ограничителями через нижний опорный стакан и верхнюю охватывающую пружину крышку. Верхняя крышка жестко соединена с резьбовой втулкой, соединенной посредством винта с каркасом. Вибродемпфирующий элемент расположен между резьбовой втулкой и каркасом. Пружина расположена в корпусе, который жестко связан с основанием и соединен с крышкой. На торцевой поверхности крышки закреплен ограничитель хода каркаса, выполненный из эластомера. Достигается повышение эффективности виброизоляции. 1 ил.
Изобретение относится к транспортному машиностроению и может быть использовано для виброизоляции судовых энергетических установок.
Наиболее близким техническим решением к заявленному объекту является виброизолятор по авторскому свидетельству СССР 1594326, F16F 15/06, содержащий корпус, упругий и демпфирующий элементы (прототип).
Недостатком известного устройства является недостаточная эффективность на резонансе из-за отсутствия нелинейного демпфирования колебаний.
Технический результат – повышение эффективности виброизоляции.
Это достигается тем, что в виброизоляторе для судовой энергетической установки, содержащем основание, упругие и демпфирующие элементы, основание посредством крепежных элементов соединяется с перегородкой судна через вибродемпфирующий элемент, жесткость которого больше жесткости упругого элемента, состоящего из пружины, ось которой перпендикулярна основанию, и нижнего и верхнего ограничителей хода пружины, выполненных из эластомера, при этом пружина взаимодействует с ограничителями через нижний опорный стакан и верхнюю, охватывающую пружину, крышку, которая жестко соединена с резьбовой втулкой, соединенной посредством винта с каркасом судовой энергетической установки, на котором закреплен вибродемпфирующий элемент, расположенный между резьбовой втулкой и каркасом, а пружина расположена в корпусе, жестко связанном с основанием, и соединенным с крышкой, на торцевой поверхности которой, обращенной в сторону вибродемпфирующего элемента, соединенного с каркасом, закреплен ограничитель хода каркаса судовой энергетической установки, выполненный из эластомера.
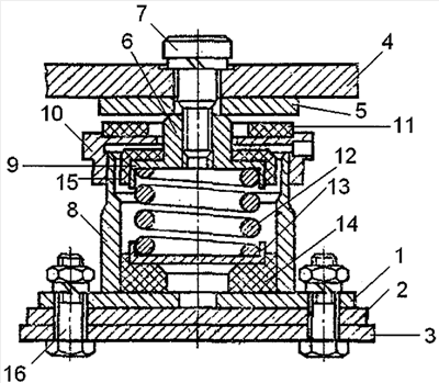
На чертеже представлен фронтальный разрез виброизолятора.
Виброизолятор для судовой энергетической установки содержит основание 1, которое посредством крепежных элементов 16 соединяется с перегородкой 3 судна (на чертеже не показано) через вибродемпфирующий элемент 2, жесткость которого больше жесткости упругого элемента, состоящего из пружины 12, ось которой перпендикулярна основанию 1, и нижнего 14 и верхнего 15 ограничителей хода пружины 12, выполненных из эластомера. Пружина 12 взаимодействует с ограничителями через нижний опорный стакан 13 и верхнюю, охватывающую пружину, крышку 9, которая жестко соединена с резьбовой втулкой 6, соединенной посредством винта 7 с каркасом 4 судовой энергетической установки (на чертеже не показано), на котором закреплен вибродемпфирующий элемент 5, расположенный между резьбовой втулкой 6 и каркасом 4 судовой энергетической установки. Пружина 12 расположена в корпусе 8, жестко связанном с основанием 1 и соединенным с крышкой 10, на торцевой поверхности которой, обращенной в сторону вибродемпфирующего элемента 5, соединенного с каркасом 4 судовой энергетической установки, закреплен ограничитель 11 хода каркаса 4 судовой энергетической установки, выполненный из эластомера.
Виброизолятор для судовой энергетической установки работает следующим образом. При колебаниях виброизолируемого объекта, установленного на каркасе 4, пружина 12 воспринимает вертикальные нагрузки, ослабляя тем самым динамическое воздействие на перекрытия и перегородки каркаса судна (на чертеже не показано), или борт летательного аппарата, или мобильного транспортного средства. Нелинейное демпфирование в системе осуществляется за счет наличия нижнего 14 и верхнего 15 ограничителей хода пружины 12, выполненных из эластомера. Горизонтальные колебания гасятся за счет нестесненного (с зазором) расположения нижнего опорного стакана 13 пружины 12 и верхней, охватывающей пружину крышки 9.
Формула изобретения
Виброизолятор для судовой энергетической установки, содержащий основание, упругие и демпфирующие элементы, отличающийся тем, что основание посредством крепежных элементов соединяется с перегородкой судна через вибродемпфирующий элемент, жесткость которого больше жесткости упругого элемента, состоящего из пружины, ось которой перпендикулярна основанию, и нижнего и верхнего ограничителей хода пружины, выполненных из эластомера, при этом пружина взаимодействует с ограничителями через нижний опорный стакан и верхнюю охватывающую пружину крышку, которая жестко соединена с резьбовой втулкой, соединенной посредством винта с каркасом судовой энергетической установки, на котором закреплен вибродемпфирующий элемент, расположенный между резьбовой втулкой и каркасом, а пружина расположена в корпусе, жестко связанном с основанием и соединенном с крышкой, на торцевой поверхности которой, обращенной в сторону вибродемпфирующего элемента, соединенного с каркасом, закреплен ограничитель хода каркаса судовой энергетической установки, выполненный из эластомера.
РИСУНКИ
|
|