|
| На основании пункта 1 статьи 1366 части четвертой Гражданского кодекса Российской Федерации патентообладатель обязуется заключить договор об отчуждении патента на условиях, соответствующих установившейся практике, с любым гражданином Российской Федерации или российским юридическим лицом, кто первым изъявил такое желание и уведомил об этом патентообладателя и федеральный орган исполнительной власти по интеллектуальной собственности. |
|
(21), (22) Заявка: 2009133985/11, 11.09.2009
(24) Дата начала отсчета срока действия патента:
11.09.2009
(46) Опубликовано: 20.09.2010
(56) Список документов, цитированных в отчете о поиске:
RU 2279587 C1, 10.07.2006. SU 1594326 A1, 23.09.1990. GB 411343 A, 07.06.1934. JP 11218186 A, 10.08.1999.
Адрес для переписки:
123458, Москва, ул. Твардовского, 11, кв.92, О.С. Кочетову
|
(72) Автор(ы):
Кочетов Олег Савельевич (RU), Баранов Евгений Федорович (RU)
(73) Патентообладатель(и):
Кочетов Олег Савельевич (RU)
|
(54) КОРАБЕЛЬНАЯ ВИБРОИЗОЛИРОВАННАЯ НАДСТРОЙКА
(57) Реферат:
Изобретение относится к средствам защиты надстройки от вибрации судна. Надстройка содержит опорный жесткий каркас, являющийся опорной поверхностью для системы виброизоляции. Система виброизоляции выполнена каскадной и включает в себя виброизоляторы нижних ярусов надстройки и вибродемпфирующие элементы верхних ярусов, а также капитанского мостика. Нижний ярус надстройки жестко соединен с четырьмя виброизоляторами, которые закреплены на корабельной переборке подводной части судна с виброизолированным движителем. Надстройка связана с корабельной переборкой посредством четырех упругодемпфирующих элементов. Виброизолятор состоит из пружины, ось которой перпендикулярна основанию, и нижнего и верхнего ограничителей хода пружины, выполненных из эластомера. Пружина взаимодействует с ограничителями через нижний опорный стакан и верхнюю охватывающую пружину крышку. Верхняя крышка жестко соединена с резьбовой втулкой, соединенной посредством винта с каркасом. Вибродемпфирующий элемент расположен между резьбовой втулкой и каркасом. Пружина расположена в корпусе, который жестко связан с основанием и соединен с крышкой. На торцевой поверхности крышки закреплен ограничитель хода каркаса, выполненный из эластомера. Достигается повышение эффективности виброизоляции и упрощение конструкции. 2 ил.
Изобретение относится к средствам защиты надстройки от вибрации судна.
Наиболее близким техническим решением к заявляемому объекту является система виброизоляции, содержащая коробчатое основание с упругими горизонтальными упорами и жесткую опорную плиту, установленную на основании посредством упругих элементов (патент РФ 2279587 – прототип).
Недостатками прототипа являются: сравнительно невысокая эффективность виброизоляции в вертикальном направлении за счет фрикционного трения в упругих элементах; сложность конструкции подвеса, выполненного по всему периметру основания.
Технический результат – повышение эффективности виброизоляции и упрощение конструкции.
Это достигается тем, что в корабельной виброизолированной надстройке, содержащей опорный жесткий каркас, являющийся опорной поверхностью для системы виброизоляции, связывающей ее с основанием подводной части судна, система виброизоляции состоит из каскадной системы, включающей в себя виброизоляторы нижних ярусов надстройки и вибродемпфирующие элементы верхних ярусов, а также капитанского мостика, причем нижний ярус надстройки жестко соединен с, по крайней мере, четырьмя виброизоляторами, которые в свою очередь закреплены на корабельной переборке подводной части судна с виброизолированным движителем, причем надстройка связана с корабельной переборкой посредством, по крайней мере, четырех упругодемпфирующих элементов, например, выполненных из прорезиненного троса, которые также выполняют функцию предохранительных элементов, сдерживающих амплитуду колебаний надстройки в определенных пределах в чрезвычайных ситуациях, например, при сильном шторме, а виброизолятор состоит из пружины, ось которой перпендикулярна основанию, и нижнего и верхнего ограничителей хода пружины, выполненных из эластомера, при этом пружина взаимодействует с ограничителями через нижний опорный стакан и верхнюю охватывающую пружину крышку, которая жестко соединена с резьбовой втулкой, соединенной посредством винта с каркасом, на котором закреплен вибродемпфирующий элемент, расположенный между резьбовой втулкой и каркасом, а пружина расположена в корпусе, жестко связанном с основанием и соединенном с крышкой, на торцевой поверхности которой, обращенной в сторону вибродемпфирующего элемента, соединенного с каркасом, закреплен ограничитель хода каркаса, выполненный из эластомера.
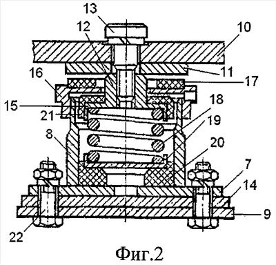
На фиг.1 изображена общая схема корабельной виброизолированной надстройки, на фиг.2 – фронтальный разрез виброизолятора.
Корабельная виброизолированная надстройка (фиг.1) состоит из каскадной системы виброизоляции 6, включающей в себя виброизоляторы 5 нижних ярусов 3 надстройки и вибродемпфирующие элементы 4 верхних ярусов, а также капитанского мостика.
Нижний ярус надстройки жестко соединен с, по крайней мере, четырьмя виброизоляторами 5, которые в свою очередь закреплены на корабельной переборке подводной части 1 судна с виброизолированным движителем 2 (не показано). Надстройка 3 связана с корабельной переборкой посредством, по крайней мере, четырех упругодемпфирующих элементов, например, выполненных из прорезиненного троса, которые также выполняют функцию предохранительных элементов, сдерживающих амплитуду колебаний надстройки в определенных пределах в чрезвычайных ситуациях, например при сильном шторме.
Виброизолятор (фиг.2) содержит основание 7, которое посредством крепежных элементов 22 соединяется с перегородкой 9 судна (не показано) через вибродемпфирующий элемент 8, жесткость которого больше жесткости упругого элемента, состоящего из пружины 18, ось которой перпендикулярна основанию 7, и нижнего 20 и верхнего 21 ограничителей хода пружины 18, выполненных из эластомера. Пружина 18 взаимодействует с ограничителями через нижний опорный стакан 19 и верхнюю охватывающую пружину крышку 15, которая жестко соединена с резьбовой втулкой 12, соединенной посредством винта 13 с каркасом 10 судовой энергетической установки (не показано), на котором закреплен вибродемпфирующий элемент 11, расположенный между резьбовой втулкой 12 и каркасом 10 судовой энергетической установки. Пружина 18 расположена в корпусе 14, жестко связанном с основанием 7 и соединенном с крышкой 16, на торцевой поверхности которой, обращенной в сторону вибродемпфирующего элемента 11, соединенного с каркасом 10 судовой энергетической установки, закреплен ограничитель 17 хода каркаса 10 судовой энергетической установки, выполненный из эластомера.
Корабельная виброизолированная надстройка работает следующим образом.
При колебаниях надстройки, установленной на опорном каркасе 1, пружина 18 воспринимает вертикальные нагрузки, ослабляя тем самым динамическое воздействие на оператора. Нелинейное демпфирование в системе осуществляется за счет наличия нижнего 20 и верхнего 21 ограничителей хода пружины 18, выполненных из эластомера. Горизонтальные колебания гасятся за счет нестесненного (с зазором) расположения нижнего опорного стакана 19 пружины 18 и верхней охватывающей пружину крышки 15.
Формула изобретения
Корабельная виброизолированная надстройка, содержащая опорный жесткий каркас, являющийся опорной поверхностью для системы виброизоляции, связывающей ее с основанием подводной части судна, отличающаяся тем, что система виброизоляции состоит из каскадной системы, включающей в себя виброизоляторы нижних ярусов надстройки и вибродемпфирующие элементы верхних ярусов, а также капитанского мостика, причем нижний ярус надстройки жестко соединен с, по крайней мере, четырьмя виброизоляторами, которые, в свою очередь, закреплены на корабельной переборке подводной части судна с виброизолированным движителем, причем надстройка связана с корабельной переборкой посредством, по крайней мере, четырех упругодемпфирующих элементов, например выполненных из прорезиненного троса, которые также выполняют функцию предохранительных элементов, сдерживающих амплитуду колебаний надстройки в определенных пределах в чрезвычайных ситуациях, например при сильном шторме, а виброизолятор состоит из пружины, ось которой перпендикулярна основанию, и нижнего и верхнего ограничителей хода пружины, выполненных из эластомера, при этом пружина взаимодействует с ограничителями через нижний опорный стакан и верхнюю охватывающую пружину крышку, которая жестко соединена с резьбовой втулкой, соединенной посредством винта с каркасом, на котором закреплен вибродемпфирующий элемент, расположенный между резьбовой втулкой и каркасом, а пружина расположена в корпусе, жестко связанном с основанием и соединенном с крышкой, на торцевой поверхности которой, обращенной в сторону вибродемпфирующего элемента, соединенного с каркасом, закреплен ограничитель хода каркаса, выполненный из эластомера.
РИСУНКИ
|
|