|
|
(21), (22) Заявка: 2008127619/11, 07.07.2008
(24) Дата начала отсчета срока действия патента:
07.07.2008
(43) Дата публикации заявки: 20.01.2010
(46) Опубликовано: 20.09.2010
(56) Список документов, цитированных в отчете о поиске:
SU 1698525 A1, 15.12.1991. SU 466351 A1, 09.07.1975. FR 2665234 A1, 31.01.1992. US 4552344 A, 12.11.1985.
Адрес для переписки:
644050, г.Омск, пр. Мира, 11, ГОУ ВПО ОмГТУ, информационно-патентный отдел, О.И. Бабенко
|
(72) Автор(ы):
Хамитов Рустам Нуриманович (RU), Аверьянов Геннадий Сергеевич (RU)
(73) Патентообладатель(и):
Государственное образовательное учреждение высшего профессионального образования “Омский государственный технический университет” (RU)
|
(54) ПНЕВМОПРУЖИНА С ЖИДКОСТНЫМ УПЛОТНЕНИЕМ ПОРШНЯ
(57) Реферат:
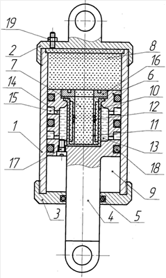
Изобретение относится к машиностроению, в частности к конструкциям однотрубных телескопических газожидкостных пневмопружин. Пневмопружина содержит резервуар (1), размещенные в нем шток (4) с поршнем (6), уплотнительный элемент (5) штока (4). Поршень (6) образует в рабочей полости резервуара (1) надпоршневую (8) и подпоршневую (9) полости. Поршень (6) имеет на боковой поверхности набор кольцевых канавок (15). В одних канавках (15) размещены уплотнительные кольца (18), а в других – жидкостное уплотнение. Внутри выемки (7) расположены эластичный цилиндрический стакан (10) и втулка (11), имеющая на боковой поверхности сквозные отверстия (12). Камера (13) для жидкости сообщается с помощью каналов (14) с канавками (15), расположенными на боковой поверхности поршня (6). Элемент крепления (16) с центральным отверстием фиксирует эластичный цилиндрический стакан (10) и втулку (11) в выемке (7). Дополнительный клапан (17) на поршне (6) со стороны штока (4) служит для зарядки камеры (13) для жидкости. Достигается повышение эффективности гашения колебаний и надежности работы пневмопружины при длительных высоких нагрузках. 1 ил.
Изобретение относится к машиностроению, в частности к конструкциям однотрубных телескопических газожидкостных пневмопружин.
Известна пневматическая рессора (патент СССР 366626, М.кл. F16F 9/02, B60G 11/26), содержащая цилиндр с уплотнением на конце, расположенный в цилиндре поршень и поршневой шток.
К основным недостаткам устройства относится то, что при длительных высоких нагрузках при повышенных давлениях масса газа проникает из надпоршневого пространства в подпоршневое пространство, при этом снижается ход пневматической рессоры, т.е. эффективность и надежность работы устройства резко снижается.
Известна также пневмопружина (а.с. СССР 1698525, М.кл. F16F 9/02), содержащая резервуар, расположенный в нем поршень, поршневой шток и уплотнительные элементы штока.
К основным недостаткам устройства относится то, что поршень не имеет уплотняющих элементов, поэтому при длительных высоких нагрузках при повышенных давлениях масса газа проникает из надпоршневой полости в подпоршневую полость. Вследствие этого происходит постоянное аккумулирование энергии сжатого газа в подпоршневой полости, что приводит к уменьшению динамического хода пневмопружины, т.е. снижается эффективность гашения колебаний и надежность работы пневмопружины.
Задачей предлагаемого изобретения является повышение эффективности гашения колебаний и надежности работы пневмопружины при длительных высоких нагрузках.
Поставленная задача достигается тем, что в пневмопружине с жидкостным уплотнением поршня, содержащей резервуар, размещенные в нем шток с поршнем, образующим в рабочей полости резервуара надпоршневую и подпоршневую полости, уплотнительный элемент штока, согласно изобретению поршень имеет на боковой поверхности набор кольцевых канавок, в одних канавках размещены уплотнительные кольца, в других – жидкостное уплотнение поршня, выемку в своей центральной части, в которой размещены камера для жидкости, сообщающаяся каналами с кольцевыми канавками с жидкостным уплотнением поршня, эластичный цилиндрический стакан, контактирующий с одной стороны с камерой для жидкости, с другой стороны – с газовой средой надпоршневой полости пневмопружины, втулку, фиксирующую эластичный цилиндрический стакан внутри выемки и имеющую на боковой поверхности набор сквозных отверстий, элемент крепления с центральным отверстием, а также дополнительный клапан со стороны штока для зарядки камеры для жидкости.
Сущность изобретения поясняется чертежом, где представлена предложенная пневмопружина с жидкостным уплотнением поршня.
Пневмопружина с жидкостным уплотнением поршня содержит резервуар 1, имеющий верхнюю крышку 2 и нижнюю крышку 3, служащую направляющей для штока 4, в которой помещен уплотняющий элемент 5 штока 4. Поршень 6 имеет выемку 7 в своей центральной части и образует в резервуаре 1 надпоршневую полость 8 и подпоршневую полость 9. Внутри выемки 7 расположены эластичный цилиндрический стакан 10, втулка 11, имеющая на боковой поверхности сквозные отверстия 12, камера 13 для жидкости, сообщающаяся с помощью каналов 14 с канавками 15 с жидкостным уплотнением поршня 6, расположенными на боковой поверхности поршня 6, элемент крепления 16 с центральным отверстием, фиксирующим эластичный цилиндрический стакан 10 и втулку 11 в выемке 7. Поршень 6 также со стороны штока 4 имеет дополнительный клапан 17 для зарядки рабочей жидкостью камеры 13 для жидкости, а на своей боковой поверхности набор кольцевых канавок с уплотняющими кольцами 18. На верхней крышке 2 расположен клапан 19 для зарядки газом под давлением пневмопружины. Для крепления пневмопружины с подрессоренной и неподрессоренной массами конкретного механизма верхняя крышка 2 и шток 4 имеют проушины.
Пневмопружина с жидкостным уплотнением поршня работает следующим образом.
После ее сборки и заправки камеры 13 рабочей жидкостью и резервуара 1 газом под давлением шток 4 под действием давления сжатого газа на поршень 6 выталкивается с определенным усилием наружу через направляющую нижнюю крышку 3, чем обеспечивается функционирование в конкретном механизме. При повышенных давлениях газа в надпоршневой полости 8 и выемке 7 газ проникает через сквозные отверстия 12 втулки 11 и усиливает давление на стенки эластичного цилиндрического стакана 10. За счет этого повышается давление жидкости в камере 13, каналах 14, повышается давление жидкостного уплотнения поршня в канавках 15, что препятствует проникновению газа под высоким давлением из надпоршневой полости 8 в подпоршневую полость 9 и сохраняет первоначальную массу газа в полости 8. Чем выше давление в надпоршневой полости 8, тем выше давление жидкостного уплотнения поршня в каналах 15.
Таким образом, при высоких нагрузках на жидкостные уплотняющие элементы поршня действуют повышенные силы, препятствующие проникновению газа высокого давления из надпоршневой полости в подпоршневую полость, причем значение этих сил зависит от величины давления газа в надпоршневой полости. Это ведет к повышению эффективности гашения колебаний и надежности работы пневмопружины при длительных высоких нагрузках.
Формула изобретения
Пневмопружина, содержащая резервуар, размещенные в нем шток с поршнем, образующим в рабочей полости резервуара надпоршневую и подпоршневую полости, уплотнительный элемент штока, отличающаяся тем, что поршень имеет на боковой поверхности набор кольцевых канавок, в одних канавках размещены уплотнительные кольца, в других – жидкостное уплотнение поршня, выемку в своей центральной части, в которой размещены камера для жидкости, сообщающаяся каналами с кольцевыми канавками с жидкостным уплотнением поршня, эластичный цилиндрический стакан, контактирующий с одной стороны с камерой для жидкости, с другой стороны – с газовой средой надпоршневой полости пневмопружины, втулку, фиксирующую эластичный цилиндрический стакан внутри выемки и имеющую на боковой поверхности набор сквозных отверстий, элемент крепления с центральным отверстием, а также дополнительный клапан со стороны штока для зарядки камеры для жидкости.
РИСУНКИ
|
|