|
|
(21), (22) Заявка: 2009114640/06, 17.04.2009
(24) Дата начала отсчета срока действия патента:
17.04.2009
(46) Опубликовано: 20.09.2010
(56) Список документов, цитированных в отчете о поиске:
RU 2123122 C1, 10.12.1998. RU 2188330 C2, 27.08.2002. RU 2240432 C1, 20.11.2004. US 5794573 A, 18.08.1998. US 6349679 В1, 26.02.2002.
Адрес для переписки:
625039, г.Тюмень, ул. Холодильная, 13, кв.139, В.А. Милль
|
(72) Автор(ы):
Милль Владимир Александрович (RU)
(73) Патентообладатель(и):
Милль Владимир Александрович (RU)
|
(54) ПЛАСТИНЧАТАЯ МАШИНА МИЛЛЬ
(57) Реферат:
Изобретение относится к машиностроению. Пластинчатая машина содержит цилиндрический корпус с торцевыми крышками и с впускными и выпускными каналами. Внутри корпуса установлен вал с возможностью вращения. На валу с образованием рабочих камер закреплены рабочие элементы. Пластинчатая машина дополнительно содержит маховик, шестерню, шатун и кулису. Кулиса жестко закреплена на валу и взаимосвязана с шатуном. Шатун взаимодействует с шестерней, находящейся в зацеплении с маховиком. Пластинчатая машина содержит две перегородки с впускными и выпускными каналами, жестко закрепленные на внутренней поверхности цилиндрического корпуса по всей длине, расположенные равномерно и параллельно оси вращения. В поперечном сечении перегородки представляют собой равнобедренную трапецию. Во впускные и выпускные каналы перегородок и цилиндрического корпуса установлены клапаны. Рабочие элементы жестко закреплены по всей длине вала и представляют собой две рабочие пластины, которые снабжены герметизирующими элементами. Техническим результатом является повышение надежности, увеличение ресурса, упрощение конструкции и уменьшение габаритных размеров машины. 2 з.п.ф-лы, 2 ил.
Изобретение относится к машиностроению и может быть использовано в двигателях внутреннего сгорания, насосах, компрессорах.
Известна «Роторная машина», содержащая цилиндрический корпус со свечой зажигания и с всасывающими и выхлопными отверстиями, внутри которого установлен вал, на котором с образованием рабочих камер закреплены рабочие элементы, цилиндрический корпус снабжен торцевыми крышками (а.с.SU 1752991 A1, F01C 1/063, опубл. 07.08.1992).
Недостатком вышеуказанной установки является недолговечность конструкции, большие габариты и низкий КПД.
Наиболее близким техническим решением является «Ротационно-пластинчатый двигатель внутреннего сгорания», содержащий цилиндрический корпус с торцевыми крышками и с впускными и выпускными окнами, внутри которого на подшипниках установлен вал, на котором с образованием рабочих камер закреплены рабочие элементы (Патент RU 2338904 C1, F02B 53/08, 55/16, опубл. 20.11.2008).
Недостатком вышеуказанного двигателя внутреннего сгорания является сложность конструкции и низкий КПД.
Предлагаемое нами техническое решение повышает надежность, увеличивает машиноресурс, имеет упрощенную конструкцию и уменьшенные габаритные размеры.
Поставленная цель достигается тем, что пластинчатая машина содержит цилиндрический корпус с торцевыми крышками и с впускными и выпускными каналами, внутри которого установлен вал с возможностью вращения, на котором с образованием рабочих камер закреплены рабочие элементы, также пластинчатая машина дополнительно содержит маховик, шестерню, шатун, кулису, жестко закрепленную на валу и взаимосвязанную с шатуном, который взаимодействует с шестерней, находящейся в зацеплении с маховиком, две перегородки с впускными и выпускными каналами, жестко закрепленные на внутренней поверхности цилиндрического корпуса по всей длине, расположенные равномерно и параллельно оси вращения, в поперечном сечении которые представляют собой равнобедренную трапецию, клапаны, установленные во впускные и выпускные каналы перегородок и цилиндрического корпуса, рабочие элементы жестко закреплены по всей длине вала и представляют собой две рабочие пластины, которые снабжены герметизирующими элементами. Кроме того, пластинчатая машина дополнительно содержит газораспределительный механизм, взаимодействующий с клапанами, свечи зажигания, установленные с возможностью обеспечения возгорания топливной смеси, и внешний источник запуска, взаимодействующий с маховиком, или она дополнительно содержит внешний источник вращения, взаимодействующий с маховиком.
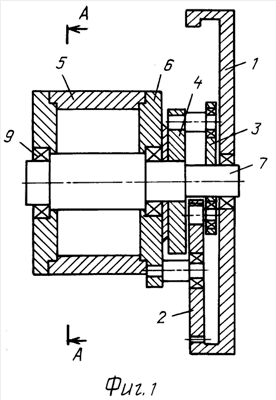
На фиг.1 изображена пластинчатая машина в разрезе, на фиг.2 изображен разрез А-А.
Пластинчатая машина содержит маховик 1, шестерню 2, шатун 3, кулису 4, цилиндрический корпус 5 с впускными и выпускными каналами и с торцевыми крышками 6, внутри которого установлен вал 7 с возможностью вращения.
На валу 7 с образованием рабочих камер жестко закреплены рабочие элементы, а также жестко закреплена кулиса 4, которая взаимосвязана с шатуном 3, закрепленным на шестерне 2 с возможностью вращения, т.е. взаимодействует с шестерней 2, при этом шестерня 2 находится в зацеплении с маховиком 1.
Рабочие элементы жестко закреплены по всей длине вала 7 и представляют собой две рабочие пластины 8, которые снабжены герметизирующими элементами (не показано).
Вал 7 установлен с возможностью вращения в торцевых крышках 6, например, в подшипниках 9.
На внутренней поверхности цилиндрического корпуса 5 по всей длине жестко закреплены и расположены параллельно оси вращения и равномерно две перегородки 10 с впускными и выпускными каналами. Перегородки 10 в поперечном сечении представляют собой равнобедренную трапецию. Впускные и выпускные каналы перегородок 10 расположены соосно впускным и выпускным каналам цилиндрического корпуса 5, то есть они взаимосвязаны, и в них установлены клапаны (не показано).
Внутренний объем цилиндрического корпуса 5 посредством вала 7 с рабочими пластинами 8 и перегородок 10 разделяется на две рабочие камеры, в каждой из которых в процессе движения рабочих пластин 8 от одной перегородке к другой образуются две рабочие полости. В процессе перемещения рабочей пластины 8 от одной перегородки 10 к другой перегородке 10 с одной стороны рабочей пластины 8 образуется одна рабочая полость, в которой осуществляется процесс разрежения, который влечет за собой всасывание рабочей среды извне через впускные каналы, одновременно с другой стороны рабочей пластины 8 образуется другая рабочая полость, в которой осуществляется процесс сжатия рабочей среды до заданной степени сжатия, который влечет за собой отвод рабочей среды из рабочей полости через выпускные каналы.
Впускные и выпускные каналы перегородок 10 и цилиндрического корпуса 5 обеспечивают перекачивание рабочей среды извне в рабочую полость и обратно.
Рабочая среда представляет собой жидкость, газообразную смесь в виде топливной смеси и т.п.
Пластинчатый двигатель внутреннего сгорания дополнительно содержит газораспределительный механизм, взаимодействующий с клапанами, свечи зажигания и внешний источник запуска, взаимодействующий с маховиком 1.
Газораспределительный механизм расположен с возможностью обеспечения регулирования и работы клапанов, а именно подачи топливной смеси в рабочую полость и отвод из нее.
Свечи зажигания установлены в перегородках 10 и в цилиндрическом корпусе 5 с возможностью обеспечения возгорания топливной смеси.
Внешний источник запуска представляет собой, например, стартер (не показано).
Пластинчатый насос или компрессор дополнительно содержит внешний источник вращения (не показано), например, двигатель, взаимодействующий с маховиком 1.
Пластинчатая машина работает следующим образом.
Известными средствами и способами приводят в движение маховик 1, который посредством шестерни 2, шатуна 3 и кулисы 4 поворачивает вал 7 с рабочими пластинами 8 вокруг оси вращения.
Рабочие пластины 8 перемещаются от одной перегородки 10 к другой перегородке 10.
При движении рабочей пластины 8 от первой перегородки 10 между ними образуется одна рабочая полость, в которой начинается процесс разрежения и открываются клапаны, расположенные во впускных каналах. Рабочая среда извне через впускные каналы поступает вовнутрь этой рабочей полости. Одновременно с другой стороны рабочей пластины 8, а именно между рабочей пластиной 8 и второй перегородкой 10, к которой она движется, образуется вторая рабочая полость, в которой начинается процесс сжатия. При этом клапан, расположенный в выпускном канале, закрыт. Движение рабочей пластины 8 относительно оси вращения и от одной перегородки 10 к другой перегородке 10 ограничивает кулиса 4, которая срабатывает, если рабочая среда сжимается до заданной степени сжатия. В процессе сжатия рабочей среды давление во второй рабочей полости возрастает до заданного значения, достигнув которое начинается выход рабочей среды из второй рабочей полости через выпускной канал, и после этого начинается движение рабочей пластины 8 в обратном направлении к первой перегородке 10.
Цикл повторяется.
В случае, когда пластинчатая машина работает как пластинчатый двигатель внутреннего сгорания, то приводят в движение маховик 1 до начала рабочего цикла посредством внешнего источника запуска и начинается режим работы пластинчатого двигателя внутреннего сгорания.
Когда давление во второй рабочей полости возрастет до заданного значения (в конце процесса сжатия) срабатывают свечи зажигания и начинается движение рабочей пластины 8 в обратном направлении, то есть к первой перегородке 10.
Цикл повторяется.
В случае, когда пластинчатая машина работает как пластинчатый насос или компрессор, то приводят в движение маховик 1 посредством внешнего источника вращения и дальше, как описано выше в работе устройства.
Предлагаемая пластинчатая машина позволяет при меньших габаритных размерах в 2,5 раза, чем у обычных двигателей внутреннего сгорания с обычными габаритными размерами, и за счет упрощении конструкции и уменьшения количества деталей, например, вместо четырех цилиндров мы используем один с четырьмя рабочими полостями, соответственно вместо четырех шатунов мы используем один, обеспечить ту же мощность, увеличить рабочий машиноресурс, повысить надежность эксплуатации.
Предлагаемое устройство просто в изготовлении, в монтаже и обслуживании, надежно и экономично в эксплуатации, при изготовлении предлагаемого устройства использовались комплектующие, выпускающиеся как на территории РФ, так и за рубежом.
Формула изобретения
1. Пластинчатая машина, содержащая цилиндрический корпус с торцевыми крышками и с впускными и выпускными каналами, внутри которого установлен вал с возможностью вращения, на котором с образованием рабочих камер закреплены рабочие элементы, отличающаяся тем, что она дополнительно содержит маховик, шестерню, шатун, кулису, жестко закрепленную на валу и взаимосвязанную с шатуном, который взаимодействует с шестерней, находящейся в зацеплении с маховиком, две перегородки с впускными и выпускными каналами, жестко закрепленные на внутренней поверхности цилиндрического корпуса по всей длине, расположенные равномерно и параллельно оси вращения, в поперечном сечении которые представляют собой равнобедренную трапецию, клапаны, установленные во впускные и выпускные каналы перегородок и цилиндрического корпуса, рабочие элементы жестко закреплены по всей длине вала и представляют собой две рабочие пластины, которые снабжены герметизирующими элементами.
2. Пластинчатая машина по п.1, отличающаяся тем, что она дополнительно содержит газораспределительный механизм, взаимодействующий с клапанами, свечи зажигания, установленные с возможностью обеспечения возгорания топливной смеси и внешний источник запуска, взаимодействующий с маховиком.
3. Пластинчатая машина по п.1, отличающаяся тем, что она дополнительно содержит внешний источник вращения, взаимодействующий с маховиком.
РИСУНКИ
|
|