Патент на изобретение №2399766

Published by on




РОССИЙСКАЯ ФЕДЕРАЦИЯ



ФЕДЕРАЛЬНАЯ СЛУЖБА
ПО ИНТЕЛЛЕКТУАЛЬНОЙ СОБСТВЕННОСТИ,
ПАТЕНТАМ И ТОВАРНЫМ ЗНАКАМ
(19) RU (11) 2399766 (13) C1
(51) МПК

E21D23/00 (2006.01)

(12) ОПИСАНИЕ ИЗОБРЕТЕНИЯ К ПАТЕНТУ

Статус: по данным на 08.10.2010 – действует

(21), (22) Заявка: 2009118678/03, 18.05.2009

(24) Дата начала отсчета срока действия патента:

18.05.2009

(46) Опубликовано: 20.09.2010

(56) Список документов, цитированных в отчете о
поиске:
RU 2190765 С2, 10.10.2002. SU 208616 A1, 17.01.1968. SU 861637 A1, 07.09.1981. SU 1229362 A1, 07.05.1986. SU 1696722 A1, 07.12.1991. SU 1765447 A1, 30.09.1992. UA 31450 U, 10.04.2008.

Адрес для переписки:

650610, г.Кемерово, ГСП-610, ул. Рукавишникова, 21, ИУУ СО РАН, В.Е. Ануфриеву

(72) Автор(ы):

Ануфриев Виктор Евгеньевич (RU),
Крамин Денис Николаевич (RU)

(73) Патентообладатель(и):

Институт угля и углехимии Сибирского отделения Российской академии наук (ИУУ СО РАН) (RU)

(54) СПОСОБ ДЕМОНТАЖА МЕХАНИЗИРОВАННОГО КОМПЛЕКСА ОЧИСТНОГО ЗАБОЯ

(57) Реферат:

Изобретение относится к горному делу, а именно к способу демонтажа механизированного комплекса очистного забоя, и может быть использовано при механизированной выемке пластовых месторождений. Техническим результатом является устранение формирования повышенного горного давления над демонтажной выработкой. Способ демонтажа механизированного комплекса очистных забоев включает проведение одной или нескольких демонтажных выработок между вентиляционной и конвейерной подготовительными выработками до подхода механизированного комплекса, крепление их подхватами и двухуровневой анкерной крепью, перетяжку кровли в зоне демонтажа, установку проколот, ввод механизированного комплекса в подготовленные демонтажные выработки и демонтаж его. Причем из одной из демонтажных выработок с наклоном 75-80° к горизонту навстречу движущемуся очистному забою обуривают основную кровлю и заполняют скважины раствором невзрывчатой минеральной композиции, содержащей цементный компонент, способный расширяться в процессе его гидратации с развитием избыточного давления, превышающего сопротивление растяжению основной кровли. 1 з.п. ф-лы, 4 ил.

Изобретение относится к горному делу и может быть использовано при демонтаже очистных механизированных комплексов.

Известен способ демонтажа очистных механизированных комплексов, включающий вывод механизированного комплекса к демонтажной камере, установку на одном из ее флангов защитных секций, поочередное извлечение секций крепи из-под настила, разворот и транспортировку их по ходку с помощью демонтажной лебедки (авторское свидетельство СССР 861637, кл. E21D 23/00, заявлено 03.01.1980 г., опубликовано в 1981 г., Б. 33).

Недостатками указанного способа являются значительный расход лесоматериалов, большая трудоемкость работ и отсутствие возможности ускорения демонтажа.

Наиболее близким к изобретению по технической сущности и достигаемому результату является способ демонтажа механизированного комплекса очистных забоев, включающий проведение демонтажной выработки между вентиляционной и конвейерной подготовительными выработками (штреками) до подхода механизированного комплекса, крепление ее подхватами и двухуровневой анкерной крепью, перетяжку кровли в зоне демонтажа, установку проколот, ввод механизированного комплекса в демонтажную выработку с последующим демонтажем его по известной схеме (Геомеханическое состояние приконтурного массива демонтажной камеры. Под ред. д.т.н., проф. В.Ю. Изаксона. – Кемерово: ООО «РАНК», 2008. – С.6-21).

Недостатком известного способа является то, что в условиях неполного подбучивания основной кровли пласта непосредственной механизированная крепь до ввода в демонтажную выработку и после ее ввода деформируется в режиме заданных нагрузки и деформаций, вследствие чего у нерабочего борта демонтажной выработки формируется «уступ» от сдвижения основной кровли на величину, близкую к величине неподбучивания основной кровли. В результате этого «зеркало» выдвижения штоков гидростоек механизированного комплекса может уменьшиться до нуля и отдельные секции крепи окажутся посаженными «насухо», что затруднит их демонтаж. Следует отметить, что данный недостаток будет характерен известному способу независимо от того, сколько в нем используется демонтажных выработок – одна, две или несколько. Такое выполнение известного способа демонтажа приведено, например, в заявках на изобретения РФ 2007109995 от 19.03.2007 г. и 2007141241 от 06.11.2007 г. «Способ демонтажа механизированных комплексов», являющихся, по сути, вариантами известного способа.

Техническим результатом изобретения является повышение эффективности способа демонтажа при формировании у нерабочего борта демонтажной выработки «уступа» от сдвижения основной кровли при частичном подбучивании ее.

Предложен способ демонтажа механизированного комплекса очистного забоя, включающий проведение одной или нескольких демонтажных выработок между вентиляционной и конвейерной подготовительными выработками до подхода механизированного комплекса, крепление их подхватами и двухуровневой анкерной крепью, перетяжку кровли в зоне демонтажа, установку проколот, ввод механизированного комплекса в подготовленные демонтажные выработки и демонтаж его.

Отличием является то, что из одной из демонтажных выработок с наклоном 75-80° к горизонту навстречу движущемуся очистному забою обуривают основную кровлю и заполняют скважины невзрывчатой композицией, содержащей цементный компонент, способный расширяться в процессе его гидратации с развитием избыточного давления, превышающего сопротивление растяжению основной кровли.

Другим отличием является то, что избыточное давление невзрывчатой композиции принято 50-150 МПа.

В результате проведенной обработки в основной кровле образуются трещины, совпадающие по ориентации с трассой пробуренных скважин.

При подходе очистного забоя поверхности ослабления стимулируют образование сплошной области дезинтеграции пород над лавой и посадку основной кровли перед демонтажной выработкой. Это устраняет возможность формирования повышенного горного давления над демонтажной выработкой, вызванного значительным консольным зависанием основной кровли в условиях ее недостаточного подбучивания непосредственной кровлей.

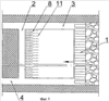
Сущность изобретения поясняется чертежами, где на фиг.1 показана подготовка выемочного участка к демонтажу комплекса с проведением одной демонтажной выработки, на фиг.2 – то же, с проведением двух демонтажных выработок, на фиг.3 – разрез по I-I на фиг.1, на фиг.4 показан ввод механизированного комплекса в демонтажную выработку.

Подготовка выемочного участка к демонтажу механизированного комплекса 1 производится заблаговременно при приближении очистного забоя на расстояние 200-400 м до места демонтажа. Способ демонтажа включает проведение одной или двух демонтажных выработок 2 между вентиляционным 3 и конвейерным 4 штреками. Крепление демонтажных выработок осуществляют подхватами 5 и двухуровневой анкерной крепью. В качестве подхватов используют, например, верхняки типа СВП-17 длиной 4 м, в качестве анкеров 6 первого уровня – комбинированные анкеры типа АКМ 20-01 длиной 2,4 м, а в качестве анкеров 7 второго уровня – канатные анкеры типа АК02 длиной 8 м. В зависимости от горно-геологических и горно-технических условий плотность установки двухуровневой анкерной крепи можно менять. При неблагоприятных горногеологических условиях крепление висячего бока может быть усилено. В лавный борт демонтажной выработки на расстоянии 500 мм от кровли бурят скважины и вставляют в них проколоты 8, в качестве которых используют подхваты типа СВП-17 длиной 4,2 м, концы которых подшивают к кровле с помощью канатных анкеров 9 длиной 6 м. Начиная с расстояния 4 м до лавного борта демонтажной выработки, при вскрытии находящихся у кровли проколотов подвешивают решетчатую перетяжку 10 и заводят ее между секциями крепи и кровлей.

После проведения и крепления демонтажных выработок, если их несколько, из ближайшей к очистному забою демонтажной выработки с наклоном 75-80° к горизонту навстречу движущемуся очистному забою в основную кровлю бурят скважины 11 длиной 15-20 м и заполняют их раствором невзрывчатой минеральной композиции, содержащей цементный компонент. В процессе гидратации этого компонента и в процессе твердения композиция расширяется, при этом увеличение объема сопровождается ростом избыточного давления. Состав невзрывчатой минеральной композиции выбирают из условия, чтобы в процессе его гидратации избыточное давление превысило сопротивление растяжению основной кровли пласта, т.е. 50-150 МПа. Данному требованию удовлетворяет, например, невзрывчатая разрушающая смесь, выпускаемая ООО «А-ИНЖ» (г.Красноярск), рабочие невзрывчатые смеси НРС-1 и СИГБ (п.Красково Московской области) и др. Указанные составы предназначены для разрушения объектов в стесненных условиях: в действующих цехах, вблизи зданий и сооружений, транспортных магистралей, промышленных коммуникаций, населенных пунктов и т.д. Состав не требует никаких видов энергии. В заявленном случае невзрывчатая смесь используется для управления горным давлением в подземных условиях. В результате воздействия смеси в горном массиве основной кровли пласта развиваются напряжения, превышающие предельные сопротивления растяжению. Присутствующие в окрестностях различные трещины сужаются, образуются новые трещины разрыва и сдвига. При приближении лавы в ее предельно-напряженной зоне опорного давления вновь образованные вокруг скважин 11 трещины развиваются, смыкаются с трещинами соседних скважин, что приводит к образованию поврежденных трещинами зон, совпадающих по их ориентации с трассой скважин. При подходе лавы поверхности ослабления стимулируют образование сплошной области дезинтеграции пород кровли, ориентированной над лавой вдоль ее трассы и посадку основной кровли перед демонтажной выработкой. Таким образом, устраняется возможность формирования повышенного горного давления над демонтажной выработкой, вызванного значительным консольным зависанием основной кровли в условиях ее недостаточного подбучивания породами непосредственной кровли.

Демонтаж механизированного комплекса очистного забоя осуществляют далее по обычной схеме.

Формула изобретения

1. Способ демонтажа механизированного комплекса очистных забоев, включающий проведение одной или нескольких демонтажных выработок между вентиляционной и конвейерной подготовительными выработками до подхода механизированного комплекса, крепление их подхватами и двухуровневой анкерной крепью, перетяжку кровли в зоне демонтажа, установку проколот, ввод механизированного комплекса в подготовленные демонтажные выработки и демонтаж его, отличающийся тем, что из одной из демонтажных выработок с наклоном 75-80° к горизонту навстречу движущемуся очистному забою обуривают основную кровлю и заполняют скважины раствором невзрывчатой минеральной композиции, содержащей цементный компонент, способный расширяться в процессе его гидратации с развитием избыточного давления, превышающего сопротивление растяжению основной кровли.

2. Способ по п.1, отличающийся тем, что избыточное давление невзрывчатой композиции принято 50-150 МПа.

РИСУНКИ

Categories: BD_2399000-2399999