|
|
(21), (22) Заявка: 2009100897/03, 14.01.2009
(24) Дата начала отсчета срока действия патента:
14.01.2009
(46) Опубликовано: 20.09.2010
(56) Список документов, цитированных в отчете о поиске:
RU 2063505 C1, 10.07.1996. RU 2295621 C2, 20.03.2007. RU 2307401 C2, 27.09.2007. DE 3713653 A1, 17.11.1988. US 6125673, 03.10.2000.
Адрес для переписки:
125493, Москва, ул. Пулковская, 4/3, кв.22, М.С. Нунупарову
|
(72) Автор(ы):
Нунупаров Мартын Сергеевич (RU)
(73) Патентообладатель(и):
Нунупаров Мартын Сергеевич (RU)
|
(54) ЭЛЕКТРОННОЕ УСТРОЙСТВО ДЛЯ МЕХАНИЧЕСКОЙ БЛОКИРОВКИ
(57) Реферат:
Электронное устройство для механической блокировки предназначено для использования в электронных замках, в гидравлических или пневматических запорных механизмах, приводах коммутаторов электрических цепей, электромеханических муфтах и сцеплениях и т.п. Устройство содержит корпус и подвижное средство блокировки, установленное в корпусе с возможностью вращения и/или продольного перемещения, средство фиксации для фиксации средства блокировки в корпусе, контрольный элемент средства фиксации, кинематически связанный с силовыми элементами средства фиксации и имеющий по меньшей мере два фиксированных положения. Контрольный элемент средства фиксации перемещается актюатором, расположенным в средстве блокировки по командам электрически связанного с ним электронного блока. Устройство дополнительно содержит электронный датчик, позволяющий электронному блоку определять момент кинематической разгруженности контрольного элемента. В качестве актюатора в устройстве используется любое из группы: соленоид, электродвигатель, пьезодвигатель, электростатические механизмы и т.п. Технический результат заключается в компактности, простоте конструкции, снижении энергопотребления. 12 з.п. ф-лы, 15 ил.
Изобретение относится к области машиностроения, а более конкретно к устройствам механической блокировки, зацепления и управляемой передачи движения между деталями и узлами механизмов, и может быть использовано в качестве самостоятельного узла в устройствах, приборах и системах автоматики различного назначения. Преимущественное использование изобретения в таких устройствах, как например, в электронных замках или иных силовых запорных механизмах, где электронное управление связано с необходимостью контроля пользовательского доступа. Также изобретение будет эффективно для использования в блокировке электрических, пневматических, гидравлических устройств, электронных муфтах, сцеплениях и т.п.
Известны механические устройства блокировки, зацепления и передачи движения, в которых движение плунжера фиксируется в корпусе с помощью шарикового фиксатора [см. например, патенты RU 2184284, 2002.06.27; RU 2295621, 2007.03.20; RU 2304247, 2007.08.10; US 5141355, 1992.08.25]. В данных устройствах элементы узла фиксации шарики (ролики) можно установить в такое положение, когда плунжер и корпус блокируются во взаимном перемещении. Подобные механические устройства блокировки используются в замковых механизмах, муфтах, сцеплениях и т.п.
С развитием автоматики, и в частности электронного управления механизмами, в указанных механических устройствах блокировки стали использоваться электромеханические актюаторы (соленоиды, электродвигатели) для перемещения контрольных элементов узла фиксации [см. например, патенты RU 2063505, 1996.07.10; US 6474122, 2002.11.05; US 6125673, 2000.10.03]. Такие известные устройства имеют ряд недостатков. Устройства, использующие соленоиды с продольно подпружиненым контрольным элементом узла фиксации, ненадежны по отношению к вибрациям или ударам вдоль оси соленоида, которые могут привести к разблокировке устройства. Также актюаторы и управляющие ими электронные блоки зачастую расположены в стационарном корпусе устройства [см. например, патент US 4807454, 1989.02.28], что приводит к увеличению габаритов устройства или усложняет пользовательский интерфейс. В частности, плунжер в таких устройствах имеет сравнительно мало степеней свободы, что ограничивает варианты применения известных технических решений.
Целью настоящего изобретения является создание компактного электронного устройства для механической блокировки с низким энергопотреблением и достаточно широкой областью применений. В частности, для замковых систем с электронным контролем доступа. Важным условием, необходимым для снижения энергопотребления электромеханического блокировочного устройства является необходимость разгрузки контрольного элемента со стороны других элементов узла фиксации в тот момент, когда на него может воздействовать актюатор. Для этого необходимо, чтобы момент разгрузки контрольного элемента совпадал с моментом выдачи команды управления от электронного блока на актюатор.
Поставленная цель достигается тем, что электронное устройство для механической блокировки, содержащее корпус и подвижное средство блокировки (например, в форме плунжера), установленное в корпусе с возможностью вращения и/или продольного перемещения в корпусе, средство фиксации, предназначенное для фиксации средства блокировки в корпусе, содержит контрольный элемент средства фиксации, кинематически связанный с силовыми элементами средства фиксации и имеющий по меньшей мере два фиксированных положения, который перемещается актюатором, расположенным в средстве блокировки по командам от электрически связанного с ним электронного блока, а с целью надежного срабатывания актюатора устройство дополнительно содержит электронный датчик, позволяющий электронному блоку определять момент кинематической разгруженности контрольного элемента.
Размещение актюатора и контрольного элемента и, если необходимо, и электронного блока в средстве блокировки упрощает связи элементов устройства, обеспечивает его компактность и расширяет варианты исполнения корпуса.
Для переключения устройства из состояния «заблокировано» в состояние «разблокировано» или наоборот средство блокировки предварительно механически устанавливается в определенное положение, в котором контрольный элемент узла фиксации разгружается от силовых механических воздействий. Этот момент может регистрироваться электронным датчиком и позволяет электронному блоку синхронно с этим моментом выдать управляющую команду на актюатор для соответствующего перемещения контрольного элемента, что существенно повышает надежность срабатывания устройства и снижает требуемое для этого энергопотребление актюатором.
В качестве актюатора в устройстве может выбрано любое устройство из группы: соленоид, электродвигатель, пьезодвигатель, электростатические механизмы и т.п.
Если выбран электродвигатель, то контрольный элемент, кинематически взаимодействующий с элементами средства фиксации может быть выполнен в виде закрепленного на валу двигателя кулачка, совершающего вращательные движения или в виде коническо-цилиндрической втулки, связаной с валом двигателя винтовой парой и совершающей возвратно-поступательное перемещение при вращении вала двигателя.
Для обеспечения дополнительной устойчивости контрольного элемента в крайних фиксированных положениях по отношению к ударам и вибрациям устройство может дополнительно содержать упругий элемент, закрепленный в средстве блокировки и кинематически связанный с контрольным элементом.
Заявляемое устройство представляется весьма эффективным для использования в электронных замках, в которых требуется идентификация пользователя и, если необходимо, выдача информации о событиях, связанных с пользованием замком на внешнее информационное средство. В этих применениях электронный блок заявляемого электромеханического устройства блокировки может дополнительно содержать электронный блок интерфейса для обмена информацией и/или энергией с внешними электронными устройствами – электронными ключами, программаторами и другими компьютеризированными средствами.
Блок интерфейса может быть выполнен с возможностью обмена информацией/энергией по различным каналам связи – радиоканалу, оптическому каналу, акустическому каналу, и в частности, с возможностью распознавать изображения, сигнальные последовательности, биометрические данные, криптопротоколы.
При этом особенно эффективным для пользователя будет такой сценарий управления электронным замком, построенным на основе заявляемого электромеханического устройства блокировки, в котором момент предустановки средства блокировки в положение, необходимое для переключения, и момент считывания кодовой информации пользователя совпадают, что обеспечивается срабатыванием электронного датчика положения контрольного элемента. Например, блок интерфейса, установленный на внешнем торце средства блокировки, выполнен с возможностью распознавать рисунок отпечатка пальца пользователя. Тогда при нажатии пальцем на блок интерфейса средства блокировки, и переведя его в положение для переключения устройства блокировки, электронный блок считает рисунок отпечатка пальца и выработает соответствующую команду для актюатора. Таким образом, одна простая и естественная механическая манипуляция пользователя позволяет осуществить все необходимые перемещения в устройстве и привести к выполнению его функции.
Несмотря на простоту заявленного устройства оно позволяет строить на его основе разнообразные устройства автоматики.
Устройство может быть выполнено в виде силового запорного устройства с электронным управлением, и в частности, с контролем доступа, в котором изменение положения средства блокировки будет определять состояние запорного механизма – «заперто»/«отперто». Области использования – электронные замки и т.п.
Устройство может быть выполнено в виде вентиля (крана) для жидкостей или газов с электронным управлением, и в частности, с контролем доступа, в котором изменение положения средства блокировки будет определять состояние вентиля – «открыто»/«закрыто». Применение – гидравлические или пневматические устройства.
Устройство может быть выполнено в виде коммутатора электрической цепи с электронным управлением состояния, и в частности, с контролем доступа, в котором изменение положения средства блокировки определяет состояние коммутатора – «замкнуто»/«разомкнуто». Может применяться в электрических сетях для предотвращения несанкционированных коммутаций.
Устройство может быть выполнено в виде электронно-управляемой муфты для контроля передачи вращательного движения от корпуса устройства, имеющего цилиндрический хвостовик к ведомому валу, которые смонированы соосно в общем внешнем корпусе и имеют кинематически связанную со средством блокировки устройства шпонку сцепления. При перемещении средства блокировки из одного фиксированного положения в другое шпонка будет замыкать/размыкать силовую связь цилиндрического хвостовика и ведомого вала. Такое устройство может быть использовано в системах электронных замков, в частности, как электронно-управляемая рукоятка замка, в которой электронный блок имеет функции контроля доступа. Также указанное устройство может использоваться для электронного управления в иных различных автоматических устройствах сцепления.
На приведенных ниже чертежах иллюстрируются некоторые из вариантов осуществления изобретения, что в то же время не исключает большого разнообразия других форм реализации изобретательского замысла.
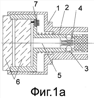
Фиг.1а, Фиг.1б – конструктивная схема устройства в положениях «разблокировано» и «заблокировано» соответственно.
Фиг.2а, Фиг.2б, Фиг.2в – блокировочный узел с кулачковым контрольным элементом.
Фиг.3а, Фиг.3б – блокировочный узел с коническо-цилиндрическим контрольным элементом.
Фиг 4а, Фиг.4б – устройство выполнено в виде силового замкового устройства.
Фиг.5а, Фиг.5б – устройство выполнено в виде вентиля (крана).
Фиг.6а, Фиг.6б – устройство выполнено в виде коммутатора электрической цепи.
Фиг.7а, Фиг.7б – устройство выполнено в виде муфты сцепления валов.
Согласно изобретению устройство электромеханической блокировки (см. Фиг.1а, б) содержит корпус 1, средство блокировки 2, установленный в корпусе 1 с возможностью вращения и продольного перемещения. В средстве блокировки размещено средство фиксации 3 (шарики или ролики), предназначенное для силовой блокировки перемещения или фиксации средства блокировки 2 в корпусе 1. В средстве блокировки 2 также размещен актюатор 5, механически управляющий положением контрольного элемента 4, кинематически связанного с элементами средства фиксации 3. При этом контрольный элемент 4 может перемещаться между двумя фиксированными положениями. Электронное управление актюатором 5 осуществляет электронный блок 6, электрически связанный с актюатором и при необходимости также размещаемый в средстве блокировки 2. С целью своевременного срабатывания актюатора в устройстве размещен датчик 7, позволяющий определять условие кинематической разгруженности контрольного элемента 4. Датчик 7 может быть также установлен в средстве блокировки и в простейшем варианте может быть выполнен в виде тактовой электрической кнопки, связанной с электронным блоком 6. Электронный блок 6 может иметь сложную структуру и, в частности, содержать электронный интерфейс 8 для обмена информацией/энергией с внешними устройствами и собственно блок управления актюатором 9. При необходимости в электронном интерфейсе 8 может быть реализована функция распознавания кодовой информации от внешних электронных устройств для осуществления контроля доступа при изменении состояния устройства – «заблокировано»/«разблокировано».
Если в качестве актюатора 5 выбран электродвигатель, то контрольный элемент 4 может быть выполнен в виде малоинерционного кулачка, закрепленого на валу двигателя 5 (см. Фиг.2а, б). Переход контрольного элемента из одного фиксированного положения в другое происходит путем его поворота. При этом положении кулачка кинематически определяется положение силовых элементов средства фиксации 3 (шариков или роликов).
Для обеспечения устойчивости фиксированных положений контрольного элемента при ударах и вибрациях в средстве блокировки 2 может быть размещен упругий элемент, например пружина 10, которая предотвращает самопроизвольное вращение кулачка (см. Фиг.2в).
Контрольный элемент – 4 может быть также выполнен в виде коническо-цилиндрической втулки 11 (см. Фиг.3) и связан с валом двигателя винтовой передачей. Переход контрольного элемента из одного фиксированного положения в другое происходит путем его возвратно-поступательного движения, при котором он может раздвигать силовые элементы средства фиксации 3. Такое техническое решение обеспечивает достаточно устойчивые положения контрольного элемента 4, хотя на перемещение такого контрольного элемента требуются сравнительно большие затраты электроэнергии.
На эскизном чертеже Фиг.4а,б показан элемент замкового устройства с подвижным засовом 12, в котором заявляемое устройство имеет общий корпус 13 с замком, а средство блокировки 2 используется для силовой блокировки движения засова 12 в корпусе 13.
Выполнение устройства в виде вентиля (крана) с электронным управлением для жидкостей или газов показано на Фиг.5а,б. Корпус 1 устройства дополнен насадкой 14, переходящей в патрубок с внутренним штоком (заслонкой) 15. Шток 15 другим концом закреплен в средстве блокировки 2. Изменение фиксированного положения средства блокировки определяет состояние вентиля – «открыто»/»закрыто». Для обеспечения надежного возврата штока в конструкции дополнительно предусмотрена возвратная пружина 16.
Исполнение устройства в виде коммутатора электрической цепи (электрической кнопки) с электронным управлением изображено на Фиг.6а,б. Как видно из этого эскизного чертежа, изменение фиксированного положения средства блокировки и связанного с ним диэлектрического размыкателя контактов 17 определяет состояние электрических контактов 18 коммутатора – «разомкнуто» или «замкнуто».
На Фиг.7 показан вариант применения устройства в механизме электронно-управляемой муфты для передачи вращательного движения от корпуса устройства 1, имеющего цилиндрический хвостовик 19 к ведомому валу 20, установленный соосно в общем внешнем корпусе 21. С этой целью в ведомом вале 20 установлена подпружиненная шпонка 22, кинематически связанная со средством блокировки 2 устройства. При перемещении средства блокировки 2 шпонка может замыкать/размыкать силовую связь цилидрического хвостовика 19 и ведомого вала 20, обеспечивая управление передачей вращения между валами.
Работа заявляемого электромеханического устройства блокировки иллюстрируется Фиг.1, 2, 3 и происходит следующим образом.
В состоянии устройства «разблокировано» контрольный элемент (кулачок) 4 находится в положении, в котором он не препятствует полному размещению элементов средства фиксации 3 (шариков) в пазу средства блокировки 2 (см. Фиг.1а, Фиг.2а, Фиг.3а). Шарики утоплены и средство блокировки 2 может свободно двигаться относительно корпуса 1.
Для включения состояния «заблокировало» следует сместить средство блокировки 2 в крайнее правое положение. В этом положении шарики средства фиксации 3 могут свободно перемещаться в пазу средства блокировки и не нагружают кулачок 4. Актюатор может его легко поворачивать. Причем достаточность смещения средства блокировки 2 до полного освобождения нагрузки со средства фиксации 3 определяется срабатыванием датчика 7, который в этот момент замыкается и формирует для электронного блока разрешение на включение актюатора 5. Электронный блок 6 в соответствии с запрограммированной в нем логикой операций в свою очередь формирует управляющий сигнал для актюатора 5 для перевода контрольного элемента в другое устойчивое положение (см. Фиг.1б, Фиг.2б, Фиг.3б), в котором шарики выталкиваются из паза средства блокировки. При небольшом смещении средства блокировки влево шарики войдут в зацепление с упорной кромкой корпуса 1 и средство блокировки 2 будет зафиксировано (см. Фиг.1б) от дальнейшего перемещения влево. Однако этого небольшого смещения влево от крайнего правого положения средства блокировки достаточно для размыкания датчика 7.
Перевод устройства из состояния «заблокировано» в состояние «разблокировано» также происходит через крайне правое положение средства блокировки 2, в котором датчик 7 снова замыкается и сигнализирует о рагруженном состоянии кулачка 4, что впоследствии, если необходимо, позволяет актюатору 5 повернуть кулачок 4 в положение «разблокировано».
Изготовлены опытные образцы электромеханического блокировочного устройства и разнообразных механизмов на его основе. Экспериментальная проверка подтвердила высокую эффективность заявленных технических решений. Устройства компактны, имеют простую конструкцию, надежны в условиях ударов и вибраций и обладают минимальным энергопотреблением.
Формула изобретения
1. Электронное устройство для механической блокировки, содержащее корпус и подвижное средство блокировки, установленное в корпусе с возможностью перемещения, средство фиксации, предназначенное для фиксации положения средства блокировки в корпусе, отличающееся тем, что содержит контрольный элемент средства фиксации, кинематически связанный с силовыми элементами средства фиксации и имеющий, по меньшей мере, два фиксированных положения, который перемещается актюатором, расположенным в средстве блокировки по командам от электрически связанного с ним электронного блока, а с целью надежного срабатывания актюатора устройство содержит электронный датчик, позволяющий электронному блоку определять момент кинематической разгруженности контрольного элемента.
2. Устройство по п.1, отличающееся тем, что в качестве актюатора использовано устройство из группы – электрический двигатель, электромагнитный соленоид, пьезоэлектрический двигатель.
3. Устройство по п.1, отличающееся тем, что в качестве актюатора использован электрический двигатель, а контрольный элемент выполнен в виде поворотного кулачка, закрепленного на валу этого двигателя.
4. Устройство по п.1, отличающееся тем, что в качестве актюатора использован электрический двигатель, а контрольный элемент связан с валом двигателя винтовой парой и его возвратно-поступательное перемещение обеспечивается вращением вала.
5. Устройство по п.1, отличающееся тем, что дополнительно содержит упругий элемент, закрепленный в средстве блокировки и кинематически связанный с контрольным элементом, предназначенный для придания устойчивости контрольному элементу в фиксированных положениях по отношению к вибрациям и ударам.
6. Устройство по п.1, отличающееся тем, что электронный блок размещен в средстве блокировки.
7. Устройство по п.1, отличающееся тем, что электронный блок содержит блок интерфейса для обмена информацией и/или энергией с внешними электронными устройствами и блок управления актюатором.
8. Устройство по п.7, отличающееся тем, что блок интерфейса выполнен с возможностью обмена информацией с пользователем по различным каналам связи – радиоканалу, оптическому каналу, акустическому каналу, и в частности, с возможностью распознавать изображения, сигнальные последовательности, биометрические данные, криптопротоколы.
9. Устройство по любому из пп.1-8, отличающееся тем, что к нему дополнительно присоединен механизм, который может блокироваться подвижным средством блокировки устройства.
10. Устройство по п.9, отличающееся тем, что выполнено в виде силового запорного механизма с электронным управлением, и в частности, с контролем доступа, причем изменение фиксированного положения средства блокировки определяет состояние запорного механизма – «заблокировано»/«разблокировано».
11. Устройство по п.9, выполненное в виде вентиля (крана) с электронным управлением, и в частности, с контролем доступа, для жидкостей или газов, причем изменение фиксированного положения средства блокировки определяет состояние вентиля – «открыто»/«закрыто».
12. Устройство по п.9, отличающееся тем, что выполнено в виде коммутатора электрической цепи с электронным управлением, и в частности, с контролем доступа, причем изменение фиксированного положения средства блокировки определяет состояние коммутатора – «замкнуто»/«разомкнуто».
13. Устройство по п.9, отличающееся тем, что выполнено в виде электронно-управляемой муфты для передачи вращательного движения от корпуса устройства, имеющего цилиндрический хвостовик, к ведомому валу, установленному соосно в общем внешнем корпусе, с этой целью в ведомом вале также установлена подпружиненная шпонка сцепления валов, положение которой определяется кинематически связанным с ней средством блокировки устройства.
РИСУНКИ
|
|