|
|
(21), (22) Заявка: 2009123746/03, 22.06.2009
(24) Дата начала отсчета срока действия патента:
22.06.2009
(46) Опубликовано: 20.09.2010
(56) Список документов, цитированных в отчете о поиске:
RU 2333308, 10.09.2008. US 4576508, 18.03.1986. RU 2338830, 20.11.2008.
Адрес для переписки:
194100, Санкт-Петербург, Открытое акционерное общество “Конструкторское бюро специального машиностроения”
|
(72) Автор(ы):
Васильев Игорь Викторович (RU), Гуськов Владимир Дмитриевич (RU), Долбенков Владимир Григорьевич (RU), Зайцев Борис Иванович (RU), Лямин Константин Александрович (RU), Чуркин Константин Николаевич (RU)
(73) Патентообладатель(и):
Открытое акционерное общество “Конструкторское бюро специального машиностроения” (RU)
|
(54) ЗАГРАЖДЕНИЕ ДЛЯ АВТОТРАНСПОРТА
(57) Реферат:
Изобретение относится к средствам для преграждения несанкционированного проезда автотранспорта (AT) и позволяет повысить эксплуатационную безопасность заграждения, обеспечивает возможность принудительной остановки AT без его существенного повреждения и приспособляемость заграждения к AT с разной величиной массы и движущемуся с разными скоростями. В случае возникновения аварийных ситуаций с AT обеспечивается возможность принудительной остановки с торможением, перегрузки при котором не превышают допустимые для организма человека. Заграждение содержит створки, которые с возможностью поворота в горизонтальной плоскости шарнирно закреплены на опорах, выполненных с возможностью закрепления на основании. Створки имеют возможность разъемного соединения одна с другой с помощью устройства фиксации при расположении створок поперек проезжей части. Устройство фиксации включает две части, которые выполнены с возможностью разъемного соединения между собой с помощью механизма фиксации и смонтированы каждая на консольном конце створки с помощью быстроразъемных узлов с возможностью разъединения со створкой при внешнем ударном воздействии на створки. Также заграждение содержит защитную преграду в виде вертикально расположенной протяженной в длину сетки. Сетка включает две части, один из концов каждой из которых закреплен на одной из упомянутых частей устройства фиксации, а другой конец – на соответствующем намоточно-размоточном барабане (НРБ). НРБ выполнен с возможностью закрепления на основании с возможностью вращения с регулируемым моментом сопротивления вращению. Сетка выполнена с резервной длиной, размещенной на упомянутых НРБ, установлена с обеспечением ее натяжения при расположении створок поперек проезжей части и расположена перед створками по ходу движения AT. В варианте выполнения каждая створка открывается и закрывается автоматически с помощью соответствующего мотор-редуктора, который подключен к системе управления (СУ) заграждением. Каждый НРБ снабжен приводом подмотки сетки, подключенным к упомянутой СУ, и тормозом, представляющим собой многодисковую фрикционную муфту с гидравлическим управлением. Также заграждение содержит устройство для взвешивания AT в движении и устройство для обнаружения и дистанционного измерения скорости движения AT, включающие соответственно весоизмерительные датчики и датчики обнаружения движущегося AT, которые электрически связаны с СУ заграждением. 10 з.п. ф-лы, 11 ил.
Изобретение относится к средствам, предназначенным для преграждения несанкционированного проезда автотранспорта на территорию охраняемого объекта.
Известны устройства для предотвращения несанкционированного проезда автотранспорта. Например, известны конструкции механических барьеров и шлагбаумов для принудительной остановки транспортных средств в виде стоек, установленных ниже уровня земли и имеющих возможность выдвигаться над поверхностью земли при помощи пневмопривода (US 4576508 А, Е01F 13/04, Е01F 13/00, 1986), в виде ежей с пневмо- и электроприводом (SU 1799452, F41Н 11/08, Е01F 13/00, 1993) и в виде барьера противотаранного (US 5997211 А, Е01F 13/06, Е01F 13/12, Е01F 13/00, 1999).
Однако известные устройства, обеспечивая остановку движущегося транспортного средства, предполагают его существенное повреждение при взаимодействии с заграждением.
Известен барьер противотаранный по патенту RU 2224840 С1 (Е01F 13/10, 2004). Барьер содержит балку, один конец которой шарнирно закреплен на одной опоре с возможностью поворота балки в горизонтальной плоскости, а другой закреплен на другой опоре с помощью механического замкового устройства. Балка сварена из двух швеллеров, и внутри балки вмонтированы и закреплены по концам балки предварительно натянутые стальные тросы, а снаружи балки наварены стальные шипы для повышения заградительных свойств балки. Для предотвращения лобового удара бампером большегрузного автомобиля по балке барьера и снижения динамической силы удара высота барьера от проезжей части дороги до дорожного полотна выбирается меньше, чем расстояние от проезжей части до бампера автомобиля. В этом случае балка взаимодействует с колесами автомобиля, его рулевым управлением и передней подвеской, деформируя их и разрушая до полной остановки автомобиля. Известный барьер может применяться как в качестве противотаранного устройства, так и шлагбаума.
Однако известный противотаранный барьер не позволяет без повреждения автотранспорта остановить последний в случае возникновения аварийной ситуации перед въездом на территорию охраняемого объекта, например, при отказе тормозной системы транспортного средства или вследствие человеческого фактора.
Известно противотаранное устройство по патенту RU 2320804 С1 (Е01F 13/12, 2008). Известное устройство содержит подпору для створки распашных ворот, одним концом шарнирно соединенную с узлом крепления данного устройства к створке ворот. В одном из вариантов выполнения устройство включает балку, шарнирно соединенную с подпорой, колесо, подвижно закрепленное на балке, и упругий элемент, одним концом закрепленный на балке. Устройство обеспечивает как останавливающее действие ворот при таране транспортными средствами, движущимися с высокой скоростью, так и беспрепятственное открывание ворот при обычной эксплуатации. Это достигается благодаря использованию инерции для того, чтобы подпору, при обычной эксплуатации не касающуюся дорожного покрытия, привести в соприкосновение с этой поверхностью и таким образом обеспечить воротам упор при таране транспортными средствами, движущимися с высокой скоростью. Упомянутый упругий элемент в статичном состоянии и в состоянии установившегося движения не позволяет подпоре соприкасаться с дорожным покрытием, но в момент начала движения со скоростью выше некоей пороговой за счет инерционности элементов устройства упругий элемент деформируется и подпора приходит в соприкосновение с дорожным покрытием. При дальнейшем движении створок ворот подпора нижним концом врезается в дорожное покрытие и заглубляется в нем, препятствуя открыванию ворот. Срабатывание устройства происходит как при закрытых на засов воротах, так и в случае, когда створки ворот только запахнуты или распахнуты лишь частично.
Известному противотаранному устройству присущ тот же недостаток, что и противотаранному барьеру по патенту RU 2224840 С1. Кроме этого, это устройство при срабатывании разрушает дорожное покрытие, что повышает эксплуатационные расходы.
Известен барьер противотаранный по патенту RU 2333308 С1 (Е01F 13/10, 2008). Барьер содержит защитную преграду в виде троса, который натянут поперек автомобильного проезда между двумя опорами, расположенными по обеим сторонам автомобильного проезда, и закреплен за стойки при помощи фиксаторов, которые удерживают во взведенном положении две платформы, закрепленные на стойках с помощью шарниров, с возможностью опрокидывания, на которые свободно устанавливаются две сварные металлические преграды (ежи). Усилие выдергивания фиксаторов подобрано таким образом, что человек своим усилием не может привести в действии срабатывание устройства. Трос размыкается у одной из опор карабином и выводится за пределы проезжей части для проезда транспорта. В варианте выполнения трос может иметь разъемы у обеих опор и может быть заключен в трубу на участках между опорами и стойками. При попытке тарана транспортное средство перемещает трос по направлению движения. Под действием натянутого троса происходит выдергивание фиксаторов, удерживающих платформы с металлическими преградами (ежами). Платформы под собственным весом и весом установленных на них металлических преград опрокидываются, металлические преграды (ежи) соскальзывают с платформ и перемещаются на проезжую часть, останавливаясь на пути движения автотранспорта. Известное устройство обеспечивает надежное перекрытие проезда к охраняемому объекту и остановку автотранспорта, движущегося на прорыв к охраняемому объекту с разными скоростями.
Однако известный противотаранный барьер не обеспечивает достаточную безопасность для автотранспорта, который допущен для въезда на территорию охраняемого объекта, но по какой-либо причине не смог затормозить перед защитной преградой (тросом) для остановки с целью его идентификации. Кроме того, к недостаткам устройства можно отнести высокую трудоемкость и сложность эксплуатации, которые обусловлены конструктивными особенностями устройства.
Наиболее близким по совокупности существенных признаков с заявляемым изобретением является заграждение для автотранспорта, приведенное в патентном описании RU 2338830 C1 (E01F 13/10, 2008). Известное заграждение содержит балку (створку), сваренную из двух швеллеров в форме короба с вмонтированными в него предварительно натянутыми тросами, закрепленными по концам балки. Балка (створка) с возможностью поворота в горизонтальной плоскости на угол не менее 90° шарнирно закреплена на опоре, выполненной с возможностью закрепления на основании (фундаменте). В варианте выполнения на вертикальных плоскостях балки приварены шипы, закрываемые фальшкоробом, наружная сторона которого покрывается разноцветными светоотражающими полосами. Консольный конец балки снабжен замковым устройством (устройством фиксации), включающим запирающий ригель и спецзамок, которое выполнено с возможностью фиксации балки на замковой опоре при расположении балки поперек проезжей части. Заграждение может изготовляться как с ручным, так и с электромеханическим (автоматическим) приводом. При ручном приводе консольный конец балки выводится и заводится в замковое устройство с помощью ручки и балка запирается ригелем, который фиксируется спецзамком. При автоматическом приводе консольный конец балки выводится и заводится в замковое устройство с помощью электрического мотор-редуктора, балка в замковом устройстве фиксируется электромагнитным замком и автоматически запирается якорем электромагнита.
Однако известное заграждение рассчитано на силовое задержание автотранспорта, которое обеспечивается механической прочностью конструкции заграждения и предполагает столкновение транспортного средства с жесткой преградой (т.е. с заграждением), при котором возникают высокие перегрузки, опасные для организма человека. Этот фактор ограничивает область использования подобных устройств, т.к. при отказе привода открывания эти устройства становятся объектом потенциальной опасности для транспортных средств. Известное заграждение не обеспечивает безопасность для автотранспорта, который допущен для въезда на территорию охраняемого объекта, но по какой-либо причине не смог затормозить перед защитной преградой для остановки с целью его идентификации в случае возникновения аварийной ситуации перед въездом на территорию охраняемого объекта, например при отказе тормозной системы транспортного средства или вследствие человеческого фактора.
Предлагаемое изобретение решает задачу создания заграждения для автотранспорта, позволяющего принудительно остановить автотранспорт без существенного повреждения последнего и вместе с этим обеспечивающего повышение безопасности при эксплуатации в случае возникновения аварийной ситуации с автотранспортом, который допущен для въезда на территорию охраняемого объекта, а также в случае ошибки обслуживающего персонала.
Указанная задача решается тем, что заграждение для автотранспорта, содержащее створку, которая с возможностью поворота в горизонтальной плоскости шарнирно закреплена на опоре, выполненной с возможностью закрепления на основании, причем консольный конец створки снабжен устройством фиксации, которое выполнено с возможностью фиксации створки при расположении последней поперек проезжей части, согласно изобретению содержит защитную преграду в виде вертикально расположенной протяженной в длину сетки и вторую створку, которая таким же образом, как первая створка, закреплена на другой опоре, выполненной с возможностью закрепления на основании, и выполнена с возможностью разъемного соединения с первой створкой посредством упомянутого устройства фиксации при расположении створок поперек проезжей части. Устройство фиксации включает две части, которые выполнены с возможностью разъемного соединения между собой, и смонтированы каждая на консольном конце соответствующей створки посредством соответствующих быстроразъемных узлов с возможностью разъединения со створкой при внешнем ударном воздействии на створки. Упомянутая сетка включает две части, один из концов каждой из которых закреплен на одной из упомянутых частей устройства фиксации, а другой конец – на соответствующем намоточно-размоточном барабане, выполненном с возможностью закрепления на основании с возможностью вращения с регулируемым моментом сопротивления вращению. При этом сетка выполнена с резервной длиной, размещенной на упомянутых барабанах, установлена с обеспечением ее натяжения при расположении створок поперек проезжей части и расположена перед створками по ходу движения автотранспорта.
Вместе с этим намоточно-размоточные барабаны выполнены с возможностью закрепления на основании каждый с помощью соответствующей ограждающей несущей конструкции, которая составляет единое целое с опорой створки.
Кроме того, каждая створка выполнена с возможностью фиксации своего положения относительно соответствующей опоры при открытом положении створки.
В варианте выполнения каждая створка открывается и закрывается автоматически с помощью соответствующего мотор-редуктора, который подключен к системе управления заграждением. При этом каждый намоточно-размоточный барабан снабжен приводом подмотки сетки, подключенным к упомянутой системе управления, и тормозом, представляющим собой многодисковую фрикционную муфту с гидравлическим управлением, которая гидравлически связана с насосной станцией.
В другом варианте выполнения заграждение содержит устройство для взвешивания автотранспорта в движении и устройство для обнаружения и дистанционного измерения скорости движения автотранспорта, включающие соответственно весоизмерительные датчики и датчики обнаружения движущегося автотранспорта, которые электрически связаны с системой управления заграждением.
Вместе с этим система управления заграждением может быть подключена к упомянутым мотор-редукторам с возможностью обеспечения их совместной работы.
Заграждение может включать пульт управления, представляющий собой стационарное устройство, которое выполнено с возможностью закрепления на соответствующем основании.
Кроме того, заграждение может включать пульт управления, представляющий собой устройство, которое выполнено переносным.
Возможен вариант выполнения, при котором заграждение в качестве привода подмотки сетки содержит соответствующий мотор-редуктор.
Вместе с этим каждая створка может быть снабжена сменным разрушаемым чехлом, который установлен таким образом, что закрывает створку и прилегающий к ней участок сетки, расположенный вне ограждающей несущей конструкции соответствующего створке намоточно-размоточного барабана.
Наружная сторона сменного разрушаемого чехла может быть покрыта разноцветными светоотражающими полосами.
Технический результат использования изобретения состоит в том, что оно при обеспечении останавливающего действия заграждения при попытке несанкционированного доступа на территорию охраняемого объекта (т.е. при таране) также позволяет повысить эксплуатационную безопасность заграждения в случаях возникновения аварийных ситуаций, когда автотранспорт, которому разрешен въезд на территорию, не смог остановиться по причине неисправности или вследствие человеческого фактора. Вместе с этим заграждение обеспечивает возможность принудительной остановки автотранспорта без его существенного повреждения, что особенно важно при возникновении аварийной ситуации с транспортным средством, которому разрешен доступ на территорию. При этом в последнем случае обеспечивается возможность торможения с перегрузками, не превышающими допустимые для организма человека. Кроме того, изобретение обеспечивает приспособляемость заграждения к автотранспорту с разной величиной массы и движущемуся с разными скоростями.
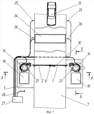
На фиг.1 схематично показано заграждение для автотранспорта, общий вид в плане при закрытом положении створок (сменные разрушаемые чехлы не показаны); на фиг.2 – то же, поперечный разрез по А-А на фиг.1 (сменные разрушаемые чехлы не показаны); на фиг.3 – устройство фиксации створок и механизм фиксации его основных частей «a» и «b», элемент В на фиг.2; на фиг.4 – то же, элемент Г на фиг.2; на фиг.5 – намоточно-размоточный барабан с приводом подмотки сетки и многодисковыми фрикционными муфтами, продольный разрез по Б-Б на фиг.1, повернуто; на фиг.6 схематично показано заграждение для автотранспорта, общий вид со стороны сетки при закрытых створках (сменные разрушаемые чехлы не показаны); на фиг.7 – привод поворота створки, ограждающая несущая конструкция барабана и устройство фиксации створки при открытом положении последней (сменный разрушаемый чехол не показан); на фиг.8 – устройство фиксации створки, взаимное расположение копира и ответной защелки перед фиксацией положения створки, поперечный разрез по створке; на фиг.9 – заграждение для автотранспорта, общий вид в плане при проезде транспортного средства в режиме свободного въезда (сменные разрушаемые чехлы не показаны); на фиг.10 – то же, общий вид в плане, принудительная остановка транспортного средства в режиме мягкого торможения (сменные разрушаемые чехлы не показаны); на фиг.11 – то же, принудительная остановка транспортного средства в режиме жесткого торможения (сменные разрушаемые чехлы не показаны).
В варианте осуществления изобретения заграждение для автотранспорта содержит створки 1 и 2, которые с возможностью поворота в горизонтальной плоскости шарнирно закреплены на опорах соответственно 3 и 4, выполненных с возможностью закрепления на основании (фундаменте) 5. Створки 1 и 2 имеют возможность разъемного соединения одна с другой посредством устройства 6 фиксации при расположении створок поперек проезжей части 7. Устройство 6 фиксации включает две части «a» и «b», которые выполнены с возможностью разъемного соединения между собой с помощью механизмов 8 фиксации и смонтированы каждая на консольном конце соответствующей створки посредством быстроразъемных узлов с возможностью разъединения со створкой, например, при внешнем ударном воздействии на створки. В варианте осуществления изобретения каждый быстроразъемный узел включает устройство 9 пружинного типа, жестко закрепленное соответственно на части «a» или «b» устройства 6. Устройства 9 (по существу, зажимы «лира») обеспечивают быстрое соединение и разъединение собственно устройства 6 с имеющими круглое сечение ответными элементами створок 1 и 2.
Также заграждение содержит защитную преграду в виде вертикально расположенной протяженной в длину сетки 10. Сетка 10 включает две части «с» и «d». При этом один из концов части «с» сетки 10 закреплен на части «а» устройства 6 фиксации, а один из концов части «d» сетки 10 закреплен на части «b» устройства 6 фиксации. Таким образом части «с» и «d» сетки соединяются между собой, образуя единое целое. Другие концы частей «с» и «d» сетки закреплены на намоточно-размоточных барабанах соответственно 11 и 12. Последние закреплены на основании (фундаменте) 5 каждый с возможностью вращения с регулируемым моментом сопротивления вращению (по существу, каждый намоточно-размоточный барабан представляет собой барабанный тормоз). Сетка 10 выполнена с резервной длиной, размещенной на барабанах 11 и 12, установлена с обеспечением ее натяжения при расположении створок 1 и 2 поперек проезжей части 7 и расположена перед створками по ходу движения автотранспорта 13. В варианте осуществления изобретения в качестве сетки используется, например, сетка, аналогичная используемой в средствах парашютного десантирования грузов и техники (организация-поставщик ООО «Передовые технологии и сервис», г.Москва).
Намоточно-размоточные барабаны 11 и 12 выполнены с возможностью закрепления на основании 5 с помощью ограждающих несущих конструкций соответственно 14 и 15. При этом ограждающая несущая конструкция 14 составляет единое целое с опорой 3 створки 1, а ограждающая несущая конструкция 15 – единое целое с опорой 4 створки 2.
Каждая створка заграждения открывается и закрывается автоматически с помощью соответствующего мотор-редуктора (привода поворота) 16, который подключен к системе управления заграждением (на чертеже не показано). В варианте осуществления изобретения в качестве мотор-редуктора используется мотор-редуктор, например, SEW Eurodrive KF 77R37DT71D4/TH, n=1,7 об/мин, W=0,37 кВт, М=1890 Н·м. При этом каждый намоточно-размоточный барабан снабжен приводом 17 подмотки сетки 10, подключенным к упомянутой системе управления, и тормозом, представляющим собой многодисковую фрикционную муфту с гидравлическим управлением, которая гидравлически связана с насосной станцией 18. В варианте осуществления изобретения в качестве такой муфты используется, например, муфта фирмы Stromag (Германия), при этом по конструктивным соображениям каждый барабан снабжен блоком, например, из двух фрикционных муфт 19 и 20. В другом варианте выполнения (на чертеже не показано) барабан может быть снабжен одной фрикционной муфтой (тормозом). В качестве привода 17 подмотки сетки используется мотор-редуктор, который соединен с намоточно-размоточным барабаном через последовательно установленные зубчатую и электромагнитную муфты (на чертеже не показано). В варианте осуществления изобретения в качестве мотор-редуктора используется мотор-редуктор, например, SEW Eurodrive RF 87DT90S4/TH, n=9,8 об/мин, W=1,1 кВт, М=1070 Н·м. Перемещение сетки фиксируется электрически связанным с системой управления датчиком перемещения сетки, который кинематически связан с намоточно-размоточным барабаном (на чертеже не показано). Привод 17 подмотки сетки предназначен для возврата сетки в исходное положение после осуществления процесса торможения автотранспорта. В варианте осуществления изобретения каждый намоточно-размоточный барабан подключен к отдельной насосной станции. В другом варианте (на чертеже не показано) насосная станция может быть общей для обоих барабанов. Этот вариант предполагает прокладку гидромагистралей под проезжей частью, что не всегда приемлемо.
Створки 1 и 2 выполнены с возможностью фиксации своего положения относительно опор соответственно 3 и 4 (по существу, относительно ограждающих несущих конструкций 14 и 15, составляющих каждая единое целое с соответствующей опорой) при открытом положении створок (т.е. в положении, когда заграждение открыто для автотранспорта) с помощью устройств 21 фиксации. Устройства 21 фиксации включают установленные на створках элементы зацепления 22, выполненные с возможностью взаимодействия с ответными защелками (щеколдами) 23, установленными на ограждающих несущих конструкциях 14 и 15. Каждое устройство 21 фиксации снабжено соответствующим приводом, подключенным к системе управления заграждением (на чертеже не показано).
Вместе с этим в варианте осуществления заграждение содержит устройство 24 для взвешивания автотранспорта в движении и устройство для обнаружения и дистанционного измерения скорости движения автотранспорта (на чертеже не показано), включающие соответственно весоизмерительные датчики (на чертеже не показано) и датчики 25, 26 обнаружения движущегося транспорта, которые электрически связаны с системой управления заграждением. Датчики 25 и 26 расположены на расстоянии, например, 30 м друг от друга. Устройство для взвешивания автотранспорта в движении и устройство для обнаружения и дистанционного измерения скорости движения автотранспорта расположены на въезде на территорию охраняемого объекта и, по существу, образуют систему контроля зоны въезда. Расположение электрооборудования и аппаратуры системы контроля въезда определяется конкретно для каждого объекта эксплуатации.
Система управления заграждением подключена к мотор-редукторам 16 с возможностью обеспечения их совместной работы. Также заграждение включает пульт 27 управления, представляющий собой стационарное устройство, которое выполнено с возможностью закрепления на соответствующем основании (фундаменте). Кроме того, заграждение включает пульт 28 управления, представляющий собой устройство, которое выполнено переносным.
Каждая створка снабжена сменным разрушаемым чехлом (на чертеже не показано), выполненным, например, из пластиковых панелей соответствующего цвета и фактуры. Сменный разрушаемый чехол (фальшкороб) устанавливают таким образом, что он закрывает створку 1 (2) и прилегающий к ней участок сетки 10, расположенный вне ограждающей несущей конструкции 14 (15) соответствующего створке намоточно-размоточного барабана. Наружная сторона сменного разрушаемого чехла (фальшкороба) покрыта разноцветными светоотражающими полосами. Также заграждение включает гидромагистрали, электрические кабели и конечные (путевые) выключатели (на чертеже не показано).
Заграждение для автотранспорта работает следующим образом.
В закрытом положении заграждения створки 1 и 2 расположены поперек проезжей части 7, при этом створки посредством устройства 6 фиксации зафиксированы одна относительно другой, а части «с» и «d» сетки 10 через устройство 6 соединены между собой и образуют единое целое.
При обнаружении в зоне въезда движущегося автотранспорта в систему управления заграждением от датчиков 25 обнаружения движущегося транспорта поступает сигнал об обнаружении потенциально опасного автотранспорта. Заграждение автоматически переводится в режим принудительной остановки транспортного средства. После прохождения автотранспортом датчиков 26 в систему управления поступает информация, за какой период времени автотранспорт преодолел расстояние 30 м (т.е. расстояние между датчиками 25 и 26). Система управления рассчитывает скорость движущегося автотранспорта. Далее, проезжая через платформу устройства 24, автотранспорт оказывает на нее давление, которое передается на весоизмерительные датчики. Электрический сигнал, пропорциональный оказываемому усилию на весоизмерительные датчики, вырабатываемый последними, передается в систему управления, где подвергается обработке с целью получения оценки массы объекта. Система управления заграждением на основе определенных значений скорости и массы движущегося транспортного средства (автотранспорта) рассчитывает требуемый закон торможения для его принудительной остановки (по существу, необходимое усилие поджатия многодисковых фрикционных муфт 19 и 20).
Въезд на территорию охраняемого объекта предполагает обязательную остановку автотранспорта перед закрытым заграждением для идентификации автотранспорта. Если автотранспорт допущен для въезда на территорию охраняемого объекта, заграждение работает в режиме свободного въезда.
Управление заграждением в режиме свободного въезда осуществляется со стационарного пульта 27 управления или, при необходимости, с переносного пульта 28 управления, которые расположены в караульном помещении (на чертеже не показано). При подаче со стационарного (переносного) пульта управления управляющего сигнала на открывание створок подается электропитание на приводы механизмов 8 фиксации. Последние освобождают (размыкают) части «а» и «b» устройства 6 от взаимной фиксации, при этом срабатывают соответствующие конечные выключатели. При размыкании частей «а» и «b» устройства 6 освобождаются от взаимной фиксации створки 1 и 2, а также разъединяются части «с» и «d» сетки 10. Система управления выдает сигнал на подачу электропитания на мотор-редукторы 16 (т.е. на приводы поворота створок). Створки 1 и 2 одновременно начинают открываться. Когда створки доходят до соответствующих упоров, расположенных соответственно на конструкциях 14 и 15, срабатывают конечные выключатели, выдающие в систему управления заграждением сигнал на включение приводов устройств 21 фиксации створок в открытом положении. Защелки (щеколды) 23 взаимодействуют с элементами зацепления 22, и створки заграждения фиксируются в открытом положении. При срабатывании конечных выключателей информация о положении створок поступает в систему управления. Электропитание с исполнительных механизмов снимается.
При подаче со стационарного (переносного) пульта управления сигнала на закрывание створок подается электропитание на приводы устройств 21 фиксации створок в открытом положении. Защелки (щеколды) 23 освобождают элементы зацепления 22, срабатывают соответствующие конечные выключатели, и информация об освобождении створок поступает в систему управления заграждением. Система управления выдает сигнал на подачу электропитания на мотор-редукторы 16. Створки 1 и 2 одновременно начинают закрываться. Когда створки доходят до соответствующих упоров, расположенных соответственно на конструкциях 14 и 15, срабатывают конечные выключатели, выдающие в систему управления заграждением сигнал на включение приводов механизмов 8 фиксации. Створки фиксируются в закрытом положении, после чего снимается электропитание с исполнительных механизмов.
В случае если автотранспорт не остановился перед заграждением, заграждение работает в режиме мягкого торможения или в режиме жесткого торможения.
Если величины массы и скорости движущегося транспортного средства не превышают, например, соответственно 4 т и 40 км/час, реализуется режим мягкого торможения. Режим торможения определяется исходя из условия мягкого торможения автотранспорта, предполагающего наиболее комфортные условия остановки автотранспорта с перегрузками, не превышающими допустимых для организма человека (например, до 4g). В момент столкновения автотранспорта с заграждением (т.е. при внешнем ударном воздействии на створки) благодаря прокручиванию соответствующих муфт (на чертеже не показано) приводов поворота створок механически снимается сопротивление этих приводов и одновременно подается управляющее давление в многодисковые фрикционные муфты (тормоза) 19 и 20, обеспечивая полное растормаживание последних. Таким образом, в момент столкновения автотранспорта с заграждением сопротивление, оказываемое транспортному средству, минимально.
При внешнем ударном воздействии на створки 1 и 2 благодаря особенности исполнения устройств 9 происходит отделение створок от соединяющего их между собой устройства 6 фиксации. При этом обе части «с» и «d» сетки 10 продолжают оставаться соединенными между собой через устройство 6 фиксации. Под воздействием транспортного средства сетка 10 начинает сматываться с намоточно-размоточных барабанов 11 и 12, охватывая бампер наезжающего транспортного средства. При этом после столкновения транспортного средства с преградой (т.е. со створками заграждения) срабатывает датчик перемещения сетки, который выдает сигнал о начале торможения в систему управления заграждением. С этого момента система управления отрабатывает закон торможения, рассчитанный для данного транспортного средства в зависимости от величин скорости и массы последнего. Таким образом, осуществляется принудительная остановка автотранспорта в режиме мягкого торможения. Когда силовое воздействие автотранспорта на сетку 10 прекращается, привод 17 подмотки сетки возвращает ее в исходное состояние. Режим мягкого торможения повышает эксплуатационную безопасность заграждения, например, в случаях, когда автотранспорт, которому разрешен въезд на охраняемую территорию, не смог остановиться по причине неисправности или вследствие человеческого фактора.
Когда масса и/или скорость движущегося автотранспорта превышают вышеуказанные величины, осуществляется принудительная остановка автотранспорта в режиме жесткого торможения. В варианте осуществления изобретения режим жесткого торможения реализуется, когда движущееся транспортное средство имеет, например, массу до 10 т и/или скорость до 60 км/час. Режим жесткого торможения отличается от режима мягкого торможения тем, что после столкновения транспортного средства с преградой (т.е. со створками заграждения) за 0,5 секунды выставляется максимальное значение тормозного усилия на фрикционных муфтах (тормозах) 19 и 20. В случае повторной попытки прорыва на охраняемую территорию заграждение работает аналогичным образом благодаря тому, что привод 17 подмотки сетки после прекращения силового воздействия на сетку со стороны автотранспорта возвращает сетку в исходное положение.
В случае разрушения сменных разрушаемых чехлов (фальшкоробов) последние заменяют.
Таким образом, благодаря особенности исполнения заграждения для автотранспорта изобретение при обеспечении останавливающего действия при попытке несанкционированного доступа на территорию охраняемого объекта позволяет повысить эксплуатационную безопасность заграждения в случаях санкционированного доступа, обеспечивает возможность принудительной остановки автотранспорта без его существенного повреждения и приспособляемость заграждения к автотранспорту с разной величиной массы и движущемуся с разными скоростями. Вместе с этим в случае возникновения аварийных ситуаций с транспортным средством изобретение обеспечивает возможность принудительной остановки автотранспорта с торможением, перегрузки при котором не превышают допустимые для организма человека.
Формула изобретения
1. Заграждение для автотранспорта, содержащее створку, которая с возможностью поворота в горизонтальной плоскости шарнирно закреплена на опоре, выполненной с возможностью закрепления на основании, причем консольный конец створки снабжен устройством фиксации, которое выполнено с возможностью фиксации створки при расположении последней поперек проезжей части, отличающееся тем, что содержит защитную преграду в виде вертикально расположенной протяженной в длину сетки и вторую створку, которая таким же образом как первая створка закреплена на другой опоре, выполненной с возможностью закрепления на основании, и выполнена с возможностью разъемного соединения с первой створкой посредством упомянутого устройства фиксации при расположении створок поперек проезжей части, при этом устройство фиксации включает две части, которые выполнены с возможностью разъемного соединения между собой, и смонтированы каждая на консольном конце соответствующей створки посредством соответствующих быстроразъемных узлов с возможностью разъединения со створкой при внешнем ударном воздействии на створки, причем упомянутая сетка включает две части, один из концов каждой из которых закреплен на одной из упомянутых частей устройства фиксации, а другой конец – на соответствующем намоточно-размоточном барабане, выполненном с возможностью закрепления на основании с возможностью вращения с регулируемым моментом сопротивления вращению, при этом сетка выполнена с резервной длиной, размещенной на упомянутых барабанах, установлена с обеспечением ее натяжения при расположении створок поперек проезжей части и расположена перед створками по ходу движения автотранспорта.
2. Заграждение по п.1, отличающееся тем, что намоточно-размоточные барабаны выполнены с возможностью закрепления на основании каждый с помощью соответствующей ограждающей несущей конструкции, которая составляет единое целое с опорой створки.
3. Заграждение по п.1, отличающееся тем, что каждая створка выполнена с возможностью фиксации своего положения относительно соответствующей опоры при открытом положении створки.
4. Заграждение по п.1, отличающееся тем, что каждая створка открывается и закрывается автоматически с помощью соответствующего мотор-редуктора, который подключен к системе управления заграждением, при этом каждый намоточно-размоточный барабан снабжен приводом подмотки сетки, подключенным к упомянутой системе управления, и тормозом, представляющим собой многодисковую фрикционную муфту с гидравлическим управлением, которая гидравлически связана с насосной станцией.
5. Заграждение по п.4, отличающееся тем, что содержит устройство для взвешивания автотранспорта в движении и устройство для обнаружения и дистанционного измерения скорости движения автотранспорта, включающие соответственно весоизмерительные датчики и датчики обнаружения движущегося автотранспорта, которые электрически связаны с системой управления заграждением.
6. Заграждение по п.4, отличающееся тем, что система управления заграждением подключена к упомянутым мотор-редукторам с возможностью обеспечения их совместной работы.
7. Заграждение по п.4, отличающееся тем, что включает пульт управления, представляющий собой стационарное устройство, которое выполнено с возможностью закрепления на соответствующем основании.
8. Заграждение по п.4, отличающееся тем, что включает пульт управления, представляющий собой устройство, которое выполнено переносным.
9. Заграждение по п.4, отличающееся тем, что в качестве привода подмотки сетки содержит соответствующий мотор-редуктор.
10. Заграждение по п.1, отличающееся тем, что каждая створка снабжена сменным разрушаемым чехлом, который установлен таким образом, что закрывает створку и прилегающий к ней участок сетки, расположенный вне ограждающей несущей конструкции соответствующего створке намоточно-размоточного барабана.
11. Заграждение по п.10, отличающееся тем, что наружная сторона сменного разрушаемого чехла покрыта разноцветными светоотражающими полосами.
РИСУНКИ
|
|