|
|
(21), (22) Заявка: 2008152548/02, 29.12.2008
(24) Дата начала отсчета срока действия патента:
29.12.2008
(46) Опубликовано: 20.09.2010
(56) Список документов, цитированных в отчете о поиске:
US 6743468 В2, 01.06.2004. RU 2099442 С1, 20.12.1997. RU 2288970 С1, 10.12.2006. RU 2257423 С2, 27.07.2005. JP 2006-116532 А, 11.05.2006.
Адрес для переписки:
630090, г.Новосибирск, ул. Институтская, 4/1, ИТПМ СО РАН
|
(72) Автор(ы):
Косарев Владимир Федорович (RU), Клинков Сергей Владимирович (RU), Бернар Лаже (FR), Филипп Бертран (FR), Игорь Смуров (FR)
(73) Патентообладатель(и):
Учреждение Российской академии наук Институт теоретической и прикладной механики им. С.А. Христиановича Сибирского отделения РАН (ИТПМ СО РАН) (RU)
|
(54) СПОСОБ ГАЗОДИНАМИЧЕСКОЙ ОБРАБОТКИ ПОВЕРХНОСТИ ПОРОШКОВЫМ МАТЕРИАЛОМ И УСТРОЙСТВО ДЛЯ ЕГО РЕАЛИЗАЦИИ
(57) Реферат:
Изобретение относится к способам и устройствам газодинамической обработки поверхности порошковым материалом и может быть использовано для нанесения покрытий или пескоструйной обработки. Способ включает подачу частиц порошкового материала в сверхзвуковое сопло, ускорение частиц сверхзвуковым газовым потоком и направление частиц на поверхность подложки. Для ускорения порошкового материала используют плоское или осесимметричное сопло, выполненное с длиной сверхзвуковой части и характерным размером критического сечения, соответствующими условиям L=4,35 pdp±50%; b=0,065 pdp±50%, где L – длина сверхзвуковой части сопла, м, dp – диаметр частиц порошкового материала, м, b – толщина плоского сопла (b=h), м, или b – диаметр критического сечения осесимметричного сопла (b=dcr), м, p – плотность материала частиц, кг/м3. Технический результат: повышение производительности обработки, повышение коэффициента напыления и качества покрытия при газодинамическом напылении. 2 н.п. ф-лы, 1 ил.
Изобретение относится к технологии и средствам для газодинамического нанесения покрытий из порошковых материалов и может быть использовано в машиностроении и других отраслях промышленности для получения покрытий, придающих различные свойства обрабатываемым поверхностям. Кроме того, оно может быть использовано в технологиях, где требуется высокая скорость соударения частиц порошка с поверхностью подложки: пескоструйная обработка; разрушение/дробление частиц порошка и т.п.
Известен способ и устройство для газодинамического напыления порошковых материалов /1/, содержащее блок напыления, включающий электронагреватель сжатого газа и сверхзвуковое сопло, жестко соединенное с выходом электронагревателя и содержащее узел ввода в сопло порошкового материала, блок управления, соединенный с электронагревателем сжатого газа гибким трубопроводом и электрокабелем, порошковый питатель, выход которого соединен гибким трубопроводом с узлом ввода в сопло порошкового материала. Для повышения безопасности работы устройства путем снижения температуры внешних элементов электронагревателя сжатого газа электронагреватель сжатого газа включает в себя кожух, в котором размещен с зазором, заполненным теплоизолятором, металлический корпус, внутри которого установлен тепловыделяющий элемент, а в металлическом корпусе выполнены отверстия, обеспечивающие обдув кожуха изнутри ненагретым газом, а узел ввода в сопло порошкового материала выполнен с возможностью обеспечения поступления порошкового материала в закритическую часть сверхзвукового сопла под углом к его оси для повышения эффективности за счет более равномерного распределения порошкового материала по сечению сопла. Для удобства обработки участков поверхности изделия разной формы сверхзвуковое сопло имеет круглое или прямоугольное поперечное сечение. В зависимости от состава используемых порошковых материалов отношение длины сверхзвуковой части сверхзвукового сопла к минимальному поперечного размеру сопла может составлять от 20 до 100.
Недостатком указанного устройства является то, что размеры сверхзвукового сопла никак не связаны с размером и плотностью напыляемых частиц и не обеспечивают оптимального ускорения (получение максимальной скорости соударения с подложкой) в сверхзвуковой части сопла частиц различного размера и плотности и соответственно получения максимального качества напыляемых покрытий.
Известен также способ и устройство /2/ для газодинамического нанесения покрытий, включающее нагреватель сжатого газа, сверхзвуковое сопло (сопло Лаваля), непосредственно соединенное с нагревателем газа и содержащее горло, расположенное между сужающимся и расширяющимся участками, узел подачи порошков в сопло, в котором элементы для ввода порошков в сопло размещены после горла сопла, узел подачи порошков в сопло содержит один или несколько порошковых питателей, соединенных трубопроводами с элементами для ввода одного или нескольких порошков в сопло, а участок сопла, расположенный после элементов для ввода порошков и предназначенный для ускорения порошков, выполнен с параметрами, удовлетворяющими следующему соотношению: 0,015
Недостатком указанного устройства также является то, что размеры сверхзвукового сопла никак не связаны с размером и плотностью напыляемых частиц и не обеспечивают оптимального ускорения (получение максимальной скорости соударения с подложкой) в сверхзвуковой части сопла частиц различного размера и плотности и соответственно получения максимального качества напыляемых покрытий. Так как отношение площадей обычно составляет Sout/Sinj 2-4, формула 0,015
Наиболее близким по технической сущности является способ и устройство /3/ для нанесения покрытий на подложку кинетическим напылением и термическим напылением, используя одно сопло. Устройство включает нагреватель газа, обеспечивающий переключение между режимом кинетического напыления, когда частицы не термически размягчены и режимом термического напыления, когда частицы термически размягчены перед напылением. Устройство расширяет возможности сопла напыления и предназначено для решения различных проблем в кинетическом напылении. В данном методе используются частицы размером dp=(50-250)·10-6 м, а сопло имеет следующие размеры: длина сверхзвуковой части сопла L=(60-400)·10-3 м, диаметр критического сечения осесимметричного сопла dcr=(1,5-3,5)·10-3 м.
Недостатком указанного способа и устройства является то, что размеры сверхзвукового сопла оптимизированы только для частиц, указанных в патенте (dp=(50-250)·10-6 м), и не связаны с плотностью напыляемых частиц. Соответственно не обеспечивается оптимальное ускорение (получение максимальной скорости соударения с подложкой) в сверхзвуковой части сопла частиц, имеющих размер, отличный от заявленного. Таким устройством, например, невозможно обеспечить высокую скорость соударения с подложкой частиц размером менее 1·10-6 м. Так как частицы будут существенно тормозиться в сжатом слое, формируемом при натекании сверхзвуковой струи на подложку.
Задачей изобретения является получение максимальной (для выбранных параметров газа – состав, давление и температура торможения) скорости соударения частиц с подложкой путем создания сопел с оптимальным соотношением параметров (длины сверхзвуковой части и характерного размера в критическом сечении), рассчитанных под конкретный размер и плотность частиц порошкового материала. Это, в свою очередь, приведет к:
– повышению коэффициента напыления и качества покрытия при холодном газодинамическом напылении;
– возможности использовать для холодного газодинамического напыления и пескоструйной обработки поверхности частиц размером, в частности, менее 1·10-6 м и проводить эти процессы с пространственным разрешением менее 1·10-3 м;
– повышению производительности в технологии пескоструйной обработки поверхности и технологии дробления/измельчения частиц.
Например, необходимо нанести покрытие из частиц порошкового материала, имеющих размер около 100·10-9 м (наночастицы). При использовании традиционного для газодинамического напыления сопла (длина сверхзвуковой части около 100·10-3 м и характерный размер в критическом сечении около 3·10-3 м) покрытие получить не удается. Это обусловлено тем, что такие мелкие частицы не смогут соударяться с высокой скоростью с поверхностью подложки из-за существенного торможения их в сжатом слое, формируемом при натекании сверхзвуковой струи на подложку.
С другой стороны, если необходимо обеспечить высокое пространственное разрешение (нанесение дорожек покрытия с шириной менее 1·10-3 м, непосредственное формирование напылением 3D объектов и др.), то сопло должно иметь соответствующий размер выходного сечения. Длина сверхзвуковой части такого сопла соответственно должна быть уменьшена. В соответствие с выбранными размерами сопла необходимо выбирать частицы, имеющие размер, обеспечивающий максимальную скорость соударения с подложкой. Очень мелкие частицы хорошо ускоряются в сопле, но сильно тормозятся в сжатом слое, крупные наоборот, практически не тормозятся в сжатом слое, но, в то же время, плохо ускоряются в сопле. Поэтому существует оптимальный размер, обеспечивающий максимальную скорость соударения частиц с подложкой, а это, в свою очередь, позволяет получить максимальные коэффициент напыления и качество покрытия или иные характеристики процессов (пескоструйная обработка; разрушение/дробление частиц порошка и т.п.).
Поставленная задача решается благодаря тому, что частицам газопорошкового потока в зависимости от их размера и плотности, и выбранных параметров газа обеспечивают максимально возможную скорость соударения с поверхностью подложки. Для этого способ газодинамической обработки поверхности порошковым материалом включает подачу частиц порошкового материала из узла подачи в сверхзвуковое сопло, ускорение частиц в сопле сверхзвуковым газовым потоком с формированием газопорошкового потока и направление частиц на поверхность подложки. Для ускорения порошкового материала используют плоское или осесимметричное сопло, выполненное с длиной сверхзвуковой части и характерным размером критического сечения, соответствующими условиям:
L=4,35 pdp±50%; b=0,065 pdp±50%,
где L – длина сверхзвуковой части сопла, м, dp – диаметр частицы порошкового материала, м, b – толщина плоского сопла (b=h), м, или b – диаметр критического сечения осесимметричного сопла (b=dcr), м, p – плотность материала частицы, кг/м3.
Эти условия получены расчетным путем, результаты расчетов в широком диапазоне размеров частиц и сопла, давления и температуры газа (воздух, азот, гелий) сравнивались с экспериментальными результатами измерения скорости частиц различного размера и плотности на срезе сопла.
Для реализации способа используют устройство для газодинамической обработки поверхности порошковым материалом, содержащее сменное сверхзвуковое сопло плоское или осесимметричное, соединенное с узлом подачи в него порошкового материала, и дозатор порошкового материала, выход которого соединен с узлом подачи порошкового материала в сопло, при этом сопло выполнено с длиной сверхзвуковой части и характерным размером критического сечения, соответствующими условиям
L=4,35 pdp±50%, b=0,065 pdp±50%,
где L – длина сверхзвуковой части сопла, м, dp – диаметр частицы порошкового материала, b – толщина плоского сопла (b=h), или b – диаметр критического сечения осесимметричного сопла (b=dcr), м, p – плотность материала частицы, кг/м3.
Преимуществами предложенного способа газодинамического ускорения частиц порошкового материала и устройства для его реализации является то, что для выбранных (необходимых для выполнения той или иной операции) размера и плотности частиц, давления и температуры газа (например, воздух, азот, гелий и их смеси) можно рассчитать размеры сверхзвуковой части сопла, которая обеспечит максимальную скорость соударения частиц порошка с подложкой, и соответственно: качество покрытия; производительность или качество очистки поверхности; производительность процесса дробления/измельчения частиц. С другой стороны, для обеспечения необходимого пространственного разрешения процесса напыления или пескоструйной очистки поверхности можно выбрать размер необходимого порошка, также обеспечивающий: нанесение покрытия с высокими коэффициентом напыления и качеством; процесс пескоструйной обработки с мелкозернистой (соответствующей размеру используемых частиц) структурой обработанной поверхности.
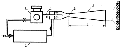
На чертеже изображено устройство для газодинамической обработки поверхности порошковым материалом.
Устройство для газодинамической обработки поверхности порошковым материалом: сменное сверхзвуковое сопло 1 плоское или осесимметричное, соединенное с выходом электронагревателя 2 и узлом подачи в него порошкового материала 3; дозатор порошкового материала 4, выход которого соединен с узлом подачи порошкового материала в сопло. Сверхзвуковая часть сменных сопел может быть плоской или осесимметричной, а длина сверхзвуковой части и характерный размер критического сечения выполнены в соответствии с условиями
L=4,35 pdp±50%, b=0,065 pdp±50%,
где L – длина сверхзвуковой части сопла, м, dp – диаметр частицы порошкового материала, м, b – толщина плоского сопла (b-h), м, или b – диаметр критического сечения осесимметричного сопла (b=dcr) м, p – плотность материала частицы, кг/м3.
Способ газодинамической обработки поверхности порошковым материалом осуществляется следующим образом.
В зависимости от выбранных для напыления/пескоструйной обработки/дробления порошка (плотность материала частиц и их средний размер) и давления, и температуры газа (например, воздух, азот, гелий и их смеси) по предложенным зависимостям вычисляются основные размеры сопла – длина сверхзвуковой части и характерный размер в критическом сечении (толщина для плоского сопла или диаметр критического сечения для осесимметричного сопла) и затем частицам порошка обеспечивают максимальную скорость соударения с поверхностью подложки за счет газодинамического ускорения в сверхзвуковой части плоского или осесимметричного сопла.
Использование сопел, специально сконструированных под конкретный размер частиц выбранного порошкового материала, обеспечивает максимальную скорость его взаимодействия с подложкой.
Примеры на разные размеры частиц.
1. Для процесса холодного газодинамического напыления выберем медный порошок со средним размером частиц 1 мкм. Давление торможения азота или воздуха выберем равным 2,0 МПа, температуру торможения – 700 К. По предложенным зависимостям для плоского сопла L=4,35 pdp±50%, h=0,065 pdp±50%. После подстановки p=8940 кг/м3 и dp=1·10-6 м, получим оптимальные размеры сопла L=(20-60)·10-3 м и h=(0,29-0,87)·10-3 м для обеспечения максимальной скорости соударения частиц с подложкой.
2. Для частиц алюминия ( p=2700 кг/м3) того же размера для осесимметричного сопла получим L=(6-18)·10-3 м и dcr=(0,09-0,26))·10-3 м. При этом давление торможения азота или воздуха выберем равным 2,0 МПа, температуру торможения – 500 К.
3. Требуется обеспечить процесс напыления медным порошком с пространственным разрешением, равным 0,5·10-3 м. Это значит необходимо выбрать сопло с диаметром выходного сечения, равным 0,5·10-3 м, и соответственно диаметром критического сечения около 0,3·10-3 м. Давление торможения гелия выберем равным 2,0 МПа, температуру торможения – 300 К. Далее по формуле dcr=0,065 pdp±50% находим необходимый размер частиц медного порошка и по формуле L=4,35 pdp±50% находим требуемую для оптимального ускорения частиц длину сверхзвуковой части сопла. В этом случае получаем dp=(0,34-1,03)·10-6 м=0,34-1,03 мкм и L=(13,2-40)·10-3 м.
4. Для процесса пескоструйной обработки поверхности выберем корундовый порошок (Al2O3) со средним размером частиц 10·10-6 м. Давление торможения воздуха выберем равным 0,6 МПа, температуру торможения – 300 К. По предложенным зависимостям для плоского сопла L=4,35 pdp±50%, h=0,065 pdp±50%. После подстановки р 4000 кг/м3 и dp=10·10-6 м, получим оптимальные размеры сопла L (90-270)·10-3 м и h (1,2-3,7)·10-3 м для обеспечения максимальной скорости соударения частиц с подложкой.
5. Требуется обеспечить процесс пескоструйной обработки поверхности порошком карбида кремния (SiC) с пространственным разрешением, равным 1,0·10-3 м. Это значит необходимо выбрать сопло с диаметром выходного сечения, равным 1,0·10-3 м, и соответственно диаметром критического сечения около 0,5·10-3 м. Давление торможения воздуха выберем равным 1,0 МПа, температуру торможения -300 К. Далее по формуле dcr=0,065 pd ±50% находим необходимый размер частиц порошка карбида кремния и по формуле L=4,35 pdp±50% находим требуемую для оптимального ускорения частиц длину сверхзвуковой части сопла. В этом случае получаем dp=(1,2-3,6)·10-6 м = 1,2-3,6 мкм и L=(16,7-50,1)·10-3 м.
Источники информации
1. Патент RU 2257423, С23С 24/04, 2003 г.
2. Патент RU 2288970, С23С 24/04, 2005 г.
3. US Patent 6743468 В2, 2004 – прототип.
Формула изобретения
1. Способ холодного газодинамического нанесения покрытия из порошкового материала, включающий подачу частиц порошкового материала через узел подачи в сверхзвуковое сопло, ускорение его сверхзвуковым газовым потоком с формированием газопорошкового потока и соударение частиц с поверхностью подложки, отличающийся тем, что частицы порошкового материала ускоряют в плоском или осесимметричном сопле, выполненном с длиной сверхзвуковой части и характерным размером критического сечения, соответствующими условиям: L=4,35 pdp±50%; b=0,065 pdp±50%, где L – длина сверхзвуковой части сопла, dp – диаметр частиц, b – толщина плоского сопла (b=h) или b – диаметр критического сечения осесимметричного сопла (b=dcr), p – плотность материала частиц.
2. Устройство для холодного газодинамического нанесения покрытий из порошкового материала, содержащее сверхзвуковое сопло, соединенное с узлом подачи в него порошкового материала, и дозатор порошкового материала, выход которого соединен с узлом подачи порошкового материала в сопло, отличающееся тем, что устройство снабжено сменными плоскими или осесимметричными соплами, выполненными с длиной сверхзвуковой части и характерным размером критического сечения, соответствующими условиям: L=4,35 pdp±50%; b=0,065 pdp±50%, где L – длина сверхзвуковой части сопла, р – плотность материала частицы, dp – диаметр частицы, b=h – толщина плоского сопла или b=dcr – диаметр критического сечения осесимметричного сопла.
РИСУНКИ
(sout>(sout> |
|