|
|
(21), (22) Заявка: 2008145538/12, 18.11.2008
(24) Дата начала отсчета срока действия патента:
18.11.2008
(43) Дата публикации заявки: 27.05.2010
(46) Опубликовано: 20.09.2010
(56) Список документов, цитированных в отчете о поиске:
Разработка технологии отмочно-зольных и дубильных процессов в производстве хромовых кож с применением неравновесной низкотемпературной плазмы пониженного давления. Автореферат диссертации. МУХАМЕТШИН А.М. – КГТУ, 2007. АБДУЛЛИН И.Ш. и другие. Влияние низкотемпературной неравновесной плазмы на водостойкость кожевенного полуфабриката. КГТУ, ГНПП”МЕДИНСТРУМЕНТ”. Казань, 1998, Институт химии растворов РАН, 19.04.1996. RU 2127763 C1, 20.03.1999. WO 03060166 A1, 24.07.2003. RU 2298040 C1, 27.04.2007. KR 20040068051 A, 30.07.2004.
Адрес для переписки:
420103, Татарстан, г.Казань, ул. Амирхана, 61-95, директору ООО “Кожевник” Г.Р. Рахматуллиной
|
(72) Автор(ы):
Абдуллин Ильдар Шаукатович (RU), Тихонова Валентина Петровна (RU), Рахматуллина Гульназ Раисовна (RU), Гыйлметдинова Гульфина Зофаровна (RU)
(73) Патентообладатель(и):
Общество с ограниченной ответственностью “Кожевник” (RU)
|
(54) СПОСОБ ВЫДЕЛКИ КОЖЕВЕННЫХ ПОЛУФАБРИКАТОВ
(57) Реферат:
Изобретение относится к кожевенной промышленности и может быть использовано при выделке кожевенного полуфабриката. Техническим результатом является сокращение времени обработки кожевенного сырья с увеличением значения температуры сваривания хромового полуфабриката, являющегося показателем контроля процесса дубления. Способ выделки кожевенного полуфабриката включает последовательное проведение подготовительных и дубильных процессов, в котором кожевенное сырье, особенно мелких пород, например козлины, перед процессом отмоки подвергают воздействию низкотемпературной неравновесной плазмы высокочастотного разряда в течение 420-600 секунд, при давлении в разрядной камере 30,1-39,9 Па, с расходом плазмообразующего газа аргона 0,06-0,08 г/сек, с силой тока на аноде 0,5-0,8 А, с напряжением на аноде 3-5 кВ. 1 ил., 5 табл.
Изобретение относится к кожевенной промышленности и может быть использован в технологии производства кожи.
Известен способ отделки кож (патент 2127763, С14С 9/00, 11/00, В29С 59/14, авторы Абдуллин И.Ш., Абуталипова Л.Н., Махоткина Л.Ю.).
Известен способ отделки кож (А. св. 969732 (034291), М. кл.3. С14С 11/00, авторы А.А.Малышева, В.Я.Климова, И.И.Микаэлян, В.И.Тамонов, В.П.Рохлин, и д.р.).
Известен способ изготовления кож или меховой шкуры (патент 795502, М. кл3. С14С 1/00, С14С 3/00, С14С 9/00, автор Ханс-Дитер Граф, ФРГ).
Прототипом является способ выработки натуральных кож (Методика выработки кож хромового дубления разных толщин и ассортимента для верха обуви, ЦНИИКП, M. 1991), который осуществляется последовательным проведением технологических процессов: отмока, золение, обеззоливание, мягчение, пикелевание и дубление.
Недостатком данного способа является продолжительность производственного цикла обработки подготовительных и дубильных процессов.
Задачей предлагаемого изобретения является сокращение времени обработки кожевенного сырья с увеличением значения температуры сваривания хромого полуфабриката, являющегося показателем контроля процесса дубления.
Поставленная задача достигается тем, что способ выделки кожевенного полуфабриката, включающий последовательное проведение подготовительных и дубильных процессов, согласно изобретению кожевенное сырье перед процессом отмоки подвергают воздействию низкотемпературной неравновесной плазмы высокочастотного разряда в гидрофильном режиме в течение 420-600 секунд, при давлении в разрядной камере 30,1-39,9 Па, с расходом плазмообразующего газа аргона 0,06-0,08 г/сек, с силой тока на аноде 0,5-0,8 А, с напряжением на аноде 3-5 кВ.
При обработке кожевенное сырье, введенное в неравновесную низкотемпературную плазму (НТП), заряжается отрицательно относительно плазмы. Отрицательный заряд поверхности создает потенциальный барьер, препятствующий попаданию на поверхность электронов, энергия которых меньше величины барьера. Вследствие этого возле поверхности кожевенного сырья образуется двойной слой, в котором нарушается условие квазинейтральности. Помимо этого, в результате колебаний электронного газа относительно малоподвижных ионов в осциллирующем электрическом поле в неравновесной низкотемпературной плазме пониженного давления у поверхности образца образуется слой положительного заряда (СПЗ) толщиной ~10-3 м. Ионы плазмы, ускоряясь в электрическом поле СПЗ, приобретают дополнительную энергию до 100 эВ и формируют поток с плотностью ионного тока 0,3-0,9 А/м2.
Основными процессами, ответственными за модификацию поверхности капиллярно-пористого материала в неравновесной низкотемпературной плазме пониженного давления, являются бомбардировка ионами с энергией до 100 эВ, рекомбинация ионов на поверхности и термическое воздействие.
Обработка мелкого кожевенного сырья (шкуры козлины) НТП в гидрофильном режиме путем взаимодействия потоков заряженных частиц, поступающих на внешнюю поверхность из плазмы, а на внутреннюю – из объема пор и капилляров в результате пробоя последних, приводит к разделению волокон дермы за счет разрыва слабых межмолекулярных связей. Такое разделение способствует сокращению продолжительности подготовительных и дубильных процессов на 15 часов по сравнению с типовой технологией, а также обеспечивает глубокое внедрение хрома в дерму голья, что приводит к повышению степени структурирования полуфабриката и, как следствие, к увеличению температуры сваривания.
Исследуемая шкура козлины (мелкое кожевенное сырье) имеет следующие принципиальные отличия от шкур овчины и КРС: структура шкуры козлины более плотная, а лицевой слой жестче и прочнее. В связи с этим для модификации данной структуры в сырье необходимо более высокое давление (30,1-39,9 Па), чем при обработке шкур овчин и крупного рогатого скота (КРС) в сырье (например, в автореферате диссертации Мухаметшина A.M. на соискание ученой степени к.т.н., 2007 г. обоснована модификация сырья шкур овчины и КРС НТП при давлении 13,3 Па), но ниже, чем для модификации краста, т.е. уже полностью сформированной структуры (например, патент RU 2127763 С1, 1999 г. обоснована модификация краста НТП при давлении 53,3-80 Па).
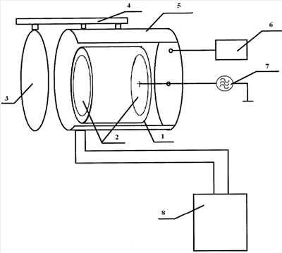
Способ осуществляют на плазменной установке ВЧЕ, которая создана на базе промышленной установки ВЧИ 11-60/13,56.
ВЧЕ плазменная установка (фиг.1) содержит плексигласовый барабан (1), ВЧ-электроды (2), колпак вакуумной камеры (3), консоль для открытия крышки вакуумной камеры (4), вакуумную камеру (5), систему подачи и регулировки плазмообразующего газа (6), ВЧ-генератор (7), вакуумный откачной пост (8).
Способ осуществляют следующим образом.
В вакуумной камере (5) заготовку размещают в плексигласовом барабане (1) между параллельно вертикально расположенными электродами (2) вдоль потока плазмообразующего газа. Производят откачку воздуха из вакуумной камеры (4). В вакуумную камеру (4) напускают рабочий газ. Регулировкой вентиля, соединяющего вакуумную камеру (4) с системой откачки (8), устанавливают заданное давление. При подаче на электроды (2) ВЧ напряжения за счет нагрева плазмообразующего газа до состояния плазмы образуется плазменный поток – инструмент обработки.
Под действием электромагнитного поля происходит нагрев плазмообразующего газа аргона до состояния плазмы. Задаваемая сила тока на аноде 0,5-0,8 А, напряжение на аноде 3-5 кВ, рабочее давление в вакуумном блоке 30,1-39,9 Па, время воздействия высокочастотной плазмы 420-600 секунд обеспечивают необходимую обработку.
Были произведены испытания в промышленных условиях на ООО «Кожевник» г.Казань. Контроль процесса дубления проводился на приборе для определения температуры сваривания. Отбор проб осуществлялся согласно ГОСТ 938.0-75.
Результаты исследований предлагаемого способа выделки кожевенного полуфабриката, приведены в таблице 1.
| Таблица 1 |
| Способы выделки |
Продолжительность процессов выделки мелкого кожевенного полуфабриката, ч |
Температура сваривания, °С |
| Отмока |
Золение |
Обеззоливание-мягчение |
Пикелевание |
Дубление |
| Прототип |
14 |
22 |
3 |
3,5 |
14 |
105 |
| Без обработки |
12 |
20 |
2,5 |
3 |
11 |
107 |
| Предлагаемый |
8 |
14 |
2 |
1,5 |
8 |
116 |
Преимуществом данного способа по сравнению с прототипом является интенсификация жидкостных подготовительных и дубильных процессов производства мелкого кожевенного полуфабриката с одновременным увеличением температуры сваривания.
В таблице 2 показано влияние режимов плазменной обработки на температуру сваривания и продолжительность подготовительных и дубильных процессов производства полуфабрикатов из шкур КРС, овчины и козлины.
| Таблица 2 |
| Наименование параметров |
Режим обработки |
Контрольный вариант |
| Расход плазмообразующего газа аргона, г/сек |
0,06 |
0,07 |
0,08 |
– |
| Давление в разрядной камере, Па |
30,1 |
35,0 |
39,9 |
– |
| Сила тока на аноде, А |
0,5 |
0,7 |
0,8 |
– |
| Напряжение на аноде, кВ |
3 |
4 |
5 |
– |
| Время обработки, сек |
420 |
510 |
600 |
– |
| Полуфабрикат из шкур козлины |
| Температура сваривания, °С |
115 |
117 |
116 |
107 |
| Продолжительность подготовительных и дубильных процессов, ч |
33,0 |
34,0 |
33,5 |
48,5 |
| Полуфабрикат из шкур КРС |
| Температура сваривания, °С |
109 |
111 |
110 |
105 |
| Продолжительность подготовительных и дубильных процессов, ч |
37,0 |
41,0 |
39,0 |
45,0 |
| Полуфабрикат из шкур овчины |
| Температура сваривания, °С |
108 |
110 |
109 |
102 |
| Продолжительность подготовительных и дубильных процессов, ч |
42,0 |
44,0 |
43,0 |
51,0 |
Из вышеприведенной таблицы видно, что режимы, представленные в данной заявке для мелкого кожевенного сырья, позволяют повысить температуру сваривания и снизить продолжительность подготовительных и дубильных процессов для полуфабрикатов из шкур КРС и овчины. Однако данные режимы по сравнению с режимами, представленными в автореферате диссертации Мухаметшина A.M., не являются наилучшими, т.к. для их достижения затрачивается больше энергии ионов и требуется большая плотность ионного тока, что является энергетически невыгодным.
В режимах, предлагаемых в автореферате диссертации Мухаметшина A.M. на соискании ученой степени кандидата технических наук (Разработка технологии отмочно-зольных и дубильных процессов в производстве хромовых кож с применением низкотемпературной неравновесной плазмы пониженного давления, КГТУ, Казань, 2007): GAr=0,04 г/с, Wp=1,3 кВт (Ia=0,5 A, U=4 кВ)*, Р=13,3 Па, t=5 мин (для шкур овчины), t=3 мин (для шкур КРС), производилась обработка сырья из шкур козлины, результаты приведены ниже.
| Таблица 3 |
| Полуфабрикат из шкур козлины |
| Наименование параметров |
Опытный вариант (GAr=0,04 г/с, Wp=1,3 кВт (Ia=0,5 A, U=4 кВ)*, Р=13,3 Па, t=5 мин) |
Контрольный вариант |
| Температура сваривания, °С |
108 |
107 |
| Продолжительность подготовительных и дубильных процессов, ч |
48,0 |
48,5 |
В режимах, заявленных в кожевенно-обувной промышленности, 2, 2004: G=0,04 г/с, Wp=1,81 кВт (Ia=0,7 A, U=4 кВ)*, Р=26,6 Па, t=3 мин производилась обработка сырья из шкур козлины, результаты приведены ниже.
| Таблица 4 |
| Полуфабрикат из шкур козлины |
| Наименование параметров |
Опытный вариант (G=0,04 г/с, Wp=1,81 кВт (Ia=0,7 А, U=4 кВ)*, Р=26,6 Па, t=3 мин) |
Контрольный вариант |
| Температура сваривания, °С |
109 |
107 |
| Продолжительность подготовительных и дубильных процессов, ч |
47,5 |
48,5 |
В режимах, заявленных в патенте 2127763: G=0,04-0,06 г/с, Ia=0,2-0,6 А, Р=53,3-80 Па, t=5-10 мин производилась обработка сырья из шкур козлины, результаты приведены ниже.
| Таблица 5 |
| Наименование параметров |
Режим обработки |
Контрольный вариант |
| Расход плазмообразующего газа аргона, г/сек |
0,04 |
0,06 |
– |
| Давление в разрядной камере, Па |
53,3 |
80,0 |
– |
| Сила тока на аноде, А |
0,2 |
0,6 |
– |
| Время обработки, сек |
300 |
600 |
– |
| Полуфабрикат из шкур козлины |
| Температура сваривания, °С |
110 |
104 |
107 |
| Продолжительность подготовительных и дубильных процессов, ч |
47,0 |
50,0 |
48,5 |
| *В связи с тем, что при обработке неравновесной низкотемпературной плазмой материалов техническими параметрами являются либо сила тока и напряжение на аноде либо мощность разряда, поэтому для возможности сопоставления результатов различных авторов в таблицах при использовании показателя мощности разряда в скобках приведены эквивалентные значения силы тока и напряжения на аноде. |
Из вышеприведенных таблиц, видно, что ни один из рассмотренных режимов не позволяет достичь результатов, показанных в заявке.
Таким образом, режимы, показанные в заявке для мелкого кожевенного сырья, являются наилучшими для модификации плотной структуры козлины.
Формула изобретения
Способ выделки кожевенного полуфабриката, включающий последовательное проведение подготовительных и дубильных процессов, характеризующийся тем, что кожевенное сырье перед процессом отмоки подвергают воздействию низкотемпературной неравновесной плазмы высокочастотного разряда в течение 420-600 с, при давлении в разрядной камере 30,1-39,9 Па, с расходом плазмообразующего газа аргона 0,06-0,08 г/с, с силой тока на аноде 0,5-0,8 А, с напряжением на аноде 3-5 кВ.
РИСУНКИ
|
|