|
|
(21), (22) Заявка: 2009100181/11, 11.01.2009
(24) Дата начала отсчета срока действия патента:
11.01.2009
(46) Опубликовано: 20.09.2010
(56) Список документов, цитированных в отчете о поиске:
GB 2384481 В, 22.09.2004. DE 4324909 A1, 26.01.1995. GB 414161 A, 15. 08.1934. SU 1472430 A1, 15.04.1989. WO 2008125299 A1, 23.10.2008. EP 1513237 A1, 09.03.2005.
Адрес для переписки:
420039, г.Казань, ул. Восход, 39, ОАО “Казанский электромеханический завод”, Генеральному директору Е.Л. Новикову
|
(72) Автор(ы):
Пташниченко Виктор Петрович (RU), Семенов Георгий Иванович (RU), Бадылов Сергей Юрьевич (RU), Рыбак Александр Владимирович (RU)
(73) Патентообладатель(и):
Открытое акционерное общество “Казанский электромеханический завод” (RU)
|
(54) ПОДЪЕМНИК АВТОМОБИЛЬНЫЙ ГИДРАВЛИЧЕСКИЙ
(57) Реферат:
Изобретение относится к подъемно-транспортным механизмам, служит для перемещения людей и грузов на рабочих платформах с одного уровня на другой и позволяет улучшить эксплуатационные показатели за счет уменьшения габаритов устройства в транспортном положении, повышения устойчивости машины. Подъемник содержит шасси на ходовых передних и задних колесах, телескопическую стрелу, установленную на подъемно-поворотной раме опорного основания, размещенного на шасси между ходовыми передними и задними колесами. Стрела, на которой подвешена рабочая платформа в виде короба, соединена с подъемно-поворотной рамой гидроцилиндром подъема и опирается в транспортном положении на стойку, расположенную в передней части опорного основания. Рабочая платформа выполнена трансформируемой и состоит из двух секций, из которых нижняя имеет днище и боковые стенки, а верхняя – боковые стенки, при этом секции соединены между собой посредством боковых стоек (44) с шарнирным механизмом (35) и фиксаторами (40), с возможностью поворота верхней секции на 180° и складывания ее под нижней секцией. Изобретение обеспечивает уменьшение габаритов в транспортном положении. 6 з.п. ф-лы, 6 ил.
Изобретение относится к подъемно-транспортным механизмам, а именно к автомобильным гидравлическим подъемникам, и служит для перемещения людей и грузов на рабочих платформах с одного уровня на другой.
Известно подъемное устройство, содержащее самоходное шасси, привод которого обеспечивает его перемещение в переднем и заднем направлениях. На шасси смонтирована поворотная платформа, горизонтально поворачивающаяся на 180° между передним и задним положениями. Раздвижная подъемная стрела, установленная на поворотной платформе, может поворачиваться горизонтально относительно шасси. Стрела обращена в сторону переднего и заднего концов шасси при перемещении между передним и задним положениями. На свободном конце стрелы смонтирована рабочая платформа для оператора. На вышке находится механизм управления устройством, на который воздействует оператор (см. пат. США 5107955, МПК B66F 11/04, опубл. 28.04.1992).
Известно устройство для подъема рабочей платформы (люльки), установленное на автомобиле и содержащее основание, в центре которого установлена опорная платформа, приводимая во вращение вокруг опорной оси в двух направлениях посредством приводной шестерни, находящейся в постоянном зацеплении с зубчатым венцом, расположенным внутри опорной платформы, и снабженной двумя вертикальными кронштейнами, к которым прикреплена первая пара рычагов, образующая первую из четырех секций мачты для подъема рабочей платформы, установленной на верхнем конце четвертой секции мачты, при этом устройство выполнено с вертикально ориентированными домкратами для поддержания устройства с поднятой мачтой, при этом основание содержит стальную коробчатую раму Х-образной формы, при этом каждое плечо Х-образной рамы выполнено телескопическим. Вторая секция мачты содержит коробчатый рычаг и растяжку, которая состоит из двух прямоугольных секций различной длины и ширины. Третья секция мачты содержит коробчатый рычаг, один конец которого шарнирно прикреплен к опорному элементу, а другой посредством дополнительного опорного элемента соединен с четвертой секцией мачты (см. патент РФ 2038286, МПК B66F 11/04, опубл. 27.06.1995).
Известен автомобильный подъемник, содержащий телескопическую стрелу, установленную на платформе автомобиля с возможностью поворота из наклонного транспортного положения в вертикальное рабочее, рабочую площадку, шарнирно подвешенную к главной секции стрелы, и устройство фиксации секций стрелы (см. Уланов Р.Н., Щербаков В.Д. Автомобильные подъемники и автопогрузчики, М., “Высшая школа”, 1977, с.17-18).
Известен подъемник автомобильный гидравлический, содержащий рукоять с телескопической стрелой, установленной на поворотной колонне опорной рамы с возможностью перевода из транспортного сложенного положения в рабочее разложенное, причем рукоять шарнирно сочленена с основанием стрелы, имеющей выдвижную секцию, рабочую платформу, подвешенную к стреле, которая снабжена датчиком положения ее относительно горизонта и системой ее ориентации с исполнительным механизмом, выносные опоры и насос для подачи рабочей жидкости в гидросистему подъемника (патент Великобритании GB1358850, МПК B66F 11/04, опубл. 03.07.1974).
Известен автоподъемник, содержащий шасси на ходовых передних и задних колесах, рабочую платформу (люльку), установленную на кронштейне, телескопическую стрелу с оголовком, смонтированную на раме поворотного основания, соединенную с ней гидроцилиндром подъема и опирающуюся в транспортном положении на стойку шасси, при этом поворотное основание размещено на опорном основании, закрепленном на шасси и содержащем выдвижные передние и задние опоры, выдвижные передние опоры расположены под углом 75-80° относительно продольной и поперечной осей автоподъемника. Поворотное основание размещено на шасси между ходовыми передними и задними колесами, а кронштейн рабочей платформы (люльки), расположенной с задней стороны, шарнирно соединен с поворотным кронштейном, соосно расположенными друг относительно друга, причем оголовок телескопической стрелы и поворотный кронштейн шарнирно связаны между собой концами рычагов с образованием параллелограммного механизма, имеющего гидроцилиндр его перемещения (патент на полезную модель 14208, МПК B66F 11/04, опубл. 10.07.2000).
Известен подъемник автомобильный гидравлический, содержащий рукоять с телескопической стрелой, установленной на поворотной колонне опорной рамы с возможностью перевода из транспортного сложенного положения в рабочее разложенное, причем рукоять шарнирно сочленена с основанием стрелы, имеющей выдвижную секцию, люльку, подвешенную к стреле, которая снабжена датчиком положения ее относительно горизонта и системой ее ориентации с исполнительным механизмом, выносные опоры и насос для подачи рабочей жидкости в гидравлическую систему подъемника. Стрела снабжена второй выдвижной секцией, к оголовку которой прикреплен конечный выключатель для сигнализации крепления люльки, выполненной съемной, люлька снабжена установленным на ее боковой поверхности с внешней стороны устройством сигнализации отрыва ее от поверхности земли и размещенным в ее нижней части датчиком усилия ограничителя предельного груза в люльке. Датчик установлен на конструкции, состоящей из верхнего и нижнего оснований и связей, образующих шарнирный параллелограмм для передачи нагрузки на этот датчик, и соединенной с V-образным кронштейном, шарнирно прикрепленным к вилке рабочей платформы (люльки), подсоединенной к оголовку второй выдвижной секции. Первая выдвижная секция снабжена конечным выключателем для ограничения высоты подъема люльки, на выносных опорах установлены конечные выключатели сигнализации установки опор, а на автомобиле установлен второй гидронасос, служащий для подачи рабочей жидкости в систему ориентации люльки, подъемник снабжен разъемными соединениями электро- и гидрооборудования для отсоединения рабочей платформы (люльки) в режиме работы подъемника в качестве манипулятора и крепления к оголовку второй выдвижной секции в этом режиме крюковой подвески и ограничителем предельного груза в упомянутом режиме, который закреплен на поворотной колонне и имеет датчик давления, срабатывающий при превышении предельной нагрузки при подъеме груза. Изобретение обеспечивает повышение удобства эксплуатации подъемника за счет обеспечения использования его в режиме крана-манипулятора и режиме подъемника, а также обеспечивает повышение безопасности (патент РФ 2199484, МПК B66F 11/04, опубл. 27.02.2003).
Известен гидравлический телескопический подъемник, ближайший по технической сущности к заявляемому и принятый за прототип, содержащий стрелу, выполненную из телескопически соединенных между собой неподвижной наружной, подвижных средней и внутренней секций, причем наружная секция шарнирно соединена с гидроцилиндром подъема стрелы и поворотной стойкой, установленной на основании, закрепленном на раме шасси автомобиля, а внутренняя секция шарнирно соединена свободным концом с рабочей платформой, гидроцилиндр перемещения средней секции и привод перемещения внутренней секции. Привод перемещения внутренней секции выполнен в виде гидроцилиндра, установленного во внутренней полости секций параллельно указанному гидроцилиндру перемещения средней секции, и шарнирно соединенного штоком с внутренней секцией. Каждый из гидроцилиндров перемещения секций шарнирно установлен на осях, закрепленных на средней секции, причем гидроцилиндр перемещения средней секции штоком шарнирно соединен с наружной секцией, а поршневые полости гидроцилиндров перемещения секций соединены трубопроводом, который снабжен согласующим клапаном (патент РФ 2108280, МПК B66F 11/04, опубл. 10.04.1998). Известное устройство имеет большие габариты в транспортном положении, из-за высоко расположенной над кабиной рабочей платформы, кроме того, устройство недостаточно устойчиво и небезопасно при обслуживании.
Технический результат, на достижение которого направлено предлагаемое изобретение, заключается в улучшении эксплуатационных показателей за счет уменьшения габаритов устройства в транспортном положении, повышения его устойчивости и надежности работы.
Технический результат достигается тем, что подъемник автомобильный гидравлический содержит шасси на ходовых передних и задних колесах, на подъемно-поворотной раме опорного основания, размещенного на шасси между ходовыми передними и задними колесами, установлена телескопическая стрела, с возможностью перевода из транспортного сложенного положения в рабочее – разложенное, на которой подвешена рабочая платформа, в транспортном положении расположенная над кабиной автомобиля, выполненная в виде короба, при этом телескопическая стрела соединена с подъемно-поворотной рамой гидроцилиндром подъема и опирается в транспортном положении на стойку, расположенную в передней части опорного основания, а опорное основание содержит выдвижные передние и задние опоры, рабочая платформа выполнена трансформируемой и состоит из двух секций, из которых нижняя имеет днище и боковые стенки, а верхняя – боковые стенки, секции соединены между собой посредством боковых стоек с шарнирным механизмом, снабженным фиксаторами, с возможностью поворота верхней секции на 180° и складывания ее под нижней секцией.
Под нижней секцией рабочей платформы установлены изоляторы, а поверхность перил ее верхней секции облицована малотеплопроводным материалом.
На ограждении верхней секции рабочей платформы установлен пульт управления и имеются места крепления карабинов предохранительных поясов рабочих.
В узле крепления рабочей платформы и стрелы установлен ограничитель предельного груза.
Рабочая платформа снабжена датчиком положения относительно горизонта и системой ее ориентации с исполнительным механизмом.
Изобретение поясняется чертежами, где:
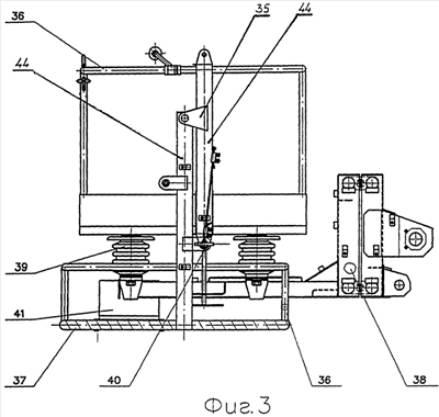
Фиг.1 – общий вид подъемника автомобильного гидравлического ТА-22 в транспортном положении; фиг.2 – общий вид подъемника в рабочем положении; фиг.3 – рабочая платформа в транспортном положении; фиг.4 – рабочая платформа в рабочем положении; фиг.5 – вид на посадочный проем рабочей платформы; фиг.6 – сечение телескопической стрелы.
Здесь: 1 – шасси; 2 – основание опорное; 3 – рама подъемно-поворотная; 4 – телескопическая стрела; 5 – платформа рабочая; 6 – передние выносные опоры; 7 – задние выносные опоры; 8 – настил; 9 – фиксаторы опор; 10 – надстройка, на которой крепится опора поворотная 11 с гидромотором 12; 13 – ограждение основания опорного 2; 14 – грузовой отсек средней части основания опорного 2 с откидными бортами; 15 – отсек электрооборудования с правого борта под настилом 8 в задней части основания опорного 2; 16 – выносной пульт управления, в транспортном положении расположен внутри отсека электрооборудования 15; 17 – стойка опорная телескопической стрелы 4, расположенная в передней части основания опорного 2; 18 – узел фиксации стрелы в транспортном положении; 19 – бак гидросистемы; 20 – упоры противооткатные; 21 – задняя балка, установленная в задней части основания опорного 2; 22 – гидроцилиндр слежения платформы рабочей 5; 23 – кронштейн для крепления гидроцилиндра 24 подъема стрелы 4; 25 – кронштейн стрелы 4; 26 – кожух, закрывающий гидросистему рамы подъемно-поворотной 3; 27, 28, 29, 30 – секции стрелы 4 (фиг.1); 31, 32 – соответственно верхний и нижний короба секций стрелы (фиг.6); 33 – гидроцилиндр телескопирования (фиг.1); 34 – гидроцилиндр ориентации рабочей платформы 5; 35 – шарнирный механизм платформы рабочей 5 (фиг.3, 4); 36 – ограждение платформы рабочей 5; 37 – облицовка перил платформы 5; 38 – ограничитель предельного груза; 39 – изоляторы; 40 фиксаторы; 41 – пульт управления; 42 – крепление карабинов предохранительных поясов рабочих (фиг.3, 4); 43 – ограждение посадочного проема рабочей платформы 5 (фиг.5); 44 – боковые стойки верхней и нижней секций рабочей платформы с шарнирным механизмом 35 (фиг.3, 4); 45 – кронштейн крепления рабочей платформы 5 к головной части верхней секции 30 стрелы телескопирования 4.
Подъемник автомобильный гидравлический ТА-22 с электроизолированной рабочей платформой грузоподъемностью 200 кг и рабочим полем высотой 22 м и вылетом 8 м предназначен для подъема людей с инструментом и материалами на высоту при выполнении электромонтажных, строительных, эксплутационных и других видов работ.
Подъемник автомобильный гидравлический содержит шасси 1 на ходовых передних и задних колесах, телескопическую стрелу 4, установленную на подъемно-поворотной раме 3 опорного основания 2, размещенного на шасси 1 между ходовыми передними и задними колесами. Телескопическая стрела 4 смонтирована с возможностью перевода ее из транспортного сложенного положения в рабочее – разложенное, на ней на кронштейне 45 закреплена рабочая платформа 5, в транспортном положении расположенная над кабиной автомобиля. Телескопическая стрела 4 соединена с подъемно-поворотной рамой 3 гидроцилиндром подъема 24 и опирается в транспортном положении на стойку 17, расположенную в передней части опорного основания 2. Телескопическая стрела 4 выполнена четырехсекционной, имеет секции 27, 28, 29, 30. Гидроцилиндр телескопирования 33 расположен снизу под стрелой, а электрокабели и гидравлические трубы – внутри секций стрелы 4. Опорное основание 2 содержит выдвижные передние 6 и задние 7 опоры, расположенные под углом относительно продольной и поперечной осей автоподъемника.
Подъемник автомобильный гидравлический снабжен выносным пультом 16, расположенным в транспортном положении в отсеке электрооборудования 15 на опорном основании 2.
Основание опорное 2 (фиг.1) представляет собой сварную конструкцию коробчатого сечения с опорами выносными 6 и 7 и настилом 8. Передние опоры 6 вынесены вперед под углом к площадке основания, за счет чего увеличивается опорный контур. Опоры выносные 6 и 7 телескопические, коробчатого сечения. Выдвижение опор выносных 6 и 7 осуществляется с помощью гидравлических цилиндров, которые установлены внутри них. В транспортном положении опоры 6 и 7 фиксируются от непроизвольного выдвижения фиксаторами 9.
На основании опорном 2 (фиг.1) в задней части имеется надстройка 10, на которой крепится опора поворотная 11 с гидромотором 12.
На опору поворотную 11 с гидромотором 12 сверху устанавливается рама подъемно-поворотная 3. По двум сторонам основания опорного 2 (фиг.2) установлено ограждение 13. В средней части основания опорного 2 имеется грузовой отсек 14 с откидными бортами. С правого борта под настилом 8 в задней части основания опорного 2 снизу находится отсек электрооборудования 15 с выносным пультом управления 16. В передней части основания опорного 2 расположена стойка опорная 17 стрелы 4 с узлом фиксации в транспортном положении 18 и установлен бак гидросистемы 19. Там же установлены упоры противооткатные 20. В задней части основания опорного 2 установлена задняя балка 21.
Рама подъемно-поворотная 3 представляет собой сварную конструкцию со стенками коробчатого сечения и с задней листовой стенкой. На правой стенке рамы подъемно-поворотной 3 установлен гидроцилиндр слежения системы ориентации 22 платформы рабочей 5. На кронштейне 23 одной стороной крепится гидроцилиндр 24 подъема стрелы 4, шток которого закреплен на кронштейне 25 стрелы 4. На задней листовой стенке установлен кожух 26, закрывающий гидросистему рамы подъемно-поворотной 3.
Телескопическая стрела 4 (фиг.1) подъемника выполнена четырехсекционной. Секции стрелы 27, 28, 29, 30 сварной конструкции коробчатого сечения выполнены из двух верхнего 31 и нижнего 32 П-образных коробов (фиг.6).
Механизм телескопирования, прокладка электрокабелей, гидравлических труб и шлангов располагается внутри секций 27, 28, 29, 30 стрелы 4. Гидроцилиндр телескопирования 33 расположен снизу под стрелой 4.
К головной части верхней секции 30 стрелы 4 на кронштейне 45 крепится рабочая платформа 5 и располагается гидроцилиндр ориентации 34 рабочей платформы 5. В средней части секции стрелы 27 располагается кронштейн 25 для крепления штока гидроцилиндра телескопирования 33 подъема стрелы 4.
Рабочая платформа 5 подъемника (фиг.3 и 4) трансформируемая, сварной конструкции, выполнена в виде короба, состоящего из двух секций, из которых нижняя имеет днище и боковые стенки, а верхняя – боковые стенки, при этом секции соединены между собой посредством боковых стоек 44 с шарнирным механизмом 35, снабженным фиксаторами 40, с возможностью поворота верхней секции на 180° и складывания ее под нижней секцией.
Под нижней секцией рабочей платформы 5 установлены изоляторы 39, а поверхность перил верхней секции (фиг.3) облицована малотеплопроводным материалом 37 и удобна для обхвата рукой.
На ограждении верхней секции рабочей платформы 5 установлен пульт управления 41 и имеются места крепления карабинов предохранительных поясов рабочих 42.
В узле крепления рабочей платформы 5 и стрелы 4 установлен ограничитель предельного груза 38.
Рабочая платформа снабжена датчиком положения относительно горизонта и системой ее ориентации с исполнительным механизмом.
Работает подъемник автомобильный гидравлический следующим образом.
Перевод подъемника из транспортного в рабочее положение осуществляется следующим образом.
Подъемник устанавливается на выбранное место, убираются ручные фиксаторы с опор выносных 6 и 7 и стрелы.
Производится подъем автогидроподъемника на опорах выносных 6 и 7 на высоту, достаточную для разгрузки рессор шасси 1. Для этого задействуют нижний гидравлический контур и после выставления опор выносных 6 и 7 его отключают.
Включается верхний гидравлический контур (подъемно-поворотное основание 2 и стрела 4) и производится подъем телескопической стрелы 4 со стойки опорной 17 и отвод ее в сторону (фиг.2). После опускания стрелы 4 вниз платформа рабочая 5 переводится из транспортного сложенного положения (фиг.3) в рабочее, при котором верхняя секция поворачивается на 180°, увеличивая высоту рабочей платформы 5, и фиксируется в этом положении фиксаторами 40 (фиг.4). Платформа рабочая 5 опускается до посадочного положения и производится посадка людей через посадочный проем с ограждением 43 (фиг.5). Телескопированием стрелы 4 осуществляется подъем платформы рабочей 5 с людьми на необходимую высоту для производства работ. Ограничение вылета стрелы 4 в рабочем поле осуществляется в автоматическом режиме. Управление подъемником производится с нижнего выносного пульта, расположенного в отсеке электрооборудования 15 или с пульта 41, установленного на ограждении 36 платформы рабочей 5 (фиг.4).
Перевод подъемника из рабочего в транспортное положение осуществляется следующим образом.
Используя верхний гидравлический контур, стрелу 4 с платформой рабочей 5 складывают и опускают до расстояния, достаточного для безопасной высадки людей. После высадки людей платформа рабочая 5 переводится в транспортное положение (фиг.3), при этом ее верхняя секция шарнирным механизмом 35 поворачивается на 180°, устанавливается под нижней секцией и фиксируется фиксаторами 40.
Стрелу 4 в сложенном виде поднимают и устанавливают на стойку опорную 17. Устанавливаются фиксаторы 18.
Выносной пульт 16 управления подъемником убирается в отсек для электрооборудования 15.
Включается нижний гидравлический контур и производится опускание подъемника на опорах выносных 6 и 7. После полного складывания опор выносных 6 и 7 из рабочего в транспортное положение устанавливаются фиксаторы 9.
Таким образом, предлагаемый подъемник автомобильный гидравлический отличается компактной конструкцией, высокой надежностью в работе, за счет:
– выполнения рабочей платформы 5 трансформируемой, складывающейся, что уменьшает габаритные размеры подъемника автомобильного гидравлического в транспортном положении;
– выполнения телескопической стрелы 4 четырехсекционной, что позволяет сделать габариты подъемника компактными и приводит к лучшей маневренности в условиях города;
– расположения гидроцилиндра телескопирования секций 27, 28, 29, 30 стрелы 4 снизу под стрелой, что позволяет защитить его от повреждений в процессе работы и повышает удобство осмотра и технического обслуживания;
– прокладки электрокабелей и гидравлических труб внутри секций 27, 28, 29, 30 стрелы 4. что позволяет защитить их от повреждений и улучшить внешний вид стрелы;
– выполнения выдвижных передних и задних опор под углом относительно продольной и поперечной осей автоподъемника, что повышает устойчивость подъемника.
Формула изобретения
1. Подъемник автомобильный гидравлический, содержащий шасси на ходовых передних и задних колесах, на подъемно-поворотной раме опорного основания, размещенного на шасси между ходовыми передними и задними колесами, установлена телескопическая стрела с возможностью перевода из транспортного сложенного положения в рабочее – разложенное, на которой подвешена рабочая платформа, в транспортном положении расположенная над кабиной автомобиля, выполненная в виде короба, при этом телескопическая стрела соединена с подъемно-поворотной рамой гидроцилиндром подъема и опирается в транспортном положении на стойку, расположенную в передней части опорного основания, а опорное основание содержит выдвижные передние и задние опоры, отличающийся тем, что рабочая платформа выполнена трансформируемой и состоит из двух секций, из которых нижняя имеет днище и боковые стенки, а верхняя – боковые стенки, при этом секции соединены между собой посредством боковых стоек с шарнирным механизмом, снабженным фиксаторами, с возможностью поворота верхней секции на 180° и складывания ее под нижней секцией.
2. Подъемник по п.1, отличающийся тем, что под нижней секцией рабочей платформы установлены изоляторы, а поверхность перил ее верхней секции облицована малотеплопроводным материалом.
3. Подъемник по п.1, отличающийся тем, что на ограждении верхней секции рабочей платформы установлен пульт управления и имеются места крепления карабинов предохранительных поясов рабочих.
4. Подъемник по п.1, отличающийся тем, что в узле крепления рабочей платформы и стрелы установлен ограничитель предельного груза.
5. Подъемник по п.1, отличающийся тем, что рабочая платформа снабжена датчиком положения относительно горизонта и системой ее ориентации с исполнительным механизмом.
6. Подъемник автомобильный гидравлический по п.1, отличающийся тем, что телескопическая стрела выполнена четырехсекционной, гидроцилиндр подъема расположен снизу под стрелой, а электрокабели и гидравлические трубы расположены внутри секций стрелы.
7. Подъемник автомобильный гидравлический по п.1, отличающийся тем, что выдвижные передние и задние опоры расположены под углом относительно продольной и поперечной осей автоподъемника.
РИСУНКИ
|
|