|
|
(21), (22) Заявка: 2008128881/11, 14.07.2008
(24) Дата начала отсчета срока действия патента:
14.07.2008
(43) Дата публикации заявки: 20.01.2010
(46) Опубликовано: 20.09.2010
(56) Список документов, цитированных в отчете о поиске:
RU 2270788 C1, 27.02.2006. US 2002008111 A1, 24.01.2002. DE 3412785 A1, 17.10.1985. RU 2309092 C2, 27.10.2007.
Адрес для переписки:
141070, Московская обл., г. Королев, ул. Ленина, 4а, ОАО “РКК “Энергия” им. С.П. Королева”, отдел интеллектуальной собственности
|
(72) Автор(ы):
Ерпылев Владимир Владимирович (RU), Рожков Михаил Викторович (RU), Негодяев Виктор Иванович (RU), Удоденко Николай Владимирович (RU), Галяс Наталия Валентиновна (RU), Клюева Людмила Николаевна (RU)
(73) Патентообладатель(и):
Открытое акционерное общество “Ракетно-космическая корпорация “Энергия” имени С.П. Королева” (RU)
|
(54) ДВИГАТЕЛЬНАЯ УСТАНОВКА РАКЕТНОГО БЛОКА
(57) Реферат:
Изобретение относится к ракетно-космической технике, а именно к двигательным установкам ракетного блока. Двигательная установка ракетного блока содержит криогенный бак окислителя и/или криогенный бак горючего, пневмоклапаны и трубопроводы. В состав трубопроводов, стыкующихся с пневмоклапанами, введены тройники. Во внутренней полости каждого тройника размещен участок трубопровода управляющего давления пневмоклапаном, который одним своим концом пристыкован к штуцеру управляющего давления пневмоклапаном, а другим концом приварен к тройнику с помощью переходника. Участок трубопровода управляющего давления пневмоклапаном выполнен с компенсирующим элементом, обеспечивающим компенсацию температурных и механических перемещений между пневмоклапаном и тройником на всех этапах подготовки и эксплуатации двигательной установки ракетного блока. Достигается улучшение теплоизоляции криогенных топливных баков. 2 ил.
Изобретение относится к ракетно-космической технике, а именно к двигательным установкам ракетного блока.
Известна двигательная установка ракетного блока, содержащая бак окислителя, бак горючего, пневмоклапаны, трубопроводы («Ракеты-носители» под ред. Проф. С.О.Осипова, Военное издательство Министерства обороны СССР, Москва – 1981 г., стр.202, 203, 213, 214, 223-225), которая принята за прототип.
В ракетных блоках, использующих криогенное топливо (например, в качестве окислителя – жидкий кислород, в качестве горючего – жидкий водород), большое значение приобретают меры по снижению теплопритоков к криогенным бакам.
Из практики проектирования ракетно-космической техники известно, что сокращение теплопритоков к криогенным бакам осуществлялось за счет улучшения теплофизических свойств теплоизоляции баков и трубопроводов, за счет применения термомостов в подводящих магистралях, за счет размещения клапанов этих магистралей во внутренней полости криогенных баков и т.д.
Пневмоклапаны, обеспечивающие заправку, слив, дренаж, расход компонента, и присоединенные к ним трубопроводы проходят через теплоизоляцию криогенного бака, снижают качество монтажа теплоизоляции, в результате чего растут теплопритоки к криогенному баку, увеличиваются потери криогенного компонента за счет его прогрева.
Задачей предложенной двигательной установки ракетного блока является снижение теплопритоков к криогенным бакам, уменьшение прогрева криогенного компонента и его потерь за счет сокращения количества трубопроводов, проходящих через теплоизоляцию криогенного бака.
Задача решается за счет того, что в двигательной установке ракетного блока, содержащей криогенный бак окислителя и/или криогенный бак горючего, пневмоклапаны и трубопроводы, в состав трубопроводов, стыкующихся с пневмоклапанами, введены тройники, при этом во внутренней полости каждого тройника размещен участок трубопровода управляющего давления пневмоклапаном, который одним своим концом пристыкован к штуцеру управляющего давления пневмоклапаном, а другим концом приварен к тройнику с помощью переходника.
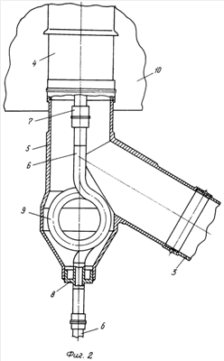
На фиг.1 изображена схема двигательной установки ракетного блока, на фиг.2 представлен тройник с участком трубопровода управляющего давления пневмоклапаном, где:
1 – криогенный бак окислителя;
2 – криогенный бак горючего;
3 – трубопроводы;
4 – пневмоклапаны;
5 – тройники;
6 – участок трубопровода управляющего давления;
7 – штуцер;
8 – переходник;
9 – компенсирующий элемент;
10 – теплоизоляция криогенного бака.
В двигательной установке ракетного блока, содержащей криогенный бак окислителя 1 и/или криогенный бак горючего 2, пневмоклапаны 4 и трубопроводы 3, в состав трубопроводов 3, стыкующихся с пневмоклапанами 4, введены тройники 5. Во внутренней полости каждого тройника 5 размещен участок трубопровода управляющего давления 6 пневмоклапаном 4, который одним своим концом пристыкован к штуцеру 7 управляющего давления пневмоклапаном 4, а другим концом приварен к тройнику 5 с помощью переходника 8. Участок трубопровода управляющего давления 6 пневмоклапаном 4 выполнен с компенсирующим элементом 9, обеспечивающим компенсацию температурных и механических перемещений между пневмоклапаном 4 и тройником 5 на всех этапах подготовки и эксплуатации двигательной установки ракетного блока.
При таком компоновочном решении через теплоизоляцию криогенного бака 1 и/или 2 трубопроводы управляющего давления пневмоклапанами 4 не проходят, так как до их подхода к теплоизоляции они с помощью участков трубопровода управляющего давления 6 пневмоклапаном 4 размещены во внутренних полостях тройников 5.
В процессе монтажа участка трубопровода управляющего давления 6 и тройника 5 компенсация их взаимных технологических перемещений вдоль оси тройника 5 обеспечивается смещением втулки 8 относительно тройника 5 за счет компенсирующего элемента 9, а при эксплуатации этих узлов возникают температурные деформации, которые также воспринимаются этим элементом 9.
После заполнения криогенного бака окислителя 1 и/или криогенного бака горючего 2 компонентом поддержание необходимого температурного режима в этих баках обеспечивается теплоизоляцией 10 (например, слоями ЭВТИ), установленной на наружную поверхность криогенных баков 1 и/или 2.
Потери криогенного топлива, в частности, зависят от величин теплопритоков, поступающих в криогенный бак окислителя 1 и/или криогенный бак горючего 2 по подводящим трубопроводам 3 и трубопроводам управляющего давления. Эти теплопритоки уменьшаются, если между пневмоклапанами 4 (например, пневмоклапанами заправки, слива, дренажа, расхода компонента и др.) и подводящими трубопроводами 3 установлены тройники 5, внутри которых размещены участки трубопроводов управляющего давления 6 пневмоклапанами 4, при этом трубопроводы управляющего давления не проходят через теплоизоляцию 10 криогенного бака 1 и/или 2 и не нарушают ее целостность. Кроме того, в процессе прохождения по трубопроводу 3 криогенного компонента (например, в магистрали заправки) участок трубопровода управляющего давления 6 пневмоклапаном 4 будет захолаживаться, снижая величину теплопритока, поступающего к криогенному баку 1 и/или 2.
Такое решение задачи позволяет снизить теплопритоки к криогенному баку окислителя 1 и/или криогенному баку горючего 2, уменьшить прогрев и потери криогенного компонента за счет сокращения количества трубопроводов, проходящих через теплоизоляцию криогенного бака, и, как следствие, увеличить время функционирования в космических условиях ракетных блоков (например, ракетных разгонных блоков).
Формула изобретения
Двигательная установка ракетного блока, содержащая криогенный бак окислителя и/или криогенный бак горючего, пневмоклапаны и трубопроводы, отличающаяся тем, что в состав трубопроводов, стыкующихся с пневмоклапанами, введены тройники, при этом во внутренней полости каждого тройника размещен участок трубопровода управляющего давления пневмоклапаном, который одним своим концом пристыкован к штуцеру управляющего давления пневмоклапаном, а другим концом приварен к тройнику с помощью переходника, причем участок трубопровода управляющего давления пневмоклапаном выполнен с компенсирующим элементом, обеспечивающим компенсацию температурных и механических перемещений между пневмоклапаном и тройником на всех этапах подготовки и эксплуатации двигательной установки ракетного блока.
РИСУНКИ
|
|