|
|
(21), (22) Заявка: 2008117402/11, 29.06.2006
(24) Дата начала отсчета срока действия патента:
29.06.2006
(30) Конвенционный приоритет:
03.10.2005 FR 0552989
(43) Дата публикации заявки: 10.11.2009
(46) Опубликовано: 20.09.2010
(56) Список документов, цитированных в отчете о поиске:
US 6095456 А, 01.08.2000. US 4013246 А, 22.03.1977. US 6126110 А, 03.10.2000. ЕР 1053937 А1, 22.11.2000. SU 849694 A1 20.09.1996. RU 93034156 A, 27.01.1997.
(85) Дата перевода заявки PCT на национальную фазу:
04.05.2008
(86) Заявка PCT:
EP 2006/066873 20060629
(87) Публикация PCT:
WO 2007/039556 20070412
Адрес для переписки:
103735, Москва, ул.Ильинка, 5/2, ООО “Союзпатент”, пат.пов. М.Н.Стручкову, рег. 1102
|
(72) Автор(ы):
ДЬОШОН Лионель (FR), СЕТУ Жан-Мишель (FR), ЛАФОН Лоран (FR), ШАРТЬЕ Давид (FR)
(73) Патентообладатель(и):
ЭРБЮС ФРАНС (FR)
|
(54) СТОЙКА КРЕПЛЕНИЯ ТУРБОРЕАКТИВНОГО ДВИГАТЕЛЯ ЛЕТАТЕЛЬНОГО АППАРАТА
(57) Реферат:
Изобретение относится к области авиастроения, более конкретно, к стойке крепления турбореактивного двигателя летательного аппарата. Стойка (4) оборудована жесткой конструкцией (10), содержащей продольный центральный кессон (22) и два боковых кессона (24а, 24b), неподвижно соединенные с передней частью указанного центрального кессона (22) и расположенные по обе стороны от последнего. Продольный центральный кессон (22) образован двумя боковыми панелями (30), соединенными поперечными нервюрами (23), а каждый боковой кессон (24а, 24b) содержит раму (28а, 28b, 29a, 29b, 46a, 46b). Одна из поперечных нервюр (23), образующих продольный центральный кессон (22), снабжена двумя ребрами жесткости (52а, 52b), выполненными за одно целое с этой нервюрой (23) и выступающими, соответственно, из двух боковых панелей (30) продольного центрального кессона (22) наружу. Ребра жесткости (52а, 52b) скреплены с рамами (28а, 28b, 29a, 29b, 46a, 46b) боковых кессонов (24а, 24b), соответственно. Технический результат заключается в улучшении аэродинамических свойств летательного аппарата, увеличении мощности турбореактивного двигателя и уменьшении расхода топлива. 2 н. и 15 з.п. ф-лы, 12 ил.
Область техники, к которой относится изобретение
Настоящее изобретение относится к стойке крепления турбореактивного двигателя летательного аппарата, позволяющей осуществлять подвески турбореактивного двигателя под крылом летательного аппарата или устанавливать турбореактивный двигатель над крылом.
Уровень техники
Такая стойка крепления предназначена для образования соединительной промежуточной конструкции между турбореактивным двигателем и крылом летательного аппарата. Она обеспечивает передачу на конструкцию летательного аппарата усилий, создаваемых его турбореактивным двигателем, и позволяет также осуществлять прокладку топливных трубопроводов, электрических, гидравлических и воздушных систем между двигателем и летательным аппаратом.
Для обеспечения передачи усилий стойка содержит жесткую конструкцию, часто кессонного типа, то есть образованную набором верхних и нижних лонжеронов и двух боковых панелей, соединенных между собой поперечными нервюрами.
Кроме того, стойка оборудована монтажной системой, расположенной между турбореактивным двигателем и жесткой конструкцией стойки, причем эта система в основном содержит по меньшей мере два узла подвески двигателя, как правило, один передний и один задний узлы подвески.
Монтажная система также содержит устройство восприятия тяговых усилий, создаваемых турбореактивным двигателем. Такие устройства выполнены, например, в виде двух боковых тяг, соединенных с одной стороны с задней частью корпуса вентилятора турбореактивного двигателя, а с другой стороны – с задним узлом подвески, закрепленным на центральном корпусе этого двигателя.
Стойка крепления содержит также вторую монтажную систему, установленную между жесткой конструкцией этой стойки и крылом летательного аппарата, при этом данная вторая система обычно состоит из двух или трех узлов подвески.
Наконец, стойка оборудована вторичной конструкцией, которая обеспечивает разделение и удержание систем и на которой установлены аэродинамические обтекатели.
Классическая стойка крепления выполнена в виде кессона в форме параллелепипеда, имеющего большие размеры для обеспечения восприятия всех усилий, создаваемых турбореактивным двигателем.
В данном случае, когда стойка крепления выполнена в виде кессона больших размеров и расположена вблизи центрального корпуса турбореактивного двигателя, наличие этой стойки неизбежно приводит к возмущениям газового потока второго контура на выходе из проточного тракта вентилятора, что обычно приводит к увеличению лобового сопротивления, а также к снижению мощности турбореактивного двигателя и к повышению расхода топлива.
Кроме того, эти возмущения усиливаются из-за присутствия устройства восприятия тяговых усилий типа боковых тяг, установленных на выходе из кольцевого канала вентилятора.
Для устранения указанных недостатков была предложена стойка, содержащая жесткую конструкцию, состоящую из продольного центрального кессона и двух боковых кессонов, неподвижно соединенных с передней частью центрального кессона, при этом стойка содержит также первый и второй передние узлы подвески двигателя, выполненные с возможностью восприятия усилий, действующих в продольном направлении стойки, причем эти первый и второй передние узлы подвески двигателя расположены, соответственно, на двух боковых кессонах.
Эта конструкция позволяет обеспечить восприятие тяговых усилий, то есть усилий, действующих вдоль продольного направления стойки, посредством предусмотренных для этой цели двух боковых кессонов. Это восприятие усилий может быть вполне удовлетворительным в том смысле, что тяговые усилия, проходящие через первый и второй передние узлы подвески, могут легко передаваться обшивками этих кессонов, которые можно в этом случае считать работающими обшивками. Когда усилия доходят до уровня верхнего конца боковых кессонов, они передаются на продольный центральный кессон, через который они могут передаваться в продольном направлении в направлении задней части стойки.
Восприятие момента, действующего вокруг вертикального направления, тоже обеспечивается двумя боковыми кессонами, в частности, через переднюю запорную раму и заднюю запорную раму, выполненные на каждом из этих кессонов, и, в случае необходимости, также при помощи промежуточной рамы, расположенной между указанными запорными рамами.
Сказанное выше касается также восприятия момента, действующего вокруг продольного направления стойки, поскольку это восприятие должно обеспечиваться боковыми кессонами, если первый и второй передние узлы подвески двигателя выполнены с возможностью восприятия усилий, действующих в вертикальном направлении стойки.
Жесткая конструкция стойки крепления содержит продольный центральный кессон, называемый также торсионным центральным кессоном, который расположен параллельно продольной оси, неподвижно соединен с каждым из боковых кессонов. Механическая прочность, получаемая за счет наличия этих боковых кессонов, позволяет центральному кессону иметь размеры, меньшие по сравнению с известными техническими решениями, и это, прежде всего, относится к его толщине. В результате этого центральный кессон может создавать лишь незначительные возмущения потока второго контура на выходе из проточного тракта вентилятора.
Однако этот тип жесткой конструкции, называемой также первичной конструкцией, имеет существенный недостаток, заключающийся в отсутствии подходящих средств обеспечения надежного крепления рам каждого бокового кессона на продольном центральном кессоне с одновременным обеспечением возможности легкого монтажа.
Раскрытие изобретения
Настоящее изобретение направлено на создание стойки крепления турбореактивного двигателя летательного аппарата, которая позволит, по меньшей мере, частично устранить вышеуказанные недостатки известных технических решений, при этом изобретение относится также к летательному аппарату, содержащему по меньшей мере одну такую стойку.
Таким образом, объектом настоящего изобретения является стойка крепления турбореактивного двигателя летательного аппарата, оборудованная жесткой конструкцией, содержащей продольный центральный кессон, выполненный путем сборки двух боковых панелей, соединенных поперечными нервюрами, при этом жесткая конструкция содержит также два боковых кессона, неподвижно соединенных с передней частью центрального кессона и расположенных по обе стороны от последнего, при этом каждый боковой кессон содержит по меньшей мере одну раму, такую как передняя запорная рама, задняя запорная рама или промежуточная рама, расположенную внутри кессона. Согласно изобретению, одна из указанных поперечных нервюр, образующих продольный центральный кессон, снабжена двумя ребрами жесткости, выполненными за одно целое с этой нервюрой и выступающими из двух боковых панелей продольного центрального кессона наружу. Кроме того, оба ребра жесткости жестко установлены на вышеупомянутой раме одного бокового кессона и другого бокового кессона, соответственно.
В предпочтительном, но неограничивающем варианте, когда вышеуказанная рама является задней запорной рамой кессона, предложенная стойка крепления позволяет обеспечить надежное крепление задних запорных рам на продольном центральном кессоне жесткой конструкции, благодаря наличию ребер жесткости, выполненных за одно целое с одной из поперечных нервюр, образующих продольный центральный кессон. Наличие этой детали, выполненной в виде единого элемента, входящей в конструкцию центрального кессона и образующей механическое соединение между этим кессоном и каждой из двух задних запорных рам, позволяет получить надежную передачу усилий, проходящих через боковые кессоны к центральному кессону.
Кроме того, благодаря такому решению, механическое соединение задних запорных рам с центральным кессоном можно осуществить очень легко и быстро, так как установка на место ребер жесткости, предназначенных для соединения запорных рам, происходит автоматически при установке на место поперечной нервюры центрального кессона, содержащей эти ребра. Таким образом, можно значительно сократить время сборки жесткой конструкции стойки.
В альтернативном варианте рамы, на которых неподвижно установлены два ребра жесткости, могут быть передними запорными рамами кессона или промежуточными рамами, называемыми также внутренними рамами, поскольку они находятся внутри кессонов, причем этот вариант не выходит за рамки настоящего изобретения. Следует отметить, что эти различные рамы, называемые также каркасами, поддерживают нижнюю и верхнюю обшивки соответствующего кессона и предпочтительно расположены в поперечных плоскостях. Кроме того, каждая из них выполняет конструктивную функцию внутри соответствующего кессона.
Согласно тому же предпочтительному и неограничивающему варианту, когда вышеуказанная рама является задней запорной рамой кессона, задняя рама каждого из двух боковых кессонов предпочтительно содержит вертикальную стенку, по обе стороны от которой находятся нижняя и верхняя полки, при этом каждое ребро жесткости содержит первый участок, неподвижно установленный на вертикальной стенке соответствующей запорной рамы.
Для усиления крепления задних запорных рам можно предусмотреть, чтобы каждое ребро жесткости содержало второй участок, неподвижно установленный на верхней полке соответствующей запорной рамы.
Предпочтительно каждое из ребер жесткости соединяют с поперечной нервюрой через кронштейн ребра жесткости, тоже выполненный за одно целое с поперечной нервюрой и двумя ребрами жесткости, при этом кронштейн ребра жесткости выполнен таким образом, чтобы закрывать проход ребра жесткости, выполненный в соответствующей боковой панели. Таким образом, продольный центральный кессон может сохранять свою герметичность, благодаря установке кронштейнов в проходах, выполненных на боковых панелях.
Кроме того, для каждого из двух ребер жесткости наружная поверхность кронштейна ребра жесткости находится по существу в той же плоскости, что и наружная поверхность соответствующей боковой панели. Таким образом, достигается хорошая аэродинамическая непрерывность боковых наружных поверхностей центрального кессона, несмотря на присутствие ребер жесткости, выступающих наружу этого кессона.
Кроме того, стойка может содержать дополнительную поперечную нервюру рядом с поперечной нервюрой, оборудованной двумя ребрами жесткости, причем эта дополнительная поперечная нервюра тоже оборудована двумя дополнительными ребрами жесткости, выполненными за одно целое с этой нервюрой и выступающими из двух боковых панелей продольного центрального кессона наружу. Кроме того, два дополнительных ребра жесткости неподвижно установлены на задней запорной раме одного и другого боковых кессонов соответственно.
Дополнительная поперечная нервюра и дополнительные ребра жесткости образуют вместе единую деталь, по существу идентичную описанной выше детали. Она может выполнять функцию обеспечения безопасности, называемую также живучестью, то есть обеспечивать функции, присущие первой детали, выполненной моноблочно, в случае ее поломки или неисправности. Вместе с тем, эту вторую деталь, выполненную моноблочно, можно использовать просто для усиления механического крепления, обеспечиваемого первой деталью, не выходя при этом за рамки настоящего изобретения.
В этом случае можно предусмотреть, чтобы для каждого из двух боковых кессонов ребро жесткости и дополнительное ребро жесткости находились по обе стороны от вертикальной стенки задней запорной рамы.
Кроме того, для этого же случая, когда задняя рама каждого из двух боковых кессонов содержит вертикальную стенку, по обе стороны от которой находятся нижняя полка и верхняя полка, предпочтительно предусматривают, чтобы каждое дополнительное ребро жесткости расширение содержало первый участок, неподвижно установленный на стенке соответствующей запорной рамы, а также, в случае необходимости, второй участок, неподвижно установленный на верхней полке этой же рамы.
Разумеется, дополнительные ребра жесткости, так же как и ребра жесткости, могут содержать только вышеуказанный второй участок, неподвижно установленный на верхней полке задней запорной рамы, не выходя при этом за рамки настоящего изобретения.
В данном случае каждое из дополнительных ребер жесткости тоже соединено с дополнительной поперечной нервюрой через дополнительный кронштейн ребра жесткости, выполненный за одно целое с дополнительной поперечной нервюрой и с двумя дополнительными ребрами жесткости, при этом дополнительный кронштейн ребра жесткости выполнен таким образом, чтобы закрывать дополнительный проход в соответствующей боковой панели.
Таким образом, для каждого из дополнительных ребер жесткости наружная поверхность дополнительного кронштейна находится по существу в той же плоскости, что и наружная поверхность соответствующей боковой панели.
Установка дополнительных кронштейнов ребер жесткости в дополнительных проходах ребер жесткости, выполненных на боковых панелях, позволяет сохранить герметичность продольного центрального кессона и обеспечивать хорошую аэродинамическую непрерывность на боковых наружных поверхностях центрального кессона, несмотря на наличие дополнительных ребер жесткости, выступающих наружу этого кессона.
В этой связи можно предусмотреть, чтобы для каждой из двух боковых панелей продольного центрального кессона проход ребер жесткости и дополнительный проход ребер жесткости образовали совместно единый проход, закрываемый кронштейнами ребра жесткости и дополнительного ребра жесткости.
Предпочтительно каждый из двух боковых кессонов содержит нижнюю обшивку, ограничивающую часть по существу цилиндрической воображаемой поверхности круглого сечения с продольной осью, предпочтительно совпадающей с продольной осью турбореактивного двигателя.
Таким образом, каждая из двух нижних обшивок имеет кривизну, позволяющую ей располагаться вокруг этой по существу цилиндрической воображаемой поверхности круглого сечения, следовательно, они вместе образуют набор жесткой конструкции, который лишь в незначительной степени может стать причиной возмущения потока второго контура, выходящего из проточной части вентилятора турбореактивного двигателя, по сравнению с известными техническими решениями, согласно которым стойку крепления выполняют в виде единственного большеразмерного кессона в форме параллелепипеда, установленного очень близко к центральному корпусу турбореактивного двигателя.
Можно предусмотреть, чтобы диаметр воображаемой поверхности был по существу равным диаметру наружной цилиндрической поверхности корпуса вентилятора турбореактивного двигателя, при этом жесткий набор, образованный нижними обшивками, в этом случае располагается по существу в продолжении этой наружной поверхности корпуса вентилятора. Естественно, в данном конкретном случае, когда оба боковых кессона соответствуют участку по существу цилиндрической оболочки круглого сечения, имеющей диаметр, близкий к диаметру корпуса вентилятора, возмущения потока второго контура, которые могут возникнуть из-за присутствия этих кессонов, являются очень незначительными и даже ничтожными.
Это позволяет получить выигрыш в лобовом сопротивлении, в КПД турбореактивного двигателя, а также снизить расход топлива.
Если оба боковых кессона в основном соответствуют участку по существу цилиндрической оболочки круглого сечения, они предпочтительно принимают форму участка по существу цилиндрической оболочки полукруглого сечения. Естественно, эта предпочтительная форма вполне подходит для обеспечения легкой установки турбореактивного двигателя на жесткую конструкцию стойки крепления.
Как было указано выше, продольный центральный кессон, расположенный между двумя боковыми кессонами, выполнен таким образом, чтобы создавать лишь незначительные возмущения потока второго контура. Для этого можно предусмотреть, чтобы только незначительный участок его нижней части выступал внутрь воображаемой поверхности.
Объектом настоящего изобретения является также летательный аппарат, содержащий по меньшей мере одну описанную выше стойку крепления.
Другие преимущества и особенности настоящего изобретения будут более очевидны из нижеследующего описания, представленного в качестве неограничивающего примера.
Краткое описание чертежей
На фиг.1 показана силовая установка летательного аппарата, содержащая стойку крепления согласно предпочтительному варианту осуществления настоящего изобретения, вид сбоку;
на фиг.2 схематично показана силовая установка, изображенная на фиг.1, при этом жесткая конструкция стойки крепления не показана, чтобы яснее представить узлы подвески двигателя этой стойки, вид в перспективе;
на фиг.3 частично показана стойка крепления согласно предпочтительному варианту выполнения, увеличенный вид в перспективе;
на фиг.4 показан вид в разрезе по поперечной плоскости Р1 на фиг.3;
на фиг.5 показана форма боковых кессонов, частично образующих стойку крепления, изображенную на фиг.3, вид в перспективе;
на фиг.6 показана стойка крепления, изображенная на фиг.3, вид в разборе;
на фиг.7 схематично показаны узлы подвески двигателя стойки крепления, вид, аналогичный фиг.3;
на фиг.8 показаны узлы подвески двигателя стойки крепления согласно альтернативному варианту, вид, аналогичный фиг.2;
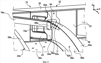
на фиг.9 частично показаны части стойки крепления, изображенной на фиг.3, увеличенный вид в перспективе;
на фиг.10 показан вид в поперечном разрезе стойки крепления, изображенной на фиг.9, по плоскости, проходящей через поперечную нервюру центрального кессона, содержащую ребра жесткости для соединения задних запорных рам боковых кессонов;
на фиг.11 показан вид в продольном разрезе стойки крепления, изображенной на фиг.9, по плоскости, проходящей через одно из двух ребер жесткости;
на фиг.12 показан вид в поперечном разрезе стойки крепления, изображенной на фиг.9, по плоскости, проходящей через дополнительную поперечную нервюру, содержащую дополнительные ребра жесткости, предназначенные для соединения задних запорных рам боковых кессонов.
Осуществление изобретения
На фиг.1 показана силовая установка 1 летательного аппарата, предназначенная для крепления под крылом (не показано) этого летательного аппарата, при этом установка 1 оборудована стойкой крепления 4 согласно предпочтительному варианту осуществления настоящего изобретения.
Силовая установка 1 содержит турбореактивный двигатель 2 и стойку 4 крепления, оборудованную, в частности, несколькими узлами 6а, 6b, 8, 9 подвески двигателя и жесткой конструкцией 10, на которой установлены эти узлы подвески (на фиг.1 узел 6b подвески закрыт узлом подвески 6а). Следует отметить, что силовая установка 1 должна быть расположена в гондоле (не показана), и что стойка 4 крепления содержит другой ряд узлов подвески (не показаны), обеспечивающих подвеску этой силовой установки 1 под крылом летательного аппарата.
В дальнейшем буквенной позицией Х условно обозначено продольное направление стойки 4, которое также соответствует продольному направлению турбореактивного двигателя 2, причем это направление Х параллельно продольной оси 5 турбореактивного двигателя 2. Позицией Y обозначено направление, поперечное направлению стойки 4 и соответствующее также поперечному направлению турбореактивного двигателя 2, а позицией Z обозначено вертикальное направление или высота, причем эти три направления X, Y и Z взаимно ортогональны.
Термины «передний» и «задний» следует рассматривать по отношению к направлению движения летательного аппарата под действием тяги, создаваемой турбореактивным двигателем 2, и это направление схематично показано стрелкой 7.
На фиг.1 показаны только узлы 6а, 6b, 8, 9 подвески двигателя и жесткая конструкция 10 стойки 4 крепления. Другие, не показанные конструктивные элементы этой стойки 4, такие как средства крепления жесткой конструкции 10 под крылом летательного аппарата или вторичная конструкция, обеспечивающая разделение и крепление систем и поддерживающая аэродинамические обтекатели, являются классическими элементами, идентичными или аналогичными элементам известных специалистам технических решений, поэтому их подробное описание опускается.
В передней части турбореактивный двигатель 2 содержит корпус 12 вентилятора большого размера, ограничивающий кольцевой канал 14 вентилятора, а в сторону выхода содержит центральный корпус 16 меньшего размера, содержащий рабочую часть этого турбореактивного двигателя. Наконец, центральный корпус 16 продолжен в сторону выхода корпусом 17 выходного устройства большего размера, чем центральный корпус 16. Корпусы 12, 16 и 17 неподвижно соединены друг с другом.
Как схематично показано на фиг.1, первый передний узел 6а подвески, а также второй передний узел 6b подвески предназначены для крепления на корпусе 12 вентилятора симметрично относительно плоскости Р, образованной осью 5 и направлением Z.
Как схематично показано на фиг.2, первый передний узел 6а подвески и второй передний узел 6b подвески расположены симметрично по отношению к этой плоскости Р и предпочтительно находятся на периферической кольцевой части корпуса 12 вентилятора и, в частности, на заднем участке этой части.
Первый и второй передние узлы 6а, 6b подвески двигателя расположены диаметрально противоположно на периферической кольцевой части, содержащей цилиндрическую наружную поверхность 18 корпуса 12 вентилятора, так что через каждый из узлов 6а, 6b проходит вторая плоскость Р’, образованная продольной осью 5 и направлением Y.
Как схематично показано стрелками на фиг.2, каждый из передних узлов 6а, 6b подвески двигателя выполнен с возможностью восприятия усилий, создаваемых турбореактивным двигателем 2, в направлении Х и в направлении Z, но не усилий, действующих в направлении Y.
Оба узла 6а, 6b подвески, существенно удаленные друг от друга, обеспечивают восприятие момента, действующего вокруг направления X, и восприятие момента, действующего вокруг направления Z.
На фиг.2 схематично показан третий передний узел 8 подвески двигателя, тоже закрепленный на периферической кольцевой части корпуса 12 вентилятора и предпочтительно на заднем участке этой части.
Узлы 6а, 6b и 8 закреплены на периферической кольцевой части корпуса 12 при помощи конструктивных частей (не показаны) двигателя, которые предпочтительно выполнены на заднем участке периферической кольцевой части. Вместе с тем, можно встретить двигатели, конструктивные части которых расположены ближе к входу на периферической кольцевой части, поэтому узлы 6а, 6b, 8 подвески тоже могут быть закреплены ближе к передней части двигателя на периферической кольцевой части корпуса 12 вентилятора.
Что касается третьего узла 8 подвески, то он находится на самой верхней части корпуса 12 вентилятора, то есть на самом верху периферической кольцевой части, и следовательно, через него проходит вышеуказанная первая плоскость Р. Кроме того, через три узла 6а, 6b и 8 подвески предпочтительно проходит плоскость YZ (не показана).
Как схематично показано стрелками на фиг.2, третий узел 8 подвески двигателя выполнен с возможностью восприятия создаваемых газотурбинным двигателем 2 усилий в направлении Y, но не усилий в направлениях Х и Z.
На фиг.2 схематично показан также задний узел 9 подвески двигателя, закрепленный между жесткой конструкцией 10 (показана) и корпусом 17 выходного устройства предпочтительно на уровне участка этого корпуса 17, имеющего самый большой диаметр. Например, предпочтительно, через этот задний узел 9 подвески предпочтительно проходит первая плоскость Р.
Как схематично показано на фиг.2, задний узел 9 подвески двигателя выполнен с возможностью восприятия усилий, создаваемых турбореактивным двигателем 2, только в направлении Z, но не усилий, действующих в направлениях Х и Y.
Таким образом, этот узел 9 подвески обеспечивает вместе с двумя передними узлами 6а, 6b подвески восприятие момента, действующего вокруг направления Y.
Естественно, задний узел 9 можно установить по-другому, а именно на центральном корпусе 16 турбореактивного двигателя 2, предпочтительно на его задней части, или на уровне сопряжения 20 между центральным корпусом 16 и корпусом 17 выходного устройства.
Следует отметить, что узлы 6а, 6b, 8, 9 подвески двигателя, схематично показанные на фиг.1 и 2, можно выполнить в любом известном специалистам варианте, например, в виде соединения ухо-вилка.
Основные преимущества описанной выше конструкции состоят в том, что указанное расположение передних узлов 6а, 6b, 8 подвески двигателя на корпусе 12 вентилятора позволяет значительно уменьшить прогиб центрального корпуса 16 во время эволюции летательного аппарата и, следовательно, значительно уменьшить износ от трения между лопатками компрессора и турбины и этим центральным корпусом 16.
На фиг.3 детально показана жесткая конструкция 10 стойки 4 крепления, являющаяся объектом настоящего изобретения, при этом на этой фигуре не показаны узлы 6а, 6b, 8, 9 подвески двигателя.
Прежде всего, следует отметить, что эта жесткая конструкция 10 выполнена симметрично относительно вышеуказанной первой плоскости Р, то есть относительно вертикальной плоскости, образованной продольной осью 5 турбореактивного двигателя 2 и направлением Z.
Эта жесткая конструкция 10 содержит продольный центральный кессон 22, называемый также торсионным кессоном, который проходит от одного конца конструкции 10 до другого в направлении Х и параллельно этому направлению. Кессон 22 может быть выполнен путем соединения двух боковых панелей 30, расположенных в направлении Х в параллельных плоскостях XZ и соединенных между собой поперечными нервюрами 23, которые находятся в параллельных плоскостях YZ. Для образования кессона 22 предусмотрены также верхний лонжерон 35 и нижний лонжерон 36. Каждый из элементов 30, 35 и 36 может быть выполнен моноблочно или путем соединения состыкованных секций, которые, в случае необходимости, могут иметь небольшой наклон относительно друг друга.
Два боковых кессона 24а, 24b дополняют жесткую конструкцию 10, центральный кессон 22 которой находится на уровне верхнего участка конструкции 10. При этом каждый из двух кессонов 24а и 24b неподвижно соединен с центральным торсионным кессоном 22 и выступает по обе стороны от последнего в направлении Y и вниз.
Одной из особенностей этих боковых кессонов, неподвижно соединенных с передней частью центрального кессона 22, является то, что каждый из них содержит нижнюю обшивку 26а, 26b, направленную в сторону турбореактивного двигателя и ограничивающую часть по существу цилиндрической воображаемой поверхности 32 круглого сечения с продольной осью 34, параллельной центральному кессону 22 и направлению X, как показано на фиг.3.
Иначе говоря, эти две нижние обшивки 26а, 26b имеют, каждая, кривизну, которая позволяет им располагаться вокруг и в контакте с этой воображаемой поверхностью 32 по всей их длине. Таким образом, оба кессона 24а, 24b совместно образуют участок по существу цилиндрической оболочки круглого сечения, который можно расположить вокруг и на расстоянии от центрального корпуса 16 турбореактивного двигателя 2.
Следует уточнить, что ось 34 предпочтительно совпадает с продольной осью 5 турбореактивного двигателя 2, следовательно, жесткая конструкция 10 тоже симметрична относительно вертикальной плоскости, образованной продольной осью 34 и направлением Z стойки 4.
На фиг.4 показан разрез по поперечной плоскости Р1, проходящей через боковые кессоны 24а, 24b.
На этой фигуре показано, что обе нижние обшивки 26а, 26b действительно ограничивают своей наружной поверхностью части по существу цилиндрической воображаемой поверхности 32 круглого сечения, и что оба кессона 24а, 24b действительно образуют участок по существу цилиндрической оболочки полукруглого сечения с центром, лежащим на продольной оси 34, что будет также описано со ссылкой на фиг.5.
Для минимизации возмущений потока второго контура на выходе из кольцевого канала 14 вентилятора, диаметр цилиндрической воображаемой поверхности 32 предпочтительно идентичен диаметру цилиндрической наружной поверхности 18 кольцевой части корпуса 12 вентилятора. С другой стороны, как показано на фиг.4, элементы центрального кессона 22 выступают только на очень небольшое расстояние внутрь пространства 38, ограниченного воображаемой поверхностью 32, поэтому они тоже не сильно возмущают поток второго контура. Это объясняется, в частности, тем, что боковые панели 30 имеют высоту в направлении Z, которая является очень незначительной по сравнению с диаметром воображаемой поверхности 32 и наружной поверхности 18.
Для иллюстрации предпочтительного варианта выполнения боковых панелей 24а, 24b на фиг.5 схематично показано, что они совместно образуют только часть по существу цилиндрической оболочки/кожуха 40 полукруглого сечения с центром, расположенным на продольной оси 34, охватывающей верхнюю половину воображаемой поверхности 32. Так, на фиг.5 часть 42, показанная заштрихованной, соответствует части, которую два кессона 24а, 24b не образуют для дополнения полуцилиндра 40. При этом следует отметить, что на стойке, показанной на фиг.3 и 4, эта часть 42 заменена частью центрального кессона 22, слегка выступающей внутрь воображаемой поверхности 32 и соединяющейся с двумя кессонами 24а, 24b. Кроме того, из этого изображения также видно, что эти два боковых кессона по существу представляют собой продолжение в заднем направлении периферической кольцевой части корпуса 12 вентилятора.
Как показано на фиг.6 и 7, боковой кессон 24а, идентичный и симметричный боковому кессону 24b, содержит нижнюю обшивку 26а, расположенную вдоль направления Х и образующую участок цилиндрического элемента круглого сечения, а также верхнюю обшивку 44а, расположенную вдоль направления Х и тоже образующую участок цилиндрического элемента круглого сечения. Предпочтительно обшивки 26а и 44а являются концентрическими.
Обшивки 26а, 44а соединены между собой посредством передней запорной рамы 28а и задней запорной рамы 46а, которые направлены поперечно и расположены соответственно спереди и сзади кессона 24а. Для повышения жесткости кессона 24а можно также установить промежуточную раму 29а, соединяющую обшивки 26а, 44а и расположенную между двумя запорными рамами 28а, 46а, причем эта промежуточная рама 29а, выполняющая также функцию кронштейна для нижней и верхней обшивок, тоже расположена в поперечном направлении.
Кроме того, запорная пластина 48а, расположенная параллельно плоскости Р’, через которую предпочтительно проходит эта плоскость, закрывает нижнюю часть кессона 24а и, следовательно, соединяет нижний конец рам 28а, 46а и обшивки 26а, 44а.
Естественно, боковой кессон 24b содержит элементы 26b, 44b, 28b, 29b, 46b и 48b, идентичные элементами 26а, 44а, 28а, 29а, 46а и 48а кессона 24а соответственно. Кроме того, рамы 28b, 29b, 46b расположены симметрично по отношению к рамам 28а, 29а, 46а относительно плоскости Р.
Как показано на фиг.6 и 7, нижние обшивки 26а и 26b могут быть выполнены в виде единой детали и соединены между собой соединительной пластиной 50, направленной вдоль плоскости XY и находящейся в контакте с нижним лонжероном 36 центрального кессона 22. Ширина пластины 50 идентична ширине нижнего лонжерона 36, при этом пластина 50 слегка выступает внутрь воображаемой поверхности 32.
Аналогично, обе передние запорные рамы 28а, 28b могут быть выполнены в виде единой детали соединенными между собой в верхней части посредством передней запорной рамы 31 кессона 22, причем эта рама 31 направлена вдоль плоскости YZ. В этой компоновке рамы 28а, 28b, 31, выполненные моноблочно, расположены в одной плоскости YZ и образуют передний конец жесткой конструкции 10 стойки 4.
Верхние концы задних запорных рам 46а, 46b и обшивок 44а, 44b закреплены на кессоне 22 при помощи средств, которые будут подробно описаны со ссылками на фиг.9-12. Соединение верхних концов промежуточных рам 29а, 29b с кессоном 22 не описано, но понятно, что его можно осуществить аналогично соединению верхних концов задних запорных рам 46а, 46b.
На фиг.7 показано, что жесткая конструкция 10 стойки 4 крепления выполнена с возможностью установки на ней передних узлов 6а, 6b, 8 подвески двигателя, так как их можно легко закрепить на поперечной детали, выполненной моноблочно и содержащей рамы 28а, 28b и 31. Первый и второй узлы 6а, 6b крепятся, соответственно, на двух нижних концах двух передних запорных рам 28а, 28b таким образом, чтобы через них проходила плоскость Р’, тогда как третий узел 8 подвески неподвижно соединен с передней запорной рамой 31, расположенной между вышеуказанными рамами 28а, 28b. Таким образом, два передних узла 6а, 6b подвески двигателя расположены симметрично по отношению к вертикальной плоскости, образованной продольной осью 34 и направлением Z стойки 4, а через третий узел 8 подвески двигателя проходит эта же плоскость, идентичная вышеуказанной первой плоскости Р.
Задний узел 9 подвески двигателя расположен под центральным кессоном 22 и посредством кронштейна 54 жестко соединен с нижним лонжероном 36. Кронштейн 54 направлен от нижнего лонжерона 36 вниз в направлении Z на достаточно большое расстояние, чтобы узел 9 подвески можно было установить на корпусе 17 выходного устройства турбореактивного двигателя 2.
Все составные элементы описанной выше жесткой конструкции 10 выполнены из металла, такого как сталь, алюминий, титан, или из композитных материалов, предпочтительно углеродных.
На фиг.8 показана силовая установка 1 летательного аппарата согласно альтернативной версии описанного выше предпочтительного варианта выполнения (жесткая конструкция стойки крепления не показана). Эта установка аналогична описанной выше установке. Поэтому элементы, обозначенные одинаковыми цифровыми позициями, соответствуют идентичным или аналогичным элементам.
Главным отличием этой альтернативной версии является отсутствие третьего переднего узла подвески двигателя и то, что задний узел 9 подвески двигателя обеспечивает не только восприятие усилий, действующих в направлении Z, но также восприятие усилий, действующих в направлении Y. Таким образом, эта альтернативная версия тоже предусматривает наличие нескольких узлов подвески двигателя, образующих изостатическую монтажную систему.
Как показано на фиг.9 и 10, одна из поперечных нервюр 23, образующих центральный кессон 22, содержит два ребра жесткости 52а и 52b, выполненных с ней за одно целое, например, из титана. Предпочтительно эти ребра жесткости находятся по высоте между верхней полкой 53 и нижней полкой 55 нервюры 23, которые находятся в плоскостях XY в контакте с образующими кессон 22 верхним лонжероном 35 и с нижним лонжероном 36, соответственно. Это объясняется тем, что задние запорные рамы 46а, 46b, с которыми соединены ребра жесткости 52а, 52b, содержат, каждая, верхний конец, который предпочтительно входит в контакт с промежуточной частью соответствующей боковой панели 30.
Таким образом, каждое ребро жесткости 52а, 52b в целом расположено в направлении Y, начиная от двух боковин 54а, 54b нервюры 23, выступая из соответствующей боковой панели 30, то есть каждое ребро жесткости 52а, 52b находится снаружи центрального кессона 22.
Что касается ребра жесткости 52а, то оно содержит первый участок 56а, неподвижно установленный на вертикальной стенке 58а рамы 46а, например, посредством соединительных средств типа болтов. Вертикальная стенка 58а находится в плоскости YZ и содержит верхнюю полку 60а, а также нижнюю полку 62а, при этом наружные поверхности этих двух полок выполняют функцию несущей конструкции для обшивок боковых кессонов 44а, 26а, с которыми они входят в контакт, как показано на фиг.10. Таким образом, первый участок 56а тоже находится в плоскости YZ и в плоском контакте с вертикальной стенкой, на которой он неподвижно установлен.
Кроме того, ребро жесткости 52а содержит второй участок 64а, неподвижно установленный на верхней полке 60а рамы 46а, например, посредством соединительных средств типа болтов. Второй участок 64а имеет форму, позволяющую ему следовать криволинейному профилю верхней полки 60а. Предпочтительно он находится в контакте с нижней поверхностью полки 60а, на которой он неподвижно установлен, как показано на фиг.10.
Кроме того, необходимо отметить, что оба участка 56а, 64а ребра жесткости выполнены по существу одной длины вдоль рамы 46а и предпочтительно содержат общую кромку, образуя элемент L-образного сечения.
Ребро жесткости 52а не входит в непосредственный контакт с боковиной 54а, расположенной в плоскости XZ, так как между этой боковиной 54а и ребром жесткости 52а установлен кронштейн 68а ребра жесткости. Этот кронштейн 68а, выполненный из той же детали, что и другие вышеупомянутые элементы, утолщается в направлении Y, располагаясь снаружи, начиная от боковины 54а. Как показано на фиг.10, он предназначен для закрывания прохода 70а для ребра жесткости, выполненного в смежной боковой панели 30. Следует уточнить, что проход 70а выполнен с целью обеспечения установки панели 30 после установки нервюры 23 на кессоне 22, разумеется, при этом ребро жесткости 52а проходит через проход 70а во время установки боковой панели 30.
Закрывание прохода 70а необходимо для сохранения герметичности кессона 22.
Для обеспечения аэродинамической непрерывности на боковой наружной поверхности центрального кессона, в основном образованной наружной поверхностью боковой панели 30, наружную поверхность 72а кронштейна 68а располагают по существу в той же плоскости, что и наружную поверхность 74а вышеуказанной боковой панели, как показано на фиг.10.
Необходимо отметить, что поскольку боковина 54а нервюры 23 находится в контакте с нижней поверхностью боковой панели 30, толщина кронштейна 68а по существу идентична толщине панели 30.
Что касается ребра жесткости 52b, показанного только на фиг.10, то оно является симметричным ребру жесткости 52а относительно плоскости Р, которая предпочтительно образует плоскость симметрии для всей детали, выполненной моноблочно и содержащей нервюру 23.
Ребро жесткости 52b содержит первый участок 56b, неподвижно установленный на вертикальной стенке 58b запорной рамы 46b, например, при помощи соединительных средств типа болтов. Эта стенка 58b находится в плоскости YZ и содержит верхнюю полку 60b, а также нижнюю полку 62b, при этом наружные поверхности этих двух полок выполняют функцию несущей конструкции для обшивок боковых кессонов 44b, 26b, с которыми они входят в контакт. Таким образом, первый участок 56b тоже находится в плоскости YZ и в плоском контакте с вертикальной стенкой, на которой он неподвижно установлен.
Ребро жесткости 52b содержит также второй участок 64b, неподвижно установленный на верхней полке 60b рамы 46b, например, при помощи соединительных средств типа болтов. Второй участок 64b имеет форму, позволяющую ему следовать криволинейному профилю верхней полки 60b. Предпочтительно он находится в контакте с нижней поверхностью полки 60b, на которой он неподвижно установлен.
Необходимо отметить, что оба участка 56b, 64b ребра жесткости выполнены по существу одинаковой длины вдоль рамы 46b и предпочтительно содержат общую кромку, образуя элемент L-образного сечения.
Ребро жесткости 52b не входит в непосредственный контакт с боковиной 54b, расположенной в плоскости XZ, так как между этой боковиной 54b и ребром 52b установлен кронштейн 68b ребра жесткости. Этот кронштейн, выполненный из той же детали, что и другие вышеупомянутые элементы, утолщается в направлении Y, располагаясь снаружи, начиная от боковины 54b. В данном случае его функцией является закрывание прохода 70b ребра жесткости, выполненного в смежной боковой панели 30 с целью обеспечения установки этой панели после установки нервюры 23 на кессоне 22. Разумеется, при этом ребро жесткости 52b проходит через проход 70b во время установки боковой панели 30.
Закрывание прохода 70b необходимо для сохранения герметичности кессона 22. Кроме того, для обеспечения аэродинамической непрерывности на боковой наружной поверхности центрального кессона, в основном образованной наружной поверхностью боковой панели 30, наружную поверхность 72b кронштейна 68b располагают по существу в той же плоскости, что и наружную поверхность 74b вышеуказанной боковой панели.
Необходимо отметить, что поскольку боковина 54b нервюры 23 находится в контакте с нижней поверхностью боковой панели 30, толщина кронштейна 68b по существу идентична толщине этой панели 30.
Как показано на фиг.9, крепление бокового кессона 24а на кессоне 22 осуществляют путем установки уголка 76а на боковой панели 30 между двумя верхними концами запорных рам 28а и 46а. Этот уголок 76 может служить опорой для обшивки 44а, которая опирается также на верхние полки двух рам 28а и 46а. Аналогичная конструкция предусмотрена, естественно, для крепления бокового кессона 24b.
На фиг.10 показано, что нервюра 23 может содержать центральное отверстие 80, которое позволяет снизить ее общую массу. Кроме того, она может также содержать элемент 82 жесткости, в основном выполненный в направлении Y. В частности, этот элемент 82 жесткости, выполненный за одно целое с остальной частью детали, может иметь кривизну, аналогичную кривизне верхних полок рам 46а, 46b, и содержать два боковых конца, расположенных по существу и соответственно в продолжение этих верхних полок 60а, 60b или по существу и соответственно в продолжение двух вторых участков 64а, 64b. Это позволяет обеспечить непрерывность восприятия усилий, проходящих через поперечную нервюру 23.
На фиг.11 показано, что стойка крепления может содержать дополнительную поперечную нервюру 84, выполненную рядом с описанной выше нервюрой 23 в направлении X. Она позволяет усилить механическое крепление задних запорных рам 46а, 46b или обеспечить функцию отказобезопасности в случае поломки или неисправности моноблочной детали, включающей в себя нервюру 23.
Обе нервюры 23, 84 находятся в этом случае в поверхностном контакте вдоль плоскости Р2, расположенной в направлениях Y и Z.
На фиг.12 показана сзади дополнительная нервюра 84, встроенная в моноблочную деталь, аналогичную описанной выше детали, содержащей нервюру 23.
Дополнительная нервюра 84 содержит два дополнительных ребра жесткости 86а, 86b, выполненных с ней за одно целое, например, из титана.
Таким образом, каждое ребро жесткости 86а, 86b расположено в направлении Y, начиная от одной из боковин 88а, 88b нервюры 84, и выступает из соответствующей боковой панели 30, то есть каждое ребро жесткости 86а, 86b находится снаружи относительно центрального кессона 22.
Ребро жесткости 86а содержит первый участок 90а, неподвижно установленный на вертикальной стенке 58а рамы 46а, например, посредством соединительных средств типа болтов. Как показано на фиг.11, первые участки 56а, 90а находятся в контакте и по обе стороны от стенки 58а: участок 56а – с внутренней стороны кессона 24а, участок 90 – с наружной стороны этого кессона. Таким образом, первый участок 90а тоже находится в плоскости YZ в плоском контакте со стенкой, на которой он неподвижно установлен.
Кроме того, ребро жесткости 86а содержит также второй участок 92а, неподвижно установленный на верхней полке 60а рамы 46а, например, при помощи соединительных средств типа болтов. Второй участок 92а имеет форму, позволяющую ему следовать криволинейному профилю верхней полки 60а. Предпочтительно он находится в контакте с нижней поверхностью полки 60а с наружной стороны кессона 24а в отличие от второго участка 64а ребра жесткости 52а, который находится с наружной стороны этого кессона 24а, как показано на фиг.11.
Необходимо отметить, что оба участка 90а, 92а содержат ребра жесткости по существу одной длины вдоль рамы 46а и предпочтительно содержат общую кромку, образуя элемент L-образного сечения.
Дополнительное ребро жесткости 86а не входит в непосредственный контакт с боковиной 88а, расположенной в плоскости XZ, поскольку между этой боковиной 88а и ребром жесткости 86а установлен кронштейн 94а ребра жесткости. Кронштейн 94а, выполненный из той же детали, что и остальные вышеуказанные элементы, утолщается в направлении Y и простирается наружу от боковины 88а. Как показано на фиг.12, он закрывает проход 96а ребра жесткости, выполненного в смежной боковой панели 30. Проход 96а выполнен с целью обеспечения возможности установки панели 30 после установки на место нервюры 84 на кессоне 22, при этом, разумеется, ребро жесткости 86а проходит через проход 96а во время установки боковой панели 30.
Закрывание прохода 96а служит для сохранения герметичности кессона 22.
Следует отметить, что, как показано на фиг.11, оба прохода 70а, 96а, выполненные в одной боковой панели 30, образуют единый проход, например, прямоугольной формы, который закрывается двумя кронштейнами 68а, 94а, смежными в направлении X.
Для обеспечения аэродинамической непрерывности на боковой наружной поверхности центрального кессона, в основной образованной наружной поверхностью боковой панели 30, наружную поверхность 98а кронштейна 94а располагают по существу в той же плоскости, что и наружную поверхность 100а вышеуказанной боковой панели, как показано на фиг.12.
Поскольку боковина 88а нервюры 84 находится в контакте с нижней поверхностью боковой панели 30, толщина кронштейна 94а ребра жесткости по существу идентична толщине этой панели 30.
Ребро жесткости 86b симметрично ребру жесткости 86а относительно плоскости Р, которая предпочтительно образует плоскость симметрии для всей моноблочной детали, содержащей нервюру 84.
Ребро жесткости 86b содержит первый участок 90b, неподвижно установленный на вертикальной стенке 58b запорной рамы 46b, например, при помощи соединительных средств типа болтов, при этом первые участки 56b, 90b тоже расположены по обе стороны от вертикальной стенки 58b. Таким образом, первый участок 90b тоже находится в плоскости YZ в плоском контакте со стенкой, на которой он жестко установлен.
Ребро жесткости 86b содержит также второй участок 92b, неподвижно установленный на верхней полке 60b рамы 46b, например, при помощи соединительных средств типа болтов. Второй участок 92b имеет форму, позволяющую ему следовать криволинейному профилю верхней полки 60b. Предпочтительно он находится в контакте с нижней поверхностью полки 60d, на которой он неподвижно установлен, предпочтительно с наружной стороны кессона 24b.
Необходимо отметить, что оба участка 90b, 92b ребра жесткости выполнены по существу по одной длине вдоль рамы 46b и предпочтительно содержат общую кромку, образуя элемент с L-образным сечением.
Ребро жесткости 86b не входит в непосредственный контакт с боковиной 88b, противоположной боковине 88а и расположенной в плоскости XZ, поскольку между этой боковиной 88b и ребром жесткости 86b установлен кронштейн 94b ребра жесткости. Кронштейн 94b, выполненный из той же детали, что и остальные вышеуказанные элементы, утолщается в направлении Y и выполнен наружу от боковины 88b. В данном случае он тоже закрывает проход 96b ребра жесткости, выполненный в смежной боковой панели 30 для установки панели 30 после установки на место нервюры 84 на кессоне 22, при этом, разумеется, ребро жесткости 86b проходит через проход 96b во время установки боковой панели 30.
Закрывание прохода 96b, образующего единый проход вместе с вышеуказанным проходом 70b, предназначено для сохранения герметичности кессона 22. Кроме того, для обеспечения аэродинамической непрерывности на боковой наружной поверхности центрального кессона, в основной образованной наружной поверхностью боковой панели 30, наружную поверхность 98b кронштейна 94b ребра жесткости располагают по существу в той же плоскости, что и наружную поверхность 100b вышеуказанной боковой панели.
Необходимо отметить, что поскольку боковина 88b нервюры 84 находится в контакте с нижней поверхностью боковой панели 30, толщина кронштейна 94b ребра жесткости по существу идентична толщине этой панели 30.
На фиг.12 показано, что нервюра 84 может содержать центральное отверстие 102, которое позволяет снизить ее общую массу и которое находится за отверстием 80, выполненным в нервюре 23. Кроме того, она может также содержать элемент 104 жесткости, в основном выполненный в направлении Y предпочтительно за вышеуказанным элементом жесткости 82. В частности, этот элемент 104 жесткости, выполненный за одно целое с остальной частью детали, может иметь кривизну, аналогичную кривизне верхних полок рам 46а, 46b, и содержать два боковых конца, расположенных по существу и соответственно в продолжение этих верхних полок 60а, 60b или по существу и соответственно в продолжение двух вторых участков 92а, 92b. Это позволяет обеспечить непрерывность восприятия усилий, проходящих через поперечную нервюру 84.
Разумеется, специалист может вносить различные изменения в описанную выше стойку 4 крепления турбореактивного двигателя 2 летательного аппарата, представленную исключительно в качестве неограничивающего примера. В этой связи следует отметить, что стойка 4 была представлена в компоновке для подвески под крылом летательного аппарата, однако стойку 4 можно также представить в другой компоновке, которая позволяет установить ее над крылом и даже в задней части фюзеляжа летательного аппарата.
С другой стороны, если в описании было подробно представлено предпочтительное применение изобретения для соединения задних запорных рам боковых кессонов, то следует заметить, что изобретение можно также применять одновременно или альтернативно для соединения описанных выше промежуточных рам или передних запорных рам. Последний случай можно предусмотреть, естественно, если обе передние запорные рамы не выполнены в виде единой детали, как было указано выше. Этот случай можно также применять, когда жесткая конструкция выполнена таким образом, что продольный центральный кессон выдвинут дальше вперед, чем боковые кессоны.
Формула изобретения
1. Стойка (4) крепления турбореактивного двигателя (2) летательного аппарата, оборудованная жесткой конструкцией (10), содержащей продольный центральный кессон (22) и два боковых кессона (24а, 24b), неподвижно соединенные с передней частью указанного центрального кессона (22) и расположенные по обе стороны от последнего, причем продольный центральный кессон (22) образован двумя боковыми панелями (30), соединенными поперечными нервюрами (23), а каждый боковой кессон (24а, 24b) содержит, по меньшей мере, одну раму (28а, 28b, 29а, 29b, 46a, 46b), отличающаяся тем, что одна из указанных поперечных нервюр (23), образующих продольный центральный кессон (22), снабжена двумя ребрами жесткости (52а, 52b), выполненными за одно целое с этой нервюрой (23) и выступающими, соответственно, из двух боковых панелей (30) продольного центрального кессона (22) наружу, при этом ребра жесткости (52а, 52b) скреплены с рамами (28а, 28b, 29а, 29b, 46a, 46b) боковых кессонов (24а, 24b), соответственно.
2. Стойка (4) крепления по п.1, отличающаяся тем, что указанная рама (28а, 28b, 29а, 29b, 46a, 46b) каждого из боковых кессонов (24а, 24b), на которой закреплены два ребра жесткости (52а, 52b), представляет собой элемент кессона в виде передней запорной рамы (28а, 28b), задней запорной рамы (46a, 46b) или промежуточной рамы (29а, 29b), расположенной внутри кессона.
3. Стойка (4) крепления по п.1, отличающаяся тем, что указанная рама (28а, 28b, 29а, 29b, 46a, 46b) каждого из боковых кессонов (24а, 24b), на которой закреплены два ребра жесткости (52а, 52b), представляет собой заднюю запорную раму (46а, 46b) кессона.
4. Стойка (4) крепления по п.3, отличающаяся тем, что задняя запорная рама (46а, 46b) каждого из двух боковых кессонов (24а, 24b) содержит вертикальную стенку (58а, 58b), по обе стороны от которой находятся нижняя (62а, 62b) и верхняя (60а, 60b) полки, при этом на каждом ребре жесткости (52а, 52b) имеется первый участок (56а, 56b), неподвижно установленный на вертикальной стенке соответствующей запорной рамы.
5. Стойка (4) крепления по п.4, отличающаяся тем, что на каждом ребре жесткости (52а, 52b) имеется второй участок (64а, 64b), неподвижно установленный на верхней полке (60а, 60b) соответствующей запорной рамы.
6. Стойка (4) крепления по п.3, отличающаяся тем, что каждое из указанных ребер жесткости (52а, 52b) соединено с поперечной нервюрой (23) через кронштейн (68а, 68b), выполненный за одно целое с этой поперечной нервюрой и двумя ребрами жесткости, при этом указанный кронштейн (68а, 68b) выполнен с возможностью закрывания прохода (70а, 70b), выполненного в соответствующей боковой панели (30).
7. Стойка (4) крепления по п.6, отличающаяся тем, что наружная поверхность (72а, 72b) кронштейна каждого из ребер жесткости (52а, 52b) находится по существу в той же плоскости, что и наружная поверхность (74а, 74b) соответствующей боковой панели.
8. Стойка (4) крепления по п.3, отличающаяся тем, что содержит дополнительную поперечную нервюру (84), расположенную рядом с поперечной нервюрой (23), снабженной ребрами жесткости (52а, 52b), причем дополнительная поперечная нервюра также снабжена двумя дополнительными ребрами жесткости (86а, 86b), выполненными за одно целое с этой нервюрой и выступающими из двух боковых панелей (30), соответственно, продольного центрального кессона наружу последнего, при этом два дополнительных ребра жесткости (86а, 86b) закреплены на задних запорных рамах (46а, 46b) боковых кессонов, соответственно.
9. Стойка (4) крепления по п.6, отличающаяся тем, что содержит дополнительную поперечную нервюру (84), расположенную рядом с поперечной нервюрой (23), снабженной ребрами жесткости (52а, 52b), причем дополнительная поперечная нервюра также снабжена двумя дополнительными ребрами жесткости (86а, 86b), выполненными за одно целое с этой нервюрой и выступающими из двух боковых панелей (30), соответственно, продольного центрального кессона наружу последнего, при этом два дополнительных ребра жесткости (86а, 86b) закреплены на задних запорных рамах (46а, 46b) боковых кессонов, соответственно.
10. Стойка (4) крепления по п.8, отличающаяся тем, что в каждом из двух боковых кессонов (24а, 24b) ребро жесткости (52а, 52b) и дополнительное ребро жесткости (86а, 86b) расположены по обе стороны от вертикальной стенки (58а, 58b) задней запорной рамы (46а, 46b).
11. Стойка (4) крепления по любому из пп.8 или 10, отличающаяся тем, что задняя рама каждого из двух боковых кессонов (24а, 24b) содержит вертикальную стенку (46а, 46b), по обе стороны от которой находятся нижняя (62а, 62b) и верхняя (60а, 60b) полки, при этом на каждом дополнительном ребре жесткости (86а, 86b) имеется первый участок (90а, 90b), закрепленный на вертикальной стенке соответствующей запорной рамы.
12. Стойка (4) крепления по п.11, отличающаяся тем, что на каждом дополнительном ребре жесткости (86а, 86b) имеется второй участок (92а, 92b), закрепленный на верхней полке соответствующей запорной рамы.
13. Стойка (4) крепления по п.8, отличающаяся тем, что каждое из указанных дополнительных ребер жесткости (86а, 86b) соединено с дополнительной поперечной нервюрой (84) через дополнительный кронштейн (94а, 94b), выполненный за одно целое с этой дополнительной поперечной нервюрой и двумя дополнительными ребрами жесткости, при этом указанный дополнительный кронштейн (94а, 94b) выполнен с возможностью закрывания дополнительного прохода (96а, 96b), выполненного в соответствующей боковой панели (30).
14. Стойка (4) крепления по п.9, отличающаяся тем, что каждое из указанных дополнительных ребер жесткости (86а, 86b) соединено с дополнительной поперечной нервюрой (84) через дополнительный кронштейн (94а, 94b), выполненный за одно целое с этой дополнительной поперечной нервюрой и двумя дополнительными ребрами жесткости, при этом указанный дополнительный кронштейн (94а, 94b) выполнен с возможностью закрывания дополнительного прохода (96а, 96b), выполненного в соответствующей боковой панели (30).
15. Стойка (4) крепления по п.13, отличающаяся тем, что наружная поверхность (98a, 98b) дополнительного кронштейна каждого из дополнительных ребер жесткости (86а, 86b) находится по существу в той же плоскости, что и наружная поверхность (100а, 100b) соответствующей боковой панели.
16. Стойка (4) крепления по п.14, отличающаяся тем, что проход (70а, 70b) и дополнительный проход (96а, 96b) в каждой из двух боковых панелей продольного центрального кессона (22) совместно образуют единый проход, закрытый кронштейном (68а, 68b) и дополнительным кронштейном (94а, 94b).
17. Летательный аппарат, характеризующийся тем, что содержит, по меньшей мере, одну стойку (4) крепления по п.1.
РИСУНКИ
|
|