|
|
(21), (22) Заявка: 2009136000/11, 28.09.2009
(24) Дата начала отсчета срока действия патента:
28.09.2009
(46) Опубликовано: 20.09.2010
(56) Список документов, цитированных в отчете о поиске:
RU 51578 U1, 27.02.2006. DE 4132360 С2, 14.03.1996. RU 28473 U1, 27.03.2003. JP 2002037061 А1, 06.02.2002.
Адрес для переписки:
170003, г.Тверь, Петербургское ш., 45-б, ОАО “Тверской вагоностроительный завод”, ОПИиИР
|
(72) Автор(ы):
Гриднев Сергей Владимирович (RU), Супханкулова Наталия Владимировна (RU), Хохлов Петр Александрович (RU)
(73) Патентообладатель(и):
Открытое акционерное общество “Тверской вагоностроительный завод” (ОАО “ТВЗ”) (RU)
|
(54) ПОТОЛОК ПОМЕЩЕНИЯ ПАССАЖИРСКОГО ВАГОНА
(57) Реферат:
Изобретение относится к вагоностроению. Потолок помещения пассажирского вагона выполнен ступенчатым и содержит расположенные в двух уровнях потолочные панели (1, 2, 3), замковые механизмы, поворотные шарниры и несущие балки (6, 7), размещенные между панелями разных уровней. На противоположных стенках помещения закреплены компенсаторы, каждый из которых состоит из опорного элемента, связанного с каждой из упомянутых балок (6, 7) посредством регулировочного устройства, и, по крайней мере, двух боковых ограничителей, расположенных под углом к соответствующей несущей балке и контактирующих с ними внутренней поверхностью передней кромки. Панель нижнего уровня связана с одной из несущих балок посредством поворотных шарниров, а с другой – посредством замковых механизмов, и контактирует с наружной поверхностью упомянутого опорного элемента. Панели верхнего уровня одним концом соединены с несущими балками посредством крепежных элементов, а противоположным концом закреплены на элементах кузова вагона. Изобретение облегчает конструкцию потолка, упрощает монтаж ее на вагоне и позволяет ее использовать для помещений с ограниченным габаритом по высоте, например в двухэтажных вагонах. 1 з.п. ф-лы, 6 ил.
Заявляемое техническое решение относится к транспортному машиностроению, в частности к конструкции потолков помещений пассажирского вагона.
Известен потолок пассажирского вагона (патент РФ 51578, В61D 17/18, заявл. 26.09.2005 г., опубл. 27.02.2006 г. Бюл. 6), содержащий опорную раму, захватные элементы, соединенные пружинными петлями, составную панель, части которой закреплены на опорной раме с возможностью поворота, крепежные детали.
В данной конструкции наличие каркасной рамы утяжеляет и усложняет конструкцию потолка.
Наиболее близким техническим решением (принятым за прототип) является потолок тамбура вагона электропоезда (свидетельство РФ 28473 на полезную модель, В61D 17/18, заявл. 10.12.2002 г., опубл. 27.03.2003 г. Бюл. 9), содержащий установленную в виде единого модуля на силовых кронштейнах каркасную раму, на которой с помощью поворотных кронштейнов и замковых механизмов закреплены потолочные панели – наклонные, горизонтальные со светильниками и горизонтальные технологические, причем на каждую горизонтальную технологическую и наклонную потолочные панели с одной стороны установлены, как минимум, два поворотных замковых механизма, а с другой стороны, как минимум, два поворотных кронштейна.
В известном устройстве наличие каркасной рамы в виде единого модуля утяжеляет конструкцию потолка, а отсутствие регулировочных элементов в раме усложняет монтаж потолка в помещении при изменении в пределах допускаемых отклонений размеров помещения. Кроме того, известную конструкцию невозможно использовать для помещений вагона с ограниченным габаритом по высоте, в которых вентиляционный канал выходит вниз за плоскость панелей потолка из-за ограниченных размеров запотолочного пространства, например в двухэтажных вагонах.
Задачей предложения является облегчение конструкции потолка, упрощение его монтажа и использование для помещений вагона с ограниченным габаритом по высоте, например в двухэтажных вагонах.
Для этого потолок помещения пассажирского вагона содержит потолочные панели, замковые механизмы, поворотные шарниры. Новым является то, что он выполнен ступенчатым с расположением панелей в двух уровнях и снабжен несущими балками, размещенными между панелями разных уровней, и компенсаторами, закрепленными на противоположных стенках помещения; каждый компенсатор состоит из опорного элемента, связанного с каждой из упомянутых балок посредством регулировочного устройства, и, по крайней мере, двух боковых ограничителей, расположенных под углом к соответствующей несущей балке и контактирующих с ними внутренней поверхностью передней кромки, панель нижнего уровня связана с одной из несущих балок посредством поворотных шарниров, а с другой – посредством замковых механизмов, и контактирует с наружной поверхностью упомянутого опорного элемента, панели верхнего уровня одним концом соединены с несущими балками посредством крепежных элементов, а противоположным концом закреплены на элементах кузова вагона.
Кроме того, регулировочное устройство выполнено в виде продольных пазов в концевой части несущей балки и фиксирующих элементов.
Технический результат выразится в следующем.
Выполнение потолка ступенчатым с расположением панелей в двух уровнях позволяет использовать его для помещений с ограниченным габаритом по высоте, например в двухэтажных вагонах.
Наличие несущих балок, размещенных между панелями разных уровней, связь панели нижнего уровня с одной из несущих балок посредством поворотных шарниров, а с другой – посредством замковых механизмов, и соединение одних концов панелей верхнего уровня с несущими балками посредством крепежных элементов, и закрепление противоположных концов на элементах кузова вагона исключают необходимость единой опорной рамы, что облегчает конструкцию потолка в целом.
Наличие компенсаторов, закрепленных на противоположных стенках помещения, каждый из которых состоит из опорного элемента, связанного с каждой из упомянутых балок посредством регулировочного устройства, а также наличие по крайней мере двух боковых ограничителей, расположенных под углом к соответствующей несущей балке и контактирующих с ними внутренней поверхностью передней кромки, и выполнение панели нижнего уровня контактирующей с наружной поверхностью опорного элемента обеспечивают крепление несущих балок с возможностью регулировки их положения при изменении в пределах допускаемых отклонений размеров (ширины) помещения, что упрощает монтаж потолка на вагоне.
Прилагаемые чертежи изображают:
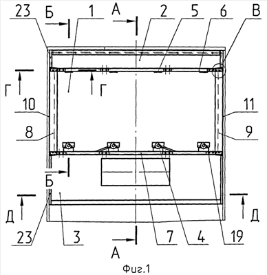
на фиг.1 – вид потолка в плане;
на фиг.2 – сечение А-А на фиг.1;
на фиг.3 – сечение Б-Б на фиг.1;
на фиг.4 – выносной элемент В на фиг.1;
на фиг.5 – сечение Г-Г на фиг.1;
на фиг.6 – сечение Д-Д на фиг.1.
Потолок помещения пассажирского вагона содержит потолочные панели 1, 2, 3, замковые механизмы 4, поворотные шарниры 5. Он выполнен ступенчатой формы с расположением панелей 1, 2, 3 в двух уровнях и снабжен несущими балками 6, 7, размещенными между панелями 1, 2, 3 разных уровней. Также потолок снабжен компенсаторами 8, 9, закрепленными на противоположных стенках 10, 11 помещения. Каждый компенсатор 8, 9 состоит из опорного элемента 12, связанного с каждой из балок 6, 7 посредством регулировочного устройства 13, и, по крайней мере, двух боковых ограничителей 14, расположенных под углом к соответствующей несущей балке 6, 7 и контактирующих с ними внутренней поверхностью передней кромки 15. Регулировочное устройство 13 выполнено в виде продольных пазов 16 в концевой части несущей балки 6, 7 и фиксирующих элементов 17. Фиксирующие элементы 17 могут быть выполнены в виде винтового крепления (фиг.5) или заклепочного (не показано).
Панель нижнего уровня 1 связана с одной из несущих балок 6 посредством поворотных шарниров 5, а с другой 7 – посредством замковых механизмов 4, и контактирует с наружной поверхностью 18 опорного элемента 12. Панели верхнего уровня 2 и 3 одним концом соединены с несущими балками 6 и 7 посредством крепежных элементов 19, а противоположным концом закреплены на элементах 20 и 21 кузова вагона соответственно.
Зазоры 22 между панелью 2, 3 и стенками помещения 10, 11 перекрыты козырьками 23, закрепленными на стенках 10, 11 за панелью 2, 3.
Сборка потолка осуществляется следующим образом.
Компенсаторы 8, 9 закрепляют на стенках помещения 10, 11 соответственно. На стенках 10, 11 закрепляют и козырьки 23. Далее на опорные элементы 12 монтируются несущие балки 6, 7 посредством регулировочного устройства 13. При этом продольное положение несущих балок 6, 7 в зависимости от действительного расстояния между стенками 10, 11 помещения регулируется продольным пазом 16 и закрепляется фиксирующим элементом 17. В поперечном направлении каждую несущую балку 6, 7 поджимают к внутренней стороне передней кромки 15 соответствующих боковых ограничителей 14. Затем панели 2, 3 соединяют с балками 6, 7 соответственно посредством крепежных элементов 19, а их противоположные концы закрепляют на элементах кузова вагона 20, 21 соответственно. После чего панель нижнего уровня 1 соединяют с несущей балкой 6 с поджатием к наружной поверхности 18 опорного элемента 12 посредством поворотных шарниров 5 и с несущей балкой 7 посредством замковых механизмов 4.
Формула изобретения
1. Потолок помещения пассажирского вагона, содержащий потолочные панели, замковые механизмы, поворотные шарниры, отличающийся тем, что он выполнен ступенчатым с расположением панелей в двух уровнях и снабжен несущими балками, размещенными между панелями разных уровней, и компенсаторами, закрепленными на противоположных стенках помещения, каждый компенсатор состоит из опорного элемента, связанного с каждой из упомянутых балок посредством регулировочного устройства, и, по крайней мере, двух боковых ограничителей, расположенных под углом к соответствующей несущей балке и контактирующих с ними внутренней поверхностью передней кромки, панель нижнего уровня связана с одной из несущих балок посредством поворотных шарниров, а с другой – посредством замковых механизмов, и контактирует с наружной поверхностью упомянутого опорного элемента, панели верхнего уровня одним концом соединены с несущими балками посредством крепежных элементов, а противоположным концом закреплены на элементах кузова вагона.
2. Потолок по п.1, отличающийся тем, что регулировочное устройство выполнено в виде продольных пазов в концевой части несущей балки и фиксирующих элементов.
РИСУНКИ
|
|